Investigation and Modeling of Multi-Node Body Channel Wireless Power Transfer †
Abstract
1. Introduction
- The behavior of the multi-node BC-WPT is first analyzed to provide a theoretical basis for simulation and experiments. Three key factors are given to provide guidelines for the selection of cases in simulation.
- The inter-degeneration mechanism between multiple nodes is investigated. According to the key factors based on the theoretical analysis, 15 cases are considered. Simulation and experiments are carried out to verify the impact of these key factors on inter-degeneration mechanism.
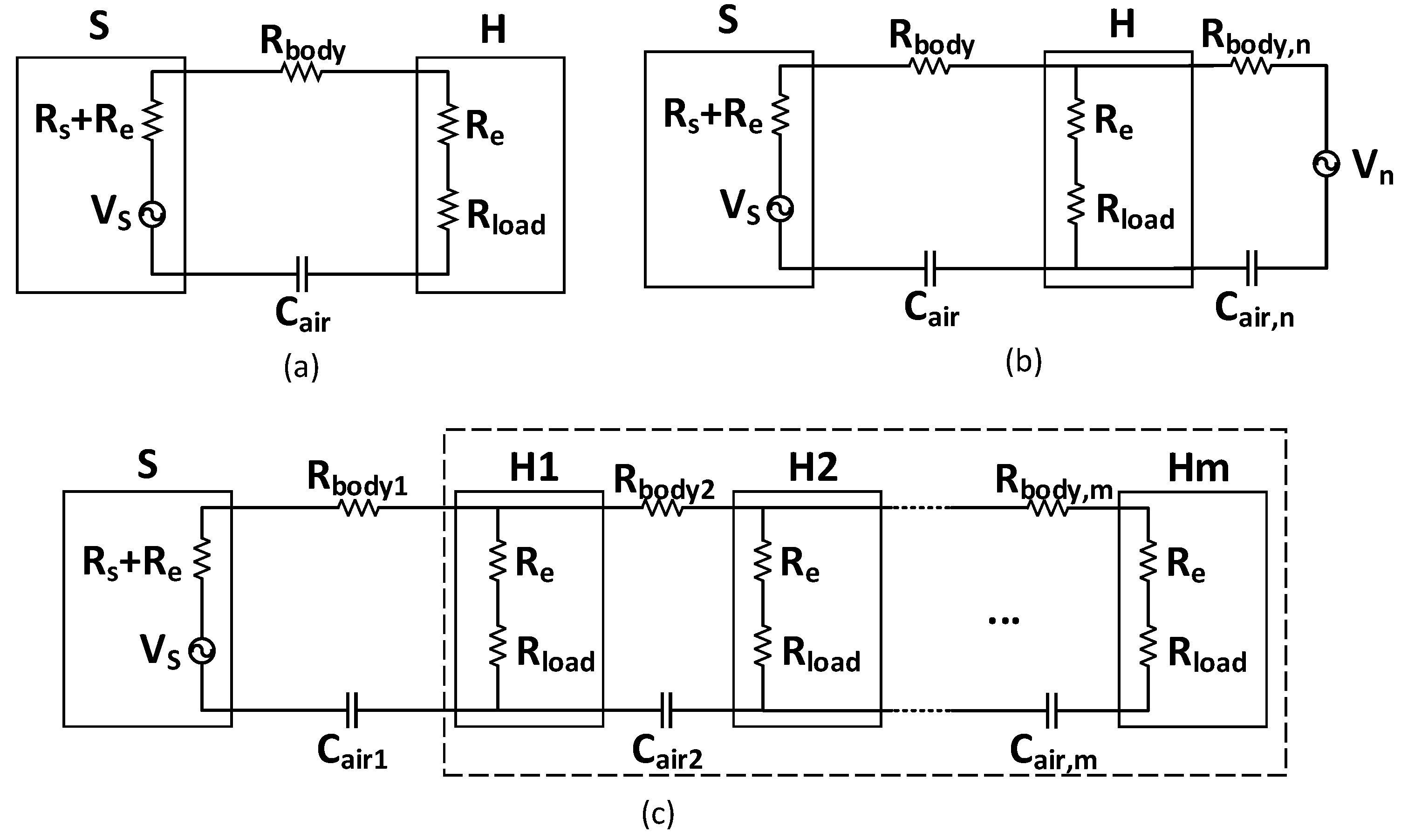
- The empirical circuit model of the multi-node BC-WPT is first proposed. The circuit parameters are extracted from the co-simulation platform. The simulation S-parameter model and practical experiments are carried out for verification.
2. Overview and Behavior Analysis of BC-WPT
2.1. Overview of BC-WPT
2.2. Behavior Analysis of SSSH BC-WPT
2.3. Behavior Analysis of SSMH BC-WPT and Inter-Degeneration Mechanism
3. Simulation Setup of BC-WPT
3.1. S-Parameter Model in CST
3.2. Co-Simulation Platform
3.3. Simulation Cases of S-Parameter Model
3.3.1. Cases of Distance Between S and H (Case I)
3.3.2. Cases of Frequency of the Source (Case II)
3.3.3. Cases of Area of the Ground Electrodes (Case III)
4. Experiment Setup and Results
4.1. Implementations of BC-WPT
4.2. Experiment Setup
4.3. Results and Analysis
4.3.1. Cases of Distance Between S and H (Case I)
4.3.2. Cases of Frequency of the Source (Case II)
4.3.3. Cases of Area of the Ground Electrodes (Case III)
5. Multi-node Modeling of BC-WPT
5.1. Empirical Circuit Model of Multi-Node BC-WPT
5.2. Application of the Empirical Circuit Model
6. Conclusions
Author Contributions
Funding
Conflicts of Interest
References
- Marinkovic, S.; Popovici, E. Ultra low power signal oriented approach for wireless health monitoring. Sensors 2012, 12, 7917–7937. [Google Scholar] [CrossRef] [PubMed]
- Li, F.; Zhou, S.R.; Zhang, J.M.; Zhang, D.Y.; Xiang, L.Y. Attribute-based knowledge transfer learning for human pose estimation. Neurocomputing 2013, 116, 301–310. [Google Scholar] [CrossRef]
- Ho, S.L.; Wang, J.; Fu, W.N.; Sun, M. A comparative study between novel witricity and traditional inductive magnetic coupling in wireless charging. IEEE Trans. Magn. 2011, 47, 1522–1525. [Google Scholar] [CrossRef]
- Kurs, A.; Karalis, A.; Moffatt, R.; Joannopoulos, J.D.; Fisher, P.; Soljacic, M. Wireless power transfer via strongly coupled magnetic resonances. Science 2007, 317, 83–86. [Google Scholar] [CrossRef] [PubMed]
- Popovic, Z. Cut the cord: Low-power far-field wireless powering. IEEE Microw. Mag. 2013, 14, 55–62. [Google Scholar] [CrossRef]
- IEEE Standard for Safety Levels with Respect to Human Exposure to Radio Frequency Electromagnetic Fields, 3kHz to 300 GHz. Available online: https://ieeexplore.ieee.org/document/159488 (accessed on 23 December 2019).
- Federal Communications Commission. Operation within the bands 902-928 MHz, 2400–2483.5 MHz, and 5725–5850 MHz. FCC Sect. 2001, 15. Available online: https://www.ecfr.gov/cgi-bin/retrieveECFR?gp=&SID=4d80d32afd525d22d26285c924161daf&mc=true&n=sp47115c&r=SUBPART&ty=HTML (accessed on 23 December 2019).
- IEEE Standards Association. IEEE standard for local and metropolitan area networks-part 15.6: Wireless body area networks. IEEE Std. 2012, 802. Available online: https://ieeexplore.ieee.org/document/6161600 (accessed on 23 December 2019).
- Xu, R.; Zhu, H.; Yuan, J. Electric-field intrabody communication channel modeling with finite-element method. IEEE Trans. Biomed. Eng. 2010, 58, 705–712. [Google Scholar]
- Callejon, M.A.; Roa, L.M.; Reina-Tosina, J.; Naranjo-Hernandez, D. Study of attenuation and dispersion through the skin in intrabody communications systems. IEEE Trans. Inf. Technol. Biomed. 2011, 16, 159–165. [Google Scholar] [CrossRef]
- Wang, H.; Tang, X.; Choy, C.S.; Sobelman, G.E. Cascaded network body channel model for intrabody communication. IEEE J. Biomed. Health Inform. 2015, 20, 1044–1052. [Google Scholar] [CrossRef]
- Huang, J.; Xu, Y.; Peng, X.; Hu, L.; Yang, J. Development of a human head and neck muscle activation control model based on BPNN. J. Intell. Fuzzy Syst. 2018, 34, 1161–1167. [Google Scholar] [CrossRef]
- Commercialization of a New Body Area Network Technology “RedTacton” That Uses the Surface of the Human Body as a Transmission Path. Available online: https://www.ntt.co.jp/news/news08/0804/080423a.html (accessed on 15 December 2019).
- Electric Field Communication (BAN: Body Area Network) Touch Tag Starter Kit. Available online: https://www.adniss.jp/en/products/electric-field-communication-banbody-area-network-touch-tag-starter-kit.html (accessed on 15 December 2019).
- Maity, S.; Das, D.; Sen, S. Wearable health monitoring using capacitive voltage-mode human body communication. In Proceedings of the 39th Annual International Conference of the IEEE Engineering in Medicine and Biology Society (EMBC), Seogwipo, Korea, 11–15 July 2017; pp. 1–4. [Google Scholar]
- Lee, J.; Lee, Y.; Cho, H.; Yoo, H.J. A 48 μW, 8.88 × 10−3 W/W batteryless energy harvesting BCC identification system. In Proceedings of the IEEE International Symposium on Circuits and Systems (ISCAS), Montreal, QC, Canada, 22–25 May 2016; pp. 1806–1809. [Google Scholar]
- Huang, Y.; Zhao, J.; Sun, W.; Mao, J.; Yang, H.; Liu, Y. An Investigation on Inter-degeneration Effect in Body Channel Based Multi-node Wireless Power Transfer. In Proceedings of the IEEE Biomedical Circuits and Systems Conference (BioCAS), Cleveland, OH, USA, 17–19 October 2018; pp. 1–4. [Google Scholar]
- Kim, S.; Ko, J. IB-MAC: Transmission Latency-Aware MAC for Electro-Magnetic Intra-Body Communications. Sensors 2019, 19, 341. [Google Scholar] [CrossRef] [PubMed]
- Tang, C.M.; Bashirullah, R. Channel characterization for galvanic coupled in vivo biomedical devices. In Proceedings of the IEEE International Symposium of Circuits and Systems (ISCAS), Rio de Janeiro, Brazil, 15–18 May 2011; pp. 921–924. [Google Scholar]
- Callejon, M.A.; Naranjo-Hernandez, D.; Reina-Tosina, J.; Roa, L.M. Distributed circuit modeling of galvanic and capacitive coupling for intrabody communication. IEEE Trans. Biomed. Eng. 2012, 59, 3263–3269. [Google Scholar] [CrossRef] [PubMed]
- Cho, N.; Yoo, J.; Song, S.J.; Lee, J.; Jeon, S.; Yoo, H.J. The human body characteristics as a signal transmission medium for intrabody communication. IEEE Trans. Microw. Theory Tech. 2007, 55, 1080–1086. [Google Scholar] [CrossRef]
- Zhu, X.Q.; Guo, Y.X.; Wu, W. Investigation and modeling of capacitive human body communication. IEEE Trans. Biomed. Circuits Syst. 2017, 11, 474–482. [Google Scholar] [CrossRef]
- Zhang, J.; Wu, C.; Yang, D.; Chen, Y.; Meng, X.; Xu, L.; Guo, M. HSCS: A hybrid shared cache scheduling scheme for multiprogrammed workloads. Front. Comput. Sci. 2018, 12, 1090–1104. [Google Scholar] [CrossRef]
- Yu, F. A low-voltage and low-power 3-GHz CMOS LC VCO for S-band wireless applications. Wirel. Pers. Commun. 2014, 78, 905–914. [Google Scholar] [CrossRef]
- Bae, J.; Cho, H.; Song, K.; Lee, H.; Yoo, H.J. The signal transmission mechanism on the surface of human body for body channel communication. IEEE Trans. Microw. Theory Tech. 2012, 60, 582–593. [Google Scholar] [CrossRef]
- Sun, W.; Zhao, J.; Huang, Y.; Sun, Y.; Yang, H.; Liu, Y. Dynamic Channel Modeling and OFDM System Analysis for Capacitive Coupling Body Channel Communication. IEEE Trans. Biomed. Circuits Syst. 2019, 13, 735–745. [Google Scholar] [CrossRef]
- Mao, J.; Yang, H.; Lian, Y.; Zhao, B. A self-adaptive capacitive compensation technique for body channel communication. IEEE Trans. Biomed. Circuits Syst. 2017, 11, 1001–1012. [Google Scholar] [CrossRef]
- Mao, J.; Yang, H.; Lian, Y.; Zhao, B. A five-tissue-layer human body communication circuit model tunable to individual characteristics. IEEE Trans. Biomed. Circuits Syst. 2018, 12, 303–312. [Google Scholar] [CrossRef] [PubMed]
- International Commission on Non-Ionizing Radiation Protection. Guidelines for limiting exposure to time-varying electric, magnetic, and electromagnetic fields (up to 300 GHz). Health Phys. 1998, 74, 494–522. [Google Scholar]
- Park, J.; Garudadri, H.; Mercier, P.P. Channel modeling of miniaturized battery-powered capacitive human body communication systems. IEEE Trans. Biomed. Eng. 2016, 64, 452–462. [Google Scholar] [PubMed]
- Li, F.; Li, G.; Sun, G.; Luo, Z.; Zhang, Z. Multi-disciplinary optimization for multi-objective uncertainty design of thin walled beams. Comput. Mater. Contin. 2010, 19, 37. [Google Scholar]















| Arm | Leg | Abdomen | Chest | |
|---|---|---|---|---|
| Skin | 1.1 | 1.1 | 1.1 | 1.1 |
| Fat | 6.1 | 8.9 | 1.1 | 1.1 |
| Muscle | 17.3 | 25.8 | 7.9 | 19.4 |
| Cortical Bone | 3.8 | 4.8 | - | - |
| Bone Marrow | 4.1 | 5.2 | - | - |
| Organs | - | - | 29.7 | 18.2 |
| Case I | Case I-1 | The SSSH case with only backward distance changing. |
| Case I-2 | The SSSH case with only forward distance changing. | |
| Case I-3 | The SSSH case where forward and backward distances remain the same. | |
| Case I-4 | The SSMH-SA case with only backward distance changing. | |
| Case I-5 | The SSMH-SA case with only forward distance changing. | |
| Case I-6 | The SSMH-SA case where forward and backward distances remain the same. | |
| Case I-7 | The SSMH-OP case with only backward distance changing. | |
| Case I-8 | The SSMH-OP case with only forward distance changing. | |
| Case I-9 | The SSMH-OP case where forward and backward distances remain the same. | |
| Case II | Case II-1 | The SSSH case with different frequencies. |
| Case II-2 | The SSMH-SA case with different frequencies. | |
| Case II-3 | The SSMH-OP case with different frequencies. | |
| Case III | Case III-1 | The SSSH case with different areas of the ground electrodes. |
| Case III-2 | The SSMH-SA case with different areas of the ground electrodes. | |
| Case III-3 | The SSMH-OP case with different areas of the ground electrodes. |
| SSSH | SSMH-SA | SSMH-OP | |
|---|---|---|---|
| 20 –80 0 –3 | |||
| 50 | |||
| 100 | |||
| 2 | |||
| 100 | |||
| (10 ) | |||
| (10 ) | |||
| (10 ) | |||
| According to Figure 15 | |||
| 0 | According to Figure 15 | 0 | |
| 0 | 0 | According to Figure 15 | |
| 1 | |||
| 1 | |||
| Case I-6 | Case I-9 | |||
|---|---|---|---|---|
| S-H1 (mm) | S-H2 (mm) | S-H1 (mm) | S-H2 (mm) | |
| 1:1 | - | - | 100.0 | 100.0 |
| 1.5:1 | - | - | 85.4 | 114.6 |
| 2:1 | - | - | 72.2 | 127.8 |
| 2.5:1 | - | - | 59.6 | 140.4 |
| 3:1 | - | - | 48.4 | 151.6 |
| 4:1 | 154.3 | 354.3 | - | - |
| 4.5:1 | 87.6 | 287.6 | - | - |
© 2019 by the authors. Licensee MDPI, Basel, Switzerland. This article is an open access article distributed under the terms and conditions of the Creative Commons Attribution (CC BY) license (http://creativecommons.org/licenses/by/4.0/).
Share and Cite
Huang, Y.; Zhao, J.; Sun, W.; Yang, H.; Liu, Y. Investigation and Modeling of Multi-Node Body Channel Wireless Power Transfer. Sensors 2020, 20, 156. https://doi.org/10.3390/s20010156
Huang Y, Zhao J, Sun W, Yang H, Liu Y. Investigation and Modeling of Multi-Node Body Channel Wireless Power Transfer. Sensors. 2020; 20(1):156. https://doi.org/10.3390/s20010156
Chicago/Turabian StyleHuang, Yuxuan, Jian Zhao, Wenyu Sun, Huazhong Yang, and Yongpan Liu. 2020. "Investigation and Modeling of Multi-Node Body Channel Wireless Power Transfer" Sensors 20, no. 1: 156. https://doi.org/10.3390/s20010156
APA StyleHuang, Y., Zhao, J., Sun, W., Yang, H., & Liu, Y. (2020). Investigation and Modeling of Multi-Node Body Channel Wireless Power Transfer. Sensors, 20(1), 156. https://doi.org/10.3390/s20010156

