Analysis of a Smart Sensor Based Solution for Smart Grids Real-Time Dynamic Thermal Line Rating
Abstract
:1. Introduction
2. Smartconductor. Sensors and Wireless Communications
2.1. Current Sensor
2.2. Temperature Sensor
2.3. Wireless Communications
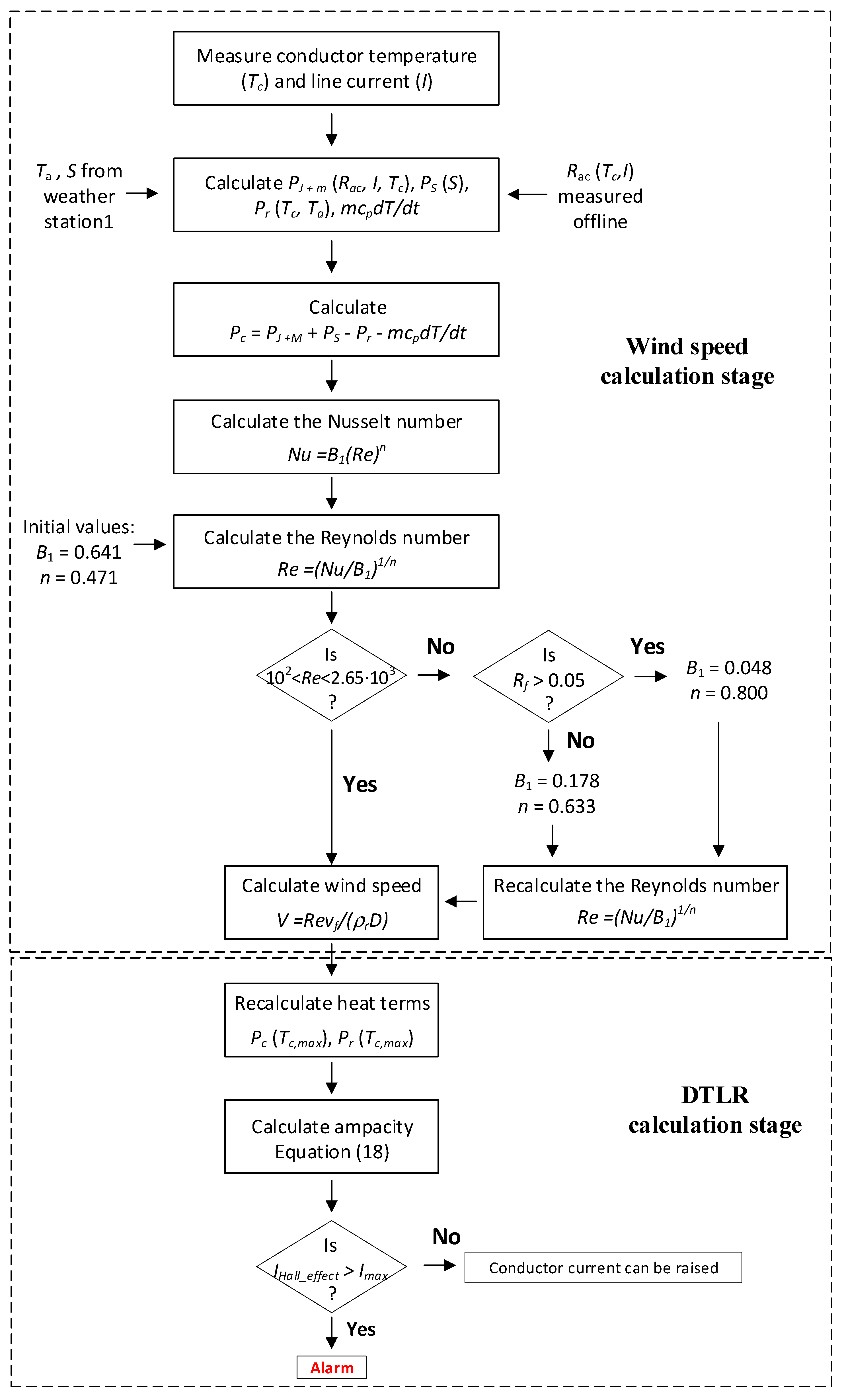
3. Dynamic Thermal Line Rating Estimation Method
4. Proposed Real-Time Method to Determine the Thermal Line Rating
5. Experimental Setup
6. Experimental Results
6.1. First Experiment. Wind Speed and DTLR Estimation
6.2. Second Experiment. Validation of the Accuracy of the Proposed Method to Estimate the DTLR
7. Conclusions
Author Contributions
Funding
Institutional Review Board Statement
Informed Consent Statement
Conflicts of Interest
References
- Rácz, L.; Németh, B. Dynamic Line Rating—An Effective Method to Increase the Safety of Power Lines. Appl. Sci. 2021, 11, 492. [Google Scholar] [CrossRef]
- Lv, F.; Zhang, P.; Tang, Z.; Yue, Y.; Yang, K. A Guided Wave Transducer with Sprayed Magnetostrictive Powder Coating for Monitoring of Aluminum Conductor Steel-Reinforced Cables. Sensors 2019, 19, 1550. [Google Scholar] [CrossRef] [Green Version]
- Morgan, V.T.; Zhang, B.; Findlay, R.D. Effect of magnetic induction in a steel-cored conductor on current distribution, resistance and power loss. IEEE Trans. Power Deliv. 1997, 12, 1299–1306. [Google Scholar] [CrossRef]
- Beňa, Ľ.; Gáll, V.; Kanálik, M.; Kolcun, M.; Margitová, A.; Mészáros, A.; Urbanský, J. Calculation of the overhead transmission line conductor temperature in real operating conditions. Electr. Eng. 2021, 103, 769–780. [Google Scholar] [CrossRef]
- Alvarez, D.L.; da Silva, F.F.; Mombello, E.E.; Bak, C.L.; Rosero, J.A. Conductor temperature estimation and prediction at thermal transient state in dynamic line rating application. IEEE Trans. Power Deliv. 2018, 33, 2236–2245. [Google Scholar] [CrossRef] [Green Version]
- Black, C.R.; Chisholm, W.A. Key Considerations for the Selection of Dynamic Thermal Line Rating Systems. IEEE Trans. Power Deliv. 2015, 30, 2154–2162. [Google Scholar] [CrossRef]
- Cigré Working Group 22.12. Thermal Behaviour of Overhead Conductors; Cigré: Paris, France, 2002. [Google Scholar]
- IEEE Std 738-2012. IEEE Standard for Calculating the Current-Temperature of Bare Overhead Conductors; IEEE: New York, NY, USA, 2012. [Google Scholar]
- Karimi, S.; Musilek, P.; Knight, A.M. Dynamic thermal rating of transmission lines: A review. Renew. Sustain. Energy Rev. 2018, 91, 600–612. [Google Scholar] [CrossRef]
- Minguez, R.; Martinez, R.; Manana, M.; Cuasante, D.; Garañeda, R. Application of Digital Elevation Models to wind estimation for dynamic line rating. Int. J. Electr. Power Energy Syst. 2021, 134, 107338. [Google Scholar] [CrossRef]
- International Electrotechnical Commission and IEC. IEC TR 61597:2021 Overhead Electrical Conductors—Calculation Methods for Stranded Bare Conductors; IEC: Geneva, Switzerland, 2021. [Google Scholar]
- Hydro Tasmania Consulting. Dynamic Transmission Line Rating Technology Review; Hydro Tasmania Consulting: Cambridge, Australia, 2009; pp. 1–39. [Google Scholar]
- Ho, H.N.; Bui, T.; Do, H.; Rojas, E.; Ojeda, O.; Tran, H.; Hoang, T.; Hernandez, E.; Nguyen, L.; Le, H. Design and Simulation of an Autonomous Smart Microgrid for Energy Independence. WSEAS Trans. Environ. Dev. 2021, 17, 911–928. [Google Scholar] [CrossRef]
- Park, K.J. A Novel Way to Select the Optimal Electrical Power Demand Management Provider for Robust Smart Grid. Int. J. Circuits Syst. Signal. Process. 2021, 14, 511–519. [Google Scholar]
- Wallnerstrom, C.J.; Huang, Y.; Soder, L. Impact from dynamic line rating on wind power integration. IEEE Trans. Smart Grid 2015, 6, 343–350. [Google Scholar] [CrossRef] [Green Version]
- Hasan, M.K.; Ahmed, M.M.; Musa, S.S. Measurement and Modeling of DTCR Software Parameters Based on Intranet Wide Area Measurement System for Smart Grid Applications. Adv. Intell. Syst. Comput. 2021, 1166, 1139–1150. [Google Scholar]
- Numan, M.; Feng, D.; Abbas, F.; Habib, S.; Hao, S. Coordinated operation of reconfigurable networks with dynamic line rating for optimal utilization of renewable generation. Int. J. Electr. Power Energy Syst. 2021, 125, 106473. [Google Scholar] [CrossRef]
- Teh, J.; Lai, C.-M. Reliability Impacts of the Dynamic Thermal Rating System on Smart Grids Considering Wireless Communications. IEEE Access 2019, 7, 41625–41635. [Google Scholar] [CrossRef]
- L-Azab, M.E.; Omran, W.A.; Mekhamer, S.F.; Talaat, H.E.A. Congestion management of power systems by optimizing grid topology and using dynamic thermal rating. Electr. Power Syst. Res. 2021, 199, 107433. [Google Scholar] [CrossRef]
- Kopsidas, K.; Cruzat, C.; Ni, M. Cyber-physical reliability of dynamic line rating ICT failures in OHL networks. IET Gener. Transm. Distrib. 2021, 15, 371–382. [Google Scholar] [CrossRef]
- Pal, R.; Chavhan, S.; Gupta, D.; Khanna, A.; Padmanaban, S.; Khan, B.; Rodrigues, J.J.P.C. A comprehensive review on IoT-based infrastructure for smart grid applications. IET Renew. Power Gener. 2021, 8. [Google Scholar] [CrossRef]
- Bera, B.; Saha, S.; Das, A.K.; Vasilakos, A.V. Designing blockchain-based access control protocol in iot-enabled smart-grid system. IEEE Internet Things J. 2021, 8, 5744–5761. [Google Scholar] [CrossRef]
- Mehmood, M.Y.; Oad, A.; Abrar, M.; Munir, H.M.; Hasan, S.F.; Muqeet, H.; Golilarz, N.A. Edge Computing for IoT-Enabled Smart Grid. Secur. Commun. Netw. 2021, 2021, 5524025. [Google Scholar] [CrossRef]
- Zhang, Y.Z.; Xiong, R.; He, H.W.; Pecht, M. Validation and verification of a hybrid method for remaining useful life prediction of lithium-ion batteries. J. Clean. Prod. 2019, 212, 240–249. [Google Scholar] [CrossRef]
- Albizu, I.; Fernandez, E.; Eguia, P.; Torres, E.; Mazon, A.J. Tension and ampacity monitoring system for overhead lines. IEEE Trans. Power Deliv. 2013, 28, 3–10. [Google Scholar] [CrossRef] [Green Version]
- Douglass, D.; Chisholm, W.; Davidson, G.; Grant, I.; Lindsey, K.; Lancaster, M.; Lawry, D.; McCarthy, T.; Nascimento, C.; Pasha, M.; et al. Real-Time Overhead Transmission-Line Monitoring for Dynamic Rating. IEEE Trans. Power Deliv. 2016, 31, 921–927. [Google Scholar] [CrossRef]
- Wijethunga, A.H.; Wijayakulasooriya, J.V.; Ekanayake, J.B.; de Silva, N. Conductor temperature based low cost solution for dynamic line rating calculation of power distribution lines. In Proceedings of the 2015 IEEE 10th International Conference on Industrial and Information Systems (ICIIS), Peradeniya, Sri Lanka, 18–20 December 2015; pp. 128–133. [Google Scholar]
- Singh, C.; Singh, A.; Pandey, P.; Singh, H. Power Donuts in Overhead Lines for Dynamic Thermal Rating Measurement, Prediction and Electric Power Line Monitoring. Int. J. Adv. Res. Electr. Electron. Instrum. Eng. 2014, 3, 9394–9400. [Google Scholar]
- Ding, Y.Q.; Gao, M.; Li, Y.; Wang, T.-L.; Ni, H.-L.; Liu, X.-D.; Chen, Z.; Zhan, Q.-H.; Hu, C. The effect of calculated wind speed on the capacity of dynamic line rating. In Proceedings of the 2016 IEEE International Conference on High Voltage Engineering and Application (ICHVE), Chengdu, China, 19–22 September 2016; pp. 13–16. [Google Scholar]
- Xiao, C.; Zhao, L.; Asada, T.; Odendaal, W.G.; Van Wyk, J.D. An Overview of Integratable Current Sensor Technologies. In Proceedings of the 38th IAS Annual Meeting on Conference Record of the Industry Applications Conference, 2003, Salt Lake City, UT, USA, 12–16 October 2003; Volume 2, pp. 1251–1258. [Google Scholar]
- Kadechkar, A.; Moreno-Eguilaz, M.; Riba, J.-R.; Capelli, F. Low-Cost Online Contact Resistance Measurement of Power Connectors to Ease Predictive Maintenance. IEEE Trans. Instrum. Meas. 2019, 68, 4825–4833. [Google Scholar] [CrossRef]
- Foss, S.D.; Fernandes, R.A. Dynamic thermal line ratings Part I dynamic ampacity rating algorithm. IEEE Trans. Power Appar. Syst. 1983, PAS-102, 1858–1864. [Google Scholar] [CrossRef]
- Miyazaki, H.; Kitamura, S. Temperature distribution within an ACSR conductor during large current flow. Electr. Eng. Jpn. 2002, 140, 38–45. [Google Scholar] [CrossRef]
- IEC. IEC 60751:2008 Industrial Platinum Resistance Thermometers and Platinum Temperature Sensors; IEC: Geneve, Switzerland, 2007; pp. 1–41. [Google Scholar]
- Morgan, V.T. The Current Distribution, Resistance and Internal Inductance of Linear Power System Conductors—A Review of Explicit Equations. IEEE Trans. Power Deliv. 2013, 28, 1252–1262. [Google Scholar] [CrossRef]
- Morgan, V.T. Electrical characteristics of steel-cored aluminium conductors. Proc. Inst. Electr. Eng. 1965, 112, 325. [Google Scholar] [CrossRef]
- Hong, S.S.; Yang, Y.-C.; Hsu, T.-S.; Tseng, K.-S.; Hsu, Y.-F.; Wu, Y.-R.; Jiang, J.-A. Internet of Things-Based Monitoring for HV Transmission Lines: Dynamic Thermal Rating Analysis with Microclimate Variables. In Proceedings of the 2020 8th International Electrical Engineering Congress (iEECON), Chiang Mai, Thailand, 4–6 March 2020. [Google Scholar]
- Texas Instruments. DRV5053 Analog-Bipolar Hall Effect Sensor; Texas Instruments: Dallas, TX, USA, 2014; pp. 1–20. [Google Scholar]
- Popovic, R.S.; Randjelovic, Z.; Manic, D. Integrated Hall-effect magnetic sensors. Sens. Actuators A Phys. 2001, 91, 46–50. [Google Scholar] [CrossRef]
- Dewi, S.D.T.; Panatarani, C.; Joni, I.M. Design and development of DC high current sensor using Hall-Effect method. AIP Conf. Proc. 2016, 1712, 030006. [Google Scholar]
- Khawaja, A.H.; Huang, Q.; Khan, Z.H. Monitoring of Overhead Transmission Lines: A Review from the Perspective of Contactless Technologies. Sens. Imaging 2017, 18, 24. [Google Scholar] [CrossRef]
- Kadechkar, A.; Riba, J.R.; Moreno-Eguilaz, M.; Perez, J. SmartConnector: A Self-Powered IoT Solution to Ease Predictive Maintenance in Substations. IEEE Sens. J. 2020, 20, 11632–11641. [Google Scholar] [CrossRef]







| Surface Type | Re | n | B1 |
|---|---|---|---|
| All surfaces stranded | 100–2650 | 0.471 | 0.641 |
| Stranded Rf ≤ 0.05 | 2650–50,000 | 0.633 | 0.178 |
| Stranded Rf ≥ 0.05 | 2650–50,000 | 0.800 | 0.048 |
| Gr·Pr | A2 | m2 |
|---|---|---|
| 102–104 | 0.850 | 0.188 |
| 104–106 | 0.480 | 0.250 |
| Symbol | Description | Value | Unit |
|---|---|---|---|
| Area of aluminum | 549.7 | ||
| Area of steel | 71.3 | ||
| Number of aluminum wires | 54 | - | |
| Number of steel wires | 7 | - | |
| Aluminum and steel wire diameter | 3.6 | mm | |
| D | Diameter of conductor | 32.4 | mm |
| Mass per unit length of aluminum | 1.5183 | Kg/m | |
| Mass per unit length of steel | 0.5583 | Kg/m | |
| Specific heat of aluminum | 897 | J/(Kg°C) | |
| Specific heat of steel | 481 | J/(Kg°C) | |
| DC resistance of the conductor | Ω/km | ||
| Current carrying capacity | 1020 | A |
| T (°C) | Voltage Drop (VRMS) | Current (ARMS) | cosφ | Rac (µΩ/m) |
|---|---|---|---|---|
| 30 | 0.10 | 1025 | 0.59 | 57.7 |
| 40 | 0.10 | 1022 | 0.60 | 60.2 |
| 50 | 0.10 | 1023 | 0.62 | 62.4 |
| 60 | 0.10 | 1022 | 0.63 | 64.8 |
| 70 | 0.10 | 1026 | 0.64 | 67.2 |
| 80 | 0.11 | 1028 | 0.65 | 69.4 |
| 90 | 0.11 | 1023 | 0.67 | 71.6 |
| 100 | 0.14 | 1305 | 0.68 | 74.3 |
| Current (A) (%Static Rating) | Theoretical Wind Speed (m/s) | Theoretical Line Rating (A) | Average Estimated Wind Speed (m/s)by Smartconductor | Average Estimated Wind Speed (m/s)by DAQ System | Average Estimated Ampacity(A) by Smartconductor | Average Estimated Ampacity (A) by DAQ | Error of Line Rating Calculation by Smartconductor (%) | Error of Line Rating Calculation by DAQ System (%) |
|---|---|---|---|---|---|---|---|---|
| 624 (55%) | 0 | 927 | 0 | 0 | 927 | 927 | 0.0 | 0.0 |
| 1088 (97%) | 2 | 1688 | 1.90 | 1.99 | 1648 | 1670 | 2.3 | 1.0 |
| 1088 (97%) | 2.5 | 1833 | 2.48 | 2.53 | 1813 | 1830 | 1.0 | 0.2 |
| 1088 (97%) | 3 | 1969 | 3.03 | 3.28 | 1961 | 2016 | 0.2 | 2.3 |
| Currents | Wind Speed (m/s) | Steady-State Conductor Temperature (°C) | ||
|---|---|---|---|---|
| Applied (A) | Estimated (A) | Difference (%) | ||
| 956 | 927 | 3.0 | 0.0 | Around 90 |
| 1680 | 1688 | 0.5 | 2.0 | Around 89 |
| 1830 | 1833 | 0.2 | 2.5 | Around 90 |
| 1980 | 1969 | 0.6 | 3.0 | Around 89 |
Publisher’s Note: MDPI stays neutral with regard to jurisdictional claims in published maps and institutional affiliations. |
© 2021 by the authors. Licensee MDPI, Basel, Switzerland. This article is an open access article distributed under the terms and conditions of the Creative Commons Attribution (CC BY) license (https://creativecommons.org/licenses/by/4.0/).
Share and Cite
Liu, Y.; Riba, J.-R.; Moreno-Eguilaz, M.; Sanllehí, J. Analysis of a Smart Sensor Based Solution for Smart Grids Real-Time Dynamic Thermal Line Rating. Sensors 2021, 21, 7388. https://doi.org/10.3390/s21217388
Liu Y, Riba J-R, Moreno-Eguilaz M, Sanllehí J. Analysis of a Smart Sensor Based Solution for Smart Grids Real-Time Dynamic Thermal Line Rating. Sensors. 2021; 21(21):7388. https://doi.org/10.3390/s21217388
Chicago/Turabian StyleLiu, Yuming, Jordi-Roger Riba, Manuel Moreno-Eguilaz, and Josep Sanllehí. 2021. "Analysis of a Smart Sensor Based Solution for Smart Grids Real-Time Dynamic Thermal Line Rating" Sensors 21, no. 21: 7388. https://doi.org/10.3390/s21217388
APA StyleLiu, Y., Riba, J.-R., Moreno-Eguilaz, M., & Sanllehí, J. (2021). Analysis of a Smart Sensor Based Solution for Smart Grids Real-Time Dynamic Thermal Line Rating. Sensors, 21(21), 7388. https://doi.org/10.3390/s21217388

