Efficient Fault Detection of Rotor Minor Inter-Turn Short Circuit in Induction Machines Using Wavelet Transform and Empirical Mode Decomposition
Abstract
1. Introduction
2. Mathematical Modeling of the Machine
2.1. Machine Model in a-b-c Coordinates
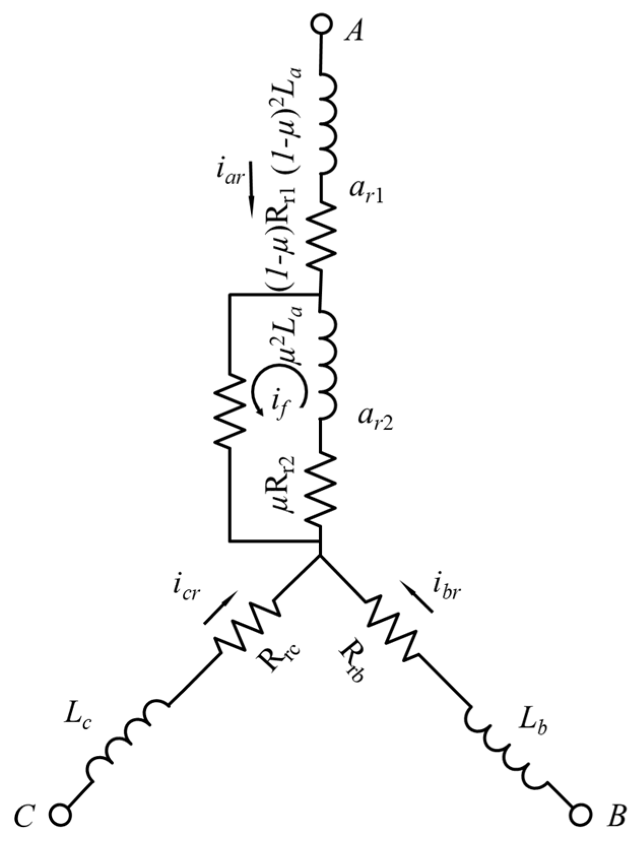
2.2. Model of Inter-Turn Short-Circuit Fault
3. Simulation Results and Analysis
3.1. Harmonic Analysis of Rotor and Stator Currents and Electromagnetic Torque
3.2. Wavelet Transformation Technique
3.3. Empirical Mode Decomposition Analysis
- The original signal can be accurately approximated by employing a cubic spline function to fit its upper and lower envelopes by calculating the average value of these envelopes, denoted as m1(t);
- Calculating the difference between the original signal and m1(t), and recording it as h1(t);
- Repeating the above two steps until the obtained signal h1(t) satisfies the requirements of an IMF component. At this point, the obtained signal is the first-layer empirical mode component, denoted as c1(t), which primarily contains high-frequency harmonics from the original signal;
- Finding the variance between the sum of the original signal c1(t) and recording it as a new original signal. Repeating the above three steps for this signal to obtain all IMF components. The remaining signal is a monotone function with no extreme values, which is recorded as the residual term rn(t). In this study, the original signal was iteratively decomposed six times, resulting in six IMFs. The filtering characteristics of EMD are illustrated in Figure 9.
4. Conclusions and Future Work
Author Contributions
Funding
Institutional Review Board Statement
Informed Consent Statement
Data Availability Statement
Conflicts of Interest
References
- Toliyat, H.A.; Nani, S.; Choi, S.; Meshgin-Kelk, H. Electrical Machines Modeling, Condition Monitoring and Fault Diagnosis; CRC Press: Boca Raton, FL, USA; Taylor & Francis Group: Abingdon, UK, 2013. [Google Scholar]
- Oraee, A.; McMahon, R.; Abdi, E.; Abdi, S.; Ademi, S. Influence of pole-pair combinations on the characteristics of the brushless doubly fed induction generator. IEEE Trans. Energy Convers. 2020, 35, 1151–1159. [Google Scholar] [CrossRef]
- Rana, K.; Meena, D.C. Self excited induction generator for isolated pico hydro station in remote areas. In Proceedings of the 2018 2nd IEEE International Conference on Power Electronics, Intelligent Control and Energy Systems (ICPEICES), Delhi, India, 22–24 October 2018; pp. 821–826. [Google Scholar] [CrossRef]
- Shek, J.K.H.; Dorrell, D.G.; Hsieh, M.; Macpherson, D.E.; Mueller, M.A. Reducing bearing wear in induction generators for wave and tidal current energy devices. In Proceedings of the IET Conference on Renewable Power Generation (RPG 2011), Edinburgh, UK, 6–8 September 2011; pp. 1–6. [Google Scholar] [CrossRef]
- Kumar, R.R.; Andriollo, M.; Cirrincione, G.; Cirrincione, M.; Tortella, A. A comprehensive review of conventional and intelligence-based approaches for the fault diagnosis and condition monitoring of induction motors. Energies 2022, 15, 8938. [Google Scholar] [CrossRef]
- Halder, S.; Bhat, S.; Zychma, D.; Sowa, P. Broken rotor bar fault diagnosis techniques based on motor current signature analysis for induction motor—A review. Energies 2022, 15, 8569. [Google Scholar] [CrossRef]
- Sohaib, M.; Kim, C.-H.; Kim, J.-M. A Hybrid Feature Model and Deep-Learning-Based Bearing Fault Diagnosis. Sensors 2017, 17, 2876. [Google Scholar] [CrossRef]
- Tchakoua, P.; Wamkeue, R.; Ouhrouche, M.; Slaoui-Hasnaoui, F.; Tameghe, T.A.; Ekemb, G. Wind Turbine Condition Monitoring: State-of-the-Art Review, New Trends, and Future Challenges. Energies 2014, 7, 2595–2630. [Google Scholar] [CrossRef]
- Garcia-Calva, T.A.; Morinigo-Sotelo, D.; Fernandez-Cavero, V.; Garcia-Perez, A.; Romero-Troncoso, R.d.J. Early Detection of Broken Rotor Bars in Inverter-Fed Induction Motors Using Speed Analysis of Startup Transients. Energies 2021, 14, 1469. [Google Scholar] [CrossRef]
- Puche-Panadero, R.; Martinez-Roman, J.; Sapena-Bano, A.; Burriel-Valencia, J.; Riera-Guasp, M. Fault Diagnosis in the Slip–Frequency Plane of Induction Machines Working in Time-Varying Conditions. Sensors 2020, 20, 3398. [Google Scholar] [CrossRef]
- Artigao, E.; Honrubia-Escribano, A.; Gómez-Lázaro, E. In-service wind turbine DFIG diagnosis using current signature analysis. IEEE Trans. Ind. Electron. 2019, 67, 2262–2271. [Google Scholar] [CrossRef]
- Goudarzi, N.; Zhu, W.D. A review of the development of wind turbine generators across the world. ASME Int. Mech. Eng. Congr. Expo. 2012, 45202, 1257–1265. [Google Scholar] [CrossRef]
- Yakhni, M.F.; Cauet, S.; Sakout, A.; Assoum, H.; Etien, E.; Rambault, L.; El-Gohary, M. Variable speed induction motors’ fault detection based on transient motor current signatures analysis: A review. Mech. Syst. Signal Process. 2023, 184, 109737. [Google Scholar] [CrossRef]
- Grubic, S.; Aller, J.M.; Lu, B.; Habetler, T.G. A survey on testing and monitoring methods for stator insulation systems of low-voltage induction machines focusing on turn insulation problems. IEEE Trans. Ind. Electron. 2008, 55, 4127–4136. [Google Scholar] [CrossRef]
- Hegde, V.; Sathyanarayana Rao, M.G. Detection of stator winding inter-turn short circuit fault in induction motor using vibration signals by MEMS accelerometer. Electr. Power Compon. Syst. 2017, 45, 1463–1473. [Google Scholar] [CrossRef]
- Rocha, M.; Lucas, G.; Souza, W.; de Castro, B.A.; Andreoli, A. Detection and phase identification of inter-turn short-circuit faults in three-phase induction motors using MEMS accelerometer and Hilbert transform. In Proceedings of the 2021 14th IEEE International Conference on Industry Applications (INDUSCON), Sao Paulo, Brazil, 15–18 August 2021; pp. 955–961. [Google Scholar] [CrossRef]
- Misra, S.; Kumar, S.; Sayyad, S.; Bongale, A.; Jadhav, P.; Kotecha, K.; Abraham, A.; Gabralla, L.A. Fault Detection in Induction Motor Using Time Domain and Spectral Imaging-Based Transfer Learning Approach on Vibration Data. Sensors 2022, 22, 8210. [Google Scholar] [CrossRef]
- Kim, M.-C.; Lee, J.-H.; Wang, D.-H.; Lee, I.-S. Induction Motor Fault Diagnosis Using Support Vector Machine, Neural Networks, and Boosting Methods. Sensors 2023, 23, 2585. [Google Scholar] [CrossRef]
- Wu, Y.; Liu, X.; Zhou, Y. Deep PCA-Based Incipient Fault Diagnosis and Diagnosability Analysis of High-Speed Railway Traction System via FNR Enhancement. Machines 2023, 11, 475. [Google Scholar] [CrossRef]
- Deng, C.; Deng, Z.; Lu, S.; He, M.; Miao, J.; Peng, Y. Fault Diagnosis Method for Imbalanced Data Based on Multi-Signal Fusion and Improved Deep Convolution Generative Adversarial Network. Sensors 2023, 23, 2542. [Google Scholar] [CrossRef]
- Chen, Y.; Rehman, A.U.; Zhao, Y.; Wang, L.; Wang, S.; Zhang, M.; Zhao, Y.; Cheng, Y.; Tanaka, T. Numerical modeling, electrical characteristics analysis and experimental validation of severe inter-turn short circuit fault conditions on stator winding in DFIG of wind turbines. IEEE Access 2021, 9, 13149–13158. [Google Scholar] [CrossRef]
- Rehman, A.U.; Chen, Y.; Zhang, M.; Zhao, Y.; Wang, L.; Liu, Y.; Zhao, Y.; Cheng, Y.; Tanaka, T. Fault detection and fault severity calculation for rotor windings based on spectral, wavelet and ratio computation analyses of rotor current signals for a doubly fed induction generator in wind turbines. Electr. Eng. 2020, 102, 1091–1102. [Google Scholar] [CrossRef]
- Rehman, A.U.; Chen, Y.; Huang, G.; Yang, Y.; Wang, S.; Zhao, Y.; Zhao, Y.; Cheng, Y.; Tanaka, T. Stator inter-turns short circuit fault detection in DFIG using empirical mode decomposition method on leakage flux. In Proceedings of the 2020 International Conference on Sensing, Measurement & Data Analytics in the Era of Artificial Intelligence (ICSMD), Xi’an, China, 15–17 October 2020; pp. 184–187. [Google Scholar] [CrossRef]
- Su, H.; Chong, K.T.; Ravi Kumar, R. Vibration signal analysis for electrical fault detection of induction machine using neural networks. Neural Comput. Appl. 2011, 20, 183–194. [Google Scholar] [CrossRef]
- Lamim Filho, P.C.M.; Pederiva, R.; Brito, J.N. Detection of stator winding faults in induction machines using flux and vibration analysis. Mech. Syst. Signal Process. 2014, 42, 377–387. [Google Scholar] [CrossRef]
- Antonino-Daviu, J.; Zamudio-Ramírez, I.; Osornio-Ríos, R.A.; Fuster-Roig, V.; de Jesús Romero-Troncoso, R.; Dunai, L.D. Stray flux analysis for the detection of rotor failures in wound rotor induction motors. In Proceedings of the IECON 2019—45th Annual Conference of the IEEE Industrial Electronics Society, Lisbon, Portugal, 14–17 October 2019; pp. 3704–3709. [Google Scholar] [CrossRef]
- Kia, S.H. Monitoring of wound rotor induction machines by means of discrete wavelet transform. Electr. Power Compon. Syst. 2018, 46, 2021–2035. [Google Scholar] [CrossRef]
- Sabir, H.; Ouassaid, M.; Ngote, N. December. Diagnosis of rotor winding inter-turn short circuit fault in wind turbine based on DFIG using hybrid TSA/DWT approach. In Proceedings of the 2018 6th International Renewable and Sustainable Energy Conference (IRSEC), Rabat, Morocco, 5–8 December 2018; pp. 1–6. [Google Scholar] [CrossRef]
- Dahi, K.; Elhani, S.; Guedira, S. Statistical wound-rotor IM diagnosis method based on standard deviation using NVSA. In Proceedings of the IECON 2014—40th Annual Conference of the IEEE Industrial Electronics Society, Dallas, TX, USA, 29 October–1 November 2014. [Google Scholar]
- Lucas, G.B.; De Castro, B.A.; Rocha, M.A.; Andreoli, A.L. A new acoustic emission-based approach for supply disturbances evaluation in three-phase induction motors. IEEE Trans. Instrum. Meas. 2020, 70, 1–10. [Google Scholar] [CrossRef]
- Santos, V.V.D.; Castro, B.A.D.; Binotto, A.; Rey, J.A.A.; Lucas, G.B.; Andreoli, A.L. An application of wavelet analysis to assess partial discharge evolution by acoustic emission sensor. Eng. Proc. 2020, 2, 33. [Google Scholar]
- Ali, M.Z.; Shabbir, M.N.S.K.; Liang, X.; Zhang, Y.; Hu, T. Machine learning-based fault diagnosis for single-and multi-faults in induction motors using measured stator currents and vibration signals. IEEE Trans. Ind. Appl. 2019, 55, 2378–2391. [Google Scholar] [CrossRef]
- Glowacz, A.; Glowacz, W.; Kozik, J.; Piech, K.; Gutten, M.; Caesarendra, W.; Liu, H.; Brumercik, F.; Irfan, M.; Khan, Z.F. Detection of deterioration of three-phase induction motor using vibration signals. Meas. Sci. Rev. 2019, 19, 241–249. [Google Scholar] [CrossRef]
- Schiewaldt, K.; Lucas, G.; Rocha, M.; Fraga, C.; Andreoli, A. Identification of stator winding insulation faults in three-phase induction motors using MEMS accelerometers. Proceedings 2019, 42, 66. [Google Scholar] [CrossRef]
- Krause, P.; Wasynczuck, O.; Sudhoff, S. Analysis of Electric Machinery and Drive Systems, 2nd ed.; John Wiley & Sons: Hoboken, NJ, USA, 2002. [Google Scholar]
- Bachir, S.; Tnani, S.; Trigeassou, J.C.; Champenois, G. Diagnosis by parameter estimation of stator and rotor faults occurring in induction machines. IEEE Trans. Ind. Electron. 2006, 53, 963–973. [Google Scholar] [CrossRef]
- Kashyap, K.H.; Shenoy, U.J. Classification of power system faults using wavelet transforms and probabilistic neural networks. In Proceedings of the 2003 International Symposium on Circuits and Systems 2003, ISCAS’03, Bangkok, Thailand, 25–28 May 2003. [Google Scholar] [CrossRef]
- Gopinath, R.A.; Guo, H.; Burrus, C.S.; Burrus, L.S. Introduction to Wavelets and Wavelet Transforms: A Primer; Stanford University: Stanford, CA, USA, 1997. [Google Scholar]
- Karimi, M.; Mokhtari, H.; Iravani, M.R. Wavelet based on-line disturbance detection for power quality applications. IEEE Trans. Power Deliv. 2000, 15, 1212–1220. [Google Scholar] [CrossRef]
- Yang, H.T.; Chang, W.Y.; Huang, C.L. A new neural networks approach to on-line fault section estimation using information of protective relays and circuit breakers. IEEE Trans. Power Deliv. 1994, 9, 220–230. [Google Scholar] [CrossRef]
- Apergis, N.; Jebli, M.B.; Youssef, S.B. Does renewable energy consumption and health expenditures decrease carbon dioxide emissions? Evidence for sub-Saharan Africa countries. Renew. Energy 2018, 127, 1011–1016. [Google Scholar] [CrossRef]










| Variable | Rating Values | Variable | Rating Values |
|---|---|---|---|
| Stator resistance | 0.024 Ω | Rotor resistance | 0.037 Ω |
| Stator inductance | 0.074 Ω | Rotor inductance | 0.087 Ω |
| Magnetizing inductance | 4.06 Ω | Stator voltage | 380 v |
| Inertia | 2.45 kg·m2 | Rated load torque | 530 N·m |
| Rotor open-circuit voltage | 1092 V | Stator frequency | 50 Hz |
| Stator turns | 228 | Rotor turns | 100 |
| Approximations (a) | Frequency Bands (Hz) | Details (d) | Frequency Bands (Hz) |
|---|---|---|---|
| a1 | (0–2500) | d1 | (2500–5000) |
| a2 | (0–1250) | d2 | (1250–2500) |
| a3 | (0–625) | d3 | (625–1250) |
| a4 | (0–312.5) | d4 | (312.5–625) |
| a5 | (0–156.25) | d5 | (156.25–312.5) |
| a6 | (0–78.125) | d6 | (78.125–156.25) |
| a7 | (0–39.062) | d7 | (39.062–78.125) |
Disclaimer/Publisher’s Note: The statements, opinions and data contained in all publications are solely those of the individual author(s) and contributor(s) and not of MDPI and/or the editor(s). MDPI and/or the editor(s) disclaim responsibility for any injury to people or property resulting from any ideas, methods, instructions or products referred to in the content. |
© 2023 by the authors. Licensee MDPI, Basel, Switzerland. This article is an open access article distributed under the terms and conditions of the Creative Commons Attribution (CC BY) license (https://creativecommons.org/licenses/by/4.0/).
Share and Cite
Rehman, A.U.; Jiao, W.; Sun, J.; Sohaib, M.; Jiang, Y.; Shahzadi, M.; Khan, M.I. Efficient Fault Detection of Rotor Minor Inter-Turn Short Circuit in Induction Machines Using Wavelet Transform and Empirical Mode Decomposition. Sensors 2023, 23, 7109. https://doi.org/10.3390/s23167109
Rehman AU, Jiao W, Sun J, Sohaib M, Jiang Y, Shahzadi M, Khan MI. Efficient Fault Detection of Rotor Minor Inter-Turn Short Circuit in Induction Machines Using Wavelet Transform and Empirical Mode Decomposition. Sensors. 2023; 23(16):7109. https://doi.org/10.3390/s23167109
Chicago/Turabian StyleRehman, Attiq Ur, Weidong Jiao, Jianfeng Sun, Muhammad Sohaib, Yonghua Jiang, Mahnoor Shahzadi, and Muhammad Ijaz Khan. 2023. "Efficient Fault Detection of Rotor Minor Inter-Turn Short Circuit in Induction Machines Using Wavelet Transform and Empirical Mode Decomposition" Sensors 23, no. 16: 7109. https://doi.org/10.3390/s23167109
APA StyleRehman, A. U., Jiao, W., Sun, J., Sohaib, M., Jiang, Y., Shahzadi, M., & Khan, M. I. (2023). Efficient Fault Detection of Rotor Minor Inter-Turn Short Circuit in Induction Machines Using Wavelet Transform and Empirical Mode Decomposition. Sensors, 23(16), 7109. https://doi.org/10.3390/s23167109

