A Novel Centrifugal Filtration Device
Abstract
:1. Introduction
2. Experimental Method
2.1. Materials and Filter
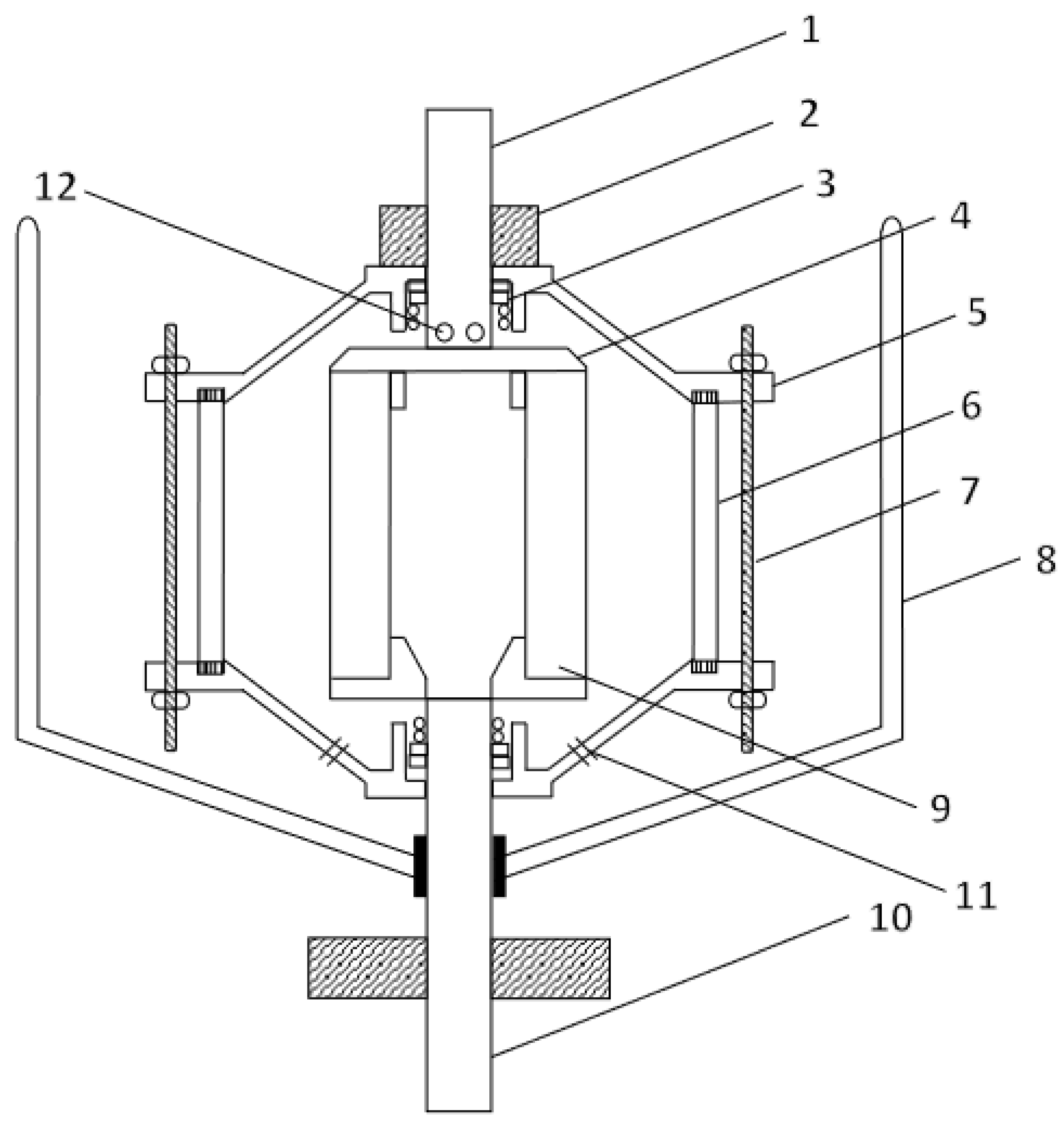
2.2. Experimental Apparatus and Equipment
2.3. Experimental Setup and Operation
3. Results and Discussion
3.1. Tubular Ceramic Membrane and Silicon Carbide Powder
3.1.1. Effect of Particle Size
3.1.2. Effect of Rotation Speed
3.1.3. Comparison between Filtrate Fluxes Rates of Proposed Centrifugal Filtration Device and Tubular Membrane Filtration Module
3.2. Organic Filter Element and Alumina Oxide Powder
3.2.1. Results for Proposed Centrifugal Filtration Device
3.2.2. Effect of Working Fluid Concentration
4. Conclusions
Author Contributions
Funding
Institutional Review Board Statement
Informed Consent Statement
Data Availability Statement
Acknowledgments
Conflicts of Interest
References
- Wang, M.; Sun, F.; Zeng, H.; Su, X.; Zhou, G.; Liu, H.; Xing, D. Modified Polyethersulfone Ultrafiltration Membrane for Enhanced Antifouling Capacity and Dye Catalytic Degradation Efficiency. Separations 2022, 9, 92. [Google Scholar] [CrossRef]
- Jha, P.K.; Khongnakorn, W.; Chawenjkigwanich, C.; Chowdhury, M.S.; Techato, K. Eco-Friendly Reduced Graphene Oxide Nanofilter Preparation and Application for Iron Removal. Separations 2021, 8, 68. [Google Scholar] [CrossRef]
- Zouboulis, A.I.; Peleka, E.N.; Ntolia, A. Treatment of Tannery Wastewater with Vibratory Shear-Enhanced Processing Membrane Filtration. Separations 2019, 6, 20. [Google Scholar] [CrossRef] [Green Version]
- Zhao, X.; Lai, E.P.C. Titania and Zinc Oxide Nanoparticles: Coating with Polydopamine and Encapsulation within Lecithin Liposomes—Water Treatment Analysis by Gel Filtration Chromatography with Fluorescence Detection. Separations 2018, 5, 13. [Google Scholar] [CrossRef] [Green Version]
- Zhang, Y.; Yuan, Z.; Bai, H.; Zhao, L.; He, L.; Shi, C. A Pilot-Scale Treatment of Steel Plant Wastewater by PVDF Hollow Fiber Ultrafiltration Membrane with Low Packing Density. Separations 2022, 9, 37. [Google Scholar] [CrossRef]
- Straube, C.; Meyer, J.; Dittler, A. Identification of Deposited Oil Structures on Thin Porous Oil Mist Filter Media Applying µ-CT Imaging Technique. Separations 2021, 8, 193. [Google Scholar] [CrossRef]
- Zhou, F.; Sun, G.; Han, X.; Zhang, Y.; Bi, W. Experimental and CFD study on effects of spiral guide vanes on cyclone performance. Adv. Powder Technol. 2018, 29, 3394–3403. [Google Scholar] [CrossRef]
- Fu, S.; Zhou, F.; Sun, G.; Yuan, H.; Zhu, J. Performance evaluation of industrial large-scale cyclone separator with novel vortex finder. Adv. Powder Technol. 2021, 32, 931–939. [Google Scholar] [CrossRef]
- Centrifugal Separators and Milk Standardization. Available online: https://dairyprocessinghandbook.tetrapak.com/chapter/centrifugal-separators-and-milk-standardization (accessed on 15 April 2022).
- Fukuyama, R.; Jami, M.S.; Tanaka, T.; Iwata, M. Consolidation behaviour of thick suspension in centrifugal dewatering with and without supernatant. Sep. Purif. Technol. 2015, 150, 223–228. [Google Scholar] [CrossRef]
- Li, L.; Ding, L.; Tu, L.; Wan, Y.; Clausse, D.; Lanoiselle, J.L. Recovery of linseed oil dispersed within an oil-in-water emulsion using hydrophilic membrane by rotating disk filtration system. J. Membr. Sci. 2009, 342, 70–79. [Google Scholar] [CrossRef]
- Jaffrin, M.Y. Dynamic shear-enhanced membrane filtration: A review of rotating disks, rotating membranes and vibrating systems. J. Membr. Sci. 2008, 324, 7–25. [Google Scholar] [CrossRef]
- Loginov, M.; Zierau, A.; Kavianpour, D.; Lerche, D.; Vorobiev, E.; Gésan-Guiziou, G.; Mahnic-Kalamiza, S.; Sobisch, T. Multistep centrifugal consolidation method for characterizationof filterability of aggregated concentrated suspensions. Sep. Purif. Technol. 2017, 183, 304–317. [Google Scholar] [CrossRef]
- Bouzerar, R.; Jaffrin, M.Y.; Lefevre, A.; Paullier, P. Concentration of ferric hydroxide suspensions in saline medium by dynamic cross-flow filtration. J. Membr. Sci. 2000, 165, 111–123. [Google Scholar] [CrossRef]
- Parnham, C.S., III; Davis, R.H. Protein recovery from cell debris using rotary and tangential crossflow microfiltration. Biotechnol. Bioeng. 1995, 47, 155–164. [Google Scholar] [CrossRef] [PubMed]
- Belfort, G. Diagnosis of membrane fouling using a rotating annular filter, 2. Dilute particle suspensions of known particle size. J. Membr. Sci. 1993, 77, 23–39. [Google Scholar] [CrossRef]
- Nuortila-Jokinen, J.; Nystrom, M. Comparison of membrane separation processes in the internal purification of paper mill water. J. Membr. Sci. 1996, 119, 99–115. [Google Scholar] [CrossRef]
- Schwille, J.A.; Mitra, D.; Lueptow, R.M. Design parameters for rotating cylindrical filtration. J. Membr. Sci. 2002, 204, 53–65. [Google Scholar] [CrossRef]
- Wereley, S.T.; Akonur, A.; Lueptow, R.M. Particle–fluid velocities and fouling in rotating filtration of a suspension. J. Membr. Sci. 2002, 209, 469–484. [Google Scholar] [CrossRef]
- Nakakura, H.; Tsubone, A.; Miura, K.; Osasa, K. Centrifugal ultrafiltration of protein solutions in a centripetal-flow cell. In Proceedings of the 10th Congress of Asian Pacific Confederation of Chemical Engineering, Kitakyushuu, Japan, 17–21 October 2004. [Google Scholar]
- Ginting, A.N.; Fukuyama, R.; Jami, M.S.; Tanaka, T.; Iwata, M. Improving slurry dewatering performance of basket centrifuge: Discharge of supernatant using bypass filter medium. J. Chem. Eng. Jpn. 2015, 48, 966–969. [Google Scholar] [CrossRef]
- Kamijo, J.; Sakai, K.; Suzuki, H.; Suzuki, K.; Kunitake, E.; Shimizu, M.; Kato, M. Identification and characterization of a thermostable pectate lyase from Aspergillus luchuensis var. saitoi. Food Chem. 2019, 276, 503–510. [Google Scholar] [CrossRef]
- Fu, P.; Wang, F.; Ma, L.; Yang, X.; Wang, H. Fine particle sorting and classification in the cyclonic centrifugal field. Sep. Purif. Technol. 2016, 158, 357–366. [Google Scholar] [CrossRef]
- Wu, R.M. Hydrocyclone Separator. U.S. Patent 8182684 B1, 22 May 2012. [Google Scholar]
- Vieira, L.G.M.; Barbosa, E.A.; Damasceno, J.J.R.; Barrozo, M.A.S. Performance Analysis and Design of Filtering Hydrocyclone. Braz. J. Chem. Eng. 2005, 22, 143–152. Available online: https://www.scielo.br/j/bjce/a/xhfQWc68r5YZhFgJsQ3f7hp/?format=pdf&lang=en (accessed on 15 April 2022). [CrossRef]
- Lin, J.Y.; Wu, R.M. Three Output Membrane Hydrocyclone: Classification and Filtration. Molecules 2019, 24, 1116–1132. [Google Scholar] [CrossRef] [PubMed] [Green Version]
- Shih, C.Y.; Gau, S.H.; Kuo, C.C.; Huang, C.Y.; Kuo, S.W. The Study of Rotational Ultrafiltration System for Recovery of Spent Cutting Oil from Solar Photovoltaic Cell Manufacturing Process. J. Appl. Sci. Eng. 2016, 19, 75–82. [Google Scholar]









Publisher’s Note: MDPI stays neutral with regard to jurisdictional claims in published maps and institutional affiliations. |
© 2022 by the authors. Licensee MDPI, Basel, Switzerland. This article is an open access article distributed under the terms and conditions of the Creative Commons Attribution (CC BY) license (https://creativecommons.org/licenses/by/4.0/).
Share and Cite
Lin, C.-C.; Wu, J.-M. A Novel Centrifugal Filtration Device. Separations 2022, 9, 129. https://doi.org/10.3390/separations9050129
Lin C-C, Wu J-M. A Novel Centrifugal Filtration Device. Separations. 2022; 9(5):129. https://doi.org/10.3390/separations9050129
Chicago/Turabian StyleLin, Chia-Cheng, and Jung-Ming Wu. 2022. "A Novel Centrifugal Filtration Device" Separations 9, no. 5: 129. https://doi.org/10.3390/separations9050129
APA StyleLin, C.-C., & Wu, J.-M. (2022). A Novel Centrifugal Filtration Device. Separations, 9(5), 129. https://doi.org/10.3390/separations9050129

