Development of Prediction Models for Acute Myocardial Infarction at Prehospital Stage with Machine Learning Based on a Nationwide Database
Abstract
1. Introduction
2. Materials and Methods
2.1. Study Design and Setting
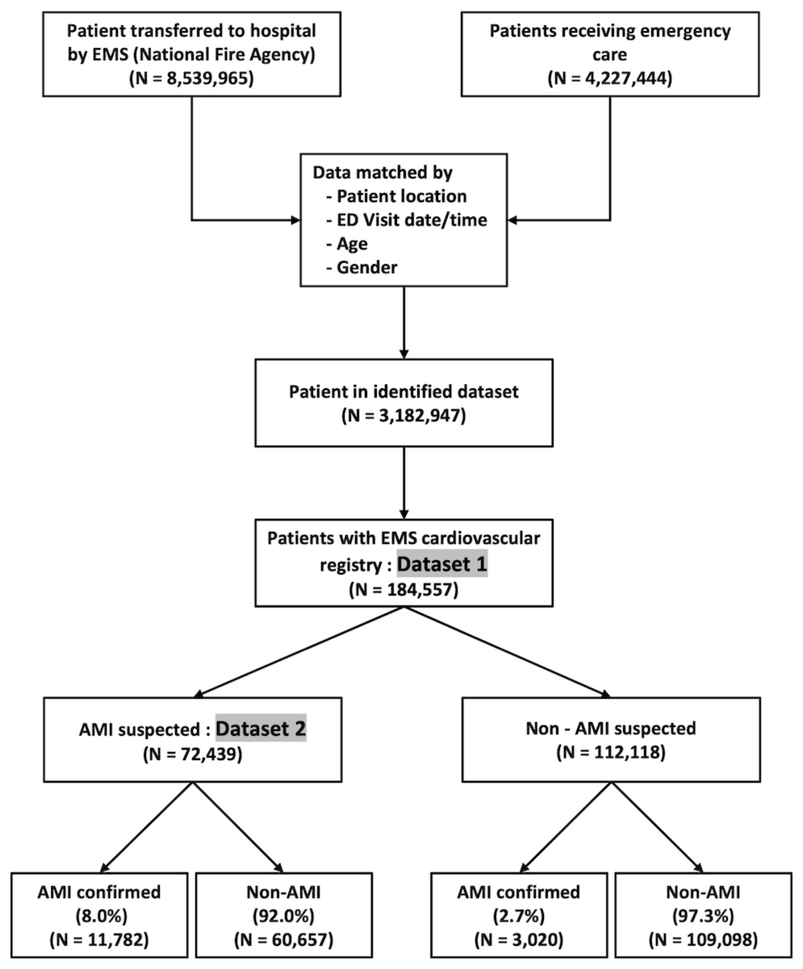
2.2. Selection of Participants
2.3. Data Collection and Processing
2.4. Model Development
2.5. Outcome
2.6. Descrimination and Callibration Plot of the Model
2.7. Analysis
3. Results
3.1. Characteristics of Study Subjects
3.2. Main Results
4. Discussion
5. Conclusions
Supplementary Materials
Author Contributions
Funding
Institutional Review Board Statement
Informed Consent Statement
Data Availability Statement
Acknowledgments
Conflicts of Interest
References
- Murray, C.J.L.; Vos, T.; Lozano, R.; Naghavi, M.; Flaxman, A.D.; Michaud, C.; Ezzati, M.; Shibuya, K.; Salomon, J.A.; Abdalla, S.; et al. Disability-adjusted life years (DALYs) for 291 diseases and injuries in 21 regions, 1990–2010: A systematic analysis for the Global Burden of Disease Study 2010. Lancet 2012, 380, 2197–2223. [Google Scholar] [CrossRef] [PubMed]
- Steg, P.G.; Bonnefoy, E.; Chabaud, S.; Lapostolle, F.; Dubien, P.-Y.; Cristofini, P.; Leizorovicz, A.; Touboul, P. Impact of Time to Treatment on Mortality After Prehospital Fibrinolysis or Primary Angioplasty: Data from the CAPTIM randomized clinical trial. Circulation 2003, 108, 2851–2856. [Google Scholar] [CrossRef] [PubMed]
- Antman, E.M.; Anbe, D.T.; Armstrong, P.W.; Bates, E.R.; Green, L.A.; Hand, M.; Hochman, J.S.; Krumholz, H.M.; Kushner, F.G.; Lamas, G.A.; et al. ACC/AHA Guidelines for the Management of Patients With ST-Elevation Myocardial Infarction—Executive Summary: A Report of the American College of Cardiology/American Heart Association Task Force on Practice Guidelines (Writing Committee to Revise the 1999 Guidelines for the Management of Patients With Acute Myocardial Infarction). Can. J. Cardiol. 2004, 20, 977–1025. [Google Scholar] [PubMed]
- Canto, J.G.; Zalenski, R.J.; Ornato, J.P.; Rogers, W.J.; Kiefe, C.I.; Magid, D.; Shlipak, M.G.; Frederick, P.; Lambrew, C.G.; Littrell, K.A.; et al. Use of Emergency Medical Services in Acute Myocardial Infarction and Subsequent Quality of Care: Observations from the National Registry of Myocardial Infarction 2. Circulation 2002, 106, 3018–3023. [Google Scholar] [CrossRef] [PubMed]
- Park, Y.H.; Kang, G.H.; Song, B.G.; Chun, W.J.; Lee, J.H.; Hwang, S.Y.; Oh, J.H.; Park, K.; Kim, Y.D. Factors Related to Prehospital Time Delay in Acute ST-Segment Elevation Myocardial Infarction. J. Korean Med. Sci. 2012, 27, 864–869. [Google Scholar] [CrossRef]
- O’Connor, R.E.; Al Ali, A.S.; Brady, W.J.; Ghaemmaghami, C.A.; Menon, V.; Welsford, M.; Shuster, M. Part 9: Acute Coronary Syndromes: 2015 American Heart Association Guidelines Update for Cardiopulmonary Resuscitation and Emergency Cardiovascular Care. Circulation 2015, 132, S483–S500. [Google Scholar] [CrossRef]
- Bruyninckx, R.; Aertgeerts, B.; Bruyninckx, P.; Buntinx, F. Signs and symptoms in diagnosing acute myocardial infarction and acute coronary syndrome: A diagnostic meta-analysis. Br. J. Gen. Pract. 2008, 58, e1–e8. [Google Scholar] [CrossRef]
- Shin, S.D.; Suh, G.J.; Ahn, K.O.; Song, K.J. Cardiopulmonary resuscitation outcome of out-of-hospital cardiac arrest in low-volume versus high-volume emergency departments: An observational study and propensity score matching analysis. Resuscitation 2011, 82, 32–39. [Google Scholar] [CrossRef]
- Alghamdi, A.; Howard, L.; Reynard, C.; Moss, P.; Jarman, H.; Mackway-Jones, K.; Carley, S.; Body, R. Enhanced triage for patients with suspected cardiac chest pain: The History and Electrocardiogram-only Manchester Acute Coronary Syndromes decision aid. Eur. J. Emerg. Med. 2019, 26, 356–361. [Google Scholar] [CrossRef]
- Body, R.; Carley, S.; McDowell, G.; Pemberton, P.; Burrows, G.; Cook, G.; Lewis, P.S.; Smith, A.; Mackway-Jones, K. The Manchester Acute Coronary Syndromes (MACS) decision rule for suspected cardiac chest pain: Derivation and external validation. Heart 2014, 100, 1462–1468. [Google Scholar] [CrossRef]
- Body, R.; Carlton, E.; Sperrin, M.; Lewis, P.S.; Burrows, G.; Carley, S.; McDowell, G.; Buchan, I.; Greaves, K.; Mackway-Jones, K. Troponin-only Manchester Acute Coronary Syndromes (T-MACS) decision aid: Single biomarker re-derivation and external validation in three cohorts. Emerg. Med. J. 2017, 34, 349–356. [Google Scholar] [CrossRef] [PubMed]
- Backus, B.; Six, A.; Kelder, J.; Bosschaert, M.; Mast, E.; Mosterd, A.; Veldkamp, R.; Wardeh, A.; Tio, R.; Braam, R.; et al. A prospective validation of the HEART score for chest pain patients at the emergency department. Int. J. Cardiol. 2013, 168, 2153–2158. [Google Scholar] [CrossRef] [PubMed]
- Stopyra, J.P.; Harper, W.S.; Higgins, T.J.; Prokesova, J.V.; Winslow, J.E.; Nelson, R.D.; Alson, R.L.; Davis, C.A.; Russell, G.B.; Miller, C.D.; et al. Prehospital Modified HEART Score Predictive of 30-Day Adverse Cardiac Events. Prehospital Disaster Med. 2018, 33, 58–62. [Google Scholar] [CrossRef]
- Holmberg, M.; Andersson, H.; Winge, K.; Lundberg, C.; Karlsson, T.; Herlitz, J.; Sundström, B.W. Association between the reported intensity of an acute symptom at first prehospital assessment and the subsequent outcome: A study on patients with acute chest pain and presumed acute coronary syndrome. BMC Cardiovasc. Disord. 2018, 18, 216. [Google Scholar] [CrossRef] [PubMed]
- Frisch, A.; Heidle, K.J.; Frisch, S.O.; Ata, A.; Kramer, B.; Colleran, C.; Carlson, J.N. Factors associated with advanced cardiac care in prehospital chest pain patients. Am. J. Emerg. Med. 2017, 36, 1182–1187. [Google Scholar] [CrossRef] [PubMed]
- Cho, K.-J.; Kwon, O.; Kwon, J.-M.; Lee, Y.; Park, H.; Jeon, K.-H.; Kim, K.-H.; Park, J.; Oh, B.-H. Detecting Patient Deterioration Using Artificial Intelligence in a Rapid Response System. Crit. Care Med. 2020, 48, e285–e289. [Google Scholar] [CrossRef] [PubMed]
- Kwon, J.-M.; Jeon, K.-H.; Kim, H.M.; Kim, M.J.; Lim, S.-M.; Kim, K.-H.; Song, P.S.; Park, J.; Choi, R.K.; Oh, B.-H. Deep-learning-based out-of-hospital cardiac arrest prognostic system to predict clinical outcomes. Resuscitation 2019, 139, 84–91. [Google Scholar] [CrossRef]
- Kwon, J.; Lee, Y.; Lee, Y.; Lee, S.; Park, J. An Algorithm Based on Deep Learning for Predicting In-Hospital Cardiac Arrest. J. Am. Heart Assoc. 2018, 7, e008678. [Google Scholar] [CrossRef]
- The Ministry of Science and Information and Communications Technology in Korea. Connected Network for EMS Comprehensive Technical-Support Using Artificial Iintelligence (CONNECT-AI) Project. 4 June 2019. Available online: https://www.msit.go.kr/SYNAP/sn3hcv/result/f361d62dcd23e5e79bb0e4e18b68ed0c.view.xhtml (accessed on 1 October 2022).
- The PLOS Medicine Editors. Observational Studies: Getting Clear about Transparency. PLoS Med. 2014, 11, e1001711. [Google Scholar] [CrossRef]
- Ro, Y.S.; Shin, S.D.; Lee, Y.J.; Lee, S.C.; Song, K.J.; Ryoo, H.W.; Ong, M.E.H.; McNally, B.; Bobrow, B.; Tanaka, H.; et al. Effect of Dispatcher-Assisted Cardiopulmonary Resuscitation Program and Location of Out-of-Hospital Cardiac Arrest on Survival and Neurologic Outcome. Ann. Emerg. Med. 2017, 69, 52–61.e1. [Google Scholar] [CrossRef]
- Kim, E.N.; Kim, M.J.; You, J.S.; Shin, H.J.; Park, I.; Chung, S.P.; Kim, J.H. Effects of an emergency transfer coordination center on secondary overtriage in an emergency department. Am. J. Emerg. Med. 2019, 37, 395–400. [Google Scholar] [CrossRef] [PubMed]
- Korean Statistical Information Service Operation of Level-1 and Level-2 Emergency Department. Available online: https://kosis.kr/statHtml/statHtml.do?orgId=411&tblId=DT_41104_411 (accessed on 1 October 2022).
- Van Buuren, S. Multiple imputation of discrete and continuous data by fully conditional specification. Stat. Methods Med. Res. 2007, 16, 219–242. [Google Scholar] [CrossRef] [PubMed]
- Delong, E.R.; Delong, D.M.; Clarke-Pearson, D.L. Comparing the Areas under Two or More Correlated Receiver Operating Characteristic Curves: A Nonparametric Approach. Biometrics 1988, 44, 837–845. [Google Scholar] [CrossRef] [PubMed]
- Hanley, J.A.; Hajian-Tilaki, K.O. Sampling variability of nonparametric estimates of the areas under receiver operating characteristic curves: An update. Acad. Radiol. 1997, 4, 49–58. [Google Scholar] [CrossRef]
- DeFilippis, A.P.; Young, R.; Carrubba, C.J.; McEvoy, M.J.W.; Budoff, M.J.; Blumenthal, R.S.; Kronmal, R.A.; McClelland, R.L.; Nasir, K.; Blaha, M.J. An Analysis of Calibration and Discrimination Among Multiple Cardiovascular Risk Scores in a Modern Multiethnic Cohort. Ann. Intern. Med. 2015, 162, 266–275. [Google Scholar] [CrossRef]
- Karam, N.; Bataille, S.; Marijon, E.; Giovannetti, O.; Tafflet, M.; Savary, D.; Benamer, H.; Caussin, C.; Garot, P.; Juliard, J.-M.; et al. Identifying Patients at Risk for Prehospital Sudden Cardiac Arrest at the Early Phase of Myocardial Infarction: The e-MUST Study (Evaluation en Medecine d’Urgence des Strategies Therapeutiques des infarctus du myocarde). Circulation 2016, 134, 2074–2083. [Google Scholar] [CrossRef]
- Sung, J.M.; Cho, I.-J.; Sung, D.; Kim, S.; Kim, H.C.; Chae, M.-H.; Kavousi, M.; Rueda-Ochoa, O.L.; Ikram, M.A.; Franco, O.H.; et al. Development and verification of prediction models for preventing cardiovascular diseases. PLoS ONE 2019, 14, e0222809. [Google Scholar] [CrossRef]
- Al-Zaiti, S.; Besomi, L.; Bouzid, Z.; Faramand, Z.; Frisch, S.; Martin-Gill, C.; Gregg, R.; Saba, S.; Callaway, C.; Sejdić, E. Machine learning-based prediction of acute coronary syndrome using only the pre-hospital 12-lead electrocardiogram. Nat. Commun. 2020, 11, 3966. [Google Scholar] [CrossRef]
- Lee, Y.; Kwon, J.-M.; Lee, Y.; Park, H.; Cho, H.; Park, J. Deep Learning in the Medical Domain: Predicting Cardiac Arrest Using Deep Learning. Acute Crit. Care 2018, 33, 117–120. [Google Scholar] [CrossRef]
- Kwon, J.-M.; Jeon, K.-H.; Kim, H.M.; Kim, M.J.; Lim, S.; Kim, K.-H.; Song, P.S.; Park, J.; Choi, R.K.; Oh, B.-H. Deep-learning-based risk stratification for mortality of patients with acute myocardial infarction. PLoS ONE 2019, 14, e0224502. [Google Scholar] [CrossRef]
- Holzinger, A.; Langs, G.; Denk, H.; Zatloukal, K.; Müller, H. Causability and explainability of artificial intelligence in medicine. WIREs Data Min. Knowl. Discov. 2019, 9, e1312. [Google Scholar] [CrossRef] [PubMed]
- Goldstein, B.A.; Navar, A.M.; Carter, R.E. Moving beyond regression techniques in cardiovascular risk prediction: Applying machine learning to address analytic challenges. Eur. Heart J. 2017, 38, 1805–1814. [Google Scholar] [CrossRef] [PubMed]





| Label | Modeling Method | AUROC (95% CI) | Sensitivity (95% CI) | Specificity (95% CI) | Accuracy (95% CI) | PPV (95% CI) | NPV (95% CI) | |
|---|---|---|---|---|---|---|---|---|
| Dataset 1 | A-type model | Logistic | 0.843 (0.837, 0.849) | 0.750 (0.737, 0.762) | 0.785 (0.792, 0.785) | 0.785 (0.782, 0.789) | 0.241 (0.234, 0.248) | 0.972 (0.971, 0.974) |
| XGB | 0.867 (0.860, 0.874) | 0.800 (0.788, 0.812) | 0.771 (0.768, 0.775) | 0.774 (0.770, 0.778) | 0.239 (0.232, 0.245) | 0.977 (0.976, 0.979) | ||
| MLP | 0.863 (0.856, 0.870) | 0.800 (0.788, 0.812) | 0.756 (0.752, 0.760) | 0.759 (0.756, 0.763) | 0.227 (0.220, 0.233) | 0.977 (0.975, 0.978) | ||
| Dataset 2 | A-type model | Logistic | 0.808 (0.801, 0.816) | 0.721 (0.706, 0.736) | 0.743 (0.737, 0.749) | 0.739 (0.734, 0.745) | 0.355 (0.344, 0.366) | 0.931 (0.927, 0.936 |
| XGB | 0.823 (0.815, 0.832) | 0.800 (0.787, 0.813) | 0.678 (0.672, 0.685) | 0.698 (0.692, 0.704) | 0.328 (0.318, 0.338) | 0.945 (0.941, 0.949) | ||
| MLP | 0.821 (0.812, 0.830) | 0.800 (0.787, 0.813) | 0.673 (0.667, 0.680) | 0.694 (0.688, 0.700) | 0.324 (0.315, 0.334) | 0.945 (0.941, 0.949) | ||
| B-type model | Logistic | 0.824 (0.817, 0.831) | 0.777 (0.763, 0.791) | 0.722 (0.715, 0.728) | 0.731 (0.725, 0.737) | 0.354 (0.343, 0.364) | 0.943 (0.939, 0.947) | |
| XGB | 0.837 (0.829, 0.846) | 0.800 (0.787, 0.813) | 0.689 (0.682, 0.696) | 0.707 (0.701, 0.713) | 0.335 (0.325, 0.345) | 0.946 (0.942, 0.950) | ||
| MLP | 0.836 (0.828, 0.845) | 0.800 (0.787, 0.813) | 0.700 (0.694, 0.707) | 0.717 (0.711, 0.723) | 0.344 (0.333, 0.354) | 0.947 (0.943, 0.951) | ||
Publisher’s Note: MDPI stays neutral with regard to jurisdictional claims in published maps and institutional affiliations. |
© 2022 by the authors. Licensee MDPI, Basel, Switzerland. This article is an open access article distributed under the terms and conditions of the Creative Commons Attribution (CC BY) license (https://creativecommons.org/licenses/by/4.0/).
Share and Cite
Choi, A.; Kim, M.J.; Sung, J.M.; Kim, S.; Lee, J.; Hyun, H.; Kim, H.C.; Kim, J.H.; Chang, H.-J., on behalf of the Connected Network for EMS Comprehensive Technical Support Using Artificial Intelligence Investigators. Development of Prediction Models for Acute Myocardial Infarction at Prehospital Stage with Machine Learning Based on a Nationwide Database. J. Cardiovasc. Dev. Dis. 2022, 9, 430. https://doi.org/10.3390/jcdd9120430
Choi A, Kim MJ, Sung JM, Kim S, Lee J, Hyun H, Kim HC, Kim JH, Chang H-J on behalf of the Connected Network for EMS Comprehensive Technical Support Using Artificial Intelligence Investigators. Development of Prediction Models for Acute Myocardial Infarction at Prehospital Stage with Machine Learning Based on a Nationwide Database. Journal of Cardiovascular Development and Disease. 2022; 9(12):430. https://doi.org/10.3390/jcdd9120430
Chicago/Turabian StyleChoi, Arom, Min Joung Kim, Ji Min Sung, Sunhee Kim, Jayoung Lee, Heejung Hyun, Hyeon Chang Kim, Ji Hoon Kim, and Hyuk-Jae Chang on behalf of the Connected Network for EMS Comprehensive Technical Support Using Artificial Intelligence Investigators. 2022. "Development of Prediction Models for Acute Myocardial Infarction at Prehospital Stage with Machine Learning Based on a Nationwide Database" Journal of Cardiovascular Development and Disease 9, no. 12: 430. https://doi.org/10.3390/jcdd9120430
APA StyleChoi, A., Kim, M. J., Sung, J. M., Kim, S., Lee, J., Hyun, H., Kim, H. C., Kim, J. H., & Chang, H.-J., on behalf of the Connected Network for EMS Comprehensive Technical Support Using Artificial Intelligence Investigators. (2022). Development of Prediction Models for Acute Myocardial Infarction at Prehospital Stage with Machine Learning Based on a Nationwide Database. Journal of Cardiovascular Development and Disease, 9(12), 430. https://doi.org/10.3390/jcdd9120430

