A Secure Video Steganography Based on the Intra-Prediction Mode (IPM) for H264
Abstract
1. Introduction
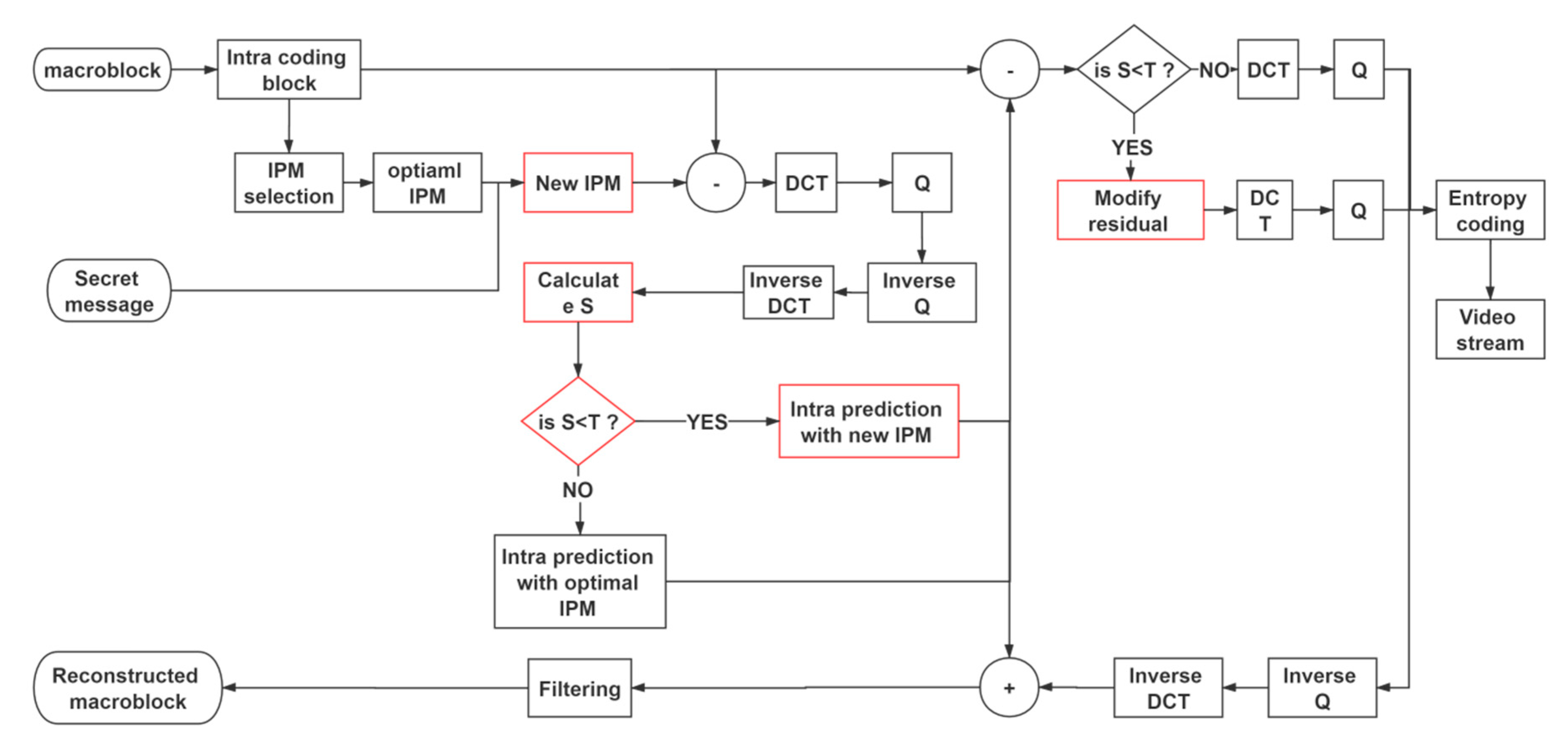
- The modification of an IPM may change the pixel values of the current block and adjacent blocks, which will lead to a change in the cost of the following blocks; in order to avoid this problem, a new secure video steganography based on a novel embedding strategy is proposed in this paper.
- Because not all the blocks are appropriated for embedding messages, cover selection rules are proposed in this paper; all the blocks are analyzed and only the qualified block is embedded during the intra-prediction encoding.
- In order to avoid detection by steganalysis, after modifying the IPM of the selected block, all the residual values of the same block are modified to maintain the optimality of the modified IPM.
2. Intra-Prediction Coding Scheme in H264
3. The Proposed Algorithm
3.1. The Influence of a Different Embedding Strategy
3.2. The Influence of Optimality of the IPM
4. Procedure of Embedding and Extraction
4.1. The Mapping Rule
4.2. Cover Selcection Rule
4.3. Procedure of Embedding
- One frame of the original video is read.
- Read one intra 4 × 4 block from the encoding frame.
- Firstly, assuming the coded intra 4 × 4 blocks are going to be embedded as one-bit messages, the modified IPM can be decided based on the cost information and mapping rule.
- Then, the sum of all absolute values of the inverse DCT transform residual matrix with the modified IPM is calculated before the modification.
- Decide whether this block is going to be embedded as a one-bit secret message or not. The embedding position is recorded and encrypted by a private key. If the block can meet the cover selection rule, then the IPM will be modified and all the residual values are modified.
- Repeat Step 2 until all the intra 4 × 4 blocks are processed.
4.4. Procedure of Extraction
- One frame of the original video is read.
- Read one intra 4 × 4 block from the encoding frame.
- The position of the embedding blocks is generated by private key, the message is extracted by mapping rule.
- Repeat Step 2 until all the secret messages are extracted.
5. Experimental Results
5.1. Threshold
5.2. Video Quality
5.3. Security
6. Conclusions
Author Contributions
Funding
Conflicts of Interest
References
- Johnson, N.F.; Jajodia, S. Exploring steganography: Seeing the unseen. Computer 1998, 31, 26–34. [Google Scholar] [CrossRef]
- Provos, N.; Honeyman, P. Hide and seek: An introduction to steganography. IEEE Secur. Priv. 2003, 1, 32–44. [Google Scholar] [CrossRef]
- Niu, K.; Li, J.; Yang, X.; Zhang, S.; Wang, B. Hybrid adaptive video steganography scheme under game model. IEEE Access 2019, 7, 61523–61533. [Google Scholar] [CrossRef]
- Aljarf, A.; Amin, S.; Al-Jarrah, M.M. Steganalysis System for Colour Steganographic Images Using Three Different Techniques. In Proceedings of the 2018 11th International Conference on Developments in eSystems Engineering (DeSE), Cambridge, UK, 2–5 September 2018; pp. 346–353. [Google Scholar]
- Saito, T.; Zhao, Q.; Naito, H. Second Level Steganalysis-Embeding Location Detection Using Machine Learning. In Proceedings of the 2019 IEEE 10th International Conference on Awareness Science and Technology (iCAST), Morioka, Japan, 23–25 October 2019; pp. 1–6. [Google Scholar]
- Xiang, Z.; Sang, J.; Zhang, Q.; Cai, B.; Xia, X.; Wu, W. A New Convolutional Neural Network-Based Steganalysis Method for Content-Adaptive Image Steganography in the Spatial Domain. IEEE Access 2020, 8, 47013–47020. [Google Scholar] [CrossRef]
- Zhang, L.; Hu, X.; Rasheed, W.; Huang, T.; Zhao, C. An Enhanced Steganographic Code and its Application in Voice-Over-IP Steganography. IEEE Access 2019, 7, 97187–97195. [Google Scholar] [CrossRef]
- Chen, X.; Wang, S.; Shi, C.; Wu, H.; Zhao, J.; Fu, J. Robust ship tracking via multi-view learning and sparse representation. J. Navig. 2019, 72, 176–192. [Google Scholar] [CrossRef]
- Duwinanto, M.R.; Munir, R. Steganographic-Algorithm and Length Estimation Classification on MP3 Steganalysis with Convolutional Neural Network. In Proceedings of the 2019 4th International Conference on Information Technology, Information Systems and Electrical Engineering (ICITISEE), Yogyakarta, Indonesia, 20–21 November 2019; pp. 210–215. [Google Scholar]
- Zhang, L.; Chen, D. The large capacity embedding algorithm for H.264/AVC intra-prediction mode video steganography based on linear block code over Z4. Multimed. Tools Appl. 2020, 79, 12659–12677. [Google Scholar] [CrossRef]
- Konyar, M.Z.; Akbulut, O.; Öztürk, S. Matrix encoding-based high-capacity and high-fidelity reversible data hiding in HEVC. Signal Image Video Process. 2020, 14, 897–905. [Google Scholar] [CrossRef]
- Zhu, B.; Ni, J. Uniform Embedding for Efficient Steganography of H.264 Video. In Proceedings of the 2018 25th IEEE International Conference on Image Processing (ICIP), Athens, Greece, 7–10 October 2018; pp. 1678–1682. [Google Scholar]
- Zhai, L.; Wang, L.; Ren, Y. Universal Detection of Video Steganography in Multiple Domains Based on the Consistency of Motion Vectors. IEEE Trans. Inf. Forensics Secur. 2020, 15, 1762–1777. [Google Scholar] [CrossRef]
- Lee, W.; Sun, W. Reversible Steganography Scheme Based on Position-Recording in DCT Coefficients. In Proceedings of the 2019 15th International Conference on Computational Intelligence and Security (CIS), Macao, Macao, 13–16 December 2019; pp. 424–428. [Google Scholar]
- Jmera, A.; Divecha, M.; Ghosh, S.S.; Raval, I.; Chaturvedi, R. Video Steganography: Using Scrambling– AES Encryption and DCT, DST Steganography. In Proceedings of the 2019 IEEE Pune Section International Conference (PuneCon), Pune, India, 18–20 December 2019; pp. 1–7. [Google Scholar]
- Kim, C.R.; Lee, S.H.; Lee, J.H.; Park, J. Blind decoding of image steganography using entropy model. Electron. Lett. 2018, 54, 626–628. [Google Scholar] [CrossRef]
- Filler, T.; Judas, J.; Fridrich, J. Minimizing additive distortion in steganography using syndrome-trellis codes. IEEE Trans. Inf. Forensics Secur. 2011, 6, 920–935. [Google Scholar] [CrossRef]
- Fridrich, J.; Kodovský, J. Multivariate gaussian model for designing additive distortion for steganography. In Proceedings of the 2013 IEEE International Conference on Acoustics, Speech and Signal Processing, Vancouver, BC, Canada, 26–31 May 2013; pp. 2949–2953. [Google Scholar]
- Hu, Y.; Zhang, C.; Su, Y. Information Hiding Based on Intra Prediction Modes for H.264/AVC. In Proceedings of the 2007 IEEE International C onference on Multimedia and Expo, Beijing, China, 2–5 July 2007; pp. 1231–1234. [Google Scholar]
- Yang, G.; Li, J.; He, Y.; Kang, Z. An information hiding algorithm based on intra-prediction modes and matrix coding for H.264/AVC video stream. AEU-Int. J. Electron. Commun. 2011, 65, 331–337. [Google Scholar] [CrossRef]
- Bouchama, S.; Hamami, L.; Aliane, H. H. 264/AVC data hiding based on intra prediction modes for real-time applications. Lect. Notes Eng. Comput. Sci. 2012, 1, 655–658. [Google Scholar]
- Zhang, L.; Zhao, X. An Adaptive Video Steganography Based on Intra-prediction Mode and Cost Assignment. In Proceedings of the Digital Forensics and Watermarking, Magdeburg, Germany, 23–25 August 2017; pp. 518–532. [Google Scholar]
- Nie, Q.; Xu, b.; Feng, B.; Zhang, L.Y. Defining embedding distortion for intra prediction mode-based video steganography. Comput. Mater. Contin. 2018, 55, 59. [Google Scholar] [CrossRef]
- Wiegand, T.; Sullivan, G.J.; Bjontegaard, G.; Luthra, A. Overview of the H.264/AVC video coding standard. IEEE Trans. Circuits Syst. Video Technol. 2003, 13, 560–576. [Google Scholar] [CrossRef]
- Yuv. Yuv Video Sequence. Available online: http://trace.eas.asu.edu/yuv/index (accessed on 21 August 2020).
- Seeling, P.; Reisslein, M. Video traffic characteristics of modern encoding standards: H.264/AVC with SVC and MVC extensions and H.265/HEVC. Sci. World J. 2014, 2014, 189481. [Google Scholar] [CrossRef] [PubMed]
- Seeling, P.; Reisslein, M. Video transport evaluation with H.264 video traces. IEEE Commun. Surv. Tutor. 2012, 14, 1142–1165. [Google Scholar] [CrossRef]
- Pulipaka, A.; Seeling, P.; Reisslein, M.; Karam, L.J. Traffic and statistical multiplexing characterization of 3-D video representation formats. IEEE Trans. Broadcasting 2013, 59, 382–389. [Google Scholar] [CrossRef][Green Version]
- Wang, J.; Jia, X.; Kang, X.; Shi, Y.Q. A cover selection HEVC video steganography based on intra prediction mode. IEEE Access 2019. [Google Scholar] [CrossRef]
- Zhao, Y.; Zhang, H.; Cao, Y.; Wang, P.; Zhao, X. Video Steganalysis Based on Intra Prediction Mode Calibration. In Proceedings of the Digital-Forensics and Watermarking, Beijing, China, 17–19 September 2016; pp. 119–133. [Google Scholar]





| Video Sequence | The Ratio of Optimal IPM Changing |
|---|---|
| akiyo.yuv | 15.57% |
| bridge-close.yuv | 18.90% |
| bridge-far_cif.yuv | 19.54% |
| bus_cif.yuv | 15.64% |
| coastguard_cif.yuv | 17.47% |
| container_cif.yuv | 12.96% |
| flower_cif.yuv | 10.66% |
| foreman_cif.yuv | 20.44% |
| hall_cif.yuv | 13.23% |
| highway_cif.yuv | 19.14% |
| Threshold | AR(Ploy) | AR(Linear) |
|---|---|---|
| 16 | 46.52% | 59.09% |
| 32 | 46.52% | 59.25% |
| 48 | 49.96% | 68.06% |
| 64 | 55.03% | 80.96% |
| 80 | 56.05% | 83.32% |
| 90 | 66.18% | 85.48% |
| PSNR (AVG) | T = 96 | T = 80 | T = 64 | T = 48 | T = 32 | T = 16 |
|---|---|---|---|---|---|---|
| Akiyo.yuv | 43.72 | 43.88 | 43.96 | 44.12 | 44.19 | 44.21 |
| Bridge-close.yuv | 33.8 | 33.76 | 33.8 | 33.75 | 33.87 | 33.87 |
| Bus.yuv | 28.24 | 28.26 | 28.29 | 28.27 | 28.27 | 28.30 |
| PSNR (IDR) | T = 96 | T = 80 | T = 64 | T = 48 | T = 32 | T = 16 |
|---|---|---|---|---|---|---|
| Akiyo.yuv | 40.71 | 41.77 | 41.93 | 42.46 | 42.66 | 42.66 |
| Bridge-close.yuv | 37.61 | 38.41 | 38.75 | 39.01 | 39.20 | 39.20 |
| Bus.yuv | 39.73 | 39.29 | 38.49 | 38.68 | 38.75 | 38.74 |
| PSNR | Bit Rate | No-E | Bouchama’s | Nie’s | Ours |
|---|---|---|---|---|---|
| Coastguard.yuv | 0.5 m | 28.14 | 28.03 | 28.06 | 28.00 |
| 1 m | 31.54 | 31.51 | 31.50 | 30.89 | |
| Mobile.yuv | 0.5 m | 29.01 | 28.83 | 28.86 | 28.76 |
| 1 m | 29.70 | 29.56 | 29.65 | 29.59 | |
| Waterfall.yuv | 0.5 m | 34.77 | 34.60 | 34.66 | 34.49 |
| 1 m | 37.95 | 37.82 | 37.90 | 37.86 |
| Bit Rate | Bouchama’s (payload 0.375) | Bouchama’s (payload 0.5) | Nie’s (payload 0.375) | Nie’s (payload 0.5) | Ours |
|---|---|---|---|---|---|
| 0.5 Mbit/s | 92.70% | 93.80% | 84.62% | 86.70% | 49.96% |
| 1.0 Mbit/s | 92.50% | 95.60% | 86.23% | 88.20% | 56.57% |
| QP | Ours | Wang’s |
|---|---|---|
| 22 | 55.32% | 90.85% |
| 27 | 50.63% | 80.37% |
| 32 | 63.16% | 59.93% |
| 37 | 56.56% | 56.03% |
© 2020 by the authors. Licensee MDPI, Basel, Switzerland. This article is an open access article distributed under the terms and conditions of the Creative Commons Attribution (CC BY) license (http://creativecommons.org/licenses/by/4.0/).
Share and Cite
Cao, M.; Tian, L.; Li, C. A Secure Video Steganography Based on the Intra-Prediction Mode (IPM) for H264. Sensors 2020, 20, 5242. https://doi.org/10.3390/s20185242
Cao M, Tian L, Li C. A Secure Video Steganography Based on the Intra-Prediction Mode (IPM) for H264. Sensors. 2020; 20(18):5242. https://doi.org/10.3390/s20185242
Chicago/Turabian StyleCao, Mingyuan, Lihua Tian, and Chen Li. 2020. "A Secure Video Steganography Based on the Intra-Prediction Mode (IPM) for H264" Sensors 20, no. 18: 5242. https://doi.org/10.3390/s20185242
APA StyleCao, M., Tian, L., & Li, C. (2020). A Secure Video Steganography Based on the Intra-Prediction Mode (IPM) for H264. Sensors, 20(18), 5242. https://doi.org/10.3390/s20185242
