Modernization of the Mechanical Fuel System of a Diesel Locomotive Engine through Physical and Numerical Modeling †
Abstract
:1. Introduction
2. Research Object and Problem Statement
3. Mathematical Modeling Results
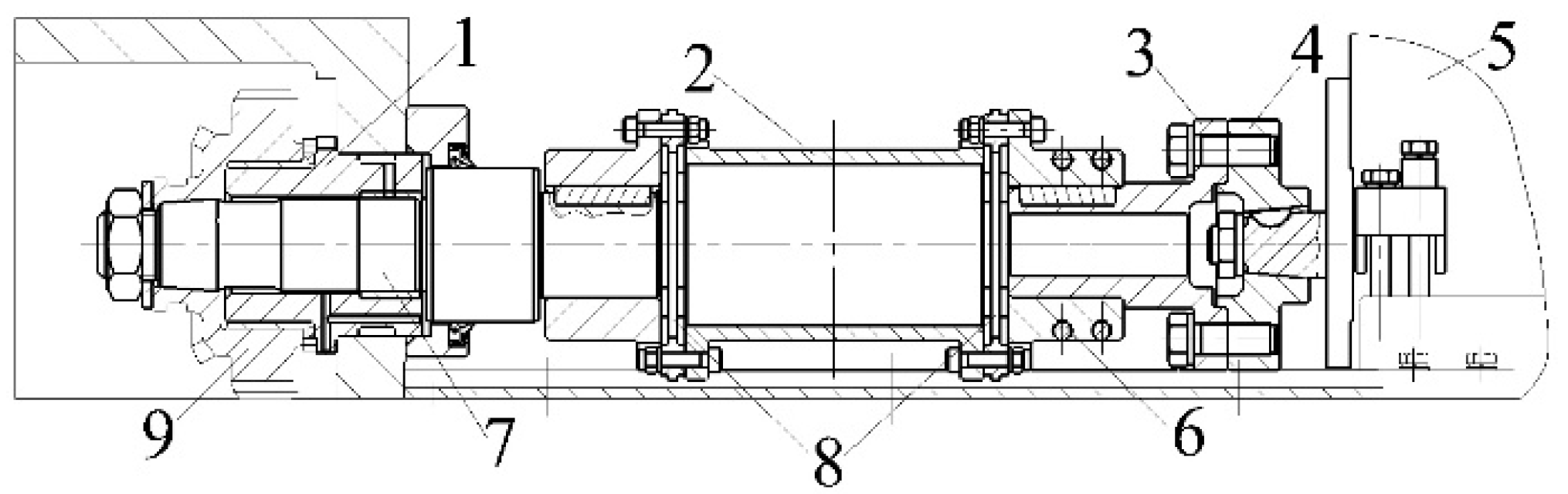
4. Modernizing the High-Pressure Fuel Pump and Its Drive
5. The Fuel Injection Advance Angle and the Pump Plunger
6. Conclusions
- (1)
- Increasing the fuel injection pressure is an effective method for compensating for Miller losses and reducing smoke.
- (2)
- A mathematical model of the operating cycle of a diesel locomotive engine was created in the Diesel-RK program; the influence of the geometric parameters of the nozzle atomizer (number of holes and diameter) on the technical, economic and environmental performance of the diesel engine was shown; and on the basis of a numerical experiment, the influence of the fuel injection advance angle on the characteristics of a diesel engine was evaluated; thus, the configurations of spray nozzles for experimental studies of an ICE (21/21) were determined.
- (3)
- An increase in fuel injection pressure from 70 MPa to 100 MPa by using a HPFP with modernized plunger pairs and a basic design of the pump drive has a negative effect on the efficiency of the fuel system and diesel engine due to the appearance of additional vibrations in the shaft line.
- (4)
- The lowest rate of specific effective fuel consumption (211.4 g/(kW·h)) is achieved when the fuel injection advance angle ranges from 24° to 34° to TDC.
- (5)
- An increase in the fuel injection advance angle causes a gradual increase in NOx emissions, regardless of the diesel engine operating mode.
- (6)
- NOx emissions are within acceptable limits (according to ISO-8178 requirements) for fuel injection advance angles ranging from 24° to 34° to TDC for all of the diesel engine’s operating modes.
- (7)
- One effective method for obtaining a nonlinear algorithm to change the fuel injection advance angle is to correct the shape of the HPFP plunger’s cut-off edge.
- (8)
- The modernization of the fuel system makes it possible to reduce specific fuel consumption by almost 3% and NOx emissions by almost 30% in comparison with a basic ICE.
Author Contributions
Funding
Institutional Review Board Statement
Informed Consent Statement
Data Availability Statement
Conflicts of Interest
Nomenclature
| ICE | Internal combustion engines; |
| TDC | Top dead center; |
| HPFP | High-pressure fuel pump; |
| NOx | Amount of nitrogen oxide emissions in the exhaust gases, g/(kW·h); |
| SMH | Smoke point of the exhaust gases on the Hartridge scale; |
| A | Rotation angle of the pump camshaft, deg.; |
| φinj | Fuel injection advance angles, deg.; |
| Ne | Effective engine power, kW; |
| ge | Specific effective fuel consumption, g/(kW·h); |
| N | Crankshaft rotation speed, rpm; |
| n’ | Camshaft rotation frequency of the high-pressure pump, rpm; |
| ntc | Turbocharger rotor speed, rpm; |
| pmax | Maximum cycle pressure, MPa; |
| J | Number of holes in the diesel injector nozzle, pcs.; |
| d | Diameter of holes in the nozzle of the diesel injector, mm. |
References
- Reitz, R.D.; Ogawa, H.; Payri, R.; Fansler, T.; Kokjohn, S.; Moriyoshi, Y.; Agarwal, A.K.; Arcoumanis, D.; Assanis, D.; Bae, C.; et al. IJER editorial: The future of the internal combustion engine. Int. J. Engine Res. 2020, 21, 3–10. [Google Scholar] [CrossRef] [Green Version]
- Mollenhauer, K.; Tschöke, H. Handbook of Diesel Engines; Springer Science & Business Media: London, UK, 2010; 636p. [Google Scholar]
- Pham, V.V.; Cao, D.T. A brief review of technology solutions on fuel injection system of diesel engine to increase the power and reduce environmental pollution. J. Mech. Eng. Res. Dev. 2019, 42, 1–9. [Google Scholar]
- Agarwal, A.K.; Srivastava, D.K.; Dhar, A.; Maurya, R.K.; Shukla, P.C.; Singh, A.P. Effect of fuel injection timing and pressure on combustion, emissions and performance characteristics of a single cylinder diesel engine. Fuel 2013, 111, 374–383. [Google Scholar] [CrossRef]
- Kazemi Seresht, S.; Mohammadi, A. Liquid fuel distribution in the combustion chamber by jet impingement on small cylindrical obstacles. Fuel 2021, 304, 121387. [Google Scholar] [CrossRef]
- Sener, R.; Gul, M.Z. Optimization of the combustion chamber geometry and injection parameters on a light-duty diesel engine for emission minimization using multi-objective genetic algorithm. Fuel 2021, 304, 121379. [Google Scholar] [CrossRef]
- Kim, H.J.; Park, S.H.; Lee, C.S. Impact of fuel spray angles and injection timing on the combustion and emission characteristics of a high-speed diesel engine. Energy 2016, 107, 572–579. [Google Scholar] [CrossRef]
- Mohiuddin, K.; Kwon, H.; Choi, M.; Park, S. Experimental investigation on the effect of injector hole number on engine performance and particle number emissions in a light-duty diesel engine. Int. J. Engine Res. 2021, 22, 2689–2708. [Google Scholar] [CrossRef]
- Xu, L.; Bai, X.-S.; Jia, M.; Qian, Y.; Qiao, X.; Lu, X. Experimental and modeling study of liquid fuel injection and combustion in diesel engines with a common rail injection system. Appl. Energy 2018, 230, 287–304. [Google Scholar] [CrossRef]
- Macian, V.; Payri, R.; Ruiz, S.; Bardi, M.; Plazas, A.H. Experimental study of the relationship between injection rate shape and Diesel ignition using a novel piezo-actuated direct-acting injector. Appl. Energy 2014, 118, 100–113. [Google Scholar] [CrossRef]
- Choi, M.; Mohiuddin, K.; Kim, N.; Park, S. Investigation of the effects of EGR rate, injection strategy and nozzle specification on engine performances and emissions of a single cylinder heavy duty diesel engine using the two color method. Appl. Therm. Eng. 2021, 193, 117036. [Google Scholar] [CrossRef]
- Kiplimo, R.; Tomita, E.; Kawahara, N.; Yokobe, S. Effects of spray impingement, injection parameters, and EGR on the combustion and emission characteristics of a PCCI diesel engine. Appl. Therm. Eng. 2012, 37, 165–175. [Google Scholar] [CrossRef]
- Agarwal, A.K.; Singh, A.P.; Kumar, V. Particulate characteristics of low-temperature combustion (PCCI and RCCI) strategies in single cylinder research engine for developing sustainable and cleaner transportation solution. Environ. Pollut. 2021, 284, 117375. [Google Scholar] [CrossRef] [PubMed]
- Jafari, B.; Seddiq, M.; Mirsalim, S.M. Assessment of the impacts of combustion chamber bowl geometry and injection timing on a reactivity controlled compression ignition engine at low and high load conditions. Int. J. Engine Res. 2021, 22, 2852–2868. [Google Scholar] [CrossRef]
- Jain, A.; Krishnasamy, A.; Pradeep, V. Computational optimization of reactivity controlled compression ignition combustion to achieve high efficiency and clean combustion. Int. J. Engine Res. 2021, 22, 2213–2232. [Google Scholar] [CrossRef]
- Ferrari, A.; Mittica, A. Response of different injector typologies to dwell time variations and a hydraulic analysis of closely-coupled and continuous rate shaping injection schedules. Appl. Energy 2016, 169, 899–911. [Google Scholar] [CrossRef]
- Torregrosa, A.J.; Broatch, A.; Margot, X.; Gomez-Soriano, J. Understanding the unsteady pressure field inside combustion chambers of compression-ignited engines using a computational fluid dynamics approach. Int. J. Engine Res. 2020, 21, 1273–1285. [Google Scholar] [CrossRef]
- Hu, L.; Yang, J.; Yu, Y.; Dong, F. Analysis and optimisation of thermo-mechanical coupling load of cylinder head considering fluid-structure interaction for a marine high-power diesel engine. Energies 2020, 13, 3597. [Google Scholar]
- Sener, R.; Yangaz, M.U.; Gul, M.Z. Effects of injection strategy and combustion chamber modification on a single-cylinder diesel engine. Fuel 2020, 266, 117122. [Google Scholar] [CrossRef]
- Serrano, J.; Jimenez-Espadafor, F.J.; Lopez, A. Prediction of hydrogen-heavy fuel combustion process with water addition in an adapted low speed two stroke diesel engine: Performance improvement. Appl. Therm. Eng. 2021, 195, 117250. [Google Scholar] [CrossRef]
- Zhou, L.; Liang, Y. Study of the Combustion Process inside an Ethanol-Diesel Dual Direct Injection Engine Based on a Non-Uniform Injection Approach. Fluid Dyn. Mater. Process. 2021, 17, 159–170. [Google Scholar] [CrossRef]
- Liu, J.; Guo, Q.; Guo, J.; Wang, F. Optimization of a diesel/natural gas dual fuel engine under different diesel substitution ratios. Fuel 2021, 305, 121522. [Google Scholar] [CrossRef]
- Dai, X.; Singh, S.; Krishnan, S.R.; Srinivasan, K.K. Numerical study of combustion characteristics and emissions of a diesel–methane dual-fuel engine for a wide range of injection timings. Int. J. Engine Res. 2020, 21, 781–793. [Google Scholar] [CrossRef]
- Xu, C.C.; Cho, H.M. Investigation of engine internal combustion to reduce exhaust emission: A review. Int. J. Mech. Prod. Eng. Res. Dev. 2019, 9, 395–408. [Google Scholar]
- Han, D.; Zhai, J.; Duan, Y.; Wang, C.; Huang, Z. Nozzle effects on the injection characteristics of diesel and gasoline blends on a common rail system. Energy 2018, 153, 223–230. [Google Scholar] [CrossRef]
- Anufriev, I.S.; Alekseenko, S.V.; Sharypov, O.V.; Kopyev, E.P. Diesel fuel combustion in a direct-flow evaporative burner with superheated steam supply. Fuel 2019, 254, 115723. [Google Scholar] [CrossRef]
- Wang, K.; Zhao, C.; Cai, Y. Effect of Intake Air Humidification and EGR on Combustion and Emission Characteristics of Marine Diesel Engine at Advanced Injection Timing. J. Therm. Sci. 2021, 30, 1174–1186. [Google Scholar] [CrossRef]
- Kukharonak, H.; Klesso, M.; Predko, A.; Telyuk, D.; Vovk, Y.; Lyashuk, O. Organization of the Six-Cylinder Tractor Diesel Working Process. Int. J. Integr. Eng. 2021, 13, 217–225. [Google Scholar] [CrossRef]
- Mourad, M.; Mahmoud, K.R.M.; NourEldeen, E.-S.H. Improving diesel engine performance and emissions characteristics fuelled with biodiesel. Fuel 2021, 302, 121097. [Google Scholar] [CrossRef]
- Plotnikov, L.; Brodov, Y.; Grigoriev, N. Improving the Environmental Performance of the Diesel Engine (21/21) by Upgrading the Fuel Supply System. Lect. Notes Civ. Eng. 2022, 190, 56–63. [Google Scholar]
- Plotnikov, L.V.; Bernasconi, S.; Jacoby, P. Improvement of Environmental Characteristics of Diesel Locomotive Engine with Turbocharging by Changing Valve Timing (Based on Miller Cycle). Lect. Notes Mech. Eng. 2020, 549–558. [Google Scholar] [CrossRef]
- Plotnikov, L.V. Evaluation of Gas-Dynamic Parameters of Flows in the Gas–Air System of a Turbocharged Diesel Engine During the Implementation of the Miller’s Cycle. Lect. Notes Mech. Eng. 2021, 548–556. [Google Scholar] [CrossRef]
- Agarwal, A.K.; Dhar, A.; Gautam, A.; Pandey, A. Locomotives and Rail Road Transportation; Springer: Singapore, 2017; 245p. [Google Scholar]
- Safieddin Ardebili, S.M.; Solmaz, H.; Calam, A.; İpci, D. Modelling of performance, emission, and combustion of an HCCI engine fueled with fusel oil-diethylether fuel blends as a renewable fuel. Fuel 2021, 290, 120017. [Google Scholar] [CrossRef]
- Rabeti, M.; Ranjbar, A.A.; Jahanian, O.; Safieddin Ardebili, S.M.; Solmaz, H. Investigation of important semi-empirical heat transfer models for a natural gas-fueled HCCI engine. Energy Rep. 2021, 7, 8652–8666. [Google Scholar]
- Mahla, S.K.; Safieddin Ardebili, S.M.; Sharma, H.; Dhir, A.; Goga, G.; Solmaz, H. Determination and utilization of optimal diesel/n-butanol/biogas derivation for small utility dual fuel diesel engine. Fuel 2021, 289, 119913. [Google Scholar] [CrossRef]
- Kuleshov, A.S. Model for predicting air-fuel mixing, combustion and emissions in di diesel engines over whole operating range. SAE Tech. Pap. 2005, 1, 2119. [Google Scholar] [CrossRef]
- Kuleshov, A.S. Multi-Zone DI Diesel Spray Combustion Model for Thermodynamic Simulation of Engine with PCCI and High EGR Level. SAE Tech. Pap. 2009, 1, 1965. [Google Scholar] [CrossRef] [Green Version]
- Parthasarathy, M.; Lalvani, J.I.J.R.; Prakash, E.; Jayaraj, S.; Annamalai, K. Experimental investigation on combustion and emission characteristics of modified piston in an IDI diesel engine fueled with ethyl alcohol. Adv. Mater. Res. 2014, 984–985, 873–877. [Google Scholar]
- Elumalai, P.V.; Nambiraj, M.; Parthasarathy, M.; Balasubramanian, D.; Hariharan, V.; Jayakar, J. Experimental investigation to reduce environmental pollutants using biofuel nano-water emulsion in thermal barrier coated engine. Fuel 2021, 285, 119200. [Google Scholar] [CrossRef]
- Elumalai, P.V.; Balasubramanian, D.; Parthasarathy, M.; Pradeepkumar, A.R.; Mohamed Iqbal, S.; Jayakar, J.; Nambiraj, M. An experimental study on harmful pollution reduction technique in low heat rejection engine fuelled with blends of pre-heated linseed oil and nano additive. J. Clean. Prod. 2021, 283, 124617. [Google Scholar] [CrossRef]
- Merker, G.P.; Schwarz, C.; Stiesch, G.; Otto, F. Simulating Combustion; Springer: Berlin/Heidelberg, Germany, 2006; 401p. [Google Scholar]
- Gimeno, J.; Martí-Aldaraví, P.; Carreres, M.; Peraza, J.E. Effect of the nozzle holder on injected fuel temperature for experimental test rigs and its influence on diesel sprays. Int. J. Engine Res. 2018, 19, 374–389. [Google Scholar] [CrossRef]
- Damkohler, G. Der Einfluß der Turbulenz auf die Flammengeschwindigkeit in Gasgemischen. Z. F. Elektrochem. Angew. Phys. Chem. 1940, 46, 601–652. [Google Scholar]
- Zhao, J.; Liu, W.; Zhao, J.; Grekhov, L. Numerical investigation of gas/liquid two-phase flow in nozzle holes considering the fuel compressibility. Int. J. Heat Mass Transf. 2020, 147, 118991. [Google Scholar] [CrossRef]














| Parameter Name | Type or Value |
|---|---|
| Rated power, kW | 1200 |
| Rated crankshaft rotation speed, rpm | 1400 |
| Compression ratio | 13 |
| Cylinder diameter, mm | 210 |
| Piston stroke, mm | 210 |
| Number of cylinders, pcs. | 8 |
| Arrangement of cylinders | V-shaped |
| Cycle | Four-stroke (Miller cycle) |
| Fuel system | Mechanical |
| Injection pressure, MPa | 70 |
| Fuel injection advance angle, deg. | 33–35 |
| Injection timing, deg. | 40 |
| Parameter Name | Maximum Error of Measurement or Calculation of a Parameter |
|---|---|
| Rotation frequency, rpm | ±1.0% |
| Engine torque on the power take-off shaft, N·m | ±1.5% |
| Braking power, kW | ±2.5% |
| Barometric pressure, kPa | ±0.5% |
| Inlet relative humidity, % | ±5.0% |
| Fuel consumption, kg/s (kg/h) | ±1.0% |
| Air consumption, kg/s (kg/h) | ±5.0% |
| Charge in air temperature behind the cooler, K | ±4 K |
| Air temperature at the turbocharger inlet, K | ±2 K |
| Coolant temperature at the inlet to the charge air cooler, K | ±4 K |
| Exhaust gas temperature behind the turbine, K | ±20 K |
| Water temperature at the engine outlet, K | ±4 K |
| Water temperature at the engine inlet, K | ±4 K |
| Lubricating oil temperature at the engine inlet and outlet, K | ±2 K |
| Discharge back pressure, kPa | ±5.0% |
| Air pressure at the turbocharger inlet, kPa | ±1.5% |
| Charge air pressure, kPa | ±2.0% |
| Lubricating oil pressure, MPa | ±5.0% |
| Concentration of nitrogen oxides NOx; reduced to NO2, ppm | ±10.0% |
| Concentration of carbon monoxide CO, ppm | ±5.0% |
| CH hydrocarbon concentration, ppm | ±5.0% |
| No. | Work Cycle | Spray Nozzle Configuration | ge, g/kW·h | pmax, MPa | NOx Emission, g/kW·h | Smoke |
|---|---|---|---|---|---|---|
| 1 | Basic cycle | 8 × 0.35 × 145° | 217.8 | 15.4 | 19.4 | 0.87 |
| 2 | Miller cycle | 8 × 0.35 × 145° | 212.9 | 14.5 | 14.2 | 1.74 |
| 3 | Miller cycle | 9 × 0.31 × 153° | 215.1 | 14.9 | 9.8 | 3.44 |
| No. | Work Cycle | Spray Nozzle Configuration | ge, g/kW·h | pmax, MPa | NOx Emission, g/kW·h | Smoke |
|---|---|---|---|---|---|---|
| 1 | Basic cycle | 8 × 0.35 × 145° | 217.3 | 15.8 | 19.3 | 0.83 |
| 2 | Miller cycle | 8 × 0.35 × 145° | 212.1 | 14.0 | 13.9 | 1.66 |
| 3 | Miller cycle | 9 × 0.31 × 153° | 211.4 | 14.8 | 8.8 | 1.34 |
Publisher’s Note: MDPI stays neutral with regard to jurisdictional claims in published maps and institutional affiliations. |
© 2021 by the authors. Licensee MDPI, Basel, Switzerland. This article is an open access article distributed under the terms and conditions of the Creative Commons Attribution (CC BY) license (https://creativecommons.org/licenses/by/4.0/).
Share and Cite
Plotnikov, L.; Grigoriev, N. Modernization of the Mechanical Fuel System of a Diesel Locomotive Engine through Physical and Numerical Modeling. Energies 2021, 14, 8554. https://doi.org/10.3390/en14248554
Plotnikov L, Grigoriev N. Modernization of the Mechanical Fuel System of a Diesel Locomotive Engine through Physical and Numerical Modeling. Energies. 2021; 14(24):8554. https://doi.org/10.3390/en14248554
Chicago/Turabian StylePlotnikov, Leonid, and Nikita Grigoriev. 2021. "Modernization of the Mechanical Fuel System of a Diesel Locomotive Engine through Physical and Numerical Modeling" Energies 14, no. 24: 8554. https://doi.org/10.3390/en14248554
APA StylePlotnikov, L., & Grigoriev, N. (2021). Modernization of the Mechanical Fuel System of a Diesel Locomotive Engine through Physical and Numerical Modeling. Energies, 14(24), 8554. https://doi.org/10.3390/en14248554

