Abstract
This study explores the impact of clean energy and non-renewable energy consumption on CO2 emissions and economic growth within two phases (formative and expansion) of renewable energy diffusion for three selected countries (France, Spain, and Sweden). The vector autoregression (VAR) model is estimated on the basis of annual data disaggregated into quarterly data. The Granger causality results reveal distinctive differences in the causality patterns across countries and two phases of renewables diffusion. Clean energy consumption contributes to a decline of emissions more clearly in the expansion phase in France and Spain. However, this effect seems to be counteracted by the increases in emissions due to economic growth and non-renewable energy consumption. Therefore, clean energy consumption has not yet led to a decoupling of economic growth from emissions in France and Spain; in contrast, the findings for Sweden evidence such a decoupling due to the neutrality between economic growth and emissions. Generally, the findings show that despite the enormous growth of renewables and active mitigation policies, CO2 emissions have not substantially decreased in selected countries or globally. Focused and coordinated policy action, not only at the EU level but also globally, is urgently needed to overhaul existing fossil-fuel economies into low-carbon economies and ultimately meet the relevant climate targets.
1. Introduction
Global warming and climate change have been the most serious environmental problems facing human society since the mid-20th century [1]. As the main contributors to these changes are greenhouse gas emissions, primarily CO2 emissions, from the burning of fossil fuels, countries around the world have focused on how to reduce these dirty energy sources. However, global actions taken to abate carbon emissions have not been fully successful. The first agreements on climate change, like the Kyoto Protocol and the Copenhagen Climate Change Conference (COP15), were unsuccessful because the decisions made therein had no binding force among the relevant parties. The most recent climate conferences, COP21 (the Paris Agreement in 2015) and COP22 (UNFCCC at Marrakech 2016), have binding force. Their goal is to promote actions to limit global warming to well below 2, and preferably 1.5, degrees Celsius by 2050, compared to pre-industrial levels. In this situation, there is a need for urgent global actions, which climate researchers have been promoting for many years [2,3]. In response, the latest agreement (December, 2020) among EU leaders involves setting an ambitious target to cut greenhouse gas emissions by 55% compared to the 1990 levels by 2030 [4]. Without the necessary involvement of leaders and policymakers, energy-related emissions will more than double [5], and it will become impossible to stop the adverse consequences of environmental pollution (rising global temperatures, rising sea levels, air pollution, food scarcity, hurricanes, droughts, extreme heat waves, etc.).
On the other hand, the close link between carbon emissions and economic growth makes the feasibility of a successful global climate strategy very challenging and even conflicting, as both developed and developing economies want to maintain their economic growth at sustainable rates. However, the vast body of economic literature [6,7,8,9,10] indicates that it is possible to reconcile a low-carbon strategy with economic growth. It is, therefore, not surprising that many researchers are looking for evidence that economic growth can be decoupled from emissions, i.e., where economies grow but emissions stabilize or decrease [6,9,11,12,13,14,15].
Environmental policy analysts commonly assume that the development of clean energy sources, both nuclear and renewable energy (hydro, solar, wind, biomass, and geothermal), will contribute to the decoupling of economic growth from carbon emissions [16,17,18] and provide solutions to the problem of climate change and energy security [19,20,21,22,23]. Indeed, the contribution of clean energy sources to the mitigation of GHG emissions is substantial. Over the past 50 years, nuclear power plants have contributed to a significant decrease in the amount of GHG emissions produced by the electricity sector in the Organization for Economic Cooperation and Development (OECD) countries. Over the period of 1970–2015, nuclear power avoided around 68 gigatonnes of CO2 emissions in total, which is almost equal to the entire actual emissions from the power sector over 2010–2015 [24]. However, the position of nuclear energy as a low carbon emission energy source may be negated by the danger of nuclear incidents (such as Chernobyl and Fokushima incidents) and the adverse environmental impacts of radioactive wastes [25]. This enormous risk linked to nuclear energy has already led some countries to replace nuclear with renewable energy, using gas as a backup (e.g., Germany has decided to phase out nuclear power plants by 2022, and Spain plans to do the same by 2030).
As a result of phasing out nuclear power plants and the need to meet climate targets, renewable energy in the power sector has been registering unprecedented rates of growth since the last decade. In 2019, over 27% of global electricity came from renewables, up from 19% in 2010 [26]. This remarkable rise is attributed largely to continued declines in cost for green technologies. However, the share of renewable energy in heating and cooling (10.1%) and transport (3.3%) in 2019 was alarmingly low, which is related to the ongoing dependence on fossil fuels and the lack of policy support for renewables in these sectors [26]. Despite growing faster than fossil fuels and nuclear energy, renewables accounted for less than a third of the total increase in final energy demands in 2019 [26]. This indicates that the global share of renewable energy is only slightly increasing. Therefore, the question whether renewable energy development can decouple economic growth from CO2 emissions remains to be answered empirically; this question is what our study addresses.
The term ‘decoupling’ refers to renewable energy having a countereffect on emissions such that emissions will stabilize or decline due to the rise in renewable energy production, even though economic growth has a positive effect on emissions [12,27]. Hence, ‘decoupling’ is a multicausal process with some factors spurring emissions, such as economic growth and fossil fuel energy sources, and other factors suppressing emissions, such as renewable and nuclear energy production. The potential stabilization or decline of emissions may be the result of this process. Moreover, this interaction between various factors affecting emissions may differ depending on the two phases of renewable energy diffusion, which usually are distinguished according to the product or industry life cycles, i.e., a formative phase and an expansion phase, which differ in terms of their technical changes, patterns of entry/exit, and the market growth rates [28,29,30].
The purpose of this study is to explore the dynamic interrelationship between economic growth and CO2 emissions, highlighting the important impact of both clean energy consumption (renewable and nuclear energy) and non-renewable energy sources (coal, oil, and gas) in the context of three selected European countries (France, Spain, and Sweden) that exhibit high economic development and have been leaders in the implementation of green energy in Europe. Our study contributes to the literature in several ways. First, it empirically examines the impact of various sources of energy (renewable, nuclear, and non-renewable) on CO2 emissions and economic growth within two phases of renewable energy diffusion (the formative and expansion phases). This is a novelty of our research, as, to the best of our knowledge, none of the previous studies have considered potentially different causal patterns of the abovementioned relationship depending on the phases of renewable energy diffusion using time series data. To realize this goal, the time series data have been converted from an annual to quarterly frequency to avoid the sample size problem. Then, to evaluate the impact of disaggregated energy sources on CO2 emissions and economic growth, the time series approach (the VAR model) incorporating causality analysis is used, as well the impulse response function for each country separately, while most studies focus on a group of countries using panel models whose underlying fundamental homogeneity assumptions have been called into question [31]. Second, we explore whether renewable and nuclear energy consumption decouples economic growth from carbon emissions and whether the evidence for decoupling (if any) is more noticeable in the evolution phase than in the formative phase of renewable diffusion, which might be expected after the dramatic rise in renewable energy sources during the last twenty years. This result will offer useful and relevant information for policy makers about the impact of disaggregated energy consumption (or its optimal mix) for sustained economic growth in the countries under study and assess how possible it is to meet the climate change targets. Third, we inspect whether renewables have the tendency to replace nuclear power instead of fossil fuels [27,32], especially in the expansion phase of renewable diffusion.
The rest of the paper is organized as follows. Section 2 reviews the literature. Section 3 provides a description of the data and methodology applied in this study. Section 4 studies the empirical results, including the Granger causality and impulse response function based on the estimated VAR models in the context of both the formative and expansion phases of renewable energy diffusion for each country under study. Finally, Section 5 provides the conclusions.
2. Review of the Literature
With the increasing awareness of climate change and global warming, a large number of studies have emerged to examine the relationship between energy consumption, economic growth, and pollutant emissions [33,34,35,36,37,38]. However, the findings provided by these studies are diverse and inconclusive with regard to the direction of causality. This has led to mixed conclusions and multiple policy implications, mainly due to the differences of the countries and their levels of economic development, time periods, econometric approaches, and model specifications [38].
In the last few decades, scholars have started paying attention to clean energy development and its role both in reducing carbon dioxide emissions and in achieving sustainable economic growth [39,40,41,42,43,44,45,46]. This new trend in the literature involves two aspects, one focusing on the impact of clean energy on the reduction of carbon dioxide emissions and the other examining the influence of clean energy to promote economic growth.
In the first context, some studies [39,41,44] found evidence that nuclear energy can reduce carbon emissions, while others [20,21] detected the opposite, i.e., insignificant contributions of nuclear energy to mitigate carbon emissions but a negative and significant association between renewable energy consumption and carbon emissions. This finding has also been confirmed by other researchers [42,46,47,48]. In contrast, the authors of the papers [39,40,49,50,51,52] noted that renewable energy is not significantly effective at mitigating emissions, mainly because of the lack of storage technology; as a result, there are difficulties in guaranteeing a continuous supply effectively due to the immaturity of the renewable energy sector together with the low share of renewables in the total energy production [51].
In the second context, the development of clean energy may boost economic growth (the promotion theory) or hinder economic growth (the inhibition theory) [53]. To detect the direction of causality between these two variables, four hypotheses were considered: the growth hypothesis, conservation hypothesis, feedback hypothesis, and neutrality hypothesis. Many studies that use nuclear energy [54,55] or renewable energy [42,45] as a proxy for clean energy have found support for the growth hypothesis, which indicates that investing in clean energy construction fosters economic growth through the generation of new businesses and employment opportunities, as well the import substitution of energy [56,57]. In turn, other researchers have shown that renewable energy consumption increases as a result of economic growth, which is consistent with the conservation hypothesis [39,58,59]. Other findings support the feedback hypothesis, indicating that clean energy consumption and economic activity are interdependent and complement each other [40,60]. Finally, some studies have confirmed the neutrality hypothesis, which may result from the immaturity of the clean energy market [39,61,62] or indicate that the economy grows independently of the development of renewable energy.
While the effect of overall energy consumption (and particularly clean energy) on pollutant emissions and economic growth has been widely examined, studies investigating the impact of disaggregated energy consumption, i.e., both renewable and non-renewable energy consumption on both variables, have not been conducted as extensively [47,48,63,64,65]. Such an approach can provide a better understanding of the energy–emissions–economic growth nexus. Moreover, the share of non-renewable energy consumption in total final energy consumption, in industry, agriculture, transport, and buildings is still overwhelming (85.5%, 96.7%, and 86.4%, respectively [26]), while the share of renewables in overall energy consumption has not increased considerably and in 2019 accounted for 27% of global electricity, even though the renewable energy sector has witnessed tremendous growth [26]. Therefore, in this paper, the effect of both energy sources, renewable and non-renewable energy consumption, on pollutant emissions and economic growth is investigated.
Notably, the findings from the literature on the effects of clean energy consumption (renewable and nuclear) on both carbon emissions and economic growth are mixed and depend on the method used, the country coverage, and the time periods. Moreover, most studies consider the impact of clean energy consumption on emissions and economic growth using a linear model with few exceptions [66,67,68,69]. For instance, the authors in [67] used the panel threshold regression method and found that the impact of renewable energy consumption on economic activity depends on the amount of renewable energy used, i.e., this impact is positive and significant only for countries surpassing a certain threshold of renewables. For future research, all these studies recommend the use of a methodology that can examine the potential asymmetrical linkages between clean energy, emissions, and economic growth. In this paper, the linear model is applied, while the above recommendation is realized in a different way—by considering the energy–emissions–economic growth nexus within two phases of renewable energy diffusion, i.e., the formative and expansion phases [70].
3. Data and Methodology
3.1. Data Description
Our study examines the relationship between CO2 emissions, disaggregated energy consumption (renewable, nuclear, and non-renewable), and GDP growth rate for three countries: France, Spain, and Sweden. These countries have registered high levels of renewable energy since the mid-1970s, making it possible to distinguish the formative and expansion phases of renewable energy diffusion; simultaneously, these countries have a high share of nuclear energy in their total electricity generation, which enables us to assess not only their impact on CO2 emissions but also how both clean energy sources interact with each other. Annual data (for the period of 1965–2019) for carbon dioxide emissions (CO2) in millions of tonnes, renewable (RES) and nuclear (NUC) energy consumption (in millions of tonnes of oil equivalent, mtoe), and non-renewable energy consumption (NRES, in mtoe) were collected from the BP Energy Outlook 2020 database. The renewable energy consumption includes solar, wind, geothermal, biofuels, and waste electric power consumption, while non-renewables include energy consumption from the burning of fossil fuels (coal, oil, and gas). The growth rate of the GDP (in 2015 U.S. dollars) is taken from the OECD database. All data for the energy sources and CO2 emissions are expressed per capita using population data from the OECD database.
Figure 1 shows that all countries exhibited similar patterns of clean energy evolution, i.e., since the end of the 1970s, there has been a substantial increase in their nuclear energy consumption, along with an increase in renewable energy consumption since 2000. It is symptomatic that increases in RES consumption are accompanied by decreases in nuclear energy, which suggests that renewables have a tendency to squeeze out nuclear energy. The evolution of non-renewable energy consumption differs among the countries under study—e.g., France and Sweden show continuing decreases in NRES since the mid-1970s, but Spain has shown a decrease only since the 2000s. Further, carbon dioxide emissions have declined in France and Sweden as the nuclear power plants began operation and commercial service at the end of the 1980s, while the decline of CO2 emissions in Spain did not emerge until 2005 since the large-scale deployment of renewables and decrease in primary energy consumption due to improvements in energy efficiency. Moreover, CO2 emissions and the GDP growth rate seem to be coupled in France and especially in Spain, while in Sweden, a steady decrease of emissions has been accompanied by the stable growth rate of the GDP (except during the 2008 financial crisis), which suggests that the decoupling of economic growth from CO2 emissions has occurred.
Figure 1.
Energy consumption per capita (RES, NUC, NRES), CO2 emissions, and GDP growth rates in France (a1,b1), Spain (a2,b2), and Sweden (a3,b3) over the period of 1965Q1–2019Q4; (a1–a3) energy consumption per capita from renewables, nuclear, and non-renewable energy sources (in tonnes of oil equivalent, toe) in France, Spain, and Sweden, respectively; (b1–b3) CO2 emissions (in tonnes of carbon dioxide per capita) and the GDP growth rate (in 2015 U.S. dollars).
The share of energy from renewable sources in the gross final energy consumption is still growing (Table 1) in the countries under study and generally in the EU (18% in 2018). While Sweden is the unquestionable leader (54.6%), France and Spain are only 5.4 and 2.6 pp away from their targets respectively. To reach at least a 32% share of renewable energy in the EU by 2030, it is urgent to intensify efforts both among member states and at the EU level; moreover, the growth of the renewable energy share seems to have slowed down in the last years (Table 1). This slower growth in renewable energy can be the result of phasing out subsidies for renewable energy production in the EU countries by replacing mandatory feed-in tariffs to an auction process in which all green energy operators compete equally for government funds. Consequently, renewable energy projects become less attractive investments, as investors keep contract prices down in order to win the bids [71]. However, despite the impressive increase in renewable energy usage, progress in reducing carbon dioxide emissions has been too slow to achieve global climate targets.
Table 1.
Share of energy from renewable sources as a % of gross final energy consumption.
Table 2 shows that the generation of electricity and heat, together with transport, accounted for about 60–70% of the total emissions in the countries under study in 2017. While renewables have grown rapidly in the power sector, in heating and transport far fewer advances have occurred due to insufficient policy support and slow developments in new technologies [26]. Especially, transport remains the sector with the lowest share of renewable energy (mainly biofuels). Moreover, gains in energy efficiency and growth in biofuels and electric vehicles are offset by rising energy demands in transport, which result in oil and petroleum products producing pollutant emissions [26].
Table 2.
CO2 emissions by sector in 2017 (in million tonnes of CO2, mt).
3.2. Methodology
To investigate the impact of clean energy consumption (renewable and nuclear) and non-renewable energy consumption on carbon emissions and economic growth, the vector autoregression model of order p, VAR(p) is considered [72]:
where Yt is the (n × 1) vector of endogenous variables, c is a constant, i – (n × n) is the matrix of the autoregressive coefficients for i = 1, 2, …, p, and εt is an (n × 1) vector of error terms with a zero mean and the variance–covariance matrix Ω.
In this paper, a five-variable VAR model for each country under study is used. Therefore, the vector of endogenous variables includes Yt′ = [CO2, RES, NUC, NRES, GDP], where CO2 is the carbon dioxide emissions in tonnes per capita, GDP is the growth rate of the gross domestic product (in constant 2015 U.S. dollars), RES is the renewable energy consumption in tonnes of oil equivalent (toe) per capita, NUC is the nuclear energy consumption in toe per capita, and NRES is non-renewable energy consumption in toe per capita.
Using the VAR model, it is possible to examine the interactions among all endogenous variables capturing the complex dynamic linkages in economies and to estimate the impact and effects of shocks in each variable on both that variable and other variables. In the context of our study, this means that shocks in renewable and nuclear energy consumption may affect CO2 emissions directly or indirectly through other variables such as the GDP growth rate and non-renewable energy consumption.
Further, all data have been converted to quarterly observations by means of the Denton‒Cholette method [73] in the Eviews software to take advantage of a larger number of observations when estimating the VAR model within both phases of renewable energy diffusion (formative and expansion) for each country under study.
A significant step in the study was to determine the point in time that separates the formative phase from the expansion phase of renewable energy diffusion. There are two main approaches for this step known in the literature. The first approach is based on determining the share of electricity production from renewable energy sources in total electricity production. The second approach involves using statistical tests for the structural breaks [30,70]. As there is no clearly defined way to determine the take-off time in the literature, our study uses both approaches, which were additionally combined with a graphical analysis of changes in the evolution of renewable energy and the results of testing the statistical properties of the residuals in the VAR models for both phases.
To detect the end of the formative phase and the beginning of the expansion phase, we determined the cumulative changes in renewable energy consumption and measured ‘the beginning of the movement’ by the take-off year when renewables reached 1% of the electricity market, which might signal the end of the formative phase [30,70]. Simultaneously, we combined this process with seeking the time point when the changes in renewable energy became visible on charts through slope changes in the trend line.
In the case of France, we established 2004 as the take-off year; although renewables overtook 1% of the electricity market only in 2006, the change in the slope trend appeared earlier. This change corresponds to the moment when France adopted its Climate Plan (in 2004) to meet the targets of the Kyoto Protocol, but changes in regulations aimed at supporting the development of renewable energy sources in electricity generation had been underway since 2000. However, renewable energy development has been reported as ‘large’ and ‘very quick’ since 2007 [74,75]. Before the 2000s, nuclear energy was highly accepted as a stable energy provider, although France introduced a feed-in system to support renewable energy development as early as 2000. In 2012, the new government made important decisions with implications for the energy transition process, i.e. to reduce the share of nuclear power in electricity generation to 50% by 2025 (later extended to 2035), shut down the country’s oldest nuclear station (the first step has been taken only in 2020 when a gradual shutdown of Fessenheim plant has begun), and rely more on renewable energy sources to close the energy gap and help fight climate change [76]. Though France has started the first in a series of closures, the country will not altogether abandon its reliance on nuclear power (more than 70% of the country’s electricity generation). Moreover, the French Nuclear Energy Society (SFEN) has reported that France’s energy security by 2050 is at risk if the country’s electricity system is to rely only on the large-scale deployment of renewable energies as well as on technologies still under development [77].
In the case of Spain, 1994 was a breakthrough year, although a 1% share of renewables was registered only in 1997. Nevertheless, this result is consistent with the political, economic, and socio-technical changes that started to take place in Spain in the mid-1980s. Prior to 1994, the Spanish wind-power sector remained relatively stagnant, although the first grid-connected wind farm was installed already by 1984 in Spain. The clear targets and incentives for renewable energy production and investments were introduced and defined after the approval of a new National Energy Plan in 1991. After the necessary conditions for a stable regulatory framework were solidified, a manufacturing giant, Gamesa Eólica, emerged in the mid-1990s, and Spain became the EU’s second largest producer of wind energy behind Germany in the early 2000s [78]. However, solar energy development has soared since 2006 as a result of changes in legislation, which made large photovoltaic installations very profitable.
Sweden reached a 1% share of renewables in its total electricity market as early as 1982, but the slope change in the trend emerged in 1996. This coincides with the decision of the Swedish Parliament in 1995 to accept a liberalization reform aimed at introducing an investment support scheme for wind and biopower, which led to opening the Nordic electricity exchange (this immediately resulted in market concentration, with three major producers—Vattenfall, Fortum, and Sydkaft). However, the liberalization of the energy market led to decreasing electricity prices, and as a result, the new support schemes spurred few investments in renewables. These were mainly bioenergy projects, which are especially significant in district heating. Moreover, in 1995, Sweden became a full member of the EU and, therefore, was obliged to meet the EU’s targets with regard to renewable energy investments and production [75]. Before, the 1990s hydropower and nuclear power were important items in the Swedish energy mix. However, a political willingness to promote alternative and new renewable energy sources emerged after the public contestation of nuclear power (in an advisory referendum in 1980).
Based on the estimated VAR model, the Granger causality test (the Wald test statistic) and the likelihood ratio (LR) test are performed, and the generalized impulse response function (GIRF) is applied within two phases of renewable energy diffusion for each country considered. GIRF, conditional on shock () and history () takes the following form [79]:
The GIRF function is the difference between two conditional expectations of yt+h with a single exogenous shock, h is the forecast horizon. While the Granger causality test allows to examine the significance of the direct impact of a given variable on another variable, the LR test enables to test the significance of a given variable under consideration for the VAR system as a whole. In turn, the GIRF analysis [79] allows one to trace out the dynamic response of one variable to one standard deviation shock in the equation of another variable. Unlike the orthogonalized impulse response function (IRF), the generalized IRF of Pesaran and Shin (1998) is not sensitive to the ordering of variables in the VAR system.
4. Empirical Results
All variables were tested for the unit roots (ADF-GLS test) (see Table A1 in the Appendix A). The results in Table A1 indicate that all variables appear to be integrated in the first order, I(1). Therefore, when estimating the VAR model, the variables expressed as the first differences were used. In selecting the lag order of the VAR model, a combination of different criteria (AIC, BIC, and LR) and diagnostic testing [80] were used. If the chosen lag order did not pass some diagnostic tests, we increased the order of lag until the diagnostic test showed better results. Furthermore, we tested the reliability of VAR models by applying some diagnostics tests, i.e., tests of autocorrelation, normality, and heteroscedasticity. Generally, we found no evidence of a serious violation of the above tests (see Appendix A Table A2, Table A3 and Table A4), except for a lack of normality due to excess kurtosis, which is not as serious for estimation results as a lack of symmetry in residual distribution [72], but the latter is not violated in our VAR models.
4.1. Granger Causality
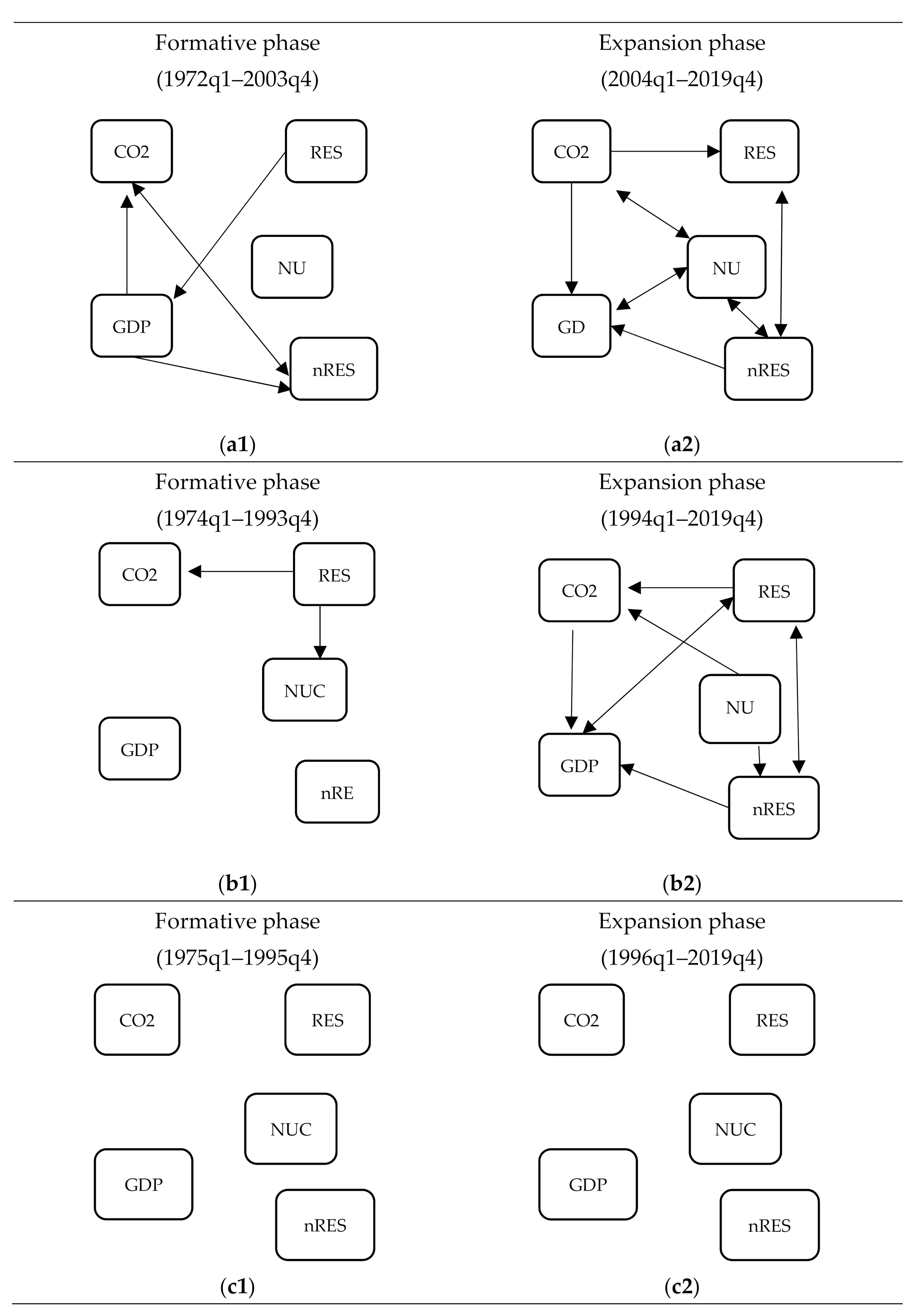
In general, the results of the causality test reveal substantial differences in causality patterns across the countries and phases (formative and expansion) of renewable energy diffusion (except for Sweden). First, renewable energy consumption Granger-causes CO2 emissions in both phases of RES diffusion only in Spain, although the impact of RES is significant for the system in France (see Table A5 in Appendix A). Second, in the formative phase, other energy sources (NUC and NRES) do not significantly impact CO2 emissions, except in France, where bi-directional causality between emissions and non-renewable energy (NRES) is observed. In the expansion phase, the impact of nuclear energy (NUC) on CO2 emissions is significant (except in Sweden); this relationship is unidirectional (NUC → CO2) in Spain and bidirectional (NUC ↔ CO2) in France. Although the NRES does not directly affect emissions, this influence can be indirectly exerted through other variables in the system, as the influence of NRES is significant for the system (Scheme 1 and Table A5 in Appendix A). These findings indicate that the interrelation between carbon emissions and non-renewable energy sources (oil, gas, and coal) is even stronger in the expansion phase than in the formative one. This result provides evidence for the lack of progress in the decarbonization of the fuel mix in France and Spain, even though the expansion phase of renewable energy diffusion falls under the period with the strongest-ever mitigation polices both in these countries and around the world [1].
Scheme 1.
Granger causality patterns among variables (CO2, RES, NUC, NRES, and GDP) in France (a1,a2), Spain (b1,b2), and Sweden (c1,c2) according to phases of renewable energy development (a1,b1,c1) formative phase; (a2,b2,c2) expansion phase.
Third, in the formative phase, the GDP Granger-causes CO2 emissions and non-renewable energy consumption (NRES) in France, suggesting that energy conservation policies aimed at reducing non-renewable energy consumption may not have an adverse effect on economic growth. However, in the case of Spain and Sweden, the neutrality between the GDP and energy consumption (RES, NUC, and NRES) and CO2 emissions implies that the increases in energy production do not affect the GDP directly in the short-term. However, this observation does not decrease the importance of different energy sources in the process of economic development, as production requires the employment of different kinds of inputs (natural resources, capital, labor forces, and energy) in the long-term.
However, in the expansion phase, reverse causality running from CO2 emissions and non-renewable energy consumption (NRES) to GDP in France and Spain is observed, which supports the growth hypothesis, whereby the conservation policies reducing the non-renewable energy consumption hinder economic growth. This finding indicates that progress towards a fossil fuel phase out is still insufficient and that there is continuing reliance on low-cost fossil fuels. This also indicates insufficient governmental action and inadequate policies to phase out fossil fuels. However, in the expansion phase in Sweden, there is still no causal relationship between CO2 emissions and energy consumption (RES, NUC, and NRES) and GDP that supports the neutrality between renewable, nuclear, and non-renewable energy consumption and carbon emissions and economic growth in the short-term. This neutrality between variables means that conservation policies aimed at energy efficiency, renewable energy, and—notably—CO2 taxation have been realized without harmful effects to the economy, which, in turn, helped drive the energy transformation and decarbonization across economic sectors in Sweden [81].
Finally, only the renewable energy (RES) in France has a significant impact on the GDP in the formative phase, which might indicate that an increase in renewable energy consumption fosters economic growth, while in the expansion phase, the impact of the consumption of different energy sources is much more marked (noticeable)—e.g., in the case of Spain, there is bi-directional causality between GDP and RES, suggesting that GDP and RES are interrelated and complement each other; in the case of both France and Spain, there is unidirectional causality running from NRES to GDP, instead indicating energy-led growth and remaining heavy dependence on fossil fuels in both countries. Additionally, in the case of France, a significant bi-directional causal relationship between GDP and NUC was found, which suggests interdependence between nuclear energy consumption and economic growth.
4.2. Impulse Response Functions
To complement the causality analysis, we apply impulse response functions to trace the dynamic response of one variable in the system to shocks in another variable.
When interpreting the generalized impulse–response functions, we mainly focused on examining the effects of energy consumption (RES, NUC, and NRES) on CO2 emissions and GDP growth, as well as the effects of GDP growth on CO2 emissions, and vice versa. Figure 2, Figure 3 and Figure 4 represent the generalized impulse response functions of CO2 emissions and GDP in both the formative and expansion phases of renewable energy diffusion in France, Spain, and Sweden. Figure A1, Figure A2 and Figure A3 represent the responses of RES, NUC, and NRES to shocks in another variable and are presented in the Appendix A.
Figure 2.
Responses of CO2 emissions and GDP to shocks in another variables in formative and expansion phases in France.
Figure 3.
Responses of CO2 emissions and GDP to shocks in another variables in formative and expansion phases in Spain.
Figure 4.
Responses of CO2 emissions and GDP to shocks in other variables in the formative and expansion phases in Sweden.
Despite the fact that CO2 emissions and GDP growth respond somewhat differently in each of the countries, some similar patterns of impulse response functions are observed. Overall, CO2 emissions respond negatively to shocks in the RES in all countries, but the decline in emissions is significant only in Spain (both phases). While in the formative phase, the shock in RES has an immediate negative impact on CO2 emissions in France, and in Spain there is a dip in the fourth period followed by a peak in the seventh period. This negative impact persists for several periods before dying. Due to the shock in NUC, the response of CO2 emissions is negative in all countries and significant only in Spain and France in the expansion phase of RES diffusion. However, the negative response of emissions is immediate just after the shock in NUC only in Spain (both phases) and France (formative phase). In the expansion phase, the response is initially positive, but after four periods in the case of Sweden and two periods in the case of France, it becomes negative. After that, the impacts of the shock in NUC start to quickly die in all countries. These responses of CO2 emissions to shocks in RES and NUC indicate that both renewable and nuclear energy consumption contribute to a reduction of emissions; however, these effects quickly wear off. Additionally, this impact of RES and NUC might be offset by a high consumption of non-renewable energy. This is seen in the response of CO2 emissions due to shocks in NRES, which is positive in both the formative and expansion phases in all countries (Figure 2 and Figure 3 and Table A2, Table A3 and Table A4).
When it comes to the effects of shocks in NRES, the CO2 emissions react positively in all countries and in both phases of RES diffusion, but this response is found to be significant only in France and Spain (see Table A2, Table A3 and Table A5 in Appendix A). This pattern of carbon emission responses, together with the unidirectional causal link from GDP to CO2 emissions in France, are consistent with the conservation hypothesis, assuming that the reduction of CO2 emissions does not hinder economic growth. However, in the expansion phase of RES diffusion, the direction of causality reversed into unidirectional causality running from CO2 emissions to the GDP and from NRES to GDP, not only in France but also in Spain. As a result, the positive responses of the GDP due to shocks in CO2 emissions and NRES reveal an opposite phenomenon, i.e., where the economies are still strongly energy-dependent, and non-renewable energy is an important driver of economic growth, which boosts CO2 emissions. Despite the expansion of renewable energy in all countries and its certain impact on a reduction in CO2 emissions, the increase in emissions due to economic growth still seems to be much greater.
When it comes to the effect of a shock in RES, the responses of GDP due to changes in RES are positive in all countries in the formative phase and in Sweden in the expansion phase but significant only in the case of France in the formative phase. However, in the expansion phase, the response of GDP due to a shock in RES is initially negative and only after several periods becomes positive (in France after twelve periods and in Spain after eight periods). These findings indicate that an increase in renewable energy consumption fosters economic growth in the formative phase, and in the expansion phase, it tends to promote economic growth, albeit with a delay. This initial decrease of GDP due to a shock in RES in the expansion phase may be explained by the GDP bearing some burdens of subsidizing the green energy infrastructure in Spain and France for many years; a positive influence of renewables on economic growth can be observed only with a delay.
Due to the shock in NUC, the response of the GDP in the formative phase is initially negative and becomes positive after four periods in France and three periods in Spain, while in Sweden, the impact of a shock in NUC is positive. It is symptomatic that all GDP responses due to a shock in NUC in the formative phase are insignificant. However, in the expansion phase, the shock in NUC has a positive impact on the GDP in France and Spain but is significant only in France. After that, these positive effects quickly die. These findings indicate that nuclear energy consumption stimulates economic growth in the expansion phase in France and Spain. Moreover, in the case of France, economic growth also positively impacts nuclear energy consumption, as GDP and NUC are interdependent (Figure A1—responses of NUC). However, in Sweden, there is almost no response of the GDP to a shock in NUC in the expansion phase, which indicates the neutrality hypothesis for NUC, meaning that both GDP and NUC can develop independently.
Finally, we consider the crowding out hypothesis, which means that the nuclear energy and renewable energy installations show a tendency toward mutual exclusion, i.e., that each creates path dependencies that crowd out the others. It is seen from Figure A1, Figure A2 and Figure A3 (in Appendix A) that responses of NUC to shocks in RES, and vice versa, are negative in France (both phases), Spain (formative phase), and Sweden (expansion phase), which might indicate a confirmation of the crowding out hypothesis, especially in the formative phase, as the negative association between NUC and RES seems to be more evident. However, the causality running from RES to NUC is significant only in the case of Spain (formative phase). Nevertheless, these diverging nuclear and renewable pathways may reflect different technological, political, and social factors, such as greater construction costs, greater delays, and longer lead times for nuclear than renewable energy projects; moreover, the tightening of regulatory requirements for both operational and under-construction nuclear reactors may lead to significant price increases for ongoing projects and the danger of nuclear accidents and waste facilities, resulting in a lack of social acceptance [32].
5. Discussion and Conclusions
The purpose of this study was to examine the impact of disaggregated energy consumption, i.e., clean energy (renewable and nuclear energy) and non-renewable energy (oil, gas, and coal) on CO2 emissions and economic growth within different phases of renewable energy diffusion for three selected European countries (France, Spain, and Sweden). The empirical findings indicate that there are distinctive differences in causality patterns across the countries and two phases of renewable energy diffusion (except in Sweden). In the formative phase, both renewable energy (RES) and nuclear energy consumption (NUC) contribute to the reduction of CO2 emissions, but this effect quickly wears off. Moreover, the impact of RES on emissions is significant only in Spain, while the influence of NUC on emissions is insignificant for each country. In turn, in the expansion phase in France, a significant effect of NUC on the mitigation of emissions has been revealed, while in Spain, both renewable and nuclear energy consumption are found to contribute to the abatement of CO2 emissions, but the response of the emissions is not immediate. These results indicate that RES and NUC do contribute to a decline in CO2 emissions. However, this effect seems to be offset, as the reaction of emissions due to shocks in non-renewable energy consumption (NRES) is clearly positive. Interestingly, in the expansion phase, this effect is shown to be even stronger than that in the formative phase. Considering the fact that the expansion phase of RES diffusion falls under the period with the strongest-ever mitigation policies, the above findings are evidence for the lack of progress in the decarbonization of the fuel mix in France and Spain.
Furthermore, in the formative phase, the existence of a causal relationship running from GDP to CO2 emissions and non-renewable energy consumption in France alongside the lack of causality between GDP and different energy sources (RES, NUC, NRES), as well as between GDP and CO2 emissions in Spain and Sweden, suggest that energy conservation policies can be persuasive without adversely affecting the economy. In contrast, in the expansion phase, reverse causality running from CO2 emissions and non-renewable energy consumption to GDP is observed in France and Spain, which supports the growth hypothesis that the conservation policies focused on mitigating non-renewable energy consumption may hinder economic growth. These findings demonstrate that increases in emissions due to economic growth are still much greater than the decreases in emissions due to the development of clean energy (renewable and nuclear). Consequently, renewable and nuclear energy consumption does not lead to a decoupling of economic growth from CO2 emissions in France and Spain. Importantly, these findings indicate the still-insufficient progress towards a reduction of non-renewable energy consumption and call for crucial changes in legislation aimed at reducing emissions and intensive activities at global scale that must go far beyond boosting renewable energy production and consumption alone.
In contrast, the findings of neutrality between energy consumption (RES, NUC, and NRES) and carbon emissions and economic growth in Sweden suggest that the economy can expand independently of changes in energy consumption and that emissions are less sensitive to variations in GDP. This highlights that conservation policies aimed at reducing emissions have not hindered economic growth. Therefore, these findings can be treated as evidence of decoupling economic growth from carbon emissions. Such progress in decarbonization in Sweden was possible due to the widespread use of low-carbon technologies, including an effective energy transition policy that was well-integrated with climate goals. Therefore, Sweden can be considered to be on a leading-edge path because of its small CO2 emissions and relatively high economic growth.
Moreover, our results show that nuclear and renewables attachments tend to crowd each other out in the countries under study. However, this tendency is significant only in Spain in the formative phase. Nevertheless, this negative association between renewables and nuclear energy may be primarily attributed to the lack of social acceptance for nuclear reactors due to the danger of nuclear accidents and nuclear waste storage, as well as their adverse effects on the environment. As a consequence, some countries decided to phase nuclear power out—e.g., in Spain by 2030 and in Germany by 2022. There is also growing resistance to nuclear power in France, but in Sweden, in 2019, public opinion changed again in favor of nuclear power, while after the Fukushima nuclear disaster in 2011, there was no support for nuclear power.
Despite the enormous growth in renewable energy production and use alongside large improvements in energy efficiency and actively realized mitigation policies in the last two decades, CO2 emissions have not substantially decreased in countries under study or around the world (in 2019, global CO2 emissions remained stable, BP data). Even though the demand for renewable energy has grown three times faster than the demand for fossil fuels and nuclear energy during 2015–2019, it amounted to less than one third of the total increase in final energy demand [26]. This demonstrates that progress in renewables is still not fast enough to compete with the ever-growing energy demand, which is then satisfied by fossil fuel energy. As a result, the world is still far from being on track to meet the global climate and sustain development goals. To achieve the rapid reduction in emissions needed to avert the worst effects of global warming, not only policy makers but also market regulators, utility companies, corporate energy buyers, environmental activists, and each business and individual must focus relentlessly on decreasing the amount of CO2 emissions emitted per unit of electricity [26,82]. Therefore, the major and immediate transformation of societies and economies is required, including (alongside continued support for the uptake of renewables [26]), increased energy efficiency [83] and making it mandatory to decrease energy demands [26]. The larger power of energy efficiency as a contributor to global emissions reductions can be seen in the example of lighting in the U.S., where, in 2017, the installation of 1 billion LED and CFL lights avoided 142 million tons per year of CO2 emissions (at a cost of about $7 per ton of avoided CO2 emissions) in contrast to 8 million tons per year of CO2 emissions avoided due to the cumulative capacity of rooftop solar installations at a cost of $360 per ton of avoided CO2 emissions [82]. Another action that should be taken in parallel is to accelerate the phase out of fossil fuels, especially in transport and heating where the share of renewables is rather small at 3% and 10%, respectively [26]. Governments should take an offensive position to remove fossil fuel subsidies and introduce fossil fuel bans across all sectors. The EU emissions trading scheme can be a significant contributor to this goal by setting a price for releasing carbon dioxide high enough to discourage fossil fuel use, e.g., in 2019, the price of €25 for coal-fired electricity made this high-emissions option less profitable in many European countries than other options like natural gas and/or renewable energy.
In 2020, as a result of the COVID-19 health crisis, the EU energy sector witnessed a fall in energy demand and supply; hence, carbon emissions are expected to decrease by between 4% and 7% compared to 2019 [26,84]. However, such an emissions decrease is not enough to meet the relevant climate goals. To reach the goal of limiting the average temperature rise to 2 degrees C, a decline in emissions of at least 7% annually over the next decade would be necessary [26]. This would involve huge investments in renewable energy and electric cars (more than 50% of passenger cars ought to be electric in 2030 if the world is to be on a path toward carbon neutrality) and innovations in new technologies like hydrogen and CCS (carbon capture and storage) [85]. Therefore, to avoid returning to the pre-COVID-19 crisis energy consumption and carbon emissions levels, structural shifts to overhaul existing fossil-fuel-based economies into low-carbon economies are urgently needed. For that purpose, focused and coordinated policy action is crucial, not only at the Member State and EU level but also globally.
Author Contributions
Dataset preparation and literature review, A.G. and M.P.; formal analysis and methodology, M.P. and A.G.; conceptualization, supervision, and project administration, M.P.; writing—original draft, revision and editing, M.P. and A.G. All authors have read and agreed to the published version of the manuscript.
Funding
This research received no external funding.
Institutional Review Board Statement
Not applicable.
Informed Consent Statement
Not applicable.
Data Availability Statement
The data presented in this study are openly available in Zenodo repository, reference number: https://zenodo.org/record/4495544#.YBm5R-hKjIU.
Conflicts of Interest
The authors declare no conflict of interest.
Appendix A
Table A1.
Unit root test results (ADF-GLS).
Table A1.
Unit root test results (ADF-GLS).
| Country | Variables | Full Sample | Formative Phase | Expansion Phase | ||||||
|---|---|---|---|---|---|---|---|---|---|---|
| Levels | Diff | Decision | Levels | Diff | Decision | Levels | Diff | Decision | ||
| France | CO2 | −2.476 | −2.787 * | I(1) | −1.975 (c+t) | −3.411 (c+t) ** | I(1) | −1.41 (c+t) | −2.565 (c) ** | I(1) |
| RES | −0.561 | −1.710 | I(1) | −0.791 (c+t) | −3.436 (c+t) ** | I(1) | −1.052 (c+t) | −1.962 (c) ** | I(1) | |
| NUC | −1.301 | −1.515 | I(1) | −1.219 (c+t) | −1.756 (c) * | I(1) | −1.266 (c+t) | −3.466 (c) *** | I(1) | |
| NRES | 0.354 | −1.884 * | I(1) | −2.167 (c+t) | −3.908 (c+t) *** | I(1) | −1.472 (c+t) | −2.592 (c) ** | I(1) | |
| GDP | −1.896 | −2.689 * | I(1) | −2.172 (c+t) | −2.377 (c+t) | I(1) | −1.632 (c+t) | −3.255 (c+t) ** | I(1) | |
| Spain | CO2 | −0.829 (c+t) | −3.631 (c) *** | I(1) | −1.267 (c+t) | −3.253 (c) *** | I(1) | −0.929 (c+t) | −3.103 (c+t) ** | I(1) |
| RES | −0.833 (c+t) | −2.37 (c) ** | I(1) | −1.303 (c+t) | −2.932 (c) *** | I(1) | −1.528 (c+t) | −1.959 (c) ** | I(1) | |
| NUC | −2.299 (c+t) | −2.367 (c) ** | I(1) | −1.958 (c+t) | −1.800 (c) * | I(1) | −1.692 (c+t) | −1.764 (c) * | I(1) | |
| NRES | −1.002 (c+t) | −2.819 (c) *** | I(1) | −1.403 (c+t) | −2.514 (c) ** | 1(1) | −1.03 (c+t) | −1.671 (c) * | I(1) | |
| GDP | −3.396 (c) *** | −2.679 (c) *** | I(1) | −1.12 (c+t) | −2.18 (c) ** | I(1) | −1.791 (c+t) | −2.862 (c) *** | I(1) | |
| Sweden | CO2 | −2.442 (c+t) | −2.976 (c+t) ** | I(1) | −2.001 (c+t) | −2.435 (c) ** | I(1) | −0.955 (c+t) | −4.472 (c) *** | I(1) |
| RES | −1.192 (c+t) | −3.911 (c+t) *** | I(1) | −1.267 (c+t) | −2.387 (c) ** | I(1) | −0.38 (c+t) | −4.453 (c+t) *** | I(1) | |
| NUC | −0.412 (c+t) | −3.066 (c) *** | I(1) | −1.159 (c+t) | −3.036 (c) *** | I(1) | −1.511 (c+t) | −2.759 (c) *** | I(1) | |
| NRES | −3.345 (c+t) ** | −3.21 (c+t) ** | I(0) | −1.927 (c+t) | −2.521 (c) ** | I(1) | −0.95 (c+t) | −4.374 (c) *** | I(1) | |
| GDP | −3.016 (c+t) ** | −2.153 | I(0) | −2.383 (c+t) | −2.821 (c+t) * | I(1) | −1.19 (c+t) | −5.467 (c) *** | I(1) | |
Note: ***, **, * significance at levels 1%, 5%, and 10%, respectively.
Table A2.
Granger causality test results and residual diagnostics—France.
Table A2.
Granger causality test results and residual diagnostics—France.
| Dependent Variables | Formative Phase | Expansion Phase | ||||||||
|---|---|---|---|---|---|---|---|---|---|---|
| Causes | ||||||||||
| CO2 | RES | NUC | NRES | GDP | CO2 | RES | NUC | NRES | GDP | |
| CO2 | - | 10.49 * | 4.38 | 16.67 *** | 12.34 ** | - | 1.27 | 8.11 ** | 2.39 | 2.88 |
| RES | 9.55 | - | 0.85 | 8.01 | 4.10 | 8.25 ** | - | 1.71 | 6.28 * | 1.61 |
| NUC | 9.13 | 3.97 | - | 5.27 | 2.47 | 7.18 * | 3.35 | - | 7.58 * | 7.15 * |
| N-RES | 11.74 * | 7.31 | 2.36 | - | 10.7 * | 3.42 | 0.77 | 7.57 * | - | 2.45 |
| GDP | 0.49 | 23.37 *** | 6.67 | 3.65 | - | 7.14 * | 5.35 | 10.37 ** | 6.62 * | - |
| Residual Diagnostics | ||||||||||
| JB test: | 13.84 *** | 43.6 *** | 19.9 *** | 8.03 ** | 8.23 ** | 1.65 | 1.29 | 0.81 | 3.3 | 1.66 |
| Skewness (Chi-sq) | 0.65 | 0.99 | 2.49 | 1.42 | 0.20 | 0.9 | 5.05 ** | 0.006 | 10.9 *** | 2.62 |
| Kurtosis (Chi-sq) | 13.19 *** | 42.6 *** | 17.4 *** | 6.6 ** | 8.03 *** | 2.55 | 6.34 ** | 0.82 | 14.2 *** | 4.28 |
| LM test For 2 lag | 27.42 | 37.58 | ||||||||
Note: ***, **, * significance at levels 1%, 5%, and 10%, respectively.
Table A3.
Granger causality test results and residual diagnostics—Spain.
Table A3.
Granger causality test results and residual diagnostics—Spain.
| Dependent Variables | Formative Phase | Expansion Phase | ||||||||
|---|---|---|---|---|---|---|---|---|---|---|
| Causes | ||||||||||
| CO2 | RES | NUC | NRES | GDP | CO2 | RES | NUC | NRES | GDP | |
| CO2 | - | 0.506 | 1.045 | 2.872 | 0.78 | - | 3.388 | 0.704 | 0.128 | 6.111 *** |
| RES | 4.347 * | - | 7.527 ** | 3.229 | 2.175 | 12.78 *** | - | 1.581 | 15.19 *** | 5.998 ** |
| NUC | 2.947 | 0.79 | - | 2.115 | 2.55 | 6.642 ** | 0.118 | - | 4.291 * | 0.75 |
| N-RES | 3.028 | 0.409 | 1.096 | - | 0.806 | 0.599 | 4.659 * | 0.762 | - | 6.157 ** |
| GDP | 1.863 | 0.655 | 0.791 | 1.715 | - | 0.179 | 17.13 *** | 0.859 | 0.056 | - |
| Residual Diagnostics | ||||||||||
| JB test | 4.309 | 1.102 | 4.347 | 2.499 | 10.13 *** | 5.745 | 6.641 ** | 4.616 | 36.20 *** | 30.02 *** |
| Skewness (Chi-sq) | 0.021 | 0.608 | 3.426 | 0.671 | 0.012 | 0.011 | 3.227 | 0.592 | 1.797 | 0.418 |
| Kurtosis (Chi-sq) | 4.289 ** | 0.493 | 0.922 | 1.828 | 10.11 *** | 5.73 ** | 3.414 | 4.024 ** | 34.41 *** | 29.6 *** |
| LM test (for 2 lag) | 0.249 | 0.644 | ||||||||
Note: ***, **, * significance at levels 1%, 5%, and 10%, respectively.
Table A4.
Granger causality test results and residual diagnostics—Sweden.
Table A4.
Granger causality test results and residual diagnostics—Sweden.
| Dependent Variables | Formative Phase | Expansion Phase | ||||||||
|---|---|---|---|---|---|---|---|---|---|---|
| Causes | ||||||||||
| CO2 | RES | NUC | NRES | GDP | CO2 | RES | NUC | NRES | GDP | |
| CO2 | - | 1.069 | 0.053 | 1.602 | 2.821 | - | 0.42 | 3.114 | 1.57 | 0.339 |
| RES | 0.810 | - | 0.050 | 1.001 | 0.682 | 0.004 | - | 0.549 | 0.041 | 0.160 |
| NUC | 0.444 | 1.808 | - | 0.368 | 2.130 | 1.505 | 0.681 | - | 1.195 | 0.144 |
| N-RES | 0.821 | 1.098 | 0.049 | - | 3.056 | 2.249 | 0.224 | 2.988 | - | 0.149 |
| GDP | 1.339 | 0.468 | 0.385 | 1.728 | - | 0.082 | 1.578 | 0.825 | 0.148 | - |
| Residual Diagnostics | ||||||||||
| JB test | 21.01 *** | 19.14 *** | 5.71 * | 2.161 | 22.57 *** | 0.999 | 19.71 *** | 24.42 *** | 0.771 | 39.06 *** |
| Skewness (Chi-sq) | 3.056 | 0.994 | 2.011 | 0.675 | 1.309 | 0.001 | 2.462 | 0.101 | 0.285 | 2.847 * |
| Kurtosis (Chi-sq) | 17.96 *** | 18.15 *** | 3.699 * | 1.486 | 21.26 *** | 0.998 | 17.25 *** | 24.31 *** | 0.486 | 36.21 *** |
| LM test (for 2 lag) | 0.321 | 0.326 | ||||||||
Note: ***, **, * significance at levels 1%, 5%, and 10%, respectively.
Table A5.
Likelihood Ratio (LR) test results.
Table A5.
Likelihood Ratio (LR) test results.
| Formative Phase | Expansion Phase | |||
|---|---|---|---|---|
| LR Stats | p-Value | LR Stats | p-Value | |
| France | ||||
| CO2 | 56.26 *** | 0.000 | 26.958 *** | 0.008 |
| RES | 51.958 *** | 0.001 | 17.828 | 0.121 |
| NUC | 26.248 | 0.341 | 21.390 ** | 0.045 |
| N-RES | 59.94 *** | 0.000 | 24.280 ** | 0.019 |
| GDP | 31.35 | 0.144 | 15.460 | 0.217 |
| Spain | ||||
| CO2 | 6.312 | 0.612 | 17.096 ** | 0.029 |
| RES | 14.778 * | 0.064 | 26.186 *** | 0.001 |
| NUC | 7.166 | 0.519 | 14.502 * | 0.070 |
| N-RES | 6.318 | 0.612 | 17.034 ** | 0.030 |
| GDP | 4.836 | 0.775 | 23.530 *** | 0.003 |
| Sweden | ||||
| CO2 | 3.408 | 0.906 | 6.378 | 0.605 |
| RES | 5.518 | 0.701 | 3.890 | 0.867 |
| NUC | 1.908 | 0.984 | 5.052 | 0.752 |
| N-RES | 4.384 | 0.821 | 4.690 | 0.790 |
| GDP | 7.834 | 0.450 | 3.634 | 0.889 |
Note: ***, **, * significance at levels 1%, 5%, and 10%, respectively.
Figure A1.
Responses of RES, NUC, and NRES to shocks in variables in the formative and expansion phases in France.
Figure A2.
Responses of RES, NUC, and NRES to shocks in variables in the formative and expansion phases in Spain.
Figure A3.
Responses of RES, NUC, and NRES to shocks in variables in the formative and expansion phases in Sweden.
References
- Intergovernmental Panel on Climate Change. Mitigation of Climate Change: Energy Systems. Fifth Assessment Report; Cambridge University Press: New York, NY, USA, 2014. [Google Scholar]
- Steffen, W.; Rockström, J.; Richardson, K.; Lenton, T.M.; Folke, C.; Liverman, D.; Summerhayes, C.P.; Barnosky, A.D.; Cornell, S.E.; Crucifix, M.; et al. Trajectories of the earth system in the anthropocene. Proc. Natl. Acad. Sci. USA 2018, 115, 8252–8259. [Google Scholar] [CrossRef]
- Intergovernmental Panel on Climate Change. Summary for Policymakers of IPCC Special Report on Global Warming of 1.5°C Approved by Governments; IPCC. 2018. Available online: https://www.ipcc.ch/sr15/ (accessed on 30 November 2020).
- European Commission. Daily News. 2020. Available online: https://ec.europa.eu/commission/presscorner/detail/en/mex_20_2389 (accessed on 28 December 2020).
- International Energy Agency. World Energy Outlook 2017; IEA: Paris, France, 2017; Available online: https://www.iea.org/reports/world-energy-outlook-2017 (accessed on 20 November 2020).
- Vavrek, R.; Chovancová, J. Decoupling of greenhouse gas emissions from economic growth in V4 countries. Procedia Econ. Financ. 2016, 39, 526–533. [Google Scholar] [CrossRef]
- Handrich, L.; Kemfert, C.; Mattes, A.; Pavel, F.; Traber, T. Turning Point: Decoupling Greenhouse Gas Emissions From Economic Growth; Heinrich-Böll-Stiftung: Berlin, Germnay, 2015. [Google Scholar]
- Fang, J.; Chen, J.C. Empirical Analysis of CO2 emissions and GDP relationships in OECD countries. In Proceedings of the Developing and Delivering Affordable Energy in the 21st Century, 27th USAEE/IAEE North American Conference, Huston, TX, USA, 16–19 September 2007. [Google Scholar]
- Richmond, A.K.; Kaufmann, R.K. Is there a turning point in the relationship between income and energy use and/or carbon emissions? Ecol. Econ. 2006, 56, 176–189. [Google Scholar] [CrossRef]
- Berahab, R. Decoupling Economic Growth from CO2 Emissions in the World; Policy Notes & Policy Briefs, 1727, Policy Center for the New South. 2017. Available online: https://ideas.repec.org/p/ocp/ppaper/pb-1727.html (accessed on 20 January 2021).
- Choi, E.; Heshmati, A.; Cho, Y. An empirical study of the relationships between CO2 emissions, economic growth and openness. J. Environ. Policy 2010, 10, 10. [Google Scholar] [CrossRef]
- Jorgenson, A.K.; Clark, B. Are the economy and the environment decoupling? a comparative international study, 1960–2005. Am. J. Sociol. 2012, 118, 1–44. [Google Scholar] [CrossRef]
- Mikayilov, J.I.; Hasanov, F.J.; Galeotti, M. Decoupling of CO2 emissions and GDP: A time-varying cointegration approach. Ecol. Indic. 2018, 95, 615–628. [Google Scholar] [CrossRef]
- Piłatowska, M.; Włodarczyk, A. Decoupling economic growth from carbon dioxide emissions in the EU countries. Montenegrin J. Econ. 1992, 14, 7–26. [Google Scholar] [CrossRef]
- Tapio, P. Towards a theory of decoupling: Degrees of decoupling in the EU and the case of road traffic in Finland between 1970 and 2001. Transp. Policy 2005, 12, 137–151. [Google Scholar] [CrossRef]
- Fischer-Kowalski, M.; Swilling, M. Decoupling Environmental Resource Use and Economic Growth Summary; United Nations Environment Programme: Nairobi, Kenya, 2011. [Google Scholar]
- Organisation for Economic Co-operation and Development. Fostering Innovation for Green Growth—OECD 2011. Available online: https://www.oecd.org/sti/inno/fosteringinnovationforgreengrowth.htm (accessed on 28 January 2020).
- Weizsäcker, E.U.; de Larderel, J.; Hargroves, K.; Hudson, C.; Smith, M.; Rodrigues, M. Decoupling 2 Technologies, Opportunities and Policy Options; United Nations Environment Programme: Nairobi, Kenya, 2014. [Google Scholar]
- International Energy Agency. WEO-2015 Special Report: Energy and Climate Change—Analysis; IEA: Paris, France, 2015; Available online: https://www.iea.org/report/energy-and-cimate-change (accessed on 20 November 2020).
- Jaforullah, M.; King, A. Does the use of renewable energy sources mitigate CO2 emissions? A reassessment of the US evidence. Energy Econ. 2015, 49, 711–717. [Google Scholar] [CrossRef]
- Jin, T.Y.; Kim, J. What is better for mitigating carbon emissions—Renewable energy or nuclear energy? A panel data analysis. Renew. Sustain. Energy Rev. 2018, 91, 464–471. [Google Scholar] [CrossRef]
- Ferguson, C.D. Nuclear Energy: Balancing Benefits and Risks; Council on Foreign Relations Press: New York, NY, USA, 2007. [Google Scholar]
- Adamantiades, A.; Kessides, I. Nuclear power for sustainable development: Current status and future prospects. Energy Policy 2009, 37, 5149–5166. [Google Scholar] [CrossRef]
- Amano, Y. Atoms for Peace and Development. IAEA Bulletin, March 2018. Available online: https://www.iaea.org/bulletin/59-1 (accessed on 25 November 2020).
- Kunsch, P.L.; Friesewinkel, J. Nuclear energy policy in Belgium after Fukushima. Energy Policy 2014, 66, 462–474. [Google Scholar] [CrossRef]
- De Brauwer, C.R.S.; Ellis, G.; Chateau, Z.; Wade, R.; Johnston, N.; Volkomer, S.A.; Luga, C.D. Renewables 2020. In Global Status Report 2020; Mastny, L., Ed.; REN21 Secretariat: Paris, France, 2020. [Google Scholar]
- York, R.; McGee, J. Does renewable energy development decouple economic growth from CO2 emissions? Socius Sociol. Res. Dyn. World 2017, 3. [Google Scholar] [CrossRef]
- Jacobsson, S.; Berherk, A. Transforming the energy sector: The evolution of technological systems in renewable energy technology. Ind. Corp. Chang. 2004, 13, 815–849. [Google Scholar] [CrossRef]
- Jacobsson, S.; Lauber, V. The politics and policy of energy system transformation—Explaining the German diffusion of renewable energy technology. Energy Policy 2006, 34, 256–276. [Google Scholar] [CrossRef]
- Napp, T.; Bernie, D.; Thomas, R.; Lowe, J.; Hawkes, A.; Gambhir, A. Exploring the feasibility of low-carbon scenarios using historical energy transitions analysis. Energies 2017, 10, 116. [Google Scholar] [CrossRef]
- Fosten, J.; Morley, B.; Taylor, T. Dynamic misspecification in the environmental Kuznets curve: Evidence from CO2 and SO2 emissions in the United Kingdom. Ecol. Econ. 2012, 76, 25–33. [Google Scholar] [CrossRef]
- Sovacool, B.K.; Hess, D.J.; Amir, S.; Geels, F.W.; Hirsh, R.; Medina, L.R.; Miller, C.; Palavicino, C.A.; Phadke, R.; Ryghaug, M.; et al. Sociotechnical agendas: Reviewing future directions for energy and climate research. Energy Res. Soc. Sci. 2020, 70, 101617. [Google Scholar] [CrossRef]
- Acaravci, A.; Ozturk, I.T. On the relationship between energy consumption, CO2 emissions and economic growth in Europe. Energy 2010, 35, 5412–5420. [Google Scholar] [CrossRef]
- Magazzino, C. The relationship between CO2 emissions, energy consumption and economic growth in Italy. Int. J. Sustain. Energy 2014, 35, 844–857. [Google Scholar] [CrossRef]
- Mercan, M.; Karakaya, E. Energy consumption, economic growth and carbon emission: Dynamic panel cointegration analysis for selected OECD countries. Procedia Econ. Finance 2015, 23, 587–592. [Google Scholar] [CrossRef]
- Tiwari, A.K. A structural VAR analysis of renewable energy consumption, real GDP and CO2 emissions: Evidence from India. Econ. Bull. 2011, 31, 1793–1806. [Google Scholar]
- Omri, A. An international literature survey on energy-economic growth nexus: Evidence from country-specific studies. Renew. Sustain. Energy Rev. 2014, 38, 951–959. [Google Scholar] [CrossRef]
- Waheed, R.; Sarwar, S.; Wei, C. The survey of economic growth, energy consumption and carbon emission. Energy Rep. 2019, 5, 1103–1115. [Google Scholar] [CrossRef]
- Menyah, K.; Wolde-Rufael, Y. CO2 emissions, nuclear energy, renewable energy and economic growth in the US. Energy Policy 2010, 38, 2911–2915. [Google Scholar] [CrossRef]
- Apergis, N.; Payne, J.E. Renewable energy consumption and economic growth: Evidence from a panel of OECD countries. Energy Policy 2010, 38, 656–660. [Google Scholar] [CrossRef]
- Zafrilla, J.E.; Cadarso, M.; Monsalve, F.; De La Rua, C. How carbon-friendly is nuclear energy? A hybrid MRIO-LCA model of a Spanish facility. Environ. Sci. Technol. 2014, 48, 14103–14111. [Google Scholar] [CrossRef] [PubMed]
- Bhattacharya, M.; Churchill, S.A.; Paramati, S.R. The dynamic impact of renewable energy and institutions on economic output and CO2 emissions across regions. Renew. Energy 2017, 111, 157–167. [Google Scholar] [CrossRef]
- Dogan, E.; Seker, F. Determinants of CO2 emissions in the European Union: The role of renewable and non-renewable energy. Renew. Energy 2016, 94, 429–439. [Google Scholar] [CrossRef]
- Baek, J.; Pride, D. On the income–nuclear energy–CO2 emissions nexus revisited. Energy Econ. 2014, 43, 6–10. [Google Scholar] [CrossRef]
- Balsalobre-Lorente, D.; Shahbaz, M.; Roubaud, D.; Farhani, S. How economic growth, renewable electricity and natural resources contribute to CO2 emissions? Energy Policy 2018, 113, 356–367. [Google Scholar] [CrossRef]
- Silva, S.; Soares, I.; Pinho, C. The impact of renewable energy sources on economic growth and CO2 emissions—A SVAR approach. Eur. Res. Stud. J. 2012, 15, 133–144. [Google Scholar] [CrossRef]
- Shafiei, S.; Salim, R.A. Non-renewable and renewable energy consumption and CO2 emissions in OECD countries: A comparative analysis. Energy Policy 2014, 66, 547–556. [Google Scholar] [CrossRef]
- Dogan, E.; Seker, F. The influence of real output, renewable and non-renewable energy, trade and financial development on carbon emissions in the top renewable energy countries. Renew. Sustain. Energy Rev. 2016, 60, 1074–1085. [Google Scholar] [CrossRef]
- Apergis, N.; Payne, J.E.; Menyah, K.; Wolde-Rufael, Y. On the causal dynamics between emissions, nuclear energy, renewable energy, and economic growth. Ecol. Econ. 2010, 69, 2255–2260. [Google Scholar] [CrossRef]
- Mert, M.; Bölük, G. Do foreign direct investment and renewable energy consumption affect the CO2 emissions? New evidence from a panel ARDL approach to Kyoto Annex countries. Environ. Sci. Pollut. Res. 2016, 23, 21669–21681. [Google Scholar] [CrossRef] [PubMed]
- Bulut, U. The impacts of non-renewable and renewable energy on CO2 emissions in Turkey. Environ. Sci. Pollut. Res. 2017, 24, 15416–15426. [Google Scholar] [CrossRef]
- Xu, B.; Chen, Y.F.; Shen, X.B. Clean energy development, carbon dioxide emission reduction and regional economic growth. Econ. Res. J. 2019, 54, 188–202. [Google Scholar]
- Han, D.; Li, T.; Feng, S.; Shi, Z. Application of threshold regression analysis to study the impact of clean energy development on China’s carbon productivity. Int. J. Environ. Res. Public Health 2020, 17, 1060. [Google Scholar] [CrossRef]
- Luqman, M.; Ahmad, N.; Bakhsh, K. Nuclear energy, renewable energy and economic growth in Pakistan: Evidence from non-linear autoregressive distributed lag model. Renew. Energy 2019, 139, 1299–1309. [Google Scholar] [CrossRef]
- Mbarek, M.B.; Khairallah, R.; Feki, R. Causality relationships between renewable energy, nuclear energy and economic growth in France. Environ. Syst. Decis. 2015, 35, 133–142. [Google Scholar] [CrossRef]
- Domac, J.; Richards, K.; Risovic, S. Socio-economic drivers in implementing bioenergy projects. Biomass Bioenergy 2005, 28, 97–106. [Google Scholar] [CrossRef]
- Chien, T.; Hu, J.-L. Renewable energy and macroeconomic efficiency of OECD and non-OECD economies. Energy Policy 2007, 35, 3606–3615. [Google Scholar] [CrossRef]
- Sadorsky, P. Renewable energy consumption, CO2 emissions and oil prices in the G7 countries. Energy Econ. 2009, 31, 456–462. [Google Scholar] [CrossRef]
- Ocal, O.; Aslan, A. Renewable energy consumption–economic growth nexus in Turkey. Renew. Sustain. Energy Rev. 2013, 28, 494–499. [Google Scholar] [CrossRef]
- Rahman, S.-U.; Chen, S.; Saud, S.; Bano, S.; Haseeb, A. The nexus between financial development, globalization, and environmental degradation: Fresh evidence from Central and Eastern European Countries. Environ. Sci. Pollut. Res. 2019, 26, 24733–24747. [Google Scholar] [CrossRef]
- Menegaki, N.A. Growth and renewable energy in Europe: A random effect model with evidence for neutrality hypothesis. Energy Econ. 2011, 33, 257–263. [Google Scholar] [CrossRef]
- Simionescu, M.; Bilan, Y.; Krajňáková, E.; Streimikiene, D.; Gędek, S. Renewable energy in the electricity sector and GDP per capita in the european union. Energies 2019, 12, 2520. [Google Scholar] [CrossRef]
- Le, T.-H.; Chang, Y.; Park, D. Renewable and nonrenewable energy consumption, economic growth, and emissions: International evidence. Energy J. 2020, 41. [Google Scholar] [CrossRef]
- Bhat, J.A. Renewable and non-renewable energy consumption—impact on economic growth and CO2 emissions in five emerging market economies. Environ. Sci. Pollut. Res. 2018, 25, 35515–35530. [Google Scholar] [CrossRef]
- Tiwari, A.K. Comparative performance of renewable and nonrenewable energy source on economic growth and CO2 emissions of Europe and Eurasian countries: A PVAR approach. Econ. Bull. 2011, 31, 2356–2372. [Google Scholar]
- Chang, T.-H.; Huang, C.-M.; Lee, M.-C. Threshold effect of the economic growth rate on the renewable energy development from a change in energy price: Evidence from OECD countries. Energy Policy 2009, 37, 5796–5802. [Google Scholar] [CrossRef]
- Chen, C.; Pinar, M.; Stengos, T. Renewable energy consumption and economic growth nexus: Evidence from a threshold model. Energy Policy 2020, 139, 111295. [Google Scholar] [CrossRef]
- Piłatowska, M.; Geise, A.; Włodarczyk, A. The effect of renewable and nuclear energy consumption on decoupling economic growth from CO2 emissions in Spain. Energies 2020, 13, 2124. [Google Scholar] [CrossRef]
- Tugcu, C.T.; Topcu, M. Total, renewable and non-renewable energy consumption and economic growth: Revisiting the issue with an asymmetric point of view. Energy 2018, 152, 64–74. [Google Scholar] [CrossRef]
- Bento, N.; Wilson, C.; Anadon, L.D. Time to get ready: Conceptualizing the temporal and spatial dynamics of formative phases for energy technologies. Energy Policy 2018, 119, 282–293. [Google Scholar] [CrossRef]
- Bloomberg, N.E.F.; Energy Transition Investment Trends. Tracking Global Investments in Low-Carbon Energy Transition. 2021. Available online: https://about.bnef.com/energy-transition-investment/ (accessed on 20 January 2021).
- Juselius, K.; MacDonald, R. Interest Rate and Price Linkages Between the USA and Japan: Evidence from the Post-Bretton Woods Period; University of Copenhagen: Copengahen, Denmark, 2000. [Google Scholar]
- Tahir, A.; Ahmed, J.; Ahmed, W. Robust Quarterization of GDP and Determination of Business Cycle Dates for IGC Partner Countries. SBP Working Paper Series 97, State Bank of Pakistan, Research Department. 2018. Available online: https://ideas.repec.org/p/sbp/wpaper/97.html (accessed on 20 January 2021).
- Banet, C.; Wettestad, J. Why is “nuclear France” going renewable? The development of political organizational and European fields. In Proceedings of the ECPR Conference, Oslo, Norway, 6–9 September 2017. [Google Scholar]
- Boasson, E.L.; Leiren, M.D.; Wettestad, J. Comparative renewables policy. In Political, Organizational and European Fields; Routledge: London, UK, 2020. [Google Scholar]
- Bellona.org. 2020. Available online: https://bellona.org/news/nuclear-issues/2020-03-france-begins-winding-down-its-reliance-on-nuclear-power (accessed on 25 November 2020).
- World Nuclear News. 2020. Available online: https://world-nuclear-news.org/Articles/New-nuclear-will-ensure-Frances-energy-security-SF (accessed on 25 November 2020).
- Meyer, N.I. Learning from wind energy policy in the EU: Lessons from Denmark, Sweden and Spain. Eur. Environ. 2007, 17, 347–362. [Google Scholar] [CrossRef]
- Pesaran, H.; Shin, Y. Generalized impulse response analysis in linear multivariate models. Econ. Lett. 1998, 58, 17–29. [Google Scholar] [CrossRef]
- Hatemi-J, A.; Irandoust, M. Time-series evidence for Balassa’s export-led growth hypothesis. J. Int. Trade Econ. Dev. 2000, 9, 355–365. [Google Scholar] [CrossRef]
- International Energy Agency. Energy Policies of IEA Countries: Sweden 2019 Review; IEA: Paris, France, 2019. [Google Scholar]
- Woolard, J. Beyond Renewables: How to Reduce Energy-Related Emissions by Measuring What Matters. 2019. Available online: https://www.wri.org/news/beyond-renewables-how-reduce-energy-related-emissions-measuring-what-matters (accessed on 29 December 2020).
- International Energy Agency; International Renewable Energy Agency. Perspectives for the Energy Transition: Investment Needs for a Low-Carbon Energy System; IEA: Paris, France, 2017; Available online: https://www.iea.org/reports/investment-needs-for-a-low-carbon-energy-system (accessed on 5 December 2020).
- International Energy Agency. European Union 2020. In Energy Policy Review; IEA: Paris, France, 2020; Available online: https://www.iea.org/reports/european-union-2020 (accessed on 20 January 2021).
- International Energy Agency. World Energy Outlook 2020; IEA: Paris, France, 2020; Available online: https://www.iea.org/reports/world-energy-outlook-2020 (accessed on 20 January 2021).
Publisher’s Note: MDPI stays neutral with regard to jurisdictional claims in published maps and institutional affiliations. |
© 2021 by the authors. Licensee MDPI, Basel, Switzerland. This article is an open access article distributed under the terms and conditions of the Creative Commons Attribution (CC BY) license (http://creativecommons.org/licenses/by/4.0/).