Abstract
The Zn(II) and Mn(II) removal by an ion flotation process from model and real dilute aqueous solutions derived from waste batteries was studied in this work. The research aimed to determine optimal conditions for the removal of Zn(II) and Mn(II) from aqueous solutions after acidic leaching of Zn-C and Zn-Mn waste batteries. The ion flotation process was carried out at ambient temperature and atmospheric pressure. Two organic compounds used as collectors were applied, i.e., m-dodecylphosphoric acid 32 and m-tetradecylphosphoric 33 acid in the presence of a non-ionic foaming agent (Triton X-100, 29). It was found that both compounds can be used as collectors in the ion flotation for Zn(II) and Mn(II) removal process. Process parameters for Zn(II) and Mn(II) flotation have been established for collective or selective removal metals, e.g., good selectivity coefficients equal to 29.2 for Zn(II) over Mn(II) was achieved for a 10 min process using collector 32 in the presence of foaming agent 29 at pH = 9.0.
1. Introduction
Ecological aspects and an increasing depletion of polymetallic ores generate the need for research on new nonferrous materials in unused and hard-to-reach places as well as for the improvement in techniques used to recover metals from secondary sources. There is a growing interest in the recovery of metals from electrical and electronic solid wastes [1,2,3,4,5,6], batteries and accumulators [7,8,9,10], as well as car catalysts [11]. The main advantages of waste treatment are the recovery of valuable metallic materials and the prevention of the release of toxic metals into the natural environment. There are effective industrial methods for the treatment of waste batteries and accumulators; nevertheless, due to the changes in quantity and quality of waste stream composition, new innovative and ecological technologies are involved [12]. They are characterized by high and selective recovery of metals at low cost [13,14,15].
Hydrometallurgical methods can be effectively used for the recovery of metals from secondary sources [16]. Due to economic and environmental aspects, flotation methods stand as an alternative for recovering metals from secondary sources [17,18]. The ion flotation process is effective for diluted aqueous solutions and can be selective using specific collectors [19,20].
Sobianowska-Turek et al. [21] used flotation methods, i.e., ion flotation and solvent sublation for Zn(II) and Mn(II) removal from a dilute model and real aqueous solutions from a Zn-C and Zn-Mn black battery mass after mechanical treatment and acidic leaching. The ionizable lariat ethers were used as collectors (Table 1, compounds 1–7). Macrocyclic organic compounds possessing three different crown sizes: DB22C7 1, 2, 3, DB19C6 4, 6, 7, and DB16C5 5 were applied. As the foaming agent, Triton X-100 was used (Table 2, 29). Ion flotation from aqueous solution at pH equal to 5.0 with collectors 2 and 3 allowed the removal of Zn(II) and Mn(II) at 98%, i.e., higher than in the solvent sublation process (Zn(II) —81%, Mn(II)—85%). Ulewicz et al. [22,23,24] studied several proton-ionizable lariat ethers (Table 1, 5–21) for Zn(II) and Cd(II) removal from aqueous solutions in ion flotation. In [24], a correlation between lariat ethers’ crown size and the selectivity of the Zn(II) over Cd(II) flotation process was found. It was also shown that there is a significant influence of specific parameters on the efficiency and selectivity of the ion flotation process. These parameters were the type of lipophilic and acidic groups, collector concentration, and pH of the aqueous solution. Ion flotation with lariat ethers 8–12 in the presence of a foaming agent 29 allowed for removal of Cd(II) and Zn(II) from dilute aqueous solutions with high efficiency. Collector 12 gave high flotation selectivity for Cd2+ over Zn2+ (SCd/Zn ≅ 7) at pH 4.0, (Cd(II)) = (Zn(II)) = 1.0 × 10−5 M, (12) = 1.0 × 10−4 M, (29) = 2.0 × 10−4 M. Ulewicz et al. [22] applied lariat ethers 13–21 for Zn(II) and Cd(II) removal from aqueous solution. The results proved the influence of the crown ether cavity size, collector concentration, and pH of aqueous solution on the efficiency of Zn(II) and Cd(II) removal. Maciejewski et al. [25] found the correlation between the maximal percent removal of metals and the following parameters: initial concentrations of lariat ether and the non-ionic foaming agent, the pH of the aqueous solution as well as hydrophilic–lipophilic balance (HLB). In addition, Ulewicz et al. [23] studied other collectors, i.e., 22–28, for Zn(II) and Cd(II) flotation from aqueous solutions. A correlation between structural variability of ethers concentration of alkali metal cations, collector concentration, pH of aqueous phase, and the efficiency of metals removal was confirmed. They also studied the HLB of ethers impact on selectivity of Zn(II) and Cd(II) in ion flotation. Kozlowski et al. [26] compared the effectiveness of ion flotation and transport across polymeric inclusion membranes for Zn(II) and Cd(II) recovery from aqueous solutions. The experiments were carried out for aqueous chloride solutions containing an equimolar mixture of both cations, with the use of two classical collectors/carriers: i.e., anionic—30 and cationic—31 (Table 2). Finally, they found that the use of a cationic surfactant 31, causes the selectivity coefficient of Cd/Zn to increase with the increasing concentration of chloride ions (from dilute aqueous solutions both metals at concentrations of 1 × 10−5 M).
Table 1.
Collectors used in Zn(II) and Cd(II) ion flotation process in the quoted works [22,23,24,25,26].
Table 2.
Additional compounds used in Zn(II) and Cd(II) ions flotation in the quoted works [26,27,28].
Selective removal of Zn(II) and Ag(I) in ion flotation with a classical collector from diluted aqueous solutions was done by Charewicz et al. [27]. Anionic collectors used in the process were 30 and ammonium tetradecyl sulfate, while as a cationic collector, they used 31. The Zn(II) can be selectively removed from acidic dilute aqueous solutions of both metals because Zn2+ has a much greater affinity for anionic collectors than Ag+. They indicated that collective removal of both metal ions is possible in the presence of thiosulphate or thiocyanate ligands. For the first ligand, silver(I) ions are a mixture of [Ag(S2O3)]− and [Ag(S2O3)2]3− form, while the Zn(II) remain in the aqueous phase as Zn2+. However, a partial removal of Zn(II) and Ag(I) ions was obtained in the presence of cyanide ligands, where Zn(II) ions were in the cyanide anionic form, and the removal was 92–98%, which is higher than for Ag(I) (73–82%). Jurkiewicz [29] studied the influence of collectors, such as chloride, bromide, iodide, and cetyltrimethylamine thiocyanate, for the removal of anionic complexes of Zn(II) forms from aqueous solutions in the ion flotation process. It was shown that the removal of Zn(II) ions depends on the nature of the ligand. He also indicated that the amount of zinc–thiocyanate complexes decreased with the type of acid in the following order: HCIO4 < H3PO4 < HCl < H2SO4 < no acid. Walkowiak [28] conducted research on the Zn(II) and Mn(II) removal from an equimolar mixture of cations: Zn2+, Mn2+, Co2+, Fe3+, Cr3+. The selective removal of Zn(II), Mn(II) in a flotation process with anionic collectors (sodium dodecylsulfonate or 30) in the presence of other metals in aqueous solutions increased in the order: Mn2+ < Zn2+ < Co2+ < Fe3+ < Cr3+. Trivalent cations have a better affinity for the anionic collector since they have higher ionic potential values.
The aim of the experimental work in this article was the Zn(II) and Mn(II) flotation process from model and real solutions after acid leaching of black battery mass originating from spent Zn-C and Zn-Mn batteries. It allowed the determination of the factors influencing the efficiency and selectivity of the process.
2. Materials and Methods
2.1. Apparatus and Measuring Equipment
The main component of the apparatus for ion flotation was a glass flotation column, size 45.7 cm (height), 2.4 cm (diameter), equipped with a sintered glass sparger possessing a hole diameter of 20–30 μm. Above the porous sinter, there was an injection-capable valve in the column for introducing a collector and/or a foaming agent. The argon gas surface was introduced into the flotation column by a gas flow meter and aqueous scrubber. The foam generated in the process was collected in a tank. The process was carried out at ambient temperature (20–21 °C), at atmospheric pressure, and constant argon gas flow (12 cm3/min). The Zn(II) and Mn(II) concentrations in feed and residual solutions (model and real) were measured by atomic absorption spectrometry on a VARIAN®, Palo Alto, California, USA SpectrAA 20 Plus spectrometer.
2.2. Characteristics of Reagents and Tested Solutions
The initial concentrations of metal cations in base model aqueous solution (both metals mixture) were Zn(II)—0.00168 M and Mn(II)—0.00091 M. The known weight ratio of Zn(II) to Mn(II) content, equal to 2.14:1.00, was a reference to the number of ions in the solution derived from the acidic non-reducing leaching of the black battery mass [21] which was carried as follows. This solution was prepared by dissolving chemically pure compounds ZnSO4·7H2O and MnSO4·5H2O of respective sample weights in demineralized water (conductivity 5.0 μS at 20 °C). The material used to prepare the real aqueous solution was a mixture of paramagnetic and diamagnetic fractions mixed in a 2:1 weight ratio of Zn-C and Zn-Mn batteries generated after mechanical treatment and leaching with sulfuric acid [30]. Leaching was carried out using 500 g portions of batteries mixture. The tested material was flooded with distilled water (1.0 dm3) and leached with 95% sulfuric acid, added in the amount estimated to be necessary for leaching zinc and manganese, and the amount necessary to balance the H+ ions of the appropriate reduction reaction with a small excess. The leaching process was carried without heating with an average temperature of 55 °C. The measured concentration of Zn(II) and Mn(II) in the aqueous solution after leaching was 55.0 and 25.7 g/dm3, respectively [21]. The initial concentration of the cation mixture in the real aqueous solution was measured by ASA.
Two organic reagents, m-dodecylphosphoric acid 32 and m-tetradecylphosphoric acid 33 were used in the ion flotation process in ethanol solutions (Table 3) at initial concentrations equal to 5.0 × 10−3 M in the feed solution. A non-ionic foaming agent was used, Triton X-100 29 (1,1,3,3-tetramethylbutyl phenyl polyethylene glycol ether), in ethanol solution at an initial concentration equal to 2.0 × 10−4 M in an aqueous solution.
Table 3.
Characteristics of organic acids used for research as collectors for the process of ionic flotation.
The sulfuric acid and ammonia solutions (at concentrations: 0.1, 0.5, and 1.0 M) were used to adjust the pH of the feed solutions. The collectors 32 and 33 were obtained at the Wroclaw University of Technology, Faculty of Chemistry University. The other reagents used were purchased from Avantor Performance Materials S.A., Gliwice, Poland (former POCH), all were of analytical purity.
2.3. Research Methodology
Flotation of Zn(II) and Mn(II) from a dilute aqueous model and real solutions was carried out in the apparatus presented in Figure 1. The initial volume of each aqueous solution was 100 cm3, and initial concentrations of Zn(II) and Mn(II) (in the mixture) were 0.00168 and 0.00091 M, respectively. In the real solutions experiments, the feed solutions were obtained after acidic leaching of Zn-C and Zn-Mn batteries, and the concentrations of Zn(II) and Mn(II) in the solution were 55.0 and 25.7 g/dm3, respectively. The pH feed solutions were adjusted with ammonia or sulfuric acid to pH values from 2.0 to 11.0. One cubic centimeter volume of collector and foaming agent was injected into the floated aqueous solution. The initial concentrations of the collector and foaming agent in the aqueous solutions were 5.0 × 10−3 M and 2.0 × 10−4 M, respectively. The ion flotation experiments were carried out for 5, 10, and 20 min, after which the samples of the residual solutions were collected to be analyzed. The argon gas was saturated with water, and the flow rate was maintained at 12 cm3/min through a sintered glass sparger. During the process, a foaming formation of the solutions was observed, and the pH of the residual solution was measured. The concentrations of Zn(II) and Mn(II) in the residual flotation solution were measured by atomic adsorption spectrometry to determine the maximal percent removal, which is described by Equation (1):
where W is the maximal percent removal, ci is the initial ion concentration in mol/dm3, cr is the ion concentration in the residual solution in mol/dm3.
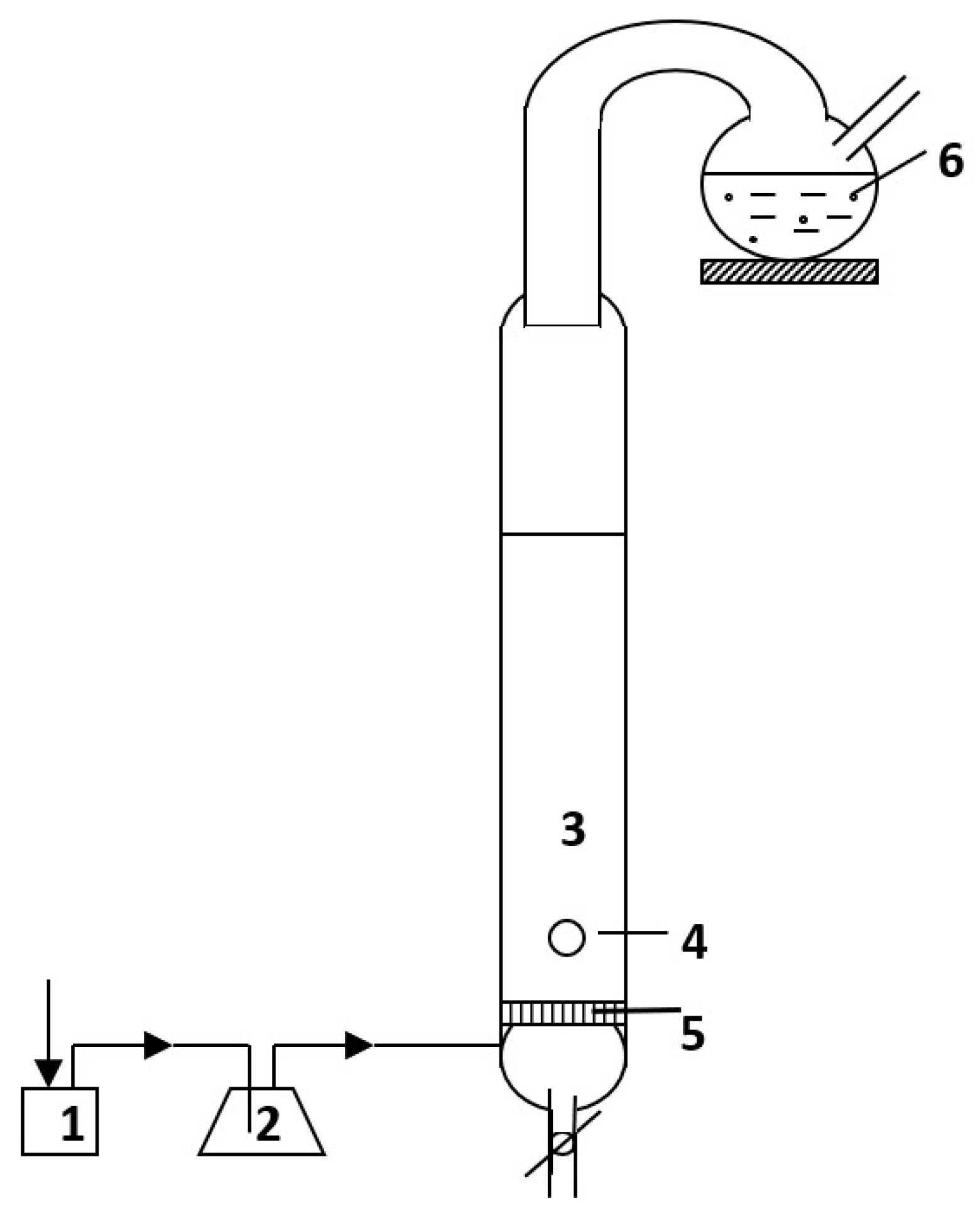
Figure 1.
Scheme of ion flotation apparatus. 1—gas flow regulator, 2—aqueous scrubber, 3—flotation column, 4—injection capable valve (for collector), 5—sintered glass sparger, 6—foam receiver.
Selective removal of Zn(II) and Mn(II) is describe by the selectivity Coefficient (2):
where SM1/M2 is the selectivity coefficient for metal ions of the first and the second metal, WM1 and WM2 are the maximal percent removal for the first and the second metal.
3. Results and Discussion
3.1. Ion Flotations from Model Aqueous Solutions
- Parameters influencing Zn(II) and Mn(II) flotation removal with collector 32
In the preliminary experiments, the influence of the time of the Zn(II) and Mn(II) flotation process was tested for collector 32 at pH = 5.0. The ion flotation tests were carried out for 5, 10, and 20 min, based on which it was found that the process runs within 10 min. In subsequent studies, flotations were carried out for 10 min.
The preliminary test with collector 32 in the ion flotation process indicated that this collector had a sufficient foaming capacity and can be used in the process without the addition of a foaming agent. Studied collector 32 was an ionogenic surfactant and consisted of two groups: hydrophilic—polar phosphate acid residue -OPO(OH)2 and lipophilic—a non-polar aliphatic one. The phosphate group of collectors can form ion-collector connections due to the presence of labile hydrogens.
- Effect of pH solutions
In the first step of experiments, the influence of aqueous solution pH on Zn(II) and Mn(II) removal was tested for a pH equal to 2.0, 4.0, 5.0, 7.0, 9.0, 10.0, and 11.0. Ion flotation was carried out with collector 32 (5.0 × 10−3 M in aqueous solutions) in a 10 min process at initial concentrations (in the mixture): Zn(II)—0.00168 M and Mn(II)—0.00091 M. There was no foaming agent 29 used. The results of the Zn(II) and Mn(II) flotations are summarized in Table 4.
Table 4.
Results of Zn(II) and Mn(II) flotation using collector 32 in a 10 min process with and without foaming agent 29 at a pH from 2.0 to 11.0; (Zn) = 0.00168 M, (Mn) 0.00091 M, (32) = 5.0 × 10−3 M, (29) = 2.0 × 10−4 M.
The Zn(II) and Mn(II) removal depends on the pH value, which can give a metals’ separation effect. The removal of Zn(II) increased from 80.4% to 99.7%, with an increase in pH from 2.0 to 7.0. A further increase in pH to 11 resulted in a rapid decrease in Zn(II) removal, which may be related to a change in the ionic form of Zn(II). At pH 8.0 to 10.0, these ions pass in aqueous solutions from a simple Zn2+ to Zn(OH)+ and Zn(OH)2, while in the pH ranges from 10.0 to 13.0, it is in the form of Zn(OH)3− and Zn(OH)42− anions which possess a significant influence on the process [31]. In strongly alkaline aqueous solutions the Zn(II) removal increased from 37.1% (pH = 10.0) to 60.1% (pH = 11.0).
The flotation removal of Mn(II) in the whole range of tested pH was above 50%. The highest removal (75.4%) for Mn(II) was achieved at pH = 2.0 after the 10 min process. The results of Zn(II) and Mn(II) ion flotation in the pH range studied show differences, which can be used for selective removal of both metal ions, but the selectivity of the process was low. At pH = 5.0, the value of the selectivity coefficient was 2.13. The best collective removal of Zn(II) (99.7%) and Mn(II) (73.8%) after 10 min was obtained at pH 7.0.
- Effect of foaming agent presence
In addition, Zn(II) and Mn(II) flotation was also conducted with collector 32 in the presence of Triton X-100 29, at a concentration equal to 2.0 × 10−4 M. The function of the foaming agent was to develop a liquid–gas surface and to form a stable foam over the solution, which is crucial in the ion flotation process. The removal of Zn(II) and Mn(II) was performed with 32 (initial concentration of 5.0 × 10−5 M in feed solution) in the presence of foaming agent 29 (2.0 × 10−4 M) in the pH range of 2.0 to 11.0 for 10 min. The results are presented in Table 4. Despite a significant improvement in the interfacial surface in the solution and a stable foam over the solution, the addition of foaming agent caused a decrease in Zn(II) removal at pH = 2.0, 5.0, and 7.0. Comparing the results for Zn(II) removal with and without the addition of foaming agent, it can be indicated that the addition of 29 lowers Zn(II) removal by half (from 80.4% to 40.1%) at pH = 2.0. At pH = 5.0, the removal of Zn(II) decreased by 17.5%, while for a neutral solution, the reduction in Zn(II) removal rate was 8.0%. In an acidic environment, the addition of 29 increased Zn(II) removal to 99.6% only at pH 4.0. On the other hand, in alkaline solutions, the foaming agent addition increased the Zn(II) removal, at pH = 9.0, from 50.7% to 96.3%, at pH = 10.0, from 37.1% to 77.2%, and at pH = 11.0, from 60.1% to 86.8%. It was probably related to the observed higher foaming intensity during the flotation process.
For Mn(II) flotation, the addition of 29 significantly decreased metal removal with pH = 9.0. The results were very low in comparison to process without foaming agent: by 22.3% for pH = 2.0, by 36.5% for pH = 4.0, by 27.5% for pH = 7.0, and by 65.5% for pH = 9.0. This situation may be caused by the collector’s flotation and thus lowering of the concentration of its ionized forms in the solution, which also reduces the number of ion-collector connections.
Therefore, it is possible to obtain relatively good selectivity for Zn(II) over Mn(II) after 10 min of the flotation process. At pH = 7.0, the selectivity coefficients were equal to 10.9 and at pH = 9.0–29.2 (see Table 4). Finally, it can be concluded that the addition of a foaming agent to the ion flotation processes decreases collective removal of metals but increases selective removal of Zn(II) over Mn(II).
- Parameters influencing Zn(II) and Mn(II) flotation removal with collector 33
In the preliminary experiments, the influence of the time of the Zn(II) and Mn(II) flotation process was tested for collector 33 at pH = 5.0. The ion flotation tests were carried out for 5, 10, and 20 min, based on which it was found that the process runs within 10 min. In subsequent studies, flotations were carried out for 10 min.
- Effect of pH solution
The preliminary test with collector 33 in the ion flotation process indicated that the collector had a sufficient foaming capacity and could be used without the addition of a foaming agent. Studied collector 33 (similar to 32) was an ionogenic surfactant and consisted of two groups: hydrophilic—polar phosphate acid residue -OPO(OH)2 and lipophilic—a non-polar aliphatic one. In comparison to 32, collector 33 has a longer lipophilic group with two carbons in the alkyl chain, which caused an increase in lipophilic properties of the compound. The phosphate group of the collector is capable of forming ion-collector connections due to the presence of labile hydrogens.
The schema of experiments was similar to in the previous chapter (for collector 32). In the first step, the influence of the aqueous pH solution on Zn(II), Mn(II) removal was tested at pH 2.0, 4.0, 5.0, 7.0, 9.0, 10.0, and 11.0. Ion flotation was carried out with collector 33 (5.0 × 10−3 M in feed solution) in 10 min from the mixture of both metals at initial concentrations of Zn(II)—0.00168 M, Mn(II)—0.00091 M. There was no addition of 29. The results of the Zn(II) and Mn(II) flotation process are summarized in Table 5.
Table 5.
Results of Zn(II) and Mn(II) flotation using collector 33 in a 10 min process with and without foaming agent 29 at pH from 2.0 to 11.0; (Zn) = 0.00168 M, (Mn) 0.00091 M, (33) = 5.0 × 10−3 M, (29) = 2.0 × 10−4 M.
An influence of pH solutions on Zn(II) and Mn(II) removal with 33 had a variable character for each metal. The Zn(II) removal in the 10 min process slightly increased with pH value from 83.3% to 90.4% at pH = 5, then it systematically fell to 58.5% at pH = 9.0. A further increase in the pH value boosted Zn(II) removal to 99.1% at pH = 10.0 then slightly decreased to 91.6% at pH = 11.0. What is important, at pH = 7.0 and 9.0, the removal decreased slightly, which according to Eh-pH diagrams, may be related to the change in simple Zn2+ to Zn(OH)2, while, in strongly alkaline solutions, pH = 10.0 and 11.0, the removal increased, which may be related to the ionic form of the metal Zn(OH)3−.
The Mn(II) removal with collector 33 in the acidic solutions for the 10 min process were discontinuous, because the noticed results were 59.9% at pH = 2.0, 87.5% at pH = 4.0, and 20.2% at pH = 5.0. In the neutral solutions, Mn(II) removal rebound to 87.5%, similar to pH = 4.0, while the result was the same. Then the Mn(II) removal decreased linearly with the pH value to 59.5 at pH = 11. A quick analysis of the results indicates significant differences in the Zn(II) and Mn(II) flotation vs. pH solution value and process time. This situation allows the description of the optimal conditions for collective or selective removal studied cations. For example, collective removal is effective at pH = 4.0 in a 10 min process, which gave an 80.4% and 87.5% removal for Zn(II) and Mn(II), respectively. On the other hand, selective Zn(II) removal from a mixture of both metals is possible at a pH = 5.0 in a 10 min process, with a selectivity coefficient SZn/Mn = 4.48.
- The influence of a foaming agent
The results of the Zn(II) and Mn(II) flotation process with collector 33 confirm sufficient foaming capacity, but in some experiments, the foam was very low. Therefore, in the experiments, the addition of foaming agent 29 at a concentration of 2.0 × 10−4 M was used in the feed solution in the 10 min process. According to results presented in Table 5, it can be concluded that Zn(II) and Mn(II) removals in the presence of 29 were often worse than without 29, despite strong solutions foaming in all range of tested pH solutions. The noticed relations were different for each metal. For example, the results for Zn(II) removal in the presence 29 were better (by 31.5%) only at pH = 7.0, at other pH values, the results were similar (pH = 4.0; 5.0; 9.0; 11.0) or worse (pH = 2.0; 10.0, by −45.0% and by −39.6%, respectively).
The results for Mn(II) removal in the presence of 29 were a few percent worse or similar at pH = 2.0, 4.0, 9.0, 10.0. In two cases, completely different results were obtained. The removal of Mn(II) at pH 5.0 in the presence of 29 was better by 74.3% and at pH 11.0 was worse by 28.4%. During Mn(II) flotations in the presence of 29 in an alkaline reaction, a lack of permanent foam formation was observed, which probably contributed to low results. These differences in the Zn(II) and Mn(II) removal (from a mixture of both metals) allowed their separation. For example, Zn(II) selective removal was possible at pH = 5.0 with 33 in a 10 min process (without 29), with a selectivity coefficient SZn/Mn = 4.78. For Mn(II), selective removal with 33 in the presence of 29 was possible at pH = 2.0 in a 10 min process, with SMn/Zn = 1.51.
3.2. Real Solution
The real solutions obtained after acid leaching of Zn-C and Zn-Mn batteries had a content of Zn(II) and Mn(II) in the solution of 55.0 and 25.7 g/dm3, respectively. The series of experiments with model solutions allowed the determination of the conditions for the selective Zn(II) removal from real solutions (mixture of both metals). The ion flotation with the real solution had been limited to the use of the collector 33 only and the following process conditions: pH 4.0, 7.0, and 9.0 in a 10 min process duration. The results are shown in Table 6. The selected conditions of the process enabled the selective separation of Zn(II), while Mn(II) remained in solution. Selective Zn(II) removal in a 10 min process from real solution was the best at pH = 9.0, and the selectivity coefficient for Zn(II)/Mn(II) was equal to 22.56. At pH = 4.0 and 7.0, the selectivity coefficients SZn/Mn were 6.28 and 8.90, respectively. Analysis of the collectors’ 32 and 33 properties at this stage is difficult and requires additional research in the field of physical surface physics, in particular the measurement of surface tension, hydrophilic–lipophilic balance. The preliminary results are very promising and are the starting point for further research on hydrometallurgical selective metals recovery from used cells of first Zn-C and Zn-Mn types, which are still the largest stream of used batteries on the European market [32].
Table 6.
Influence of pH on the degree of Zn(II) and Mn(II) cations separation with the use of collector 33 after 10 min process from the real solution without foaming agent 29 at pH from 4.0 to 9.0; (Zn) = 0.00168 M, (Mn) 0.00091 M, (33) = 5.0 × 10−3 M.
4. Conclusions
The preliminary studies on the Zn(II) and Mn(II) flotation with 32 and 33 compounds proved that the substances can be considered as new collectors for selective and/or collective Zn(II) and Mn(II) removal. The research involved model and real solutions (after acid leaching of black battery mass originating from used Zn-C and Zn-Mn batteries). Through a series of experiments, it was possible to distinguish factors determining the efficiency and selectivity of the floatation process. Based on the findings, the following conclusions can be made.
- The main parameters which affect Zn(II) and Mn(II) flotation are the type of collector, feed solution pH, concentration of collector and/or foaming agent, and process duration.
- The collective Zn(II) and Mn(II) removal from dilute aqueous solutions in the ion flotation process with using collector 32 or 33 depended on the pH solution. High efficiency Zn(II) removal with collector 32 is possible in the pH range from 2.0 to 7.0 in a 10 min ion flotation process. It has been shown that the maximal percent removal of Zn(II) increased from 80.4% (at pH = 2.0) to 99.7% (at pH = 7.0). In the same experiments, results for Mn(II) removal were as follow: 75.4% and 73.8% for pH 2.0 and 7.0, respectively. On the other hand, effective removal of Zn(II) using second collector, 33, required alkaline solutions, and the observed removal was in the range of 99.1% (pH = 10.0) and 91.6% (pH = 11.0). In the same conditions, results for Mn(II) were 73.2% (pH = 10.0) and 59.4% (pH = 11.0).
- The addition of foaming agent 29 affected Zn(II) removal in particular. Despite a significant improvement in the interfacial surface in the solution and a stable foam over the solution, the addition of 29 caused a decreased removal of both metals. Comparing the results for Zn(II) removal (using collector 32), it can be noticed that addition of 29 lowers Zn(II) removal by half (from 80.4% to 40.1%) at pH = 2.0. On the other hand, in an alkaline solution (using collector 32), the presence of a foaming agent increased the Zn(II) removal, at pH = 9.0, from 50.7% to 96.3%, at pH = 10.0, from 37.1% to 77.2%, and at pH = 11.0, from 60.1% to 86.8%. It was probably related to the observed higher foaming intensity during the flotation process. However, in the case of the second metal, it did not significantly affect the Mn(II) removal. Generally, in some cases, the addition of an agent is beneficial, especially in an alkaline feed solution.
- The time of conducting the ion flotation process also had a significant influence on both metals removal. Comparing the results for Zn(II) and Mn(II) removal in 5 and 20 min processes, it can be concluded that the prolongation of the flotation time affects the results negatively, especially in the case of Zn(II), e.g., removal of Zn(II) with collector 32 in a 5 min process at pH = 5.0 was always over 80%, while in the 20 min process, it did not exceed 20%. Too long a process duration (above 10 min) negatively affects the removal of both metals.
- It was found that the ion flotation process with collectors 32 or 33 can be an alternative to currently known processes in the recovery of metals from waste chemical energy sources. It is also possible to use ion flotation in a hybrid process, as one of the stages of the currently used hydrometallurgical recycling processes. There is also potential to regenerate a waste stream of a solution that would be purified and recycled back into the process.
Author Contributions
Conceptualization, K.G., A.S.-T. and P.M.; methodology, K.G.; formal analysis, K.G.; investigation, K.G.; resources, A.S.-T., P.M., M.G.-K.; writing; writing—review and editing, M.G.-K. and P.M.; supervision, M.G.-K. All authors have read and agreed to the published version of the manuscript.
Funding
This research received no external funding.
Informed Consent Statement
Informed consent was obtained from all subjects involved in the study.
Data Availability Statement
The data presented in this study are available in the paper.
Conflicts of Interest
The authors declare no conflict of interest.
References
- Bigum, M.; Damgaard, A.; Scheutz, C.; Christensen, T.H. Environmental impacts and resource losses of incinerating misplaced household special wastes (WEEE, batteries, ink cartridges and cables). Resour. Conserv. Recycl. 2017, 122, 251–260. [Google Scholar] [CrossRef]
- Kohl, C.A.; Gomes, L.P. Physical and chemical characterization and recycling potential of desktop computer waste, without screen. J. Clean Prod. 2018, 184, 1041–1051. [Google Scholar] [CrossRef]
- Polat, O.; Capraz, O.; Gungor, A. Modelling of WEEE recycling operation planning under uncertainty. J. Clean Prod. 2018, 180, 769–779. [Google Scholar] [CrossRef]
- Zabłocka-Malicka, M.; Szczepaniak, W.; Rutkowski, P.; Ochromowicz, K.; Leśniewicz, A.; Chęcmanowski, J. Decomposition of the ISA-card under steam for valorized polymetallic raw material. J. Anal. Appl. Pyrolysis 2018, 130, 256–268. [Google Scholar] [CrossRef]
- Awasthi, A.K.; Li, J. An overview of the potential of eco-friendly hybrid strategy for metal recycling from WEEE. Resour. Conserv. Recycl. 2017, 126, 228–239. [Google Scholar] [CrossRef]
- Li, J.; Lopez, B.N.; Liu, L.; Zhao, N.; Yu, K.; Zheng, L. Regional or global WEEE recycling. Where to go? Waste Manag. 2013, 33, 923–934. [Google Scholar] [CrossRef]
- Dutta, T.; Kim, K.-H.; Deep, A.; Szulejko, J.E.; Vellingiri, K.; Kumar, S.; Kwon, E.E.; Yun, S.-T. Recovery of nanomaterials from battery and electronic wastes: A new paradigm of environmental waste management. Renew. Sustain. Energy Rev. 2018, 82, 3694–3704. [Google Scholar] [CrossRef]
- Urbańska, W. Recovery of Co, Li and Ni from spent Li-ion batteries by inorganic and/or orgnic reducer assistend leaching metod. Minerals 2020, 10, 555. [Google Scholar] [CrossRef]
- Petranikova, M.; Ebin, B.; Mikhailova, S.; Steenari, B.-M.; Ekberg, C. Investigation of the effects of thermal treatment on the leachability of Zn and Mn from discarded alkaline and Zn C batteries. J. Clean Prod. 2018, 170, 1195–1205. [Google Scholar] [CrossRef]
- Innocenzi, V.; Ippolito, N.M.; De Michelis, I.; Prisciandaro, M.; Medici, F.; Vegliò, F. A review of the processes and lab-scale techniques for the treatment of spent rechargeable NiMH batteries. J. Power Sources 2017, 362, 202–218. [Google Scholar] [CrossRef]
- Gil, S.; Bialik, W.; Saternus, M.; Fornalczyk, A. Thermal Balance of the magneto-hydro-dynamic pump for recovery of platinum group metals from spent auto catalysts. Arch. Metall. Mater. 2016, 61, 253–256. [Google Scholar] [CrossRef]
- Sobianowska-Turek, A. Hydrometallurgical recovery of metals: Ce, La, Co, Fe, Mn, Ni and Zn from the stream of used Ni-MH cells. Waste Manag. 2018, 77, 213–219. [Google Scholar] [CrossRef]
- Dominguez-Benetton, X.; Varia, J.C.; Pozo, G.; Modin, O.; Ter Heijne, A.; Fransaer, J.; Rabaey, K. Metal recovery by microbial electro-metallurgy. Prog. Mater. Sci. 2018, 94, 435–461. [Google Scholar] [CrossRef]
- Mylarappa, M.; Venkata Lakshmi, V.; Vishnu Mahesh, K.R.; Nagaswarupa, H.P.; Prashantha, S.C.; Shravana Kumara, K.N.; Siddeswara, D.M.K.; Raghavendra, N. Resource Recovery and Material Characterization of Metals from Waste Li-ion Batteries by an Eco-Friendly Leaching Agent. Mater. Today Proc. 2017, 4, 12215–12222. [Google Scholar] [CrossRef]
- Torkaman, R.; Asadollahzadeh, M.; Torab-Mostaedi, M.; Ghanadi Maragheh, M. Recovery of cobalt from spent lithium ion batteries by using acidic and basic extractants in solvent extraction process. Sep. Purif. Technol. 2017, 186, 318–325. [Google Scholar] [CrossRef]
- Jha, M.K.; Kumari, A.; Panda, R.; Rajesh Kumar, J.; Yoo, K.; Lee, J.Y. Review on hydrometallurgical recovery of rare earth metals. Hydrometallurgy 2016, 165, 2–26. [Google Scholar] [CrossRef]
- Bi, P.Y.; Dong, H.R.; Dong, J. The recent progress of solvent sublation. J. Chromatogr. A 2010, 1217, 2716–2725. [Google Scholar] [CrossRef] [PubMed]
- Sobianowska, K.; Walkowiak, W.; Kozłowski, C. Principles and applications of solvent sublation—A review. Ars. Separatoria. Acta 2009, 7, 23–38. [Google Scholar]
- Grudniewska, K.L. Ion Flotation Cs+, Sr2+, Ba2+ and Co2+ Ion Flotation from Dilute Aqueous Solutions with Macrocyclic Compounds; Wrocław University of Technology: Wrocław, Poland, 2012. [Google Scholar]
- Lemlich, R. Adsorptive Bubble Separation Techniques; Elsevier Science & Technology: Saint Louis, MO, USA, 2012. [Google Scholar]
- Sobianowska-Turek, A.; Ulewicz, M.; Sobianowska, K. Ion flotation and solvent sublation of zinc (II) and manganese (II) in the presence of proton-ionizable lariat ethers. Physicochem. Probl. Miner. Process. 2016, 52, 1048–1060. [Google Scholar] [CrossRef]
- Ulewicz, M.; Walkowiak, W.; Bartsch, R.A. Ion flotation of zinc (II) and cadmium (II) with proton-ionizable lariat ethers—Effect of cavity size. Sep. Purif. Technol. 2006, 48, 264–269. [Google Scholar] [CrossRef]
- Ulewicz, M.; Walkowiak, W.; Brandt, K.; Porwolik-Czomperlik, I. Ion Flotation of Zinc (II) and Cadmium (II) in the Presence of Side-Armed Diphosphaza-16-Crown-6 Ethers. Sep. Sci. Technol. 2003, 38, 633–645. [Google Scholar] [CrossRef]
- Ulewicz, M.; Walkowiak, W.; Jang, Y.; Kim, J.S.; Bartsch, R.A. Ion flotation of cadmium (II) and zinc (II) in the presence of proton-ionizable lariat ethers. Anal. Chem. 2003, 75, 2276–2279. [Google Scholar] [CrossRef] [PubMed]
- Maciejewski, P.; Ulewicz, M.; Robak, W.; Walkowiak, W. Lariat ethers with a novel proton-ionisable groups: New generation of collectors in ion flotation process. Int. J. Environ. Waste Manag. 2011, 8. [Google Scholar] [CrossRef]
- Kozłowski, C.A.; Ulewicz, M.; Walkowiak, W. Removal of zinc and cadmium ions from aqueous chloride solutions by ion flotation and liquid membranes. Physicochem. Probl. Miner. Process. 2000, 34, 141–151. [Google Scholar]
- Charewicz, W.; Hoławiecka, B.; Walkowiak, W. Selective Flotation of Zinc(II) and Silver(I) Ions from Dilute Aqueous Solutions; Wrocław University of Technology: Wrocław, Poland, 1998. [Google Scholar]
- Walkowiak, W. Mechanism of Selective Ion Flotation. 1. Selective Flotation of Transition Metal Cations. Sep. Sci. Technol. 1991, 26, 559–568. [Google Scholar] [CrossRef]
- Jurkiewicz, K. The removal of zinc from solutions by foam separation, I. Foam separation of complex zinc anions. Int. J. Miner. Process. 1990, 28, 173–187. [Google Scholar] [CrossRef]
- Sobianowska-Turek, A.; Szczepaniak, W.; Żurek, A.; Satora, A.; Starowicz, A. The Method of Utilizing the Waste Mass of Zn-C and Zn-Mn Batteries Left after the Removal of the Ferromagnetic Fraction. PL Patent 220853 B1, 25 August 2011. [Google Scholar]
- Polat, H.; Erdogan, D. Heavy metal removal from waste waters by ion flotation. J Hazard. Mater. 2007, 148, 267–273. [Google Scholar] [CrossRef] [PubMed]
- Commision, E. Batteries & Accumulators. Available online: https://ec.europa.eu/environment/waste/batteries/index.htm (accessed on 3 February 2021).
Publisher’s Note: MDPI stays neutral with regard to jurisdictional claims in published maps and institutional affiliations. |
© 2021 by the authors. Licensee MDPI, Basel, Switzerland. This article is an open access article distributed under the terms and conditions of the Creative Commons Attribution (CC BY) license (http://creativecommons.org/licenses/by/4.0/).
















