The Application of Radiochemical Measurements of PWR Spent Fuel for the Validation of Burnup Codes
Abstract
1. Introduction
2. Materials and Methods
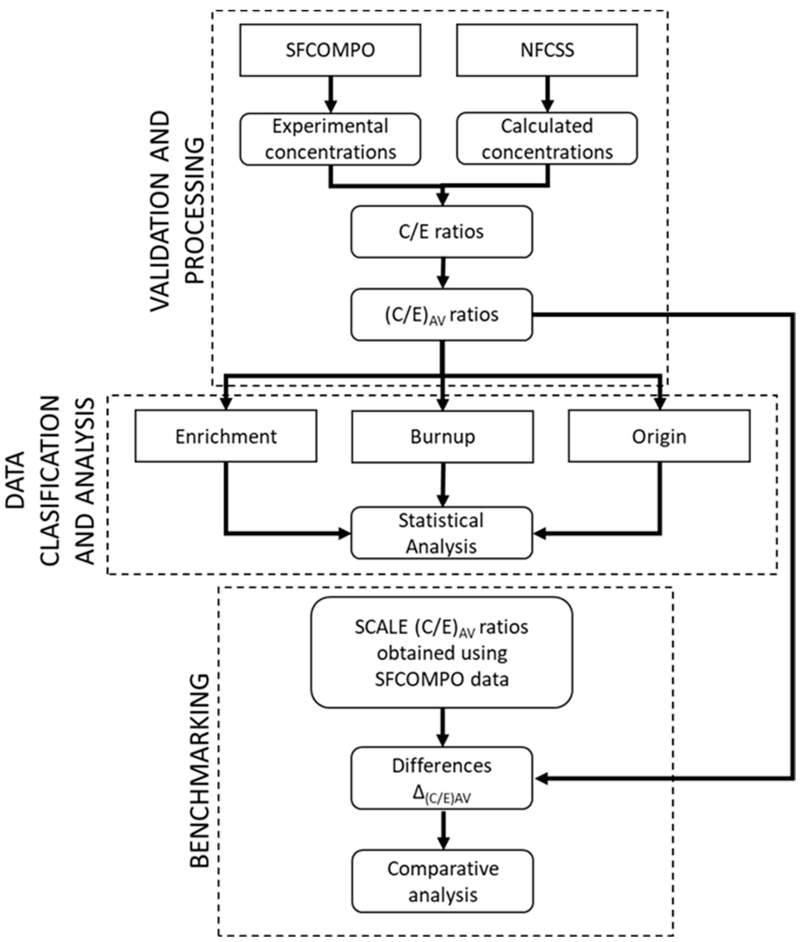
2.1. NFCSS System
2.2. SFCOMPO Database
2.3. Reference Data
2.4. Validation Procedure
3. Results
3.1. Validation
3.2. Comparative Analysis
4. Discussion and Conclusions
- (a)
- The NFCSS system is not mature enough to reliably predict the isotopic concentrations of spent nuclear fuel. However, it is suitable for the first approximation calculations before using the numerical tools considering the 3D geometry of burnup system, e.g., Monte Carlo tools.
- (b)
- The obtained average (C/E)AV ratios show that a better consistency with the experimental measurements was obtained in the case of major actinides. The results for minor actinides are characterised by the average (C/E)AV ratios further to unity and by high standard deviations.
- (c)
- The less accurate results in average (C/E)AV ratios for Np, Am, and Cm isotopes may also originate from the higher experimental uncertainties for minor actinides.
- (d)
- The obtained numerical isotopic concentrations using the NFCSS system are rather underestimated compared to the experimental measurements, which leads to the average (C/E)AV ratios below unity and indicates the need for improvements in the NFCSS system.
- (e)
- The sources of inconsistencies between the experimental measurements and numerical simulations are related to the nature of the NFCSS system rather than to the erroneous results of the destructive assay.
- (f)
- The comparative analysis with the results of a more advanced numerical tool (SCALE) shows acceptable differences between both calculation systems, however, the standard deviations for NFCSS are higher.
- (g)
- The behaviour of the obtained average (C/E)AV ratios, regardless of the applied criteria, do not show any direct trends, which indicates the need for individual analysis of each fuel sample in a more comprehensive validation study.
- (h)
- In the case of some isotopes, especially 238U, the interquartile ranges and whiskers are small, mainly due to large atomic mass and small relative mass depletion with burnup.
- (i)
- The standardised methodology of the uncertainty assessment of the measured and calculated isotopic concentrations should be developed and applied in new irradiation, measurement and validation campaigns. This will provide a reliable basis for the final uncertainty assessment.
Funding
Institutional Review Board Statement
Informed Consent Statement
Data Availability Statement
Acknowledgments
Conflicts of Interest
References
- The Organisation for Economic Cooperation and Development. Nuclear Energy Agency. Expert Group on Assay Data of Spent Nuclear Fuel. Available online: https://www.oecd-nea.org/jcms/pl_21515/sfcompo-2-0-spent-fuel-isotopic-composition (accessed on 24 February 2022).
- International Atomic Energy Agency. Nuclear Fuel Cycle Simulation System. Available online: https://infcis.iaea.org/NFCSS/About.cshtml (accessed on 24 February 2022).
- Michel-Sendis, F.; Gauld, I.; Martinez, J.S.; Alejano, C.; Bossant, M.; Boulanger, D.; Cabellos, O.; Chrapciak, V.; Conde, J.; Fast, I.; et al. SFCOMPO-2.0: An OECD NEA database of spent nuclear fuel isotopic assays, reactor design specifications, and operating data. Ann. Nucl. Energy 2017, 110, 779–788. [Google Scholar] [CrossRef]
- Gauld, I.C.; Williams, M.L.; Michel-Sendis, F.; Martinez, J.S. Integral nuclear data validation using experimental spent nuclear fuel compositions. Nucl. Eng. Technol. 2017, 49, 1226–1233. [Google Scholar] [CrossRef]
- Ilas, G.; Gauld, I.C.; Radulescu, G. Validation of new depletion capabilities and ENDF/B-VII data libraries in SCALE. Ann. Nucl. Energy 2012, 46, 43–55. [Google Scholar] [CrossRef]
- Francis, M.W.; Weber, C.F.; Pigni, M.T.; Gauld, I.C. Reactor Fuel Isotopics and Code Validation for Nuclear Applications. Oak Ridge National Laboratory. Reactor and Nuclear Systems Division; ORNL/TM-2014/464; Oak Ridge National Laboratory: Oak Ridge, TN, USA, 2014. [Google Scholar]
- Gauld, I.C.; Mertyurek, U. Validation of BWR Spent Nuclear Fuel Isotopic Predictions with Applications to Burnup Credit. Nucl. Eng. Des. 2019, 345, 110–124. [Google Scholar] [CrossRef]
- Price, D.; Radaideh, M.I.; Mui, T.; Katare, M.; Kozlowski, T. Multiphysics Modeling and Validation of Spent Fuel Isotopics Using Coupled Neutronics/Thermal-Hydraulics Simulations. Sci. Technol. Nucl. Install. 2020, 2020, 2764634. [Google Scholar] [CrossRef]
- Detkina, A.; Litskevitch, D.; Peakman, A.; Merk, B. Criticality Analysis for BWR Spent Fuel Based on the Burnup Credit Evaluation from Full Core Simulations. Appl. Sci. 2021, 11, 1498. [Google Scholar] [CrossRef]
- Detkina, A.; Litskevitch, D.; Peakman, A.; Merk, B. Burnup Credit Evaluation for BWR Spent Fuel from Full Core Calculations. Appl. Sci. 2020, 10, 7549. [Google Scholar] [CrossRef]
- Detkina, A.; Peakman, A.; Litskevich, D.; Liang, J.-H.; Merk, B. Evaluation of BWR Burnup Calculations Using Deterministic Lattice Codes SCALE-6.2, WIMS-10A and CASMO5. Energies 2020, 13, 2573. [Google Scholar] [CrossRef]
- Kashima, T.; Suyama, K.; Mochizuki, H. Validation of Burnup Calculation Code SWAT4 by Evaluation of Isotopic Composition Data of Mixed Oxide Fuel Irradiated in Pressurized Water Reactor. Energy Procedia 2015, 71, 159–167. [Google Scholar] [CrossRef][Green Version]
- Yamamoto, T.; Suzuki, M.; Ando, Y.; Nagano, H. Analysis of measured isotopic compositions of high-burnup PWR MOX and UO2 fuels in the MALIBU program. J. Nucl. Sci. Technol. 2012, 49, 910–925. [Google Scholar] [CrossRef]
- Frankl, M.; Hursin, M.; Rochman, D.; Vasiliev, A.; Ferroukhi, H. Nuclear Data Uncertainty Quantification in Criticality Safety Evaluations for Spent Nuclear Fuel Geological Disposal. Appl. Sci. 2021, 11, 6499. [Google Scholar] [CrossRef]
- Vasiliev, A.; Herrero, J.; Pecchia, M.; Rochman, D.; Ferroukhi, H.; Caruso, S. Preliminary Assessment of Criticality Safety Constraints for Swiss Spent Nuclear Fuel Loading in Disposal Canisters. Materials 2019, 12, 494. [Google Scholar] [CrossRef] [PubMed]
- Oettingen, M.; Cetnar, J. Validation of gadolinium burnout using PWR benchmark specification. Nucl. Eng. Des. 2014, 273, 359–366. [Google Scholar] [CrossRef]
- Oettingen, M.; Cetnar, J. Comparative analysis between measured and calculated concentrations of major actinides using destructive assay data from Ohi-2 PWR. Nukleonika 2015, 60, 571–580. [Google Scholar] [CrossRef]
- International Atomic Energy Agency. Nuclear Fuel Cycle Simulation System: Improvements and Applications; IAEA-TECDOC-1864; International Atomic Energy Agency: Vienna, Austria, 2019. [Google Scholar]
- International Atomic Energy Agency. Nucleus Information Resource Portal. Available online: https://nucleus.iaea.org (accessed on 24 February 2022).
- Oettingen, M. Assessment of the Radiotoxicity of Spent Nuclear Fuel from a Fleet of PWR Reactors. Energies 2021, 14, 3094. [Google Scholar] [CrossRef]
- Cetnar, J.; Stanisz, P.; Oettingen, M. Linear Chain Method for Numerical Modelling of Burnup Systems. Energies 2021, 14, 1520. [Google Scholar] [CrossRef]
- Tavakkoli, E.; Zangian, M.; Minuchehr, A.; Zolfaghari, A. Development and Validation of ISOBURN, a New Depletion Code. Ann. Nucl. Energy 2021, 159, 108319. [Google Scholar] [CrossRef]
- Oettingen, M.; Cetnar, J.; Mirowski, T. The MCB code for numerical modelling of fourth generation nuclear reactors. Comput. Sci. 2015, 16, 329–350. [Google Scholar] [CrossRef]
- Stanisz, P.; Oettingen, M.; Cetnar, J. Development of a Trajectory Period Folding Method for Burnup Calculations. Energies 2022, 15, 2245. [Google Scholar] [CrossRef]
- Oettingen, M.; Stanisz, P. Monte Carlo modelling of Th-Pb fuel assembly with californium neutron source. Nukleonika 2018, 63, 87–91. [Google Scholar] [CrossRef]







| Isotope | Enrichment [wt.%] | Burnup [GWd/tUi] | Total | UAV [%] | ||||||||
|---|---|---|---|---|---|---|---|---|---|---|---|---|
| 3.0< | 3.0–4.0 | >4.0 | 10< | 10–20 | 20–30 | 30–40 | 40–50 | 50–60 | 60< | |||
| 235U | 74 | 142 | 53 | 14 | 51 | 88 | 58 | 28 | 19 | 11 | 269 | 1.67 |
| 236U | 74 | 140 | 50 | 14 | 51 | 88 | 56 | 28 | 18 | 9 | 264 | 2.23 |
| 238U | 74 | 142 | 48 | 14 | 51 | 88 | 58 | 26 | 19 | 8 | 264 | 0.31 |
| 237Np | 19 | 30 | 44 | 7 | 10 | 25 | 12 | 13 | 18 | 8 | 93 | 6.78 |
| 238Pu | 60 | 75 | 49 | 6 | 22 | 75 | 39 | 15 | 19 | 8 | 184 | 5.31 |
| 239Pu | 74 | 142 | 53 | 14 | 51 | 88 | 58 | 28 | 19 | 11 | 269 | 1.98 |
| 240Pu | 74 | 141 | 53 | 14 | 51 | 88 | 57 | 28 | 19 | 11 | 268 | 2.25 |
| 241Pu | 74 | 141 | 49 | 14 | 51 | 88 | 57 | 27 | 19 | 8 | 264 | 2.24 |
| 242Pu | 74 | 141 | 47 | 14 | 51 | 88 | 57 | 27 | 19 | 6 | 262 | 2.88 |
| 241Am | 33 | 41 | 44 | 3 | 11 | 47 | 24 | 10 | 15 | 8 | 118 | 18.17 |
| 242mAm | 15 | 26 | 25 | 3 | 6 | 30 | 14 | 4 | 9 | 0 | 66 | 14.33 |
| 243Am | 16 | 38 | 53 | 3 | 6 | 43 | 15 | 10 | 19 | 11 | 107 | 19.03 |
| 242Cm | 32 | 46 | 12 | 3 | 9 | 48 | 22 | 4 | 4 | 0 | 90 | 33.38 |
| 244Cm | 35 | 48 | 25 | 3 | 11 | 50 | 24 | 6 | 6 | 8 | 108 | 11.84 |
| Isotope | Japan | Total | ||||
|---|---|---|---|---|---|---|
| Takahama-3 | Miham-3 | Ohi-1 | Ohi-2 | Genkai-1 | ||
| 235U | 16 | 9 | 1 | 5 | 2 | 33 |
| 236U | 16 | 9 | 1 | 5 | 0 | 31 |
| 238U | 16 | 9 | 1 | 5 | 2 | 33 |
| 237Np | 11 | 5 | 1 | 5 | 1 | 23 |
| 238Pu | 16 | 9 | 1 | 5 | 2 | 33 |
| 239Pu | 16 | 9 | 1 | 5 | 2 | 33 |
| 240Pu | 16 | 9 | 1 | 5 | 2 | 33 |
| 241Pu | 16 | 9 | 1 | 5 | 2 | 33 |
| 242Pu | 16 | 9 | 1 | 5 | 2 | 33 |
| 241Am | 16 | 9 | 1 | 5 | 2 | 33 |
| 242mAm | 16 | 7 | 1 | 5 | 1 | 30 |
| 243Am | 16 | 9 | 1 | 5 | 1 | 32 |
| 242Cm | 16 | 8 | 1 | 5 | 0 | 30 |
| 244Cm | 16 | 9 | 1 | 5 | 1 | 32 |
| Isotope | USA | Total | ||||
|---|---|---|---|---|---|---|
| Three Mile Island-1 | Turkey Point-3 | H.B. Robinson-2 | Yankee-1 | Calvert Cliffs-1 | ||
| 235U | 24 | 13 | 7 | 78 | 9 | 131 |
| 236U | 24 | 13 | 7 | 78 | 9 | 131 |
| 238U | 24 | 13 | 7 | 78 | 9 | 131 |
| 237Np | 24 | 0 | 5 | 17 | 9 | 55 |
| 238Pu | 24 | 13 | 7 | 23 | 9 | 76 |
| 239Pu | 24 | 13 | 7 | 78 | 9 | 131 |
| 240Pu | 24 | 13 | 7 | 77 | 9 | 130 |
| 241Pu | 24 | 13 | 7 | 77 | 9 | 130 |
| 242Pu | 24 | 13 | 7 | 77 | 9 | 130 |
| 241Am | 19 | 0 | 1 | 0 | 9 | 29 |
| 242mAm | 13 | 0 | 0 | 0 | 0 | 13 |
| 243Am | 24 | 0 | 1 | 0 | 0 | 25 |
| 242Cm | 0 | 0 | 1 | 0 | 0 | 1 |
| 244Cm | 0 | 0 | 1 | 0 | 0 | 1 |
| Isotope | Germany | Spain | Italy | Switzerland | Total | |
|---|---|---|---|---|---|---|
| Neckerwestheim-2 | Obrigheim-1 | Vandellos-2 | Trino Vercellese-1 | Gosgen-1 | ||
| 235U | 1 | 36 | 15 | 49 | 4 | 105 |
| 236U | 1 | 36 | 12 | 49 | 4 | 102 |
| 238U | 1 | 36 | 10 | 49 | 4 | 100 |
| 237Np | 1 | 0 | 11 | 0 | 3 | 15 |
| 238Pu | 1 | 36 | 11 | 23 | 4 | 75 |
| 239Pu | 1 | 36 | 15 | 49 | 4 | 105 |
| 240Pu | 1 | 36 | 15 | 49 | 4 | 105 |
| 241Pu | 1 | 36 | 11 | 49 | 4 | 101 |
| 242Pu | 1 | 36 | 9 | 49 | 4 | 99 |
| 241Am | 1 | 28 | 11 | 12 | 4 | 56 |
| 242mAm | 1 | 7 | 0 | 13 | 2 | 23 |
| 243Am | 1 | 17 | 15 | 13 | 4 | 50 |
| 242Cm | 1 | 33 | 0 | 23 | 2 | 59 |
| 244Cm | 1 | 36 | 11 | 23 | 4 | 75 |
| Isotope | No of Samples | Mean (C/E)AV | Standard Deviation | Median (C/E)AV | Minimum | Maximum | 1st Quartile | 3th Quartile | 10th Percentile | 90th Percentile |
|---|---|---|---|---|---|---|---|---|---|---|
| 235U | 269 | 0.90 | 0.14 | 0.94 | 0.48 | 1.49 | 0.81 | 0.98 | 0.73 | 1.01 |
| 236U | 264 | 0.95 | 0.06 | 0.96 | 0.60 | 1.08 | 0.92 | 0.98 | 0.87 | 1.00 |
| 238U | 264 | 1.00 | 0.01 | 1.00 | 0.93 | 1.04 | 1.00 | 1.00 | 1.00 | 1.01 |
| 237Np | 92 | 1.01 | 0.22 | 1.02 | 0.55 | 1.66 | 0.85 | 1.13 | 0.76 | 1.28 |
| 238Pu | 183 | 0.77 | 0.19 | 0.80 | 0.40 | 1.49 | 0.60 | 0.91 | 0.52 | 0.98 |
| 239Pu | 269 | 0.88 | 0.14 | 0.87 | 0.61 | 1.21 | 0.79 | 1.02 | 0.69 | 1.07 |
| 240Pu | 268 | 1.04 | 0.09 | 1.05 | 0.72 | 1.34 | 1.00 | 1.10 | 0.94 | 1.14 |
| 241Pu | 264 | 0.90 | 0.33 | 0.84 | 0.26 | 2.25 | 0.69 | 1.06 | 0.55 | 1.28 |
| 242Pu | 262 | 0.71 | 0.18 | 0.75 | 0.20 | 1.39 | 0.57 | 0.84 | 0.45 | 0.89 |
| 241Am | 118 | 0.29 | 0.31 | 0.17 | 0.01 | 1.41 | 0.08 | 0.44 | 0.06 | 0.83 |
| 242mAm | 66 | 0.64 | 0.45 | 0.58 | 0.06 | 2.21 | 0.28 | 0.86 | 0.14 | 1.26 |
| 243Am | 107 | 0.81 | 0.35 | 0.81 | 0.22 | 2.08 | 0.53 | 1.00 | 0.40 | 1.20 |
| 242Cm | 78 | 0.41 | 0.26 | 0.35 | 0.06 | 1.13 | 0.17 | 0.58 | 0.14 | 0.80 |
| 244Cm | 108 | 0.70 | 0.44 | 0.58 | 0.14 | 2.42 | 0.43 | 0.74 | 0.34 | 1.22 |
| Isotope | NFCSS | NFCSS | ||||
|---|---|---|---|---|---|---|
| Chosen Samples | All Samples | |||||
| Samples | (C/E)AV | σ | Samples | (C/E)AV | σ | |
| 235U | 123 | 0.97 | 0.07 | 269 | 0.90 | 0.14 |
| 236U | 123 | 0.93 | 0.06 | 264 | 0.95 | 0.06 |
| 238U | 123 | 1.001 | 0.003 | 264 | 1.00 | 0.01 |
| 237Np | 32 | 1.09 | 0.25 | 92 | 1.01 | 0.22 |
| 238Pu | 97 | 0.74 | 0.19 | 184 | 0.77 | 0.19 |
| 239Pu | 123 | 0.95 | 0.11 | 269 | 0.88 | 0.14 |
| 240Pu | 123 | 1.08 | 0.08 | 268 | 1.04 | 0.09 |
| 241Pu | 123 | 0.91 | 0.28 | 264 | 0.90 | 0.33 |
| 242Pu | 123 | 0.68 | 0.18 | 262 | 0.71 | 0.18 |
| 241Am | 69 | 0.31 | 0.30 | 118 | 0.29 | 0.31 |
| 243Am | 53 | 0.68 | 0.33 | 107 | 0.81 | 0.35 |
| 244Cm | 71 | 0.52 | 0.18 | 108 | 0.70 | 0.44 |
| Isotope | ΔSAMPLES | ΔSCALE | Δ(C/E)AV | |||||||
|---|---|---|---|---|---|---|---|---|---|---|
| NCH | NAL | S61 | S51 | S61-NCH | S61-NAL | S51-NCH | S51-NAL | S61-S51 | NCH-NAL | |
| 235U | 31 | 177 | 1.19% | 0.30% | 4.46% | 10.60% | 3.61% | 9.80% | 0.89% | 6.43% |
| 236U | 46 | 187 | −1.94% | −1.32% | 4.69% | 3.54% | 5.27% | 4.12% | −0.61% | −1.22% |
| 238U | 31 | 172 | −0.10% | −0.10% | −0.16% | −0.06% | −0.16% | −0.06% | negl | 0.10% |
| 237Np | −4 | 56 | 3.75% | 6.72% | −4.71% | 2.47% | −1.49% | 5.47% | −3.18% | 6.85% |
| 238Pu | 20 | 107 | −13.25% | −9.41% | 16.36% | 12.31% | 19.20% | 15.28% | −3.51% | −4.84% |
| 239Pu | 31 | 177 | 3.94% | 2.91% | 9.14% | 15.03% | 8.17% | 14.12% | 1.06% | 6.48% |
| 240Pu | 31 | 176 | 2.15% | 1.86% | −5.74% | −2.12% | −6.05% | −2.42% | 0.29% | 3.42% |
| 241Pu | 31 | 172 | −1.42% | −2.56% | 8.17% | 8.47% | 7.13% | 7.43% | 1.12% | 0.32% |
| 242Pu | 32 | 171 | −6.27% | −1.63% | 28.25% | 24.64% | 31.39% | 27.93% | −4.57% | −5.04% |
| 241Am | 30 | 79 | 9.26% | 7.83% | 72.30% | 73.24% | 71.86% | 72.82% | 1.54% | 3.40% |
| 243Am | 15 | 69 | 2.82% | 10.39% | 34.37% | 21.26% | 39.48% | 27.40% | −8.45% | −19.97% |
| 244Cm | 14 | 51 | −4.60% | −1.42% | 45.35% | 27.04% | 47.02% | 29.26% | −3.14% | −33.50% |
Publisher’s Note: MDPI stays neutral with regard to jurisdictional claims in published maps and institutional affiliations. |
© 2022 by the author. Licensee MDPI, Basel, Switzerland. This article is an open access article distributed under the terms and conditions of the Creative Commons Attribution (CC BY) license (https://creativecommons.org/licenses/by/4.0/).
Share and Cite
Oettingen, M. The Application of Radiochemical Measurements of PWR Spent Fuel for the Validation of Burnup Codes. Energies 2022, 15, 3041. https://doi.org/10.3390/en15093041
Oettingen M. The Application of Radiochemical Measurements of PWR Spent Fuel for the Validation of Burnup Codes. Energies. 2022; 15(9):3041. https://doi.org/10.3390/en15093041
Chicago/Turabian StyleOettingen, Mikołaj. 2022. "The Application of Radiochemical Measurements of PWR Spent Fuel for the Validation of Burnup Codes" Energies 15, no. 9: 3041. https://doi.org/10.3390/en15093041
APA StyleOettingen, M. (2022). The Application of Radiochemical Measurements of PWR Spent Fuel for the Validation of Burnup Codes. Energies, 15(9), 3041. https://doi.org/10.3390/en15093041
