Root Reinforcement Effect on Cover Slopes of Solid Waste Landfill in Soil Bioengineering
Abstract
1. Introduction
2. Root Reinforcement Theory of Revegetation Slopes
3. Materials and Methods
3.1. Shear Strength Test and Tensile Strength Test
3.1.1. Geotechnical Characteristics of the Test Samples
3.1.2. Test Methods
3.2. Stability Analysis Method of Cover Slopes
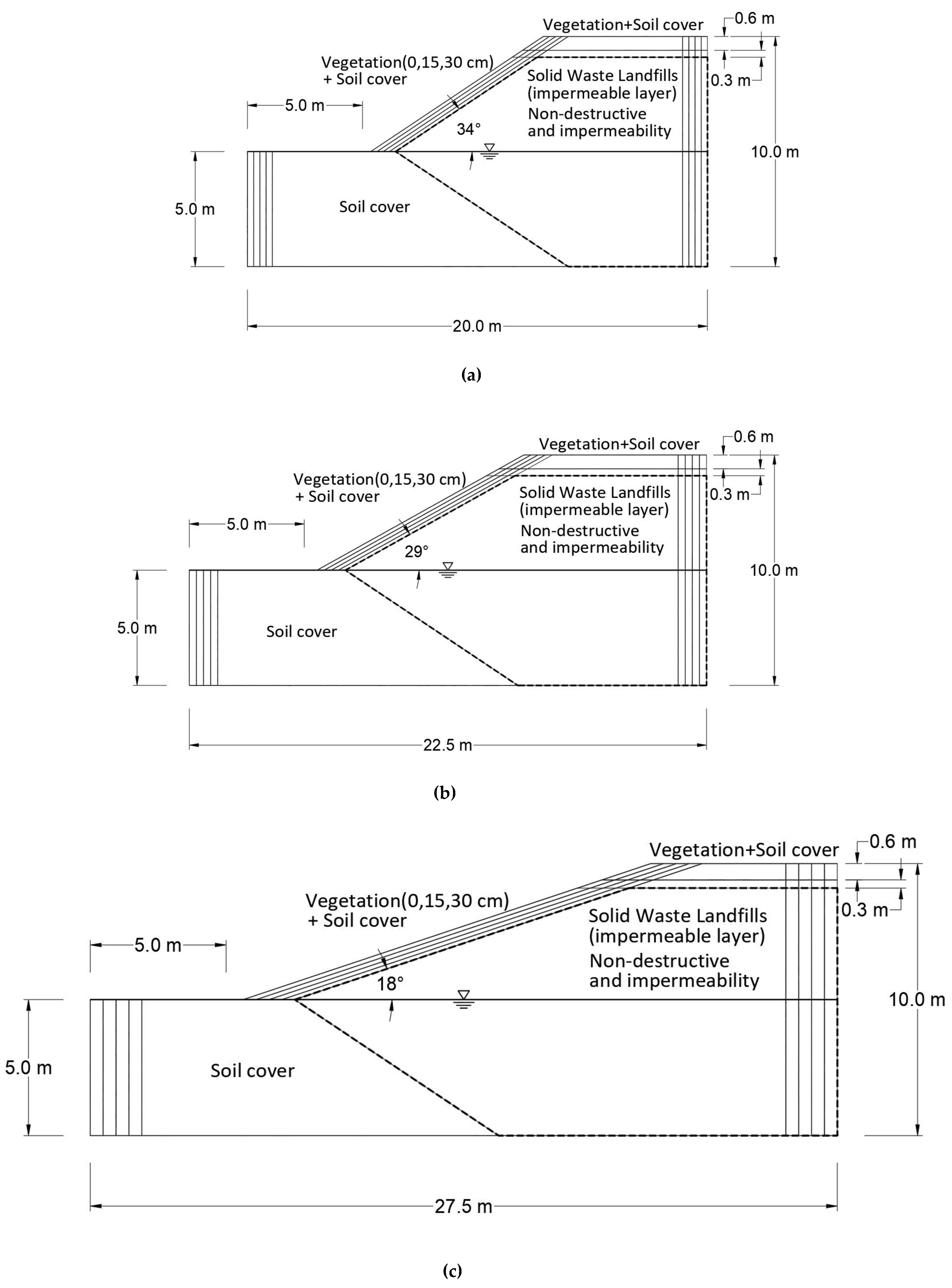
3.2.1. Analysis Condition
3.2.2. Seepage–Stability Analysis Method in Unsaturated Slope
4. Results and Discussion
4.1. Root Reinforcement of Large Direct Shear Test
4.2. Root Reinforecment of Tensile Strength Test
4.3. Stability Analysis of Cover Slopes
5. Conclusions
- A large direct shear test and a root tensile strength test were conducted to analyze the ground reinforcement effect provided by vegetation roots. The correlation between the root cohesion calculated in the direct shear test and the root tensile strength measured in the tensile strength test was analyzed, and the correction factor of 0.47 was proposed for the root cohesion of herbaceous plants or shrubs used in the slope vegetation method in South Korea.
- The stability effect of vegetation roots on the cover slope of the solid waste landfills was analyzed by coupling the unsaturated seepage analysis of rainfall conditions, and the stability analysis of the slope. The increase in the shear strength of the ground caused by the roots was calculated using the root cohesion correction factor, and the root tensile strength test results. The impact depth of the vegetation root was applied at 15 to 30 cm in consideration of the characteristics of vegetation plants in landfills. As a result of the slope stability analysis, compared to the uncompacted condition without considering the root effect, the minimum safety rate increased from 106.5 to 255.8% for the cover slope considering the root reinforcement effect and compacted condition. Hence, vegetation roots and the degree of compactness have an important influence on the stability of the cover slope of a landfill facility.
- For the vegetation plants planted on the cover slope of solid waste landfills, it is suitable to mix and install grasses, herbaceous plants, and small shrubs with a shallow depth of growth to protect the landfill facility lining system and maintain the vegetation; it is reasonable to apply 15 to 20 cm to the root impact depth of the vegetation plants, considering domestic and foreign research cases, the related standards, and the characteristics of the vegetation plants. Additionally, in order to secure the minimum thickness required for the maintenance of the final cover function and the growth of the vegetation plants, the results of the stability analysis of the slope in this study indicate that the cover thickness of the cover slope in solid waste landfills should be at least 30 cm.
Author Contributions
Funding
Institutional Review Board Statement
Informed Consent Statement
Data Availability Statement
Conflicts of Interest
References
- Bischetti, G.B.; Di Fi Dio, M.; Florineth, F. On the origin of soil bioengineering. Landsc. Res. 2014, 39, 583–595. [Google Scholar] [CrossRef]
- Giupponi, L.; Borgonovo, G.; Giorgi, A.; Bischetti, G.B. How to renew soil bioengineering for slope stabilization: Some proposals. Landsc. Ecol. Eng. 2019, 15, 37–50. [Google Scholar] [CrossRef]
- Rey, F.; Bifulco, C.; Bischetti, G.B.; Bourrier, F.; De Cesare, G.; Florineth, F.; Graf, F.; Marden, M.; Mickovski, S.B.; Phillips, C.; et al. Soil and water bioengineering: Practice and research needs for reconciling natural hazard control and ecological restoration. Sci. Total Environ. 2019, 648, 1210–1218. [Google Scholar] [CrossRef] [PubMed]
- Stokes, A.; Douglas, G.B.; Fourcaud, T.; Giadrossich, F.; Gillies, C.; Hubble, T.; Kim, J.H.; Loades, K.W.; Mao, Z.; McIvor, I.R.; et al. Ecological mitigation of hillslope instability: Ten key issues facing researchers and practitioners. Plant Soil 2014, 377, 1–23. [Google Scholar] [CrossRef]
- Cislaghi, A.; Alterio, E.; Fogliata, P.; Rizzi, A.; Lingua, E.; Vacchiano, G.; Bischetti, G.B.; Sitzia, T. Effects of tree spacing and thinning on root reinforcement in mountain forests of the European Southern Alps. For. Ecol. Manag. 2021, 482, 118873. [Google Scholar] [CrossRef]
- Dias, A.S.; Pirone, M.; Urciuoli, G. Review on the Methods for Evaluation of Root Reinforcement in Shallow Landslides. In Proceedings of the 4th World Landslide Forum, Ljubljana, Slovenia, 29 May–2 June 2017; pp. 641–648. [Google Scholar]
- Schwarz, M.; Rist, A.; Cohen, D.; Giadrossich, F.; Egorov, P.; Büttner, D.; Stolz, M.; Thormann, J.-J. Root reinforcement of soils under compression. J. Geophys. Res. Earth Surf. 2015, 120, 2103–2120. [Google Scholar] [CrossRef]
- Comino, E.; Druetta, A. The effect of Poaceae roots on the shear strength of soils in the Italian alpine environment. Soil Tillage Res. 2010, 106, 194–201. [Google Scholar] [CrossRef]
- Cislaghi, A.; Cohen, D.; Gasser, E.; Bischetti, G.B.; Schwarz, M. Field measurements of passive earth forces in steep, shallow, landslide-prone areas. J. Geophys. Res. Earth Surf. 2019, 124, 838–866. [Google Scholar] [CrossRef]
- Giadrossich, F.; Schwarz, M.; Cohen, D.; Cislaghi, A.; Vergani, C.; Hubble, T.; Phillips, C.; Stokes, A. Methods to measure the mechanical behaviour of tree roots: A review. Ecol. Eng. 2017, 109, 256–271. [Google Scholar] [CrossRef]
- Vergani, C.; Giadrossich, F.; Schwarz, M.; Buckley, P.; Conedera, M.; Pividori, M.; Salbitano, F.; Rauch, H.P.; Lovreglio, R. Root reinforcement dynamics of European coppice woodlands and their effect on shallow landslides: A review. Earth Sci. Rev. 2017, 167, 88–102. [Google Scholar] [CrossRef]
- Gilardelli, F.; Vergani, C.; Gentili, R.; Bonis, A.; Chanteloup, P.; Citterio, S.; Chiaradia, E.A. Root Characteristics of Herbaceous Species for Topsoil Stabilization in Restoration Projects. Land Degrad. Dev. 2017, 28, 2074–2085. [Google Scholar] [CrossRef]
- Giupponi, L.; Corti, C.; Manfredi, P. The vegetation of the Borgotrebbia landfill (Piacenza, Italy): Phytosociological and ecological characteristics. Plant Biosyst. An Int. J. Deal. Asp. Plant Biol. 2015, 149, 865–874. [Google Scholar] [CrossRef]
- Ng, C.W.W.; Ni, J.J.; Leung, A.K.; Wang, Z.J. A new and simple water retention model for root-permeated soils. Geotech. Lett. 2016, 6, 106–111. [Google Scholar] [CrossRef]
- Gallipoli, D.; Wheeler, S.J.; Karstunen, M. Modelling the variation of degree of saturation in a deformable unsaturated soil. Geotechnique 2003, 53, 105–112. [Google Scholar] [CrossRef]
- Leung, A.K.; Garg, A.; Ng, C.W.W. Effects of plant roots on soil–water retention and induced suction in vegetated soil. Eng. Geol. 2015, 193, 183–197. [Google Scholar] [CrossRef]
- Pollen, N.; Simon, A. Estimating the mechanical effects of riparian vegetation on stream bank stability using a fiber bundle model. Water Resour. Res. 2005, 41, W07025. [Google Scholar] [CrossRef]
- Schwarz, M.; Lehmann, P.; Or, D. Quantifying lateral root reinforcement in steep slopes-from a bundle of roots to tree stands. Earth Surf. Process. Landf. 2010, 35, 354–367. [Google Scholar] [CrossRef]
- Zhang, C.B.; Chen, L.H.; Liu, Y.P.; Ji, X.D.; Liu, X.P. Triaxial compression test of soil–root composites to evaluate influence of roots on soil shear strength. Ecol. Eng. 2010, 36, 19–26. [Google Scholar] [CrossRef]
- Foresta, V.; Capobianco, V.; Cascini, L. Influence of grass roots on shear strength of pyroclastic soils. Can. Geotech. J. 2020, 57, 1320–1334. [Google Scholar] [CrossRef]
- Cazzuffi, D.; Corneo, A.; Crippa, E. Slope stabilisation by perennial “gramineae” in southern Italy: Plant growth and temporal performance. Geotech. Geol. Eng. 2006, 24, 429–447. [Google Scholar] [CrossRef]
- Graf, F.; Frei, M.; Böll, A. Effects of vegetation on the angle of internal friction of a moraine. For. Snow Landsc. Res. 2009, 82, 61–77. [Google Scholar]
- Wu, T.H. Investigation of Landslides on Prince of Wales Island, Geotechnical Engineering Report 5; Civil Engineering Department, Ohio State University: Columbus, OH, USA, 1976. [Google Scholar]
- Waldron, L.J. The shear resistance of root permeated homogeneous and stratified soil. Soil Sci. Soc. Am. J. 1977, 132, 843–849. [Google Scholar] [CrossRef]
- Gray, D.H.; Leiser, A.J. Biotechnical Slope Protection and Erosion Control; Van Nostrand Reinhold: New York, NY, USA, 1982. [Google Scholar]
- Wu, T.H.; McKinnell, P.; Swanston, D.N. Strength of tree roots and landslides on Prince of Wales Island, Alaska. Can. Geotech. J. 1979, 16, 19–23. [Google Scholar] [CrossRef]
- Thomas, R.E.; Pollen-Bankhead, N. Modeling root-reinforcement with a fiber-bundle model and Monte Carlo simulation. Ecol. Eng. 2010, 36, 47–61. [Google Scholar] [CrossRef]
- Gray, D.H.; Ohashi, H. Mechanics of fiber reinforcements in sand. J. Geotech. Eng. Div. 1983, 109, 335–353. [Google Scholar] [CrossRef]
- Meijer, G.J.; Bengough, A.G.; Knappett, J.A.; Loades, K.W.; Nicoll, B.C. New in situ techniques for measuring the properties of root-reinforced soil laboratory evaluation. Geotechnique 2016, 66, 27–40. [Google Scholar] [CrossRef]
- Liang, T.; Bengough, A.G.; Knappett, J.A.; MuirWood, D.; Loades, K.W.; Hallett, P.D.; Boldrin, D.; Leung, A.K.; Meijer, G.J. Scaling of the reinforcement of soil slopes by living plants in a geotechnical centrifuge. Ecol. Eng. 2017, 109, 207–227. [Google Scholar] [CrossRef]
- Operstein, V.; Frydman, S. The influence of vegetation on soil strength. Proc. Inst. Civil Eng. Ground Improv. 2000, 4, 81–89. [Google Scholar] [CrossRef]
- Bischetti, G.B.; Chiaradia, E.A.; Epis, T.; Morlotti, E. Root cohesion of forest species in the Italian Alps. Plant Soil 2009, 324, 71–89. [Google Scholar] [CrossRef]
- Hales, T.C.; Ford, C.R.; Hwang, T.; Vose, J.M.; Band, L.E. Topographic and ecologic controls on root reinforcement. J. Geophys. Res. Earth Surf. 2009, 114. [Google Scholar] [CrossRef]
- Mao, Z.; Saint-André, L.; Genet, M.; Mine, F.X.; Jourdan, C.; Rey, H.; Courbaud, B.; Stokes, A. Engineering ecological protection against landslides in diverse mountain forests: Choosing cohesion models. Ecol. Eng. 2012, 45, 55–69. [Google Scholar] [CrossRef]
- Adhikari, A.R.; Gautam, M.R.; Yu, Z.; Imada, S.; Acharya, K. Estimation of root cohesion for desert shrub species in the Lower Colorado riparian ecosystem and its potential for streambank stabilization. Ecol. Eng. 2013, 51, 33–44. [Google Scholar] [CrossRef]
- Lee, I.M.; Sung, S.K.; Im, C.M. An experimental study on the effect of vegetation roots on slope stability of hillside slopes. J. Korean Geotech. Soc. 1991, 7, 51–66. [Google Scholar]
- Gray, D.H.; Sotir, R.B. Biotechnical and Soil Bioengineering Slope Stabilization: A Practical Guide for Erosion Control; Wiley & Sons: New York, NY, USA, 1996. [Google Scholar]
- Zhang, L.; Xia, Z.; Zhou, Z.; Liu, D.; Xu, W.; Li, M.; Li, T.; Zhao, B. Experimental study on tensile properties and reinforcement ability of plant roots. Environ. Pollut. Technol. 2018, 17, 729–738. [Google Scholar]
- Shin, E.C.; Lee, H.J.; Oh, Y.I. Prediction of Soil–water Characteristic Curve and Unsaturated Permeability Coefficient of Reclaimed Ground. J. Korean Geotech. Soc. 2004, 20, 109–120. [Google Scholar]
- Fredlund, D.G.; Xing, A. Equations for the Soil–water Characteristic Curve. Can. Geotech. J. 1994, 31, 521–532. [Google Scholar] [CrossRef]













| Geotechnical Physical Properties | Wet Unit Weight, γt (kN/m3) | Water Content, w (%) | Atterberg Limit | Unified Soil Classification System, USCS | |
|---|---|---|---|---|---|
| Liquid Limit, LL (%) | Plastic Limit, PL (%) | ||||
| Values | 12.8 | 9.4 | 46.6 | 37.0 | Well-graded sand with clay (SW-SC) | 
| Type | Wet Unit Weight γt (kN/m3) | Cohesion c (kPa) | Angle of Internal Friction φ (°) | |
|---|---|---|---|---|
| c-Bare Soil | c’ + cr-Rooted Soil | |||
| Compacted soil | 19 | 15 | 23 | 31 | 
| Uncompacted soil | 13 | 5 | 13 | 28 | 
| No. | Number of Root Diameters | RAR * (%) | ||||
|---|---|---|---|---|---|---|
| (0.0–2.0) mm | (2.0–4.0) mm | (4.0–6.0) mm | (6.0–8.0) mm | (8.0–12.0) mm | ||
| Root-01 | 2 | 15 | 2 | 4 | 2 | 48 | 
| Root-02 | 11 | 4 | 4 | 4 | 1 | 39 | 
| Moisture Condition | Unit | Water Content | ||||
|---|---|---|---|---|---|---|
| X1 | X2 | X3 | X4 | Average | ||
| Dry condition | % | 16.7 | 18.6 | 16.4 | 17.8 | 17.4 | 
| Wet condition | 49.6 | 80.3 | 99.6 | 154.7 | 96.0 | |
| Natural condition | 44.1 | 68.7 | 56.9 | 97.4 | 66.8 | |
| Slope Angle | Cover Slope Thickness (cm) | Safety Factor of the Compacted State (FS) | Safety Factor of the Uncompacted State (FS) | Change in the Safety Factor of the Uncompacted State to Compacted State (%) | 
|---|---|---|---|---|
| 1:1.5 | 15 | 12.012 | 5.817 | 206.5 | 
| 30 | 6.678 | 3.219 | 207.4 | |
| 45 | 4.816 | 2.339 | 205.9 | |
| 60 | 3.871 | 1.881 | 205.8 | |
| 1:1.8 | 15 | 13.356 | 6.506 | 205.3 | 
| 30 | 7.462 | 3.612 | 206.6 | |
| 45 | 5.378 | 2.609 | 206.1 | |
| 60 | 4.331 | 2.098 | 206.4 | |
| 1:3.0 | 15 | 20.033 | 9.415 | 212.8 | 
| 30 | 10.715 | 5.401 | 198.4 | |
| 45 | 7.747 | 3.758 | 206.2 | |
| 60 | 6.243 | 3.018 | 206.8 | 
| Publisher’s Note: MDPI stays neutral with regard to jurisdictional claims in published maps and institutional affiliations. | 
© 2021 by the authors. Licensee MDPI, Basel, Switzerland. This article is an open access article distributed under the terms and conditions of the Creative Commons Attribution (CC BY) license (https://creativecommons.org/licenses/by/4.0/).
Share and Cite
Park, J.; Kim, I.; Kang, J.-K. Root Reinforcement Effect on Cover Slopes of Solid Waste Landfill in Soil Bioengineering. Sustainability 2021, 13, 3991. https://doi.org/10.3390/su13073991
Park J, Kim I, Kang J-K. Root Reinforcement Effect on Cover Slopes of Solid Waste Landfill in Soil Bioengineering. Sustainability. 2021; 13(7):3991. https://doi.org/10.3390/su13073991
Chicago/Turabian StylePark, Jeongjun, Indae Kim, and Jeong-Ku Kang. 2021. "Root Reinforcement Effect on Cover Slopes of Solid Waste Landfill in Soil Bioengineering" Sustainability 13, no. 7: 3991. https://doi.org/10.3390/su13073991
APA StylePark, J., Kim, I., & Kang, J.-K. (2021). Root Reinforcement Effect on Cover Slopes of Solid Waste Landfill in Soil Bioengineering. Sustainability, 13(7), 3991. https://doi.org/10.3390/su13073991
 
         
                                                

 
       