Abstract
Ferrocement composites have uniform distribution and high surface area to volume ratio of reinforcement, which identifies them as a good strengthening material for use in structural applications. Because of these properties, they are considered as a substitution for some conventional structural strengthening methods. In this study, ten reinforced concrete (RC) beams of size 1220 mm × 100 mm × 150 mm were strengthened with ferrocement composites using a galvanized square weld, having volume fractions of 1.76% and 2.35%. For this study, ferrocement composites with mortar 1:2, w/c 0.4, and steel slag, with a 30% weight fraction of fine aggregate, are considered. The experimental results showed that the first crack load and the ultimate load are higher for RC beams strengthened with ferrocement having a volume fraction of 2.35% (Vr) and a steel slag replacement of 30%. Theoretical predictions were made based on the elastic moment approach; the ratio between the prediction to experimental moment capacity ranges between 0.99 and 1.04. The outcomes show that ferrocement is an effective strengthening technique for deficient reinforced concrete members
1. Introduction
The deficient RC members can be strengthened with fibers, such as carbon fibers, steel fibers, etc. [1,2,3], and other materials, including ferrocement composites. Ferrocement composites are the most widely used strengthening materials for deficient RC members because of their toughness, strength, and crack control. Beam column joints strengthened with ferrocement jacketing show enhanced moment capacity and low deflection, and they do not suffer heavy damage [4]. RC beams strengthened with ferrocement composites with extended metal mesh have developed energy absorption capacity when compared to specimens with weld mesh, and the ratio between the experimental and theoretical ultimate was 0.96 to 1.26 [5]. Fire damaged RC beams strengthened with single-layered ferrocement and double-layered ferrocement show an improvement of 46% and 72%, respectively [6]. RC beams strengthened with ferrocement and 6mm diameter shear connectors increase the moment capacity by 26% [7]. RC beams flexurally strengthened with U-jacketing ferrocement containing self-compacting mortar, with weld mesh, exhibits a 110% increase in load carrying capacity when compared to unstrengthened beams [8]. Ferrocement composites with a volume fraction of 3.68% and 30% steel slag replacement have a higher load carrying capacity, which makes them a significant strengthening materials for distressed RC members [9]. Reinforced concrete beams strengthened with single- and double-layered weld mesh ferrocement show an increased in load carrying capacity of 31.93% and 59.35%, respectively, when compared to unstrengthened beams [10]. Reinforced concrete beams strengthened with ferrocement containing steel mesh increases their load carrying capacity by 36% and their ductility by 23% under symmetrical loading [11]. Ferrocement with chicken mesh increases the load carrying capacity of the rectangular RC elements [12]. The flexural capacity of RC beams can be significantly increased with latex-induced ferrocement composites [13]. Beams strengthened with ferrocement with volume fractions of 0.26%, 0.52%, and 0.78% improved their flexural capacity compared with the control beam [14]. Genetic programing for ferrocement composites to predict the moment capacity yields a significant output compared to plastic analysis and nonlinear regression analysis [15]. Strengthened RC beams show better cracking behavior when jacketed with ferrocement containing steel slag as a replacement for fine aggregate [16]. Artificial neural network-predicted flexural capacity of strengthened RC beams with ferrocement composites showed that ANN is an effective tool for predicting the moment capacity based on experimental data [17]. The usage of high performance ferrocement for the strengthening of RC columns increases the moment capacity by three times that of the control column [18]. For the strengthening of RC beams, if the bonding joint is designed properly, shear failure may be avoided [19]. U-shaped welded wire jacketing for distressed RC beams enhances the load capacity, and the failure mode transforms from shear to flexure [20]. The shear performance of conventional RC and RC beams strengthened with ultrahigh performance fiber-reinforced concrete layers depends upon the shear span depth ratio [21]. The use of steel hysteretic column dampers for the seismic retrofit of structures increases the strength, ductility, and energy dissipation capacity of structures [22]. Full scale, two-story RC frames retrofitted with steel plate multi-slit dampers showed improvement in their seismic performance [23]. RC beams strengthened in the flexural region with precast ferrocement have higher moment capacity compared with in situ cast ferrocement [24]. The literature from various researchers clearly indicates that the type of wire, the volume fraction of mesh reinforcement, and the strength of the mortar in ferrocement laminates enhance the various mechanical properties. However, studies to investigate the effect of steel slag in mortar, different volume fractions of mesh reinforcement in ferrocement laminate, and the usage of such materials for the strengthening of structural elements and their impact on strength, ductility, and energy absorption capacity have not yet been conducted. Therefore, a technical knowledge gap exists in this area. This gap suggests the benefit of a research study regarding the effect of steel slag as a fine aggregate replacement in ferrocement laminates for flexural strengthening of RC beams. Hence, it is necessary to undertake more studies on the flexural behavior of ferrocement laminates using modified cement mortar. In this study, RC beams are strengthened with ferrocement laminates having volume fractions of 1.76% and 2.35%, with a 30% replacement of sand by steel slag. The strengthened beams are subjected to the flexural load. Based on the experimental investigation, the first crack load, ultimate load, load deflection behavior, flexural performance of strengthened beams, and crack behavior are studied. Moreover, a theoretical prediction is made for the moment capacity of strengthened RC beams based on the elastic moment approach. The forecasted moment capacity of the strengthened RC beams is supported by the experimental results.
2. Materials and Methods
2.1. Concrete for Beams, Ferrocement Laminates, and Epoxy Resin
OPC 53 grade with specific gravity 3.23 is used for investigation. Naturally available sand, passing through a 4.75 mm sieve with specific gravity of 2.70 as per IS 383, 1970 [25] was used. For ferrocement laminates, fine aggregate passing through a 2.36 mm sieve with specific gravity of 2.72 as per ACI 549 1R-93, 1999 [26] was used. Coarse crushed stone particles of 20 mm size aggregates were used as per IS 10262, 2019 [27]. The specific gravity of coarse aggregate is 2.78. The mixture of concrete has been designed as for an IS 10262, 2019 [27]. The proportion of the concrete mixture is 1:1.5:3 with w/c 0.5. The cast beams were cured for 28 days. In ferrocement laminates, the mortar mix 1:2, w/c ratio of 0.4, with a steel slag replacement of 0% and 30%, was used. Galvanized square weld mesh with volume fractions of 1.76% and 2.35% was used. Two-component epoxy was selected for the strengthening of RC beams with ferrocement. CERABOND EP is a two-part epoxy with a mix ratio of 1:2 (hardener and resin) by volume, which has a long work life of 40–50 min and can be cured at room temperature. The epoxy resin exhibited low shrinkage during curing. Epoxy resin with a bond strength of 15 N/mm2 was used for the study.
2.2. Experimental Program and Test Setup
Ten reinforced concrete beams of size 100 mm × 150 mm × 1220 mm were cast and tested under flexure. Details of the beam geometry, flexural reinforcement locations, and the geometry of the ferrocement laminates are shown in Figure 1 and Figure 2, respectively.
Figure 1.
Beam reinforcement; all dimensions are in mm.
Figure 2.
Ferrocement laminate for strengthening; all dimensions are in mm.
The tension side and ferrocement bonding sides are roughened with a wire brush to remove the laitance. After surface preparation, the adhesive component, i.e., epoxy resin, was mixed thoroughly in the proportion of 1:2 (hardener and resin) and applied to the prepared surface of the beams and ferrocement laminates using a trowel. The ferrocement laminates are applied to the soffit of the RC beams for flexural strengthening.
The beams strengthened with ferrocement composites were permitted to dry under atmospheric conditions for 24 h. The details of RC beam, which is tested under static loading, are given in Table 1. Figure 3 shows the application of epoxy resin on the beam and ferrocement laminate and Figure 4 shows the strengthened beams.
Table 1.
Details of RC beam.
Figure 3.
Epoxy resin on beam and laminate.
Figure 4.
RC beam strengthened with ferrocement.
Ten RC beams are subjected to flexure, of which two beams are considered control beams and the remaining eight beams are used for comparison. After 24 h of atmospheric curing, the strengthened and unstrengthened beams were subjected to flexural testing using a hydraulic jack of 1000 kN capacity, with an increment of 2 kN; deflection at mid span was noted. To measure the applied load, a load cell of capacity 500 kN was used. The outcomes of the strengthened and unstrengthened beams are measured in terms of the first crack load, ultimate load, and mode of failure.
2.3. Prediction of the Ultimate Moment for Strengthened RC Beams
An analytical investigation is conducted to predict the moment capacity of the RC beams strengthened with ferrocement laminate containing a fractional substitution of fine aggregate with steel slag based on the approach similar to the one used for the reinforced concrete. Several studies have reported the prediction of ultimate loads and ultimate moment capacity for ferrocement structural elements using finite element modeling, empirical solutions, and mathematical modeling [15,28,29]. The theoretical ultimate moment of the ferrocement beams was calculated in accordance with the method adopted by Ibrahim et al. [5]. The investigation is based on the experimental work conducted on the flexural behavior of RC beams strengthened with ferrocement laminates. Finally, the experimental results were compared with the newly proposed analytical model based on the elastic moment approach.
In the analytical investigation, the following assumptions were made.
- The concrete strain is directly proportional to the strain on the reinforcement.
- The extreme compressive strain in the concrete is 0.0035 in bending.
- The mesh reinforcement in ferrocement laminate has rectilinear flexible stress strain associated with failure.
- Shear deformation is small.
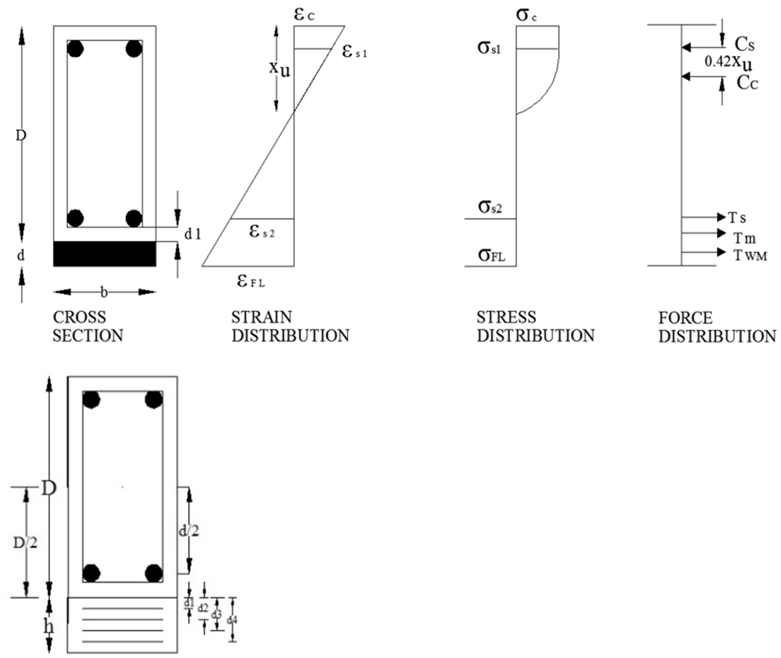
The strain at the top steel bars εs1, bottom steel bars εs2, and ferrocement εFL can be obtained from the geometry of the strain distribution, as shown in Figure 5. The strains could be tension (+ve sign) or compression (−ve sign), depending on the location of the neutral axis. Similarly, in the stress–strain block, σs1 is the stress for the top steel bars, σs2 is the stress for the bottom steel bars, and σFL is the stress for the ferrocement.
Figure 5.
Stress–strain diagram for strengthened RC beams.
The stress–strain diagram for the strengthened beams is arrayed in Figure 5. The sum of the forces due to compression and tension is equal.
C = T
From the stress–stain block, the total compressive strength of concrete and steel
is given by
The compressive force in concrete and steel [30] is expressed as follows:
where,
= compressive force
= compressive force in concrete
= characteristic compressive strength of concrete (N/mm2)
= depth of neutral axis (mm)
= breadth of the RC beam (mm)
= compressive force in steel
= stress at outer compression fibre, which reaches a strain of 0.0035 at failure
= area of steel in compression zone (mm2)
Considering the effect of ferrocement laminate for the strengthening of beams laterally with tensile force Ts, an additional tensile force due to cement mortar Tm and a tensile force due to mesh Twm will also act. The value of tensile force on mortar is 10% of the mortar under compression. Therefore, T is given by [30].
Tensile force of the steel is given as,
Tensile force of the mortar is given as,
Tensile force in the weld mesh is given as,
Substituting Equations (3), (4), (6)–(8) in Equation (9), we get,
The deepness of the impartial axis for the beam strengthened with the ferrocement laminate was calculated by solving the equilibrium of internal forces (Equation (10))
where,
= tensile force of steel
= tensile force of mortar
= tensile force of weld mesh
=
=
= yield strength of mesh reinforcement (N/mm2)
= volume fraction of mesh reinforcement
= efficiency factor of reinforcement
= area of steel in tension zone (mm2)
= area of ferrocement laminate
= tensile strength of steel (N/mm2)
= compressive strength of mortar (N/mm2)
The moment capacity obtained by summing the moments of all forces of the beam is arrayed in Figure 5 and is obtained by summing the moments of all internal forces about mid depth of the beam; it is arrayed in Equation (11).
Moment capacity of RC beams
Moment capacity of ferrocement laminates
where,
= depth of the RC beam,
= distance between the concrete compressive fiber to the centroid of the steel in layer i
= effective cover of beam
= depth of laminate
2.4. SEM Analysis
The break surface is inspected at a smaller scale through a scanning electron microscope (SEM) from CARL ZEISS (USA). Image specimens were captured using SEM in the magnification levels of 1 µm and 2 µm. SEM images are taken from samples of ferrocement composites, subjected to flexure, to study the microstructure characterization.
3. Results and Discussion
3.1. First Crack Load
From Figure 6, we see that the first crack loads were found to be the maximum for the RC beams strengthened with ferrocement composites having a volume fraction of 2.35% and steel slag of 30% replacement. The increase in the first crack load ranges from 15.92% to 67.40%, with respect to the control beam. This is due to the good bonding characteristics of mesh reinforcements with the 30% replacement of steel slag by weight of fine aggregate and the increased moment arm due to the increase in the depth of the mesh layers from the neutral axis of the section [9]. The higher first crack load can be attributed to good bonds between concrete and steel in the concrete matrix [31,32].
Figure 6.
First crack load for strengthened RC beams.
3.2. Ultimate Load
Figure 7 shows that all the strengthened beams, RCSF01, RCSF02, RCSF03, and RCSF04, have a higher load capacity when compared to the control beams. All strengthened beams give a warning before their failure. In RCSF00, the ultimate load was 71.5 kN. In the beam RCSF01, the maximum load was 83 kN, which is 16.08% higher than that in RCSF00; for RCSF02, the ultimate load was about 85 kN, that is 18.89% higher than that of RCSF00. Similarly, the maximum load for RCSF03 was 93 kN, which is 30.06% higher than that for RCSF00, and for RCSF04, the ultimate load was about 112 kN, which is 56.65% higher than for RCSF00. The increase in ultimate load is due to the increase in the effective depth of the RC beams strengthened with ferrocement laminates containing weld mesh [8].
Figure 7.
Ultimate load for strengthened RC beams.
3.3. Load—Deflection Characteristics
From Figure 8, it was noted that the beams strengthened with ferrocement laminates containing steel slag performed better when compared to other strengthened RC beams.
Figure 8.
Load vs. deflection for strengthened RC beams.
From the Figure 8, it can be seen that the load deflection behavior was almost linear initially, followed by a non-linear behavior [33]. Specimen RCSF00 showed initial cracks when the load was 27 kN, and the curve was linear when the specimen reached the ultimate load of 71.5 kN. For specimen RCSF01, the cracks initiated when the load was 31.3 kN and propagated until it reached the ultimate load of 83 kN. Similarly, for the beams RCSF02 and RCSF03, initial cracks were visible at 31.6 kN and 34.6 kN, and were linear up to their maximum load of 85 kN and 93 kN, respectively. Specimen RCSF04 showed a higher first crack load of 45.2 kN when compared to all the other specimens, and reached its ultimate load of 112 kN.
3.4. Energy Absorption
Energy absorption is the area under the load-deflection curve. Figure 9 shows the variation in energy absorption capacity of the RC beams. The strengthened RC beams exhibit an increase in energy absorption capacity with reference to the control specimen. Energy absorption increases about 2% for RCSF01, 4.3% for RCSF02, 5.8% for RCSF03, and 10% for RCSF04 when compared to control specimen. Similar observations of higher energy absorption in the beams reinforced with expanded metal mesh can be attributed to the higher plastic deformation and consequently larger area under the load-displacement curve. Higher energy absorption was obtained for beams strengthened with ferrocement composites having a higher volume fraction. Moreover, energy absorption increases with an increase in mesh reinforcement [34,35].
Figure 9.
Energy absorption of strengthened RC beams.
3.5. Flexural Performance of Strengthened RC Beams
The flexural performance (in terms of the effectiveness factor) of the strengthened beams and the control beam is evaluated by means of the energy and deflection approaches using Equations (12)–(15) [13], which is shown in Table 2,
where Ae—equivalent area under load deflection curve, Py—load at yield stage, —deflection at the yield point, - —deflection at the maximum load, Pe1—elastic force using the energy approach, Pe2—elastic force using the deflection approach, F1—efficiency factor using the energy approach, and F2—efficiency factor using the deflection approach. The flexural performance (in terms of effectiveness factor) of the strengthened beams and the control beam was evaluated by using the energy and deflection approaches, and it is presented in the Table 2.
Table 2.
Effectiveness factor for control and strengthened RC beams.
The effectiveness factor F1 for beams strengthened with ferrocement laminates varies from 1 to 1.87, and F2 varies from 1 to 2.23. The ratio of efficiency factor F1, by means of energy approach, to efficiency factor F2, using deflection approach, is 1 for specimen RCSF00. The ratios of F1/F2 for RCSF01, RCSF02, RCSF03 and RCSF04 are 1, 0.93, 0.94, and 0.84, respectively.
3.6. General Failure Characteristics
Flexural snaps were detected to originate at the tension face of the beams for specimen RCSF00 and at the soffit of the ferrocement laminates for specimens RCSF01, RCSF02, RCSF03, and RCSF04, spreading across the beam for specimen RCSF00 and across the laminates for the strengthened beams. The introduction of ferrocement composites with Vr 2.35% and 30% steel slag substitution for fine aggregate modified the flexural behavior of the strengthened beam and altered the cracking behavior of the strengthened beam. The crack pattern for RCSF00, RCSF01, RCSF02, RCSF03, and RCSF04 is arrayed in Figure 10a–e.

Figure 10.
Crack pattern for the beam: (a) RCSF00; (b) RCSF01; (c) RCSF02; (d) RCSF03; (e) RCSF04.
3.7. Analytical Investigation on Flexural Strengthening of RC Beams
The predicted moment capacity obtained using Equation (11) and its ratio with the experimental investigation are arrayed in Table 3. From the comparison of the outcomes, it is understood that the ratio of the experimental moment to predicted moment was 0.99 and 1.15 for specimens RCSF00 and RCSF01, respectively. The ratio for RCSF02 and RCSF03 was 1.03 and 1.04, respectively. Moreover, the ratio for specimen RCSF05 was 1.04. It was obviously recognized that the projected analytical equation for the determination of the moment capacity of the strengthened beams using ferrocement composites has a good correlation with experimental values.
Table 3.
Comparison of Experimental and Theoretical.
3.8. SEM Analysis
SEM analysis is performed to study the microstructure characterization of the ferrocement composites with 30% steel slag which are subjected to flexure. From Figure 11, it is clear that a layer of hydration products has wrapped the steel slag particles. In addition, the steel slag particles connect tightly to the gel around them. Moreover, the outlines of the steel slag particles cannot be distinguished clearly because C-S-H gels are produced during the hydration of steel slag powder. Figure 11 portrays the SEM images taken at 1 µm and 2 µm magnifications. It is observed from the images that the cement particles in the mix occur as tiny grey rectangular pieces attached to the steel slag. It is discerned that higher numbers of cement particles, in combination with steel slag, occur in the form of white collated balls. Moreover it clear that the mortar mix prepared with steel slag has good binding with the cement and fine aggregate, which in turn increases the density of the mortar.
Figure 11.
SEM images of ferrocement composites under flexure with magnification: (a) 200 nm; (b) 1 µm; (c) 2 µm.
4. Conclusions
Based on the experiment and theoretical investigations, it is found that RC beams strengthened with ferrocement composites with a volume fraction 2.35% and steel slag replacement of 30% by weight of fine aggregate has increased the first crack load, ultimate load, energy absorption, and flexural performance. The inclusion of 30% steel slag and a volume fraction of 2.35% has considerably reduced the deflection and postponed the initial crack load. The failure of the composite beam is characterized by the development of flexural cracks over the tension zone. The space of the cracks is also reduced for the strengthened beams, which ensures better stress distribution. The epoxy mastic ensures the good attachment between the ferrocement laminates and the strengthened RC beams. The equations developed have laid the base to compare the design values of the ultimate moment capacity of the RC beams. The partial replacement of sand by steel slag, which is an industrial waste, is not only cheap, but also provides a potential opportunity for the utilization of these waste products that need not be simply dumped as land fill. the disposal of this waste is one of the crucial problems faced by the steel manufacturing industry. However, it is useful to extend the work for further study into the durability of RC beams strengthened with ferrocement composites containing steel slag.
Author Contributions
Conceptualization, G.R. and J.S.; Data curation, M.S.; Funding acquisition, M.S.; Investigation, M.S.; Methodology, S.B. and G.R.; Project administration, S.B.; Resources, S.B. and J.S.; Software, J.S.; Writing—original draft, J.S.; Writing—review & editing, G.R., J.S. All authors have read and agreed to the published version of the manuscript.
Funding
This research received no external funding.
Institutional Review Board Statement
Not applicable.
Informed Consent Statement
Not applicable.
Data Availability Statement
No data, models or code were generated or used during the study.
Conflicts of Interest
The authors declare no conflict of interest.
References
- Li, Y.-F.; Li, J.-Y.; Ramanathan, G.; Chang, S.-M.; Shen, M.-Y.; Tsai, Y.-K.; Huang, C.-H. An Experimental Study on Mechanical Behaviors of Carbon Fiber and Microwave-Assisted Pyrolysis Recycled Carbon Fiber-Reinforced Concrete. Sustainability 2021, 13, 6829. [Google Scholar] [CrossRef]
- Zhou, S.; Xie, L.; Jia, Y.; Wang, C. Review of Cementitious Composites Containing Polyethylene Fibers as Repairing Materials. Polymers 2020, 12, 2624. [Google Scholar] [CrossRef]
- Xiong, G.; Wang, C.; Zhou, S.; Zheng, Y. Study on dispersion uniformity and performance improvement of steel fibre reinforced lightweight aggregate concrete by vibrational mixing. Case Stud. Constr. Mater. 2022, 16, e01093. [Google Scholar] [CrossRef]
- Shaaban, I.G.; Seoud, O.A. Experimental behavior of full-scale exterior beam-column space joints retrofitted by ferrocement layers under cyclic loading. Case Stud. Constr. Mater. 2018, 8, 61–78. [Google Scholar] [CrossRef]
- Shaaban, I.G.; Shaheen, Y.B.; Elsayed, E.L.; Kamal, O.A.; Adesina, P.A. Flexural behaviour and theoretical prediction of lightweight ferrocement composite beams. Case Stud. Constr. Mater. 2018, 9, e00204. [Google Scholar] [CrossRef]
- Amin, A.; Tamal, S.; Bari, A.K.M.F.; Mazumder, M.; Hasan, A. Strengthening of Fire Damaged Reinforced Beams by using Ferrocement. Turk. J. Eng. 2022, 6, 206–210. [Google Scholar] [CrossRef]
- Sirimontree, S.; Witchayangkoon, B.; Leartpocasombut, K.; Thongchom, C. Flexural Behavior of Re-inforced Concrete Beams Strengthened With Ferrocement. Int. Trans. J. Eng. Manag. Appl. Sci. Technol. 2019, 10, 1–7. [Google Scholar] [CrossRef]
- Abu Maraq, M.A.; Tayeh, B.A.; Ziara, M.M.; Alyousef, R. Flexural behavior of RC beams strengthened with steel wire mesh and self-compacting concrete jacketing—Experimental investigation and test results. J. Mater. Res. Technol. 2020, 10, 1002–1019. [Google Scholar] [CrossRef]
- Jayaprakash, S.; Dhanapal, J.; Deivasigamani, V.; Elias, G. Flexural Behaviour of Chicken Mesh Ferrocement Laminates with Partial Replacement of Fine Aggregate by Steel Slag. Adv. Mater. Sci. Eng. 2021, 2021, 7307493. [Google Scholar] [CrossRef]
- Amin, A.; Pial, A.; Ahmad, M.; Ahamed, M.J. Comparison in Strengthening of RCC Concrete Column Using Ferrocement and Polypropylene Fiber Rope. Eurasian J. Sci. Eng. Technol. 2021, 2, 18–24. [Google Scholar]
- Miah, M.J.; Miah, M.S.; Alam, W.B.; Lo Monte, F.; Li, Y. Strengthening of RC beams by ferrocement made with unconventional concrete. Mag. Civ. Eng. 2019, 89, 94–105. [Google Scholar] [CrossRef]
- Patil, S.S.; Ogale, R.A.; Dwivedi, A.K. Performances of chicken mesh on strength of beams retrofitted using ferrocement jackets. IOSR J. Eng. 2012, 2, 1–10. [Google Scholar] [CrossRef]
- Rajkumar, D.; Vidivelli, B. Performances of SBR latex modified ferrocement for repairing reinforced concrete beams. Aust. J. Basic Appl. Sci. 2010, 4, 520–531. [Google Scholar]
- Ganesan, N.; Thadathil, S.P. Rehabilitation of reinforced concrete flexural elements using ferrocement jacketing. J. Struct. Eng. 2005, 3, 275–280. [Google Scholar]
- Gandomi, A.; Roke, D.; Sett, K. Genetic programming for moment capacity modeling of ferrocement members. Eng. Struct. 2013, 57, 169–176. [Google Scholar] [CrossRef]
- Palani, B.; Subramanian, R. Behaviour of RC beams strengthened with high performance ferrocement. In Proceedings of the Ninth International Symposium on Ferrocement and Thin Reinforced Cement Composites, Green Technology for Housing and Infrastructure Construction, Bali, Indonesia, 18–20 May 2009; pp. 89–98. [Google Scholar]
- Jeyasekar, A.C.; Vidivelli, B.; Sumangala, K. Prediction of flexural strength of RC beams rehabilitated with ferrocement lam-inates using artificial neural networks. In Proceedings of the International Symposium on Ferrocement and Thin Reinforced Cement Composites (FERRO 9) Green Technology for Housing and Infrastructure Construction, Bali, Indonesia, 18–20 May 2009; pp. 183–197. [Google Scholar]
- Naaman, A.E.; Sotiropoulos, A. High performance ferrocement as beam—Column confinement for seismic loading. In Proceedings of the International Symposium on Ferrocement and thin Reinforced Cement Composites (FERRO9), Green Technology for Housing and Infrastructure Construction, Bali, Indonesia, 18–20 May 2009; pp. 129–149. [Google Scholar]
- Jurkiewiez, B.; Meaud, C.; Michel, L. Non linear behaviour of steel–concrete epoxy bonded composite beams. J. Constr. Steel Res. 2011, 67, 389–397. [Google Scholar] [CrossRef]
- Abadel, A.A. Experimental investigation for shear strengthening of reinforced self-compacting concrete beams using different strengthening schemes. J. Mater. Res. Technol. 2021, 15, 1815–1829. [Google Scholar] [CrossRef]
- Mansour, W.; Tayeh, B.A. Shear Behaviour of RC Beams Strengthened by Various Ultrahigh Performance Fibre-Reinforced Concrete Systems. Adv. Civ. Eng. 2020, 2020, 2139054. [Google Scholar] [CrossRef]
- Javidan, M.M.; Chun, S.; Kim, J. Experimental study on steel hysteretic column dampers for seismic retrofit of structures. Steel Compos. Struct. 2021, 40, 495. [Google Scholar] [CrossRef]
- Javidan, M.M.; Nasab, M.S.E.; Kim, J. Full-scale tests of two-story RC frames retrofitted with steel plate multi-slit dampers. Steel Compos. Struct. 2021, 39, 645–664. [Google Scholar] [CrossRef]
- Khan, S.U.; Rafeeqi, S.F.A.; Ayub, T. Strengthening of RC beams in flexure using ferrocement. Trans. Civ. Eng. 2013, 37, 353–365. [Google Scholar]
- IS: 383-1970; Specifications for Coarse and Fine Aggregates from Natural Sources for Concrete. Bureau of Indian Standards (BIS): New Delhi, India, 1970.
- ACI 549.1R-93; Guide for the Design, Construction and Repair of Ferrocement. American Concrete Institute ACI Committee 549: Farmington Hills, MI, USA, 1999.
- IS 10262-2019; Concrete Mix Proportioning -Guidelines. Bureau of Indian Standards (BIS): New Delhi, India, 2019.
- Mhadeshwar, S.N.; Naik, A.M. Experimental performance, mathematical modelling and development of stress block param-eter of ferrocement beams with rectangular trough shaped skeletal steel. Int. Res. J. Eng. Technol. 2017, 4, 1387–1393. [Google Scholar]
- Eskandari, H.; Madadi, A. Investigation of ferrocement channels using experimental and finite element analysis. Eng. Sci. Technol. Int. J. 2015, 18, 769–775. [Google Scholar] [CrossRef] [Green Version]
- Mohammed, A.A.; Assi, D.K. Tensile stress-strain relationship for ferrocement structures. Al-Rafidain Eng. 2010, 20, 27–40. [Google Scholar]
- Matalkah, F.; Bharadwaj, H.; Soroushian, P.; Wu, W.; Almalkawi, A.; Balachandra, A.M.; Peyvandi, A.A. Development of sandwich composites for building construction with locally available materials. Constr. Build. Mater. 2017, 147, 380–387. [Google Scholar] [CrossRef] [Green Version]
- Naaman, A.E. Ferrocement: Progress review and critical need for the future. In Proceedings of the FERRO-11-11th International Symposium on Ferrocement and 3rd ICTRC International Conference on Textile Reinforced Concrete, Aachen, Germany, 7–10 June 2015; pp. 9–14. [Google Scholar]
- El-Wafa, M.A.; Fukuzawa, K. Flexural behavior of lightweight ferrocement sandwich composite beams. J. Sci. Technol. 2010, 15, 3–16. [Google Scholar]
- Gaidhankar, D.G.; Kulkarni, M.S.; Jaiswal, A.R. Ferrocement composite beams under flexure. Int. Res. J. Eng. Technol. 2017, 4, 117–124. [Google Scholar]
- Shaheen, Y.B.I.; Eltehawy, E.A. Structural behavior of ferrocement channels slabs for low cost housing. Chall. Concr. Res. Lett. J. 2017, 8, 48–64. [Google Scholar] [CrossRef]
Publisher’s Note: MDPI stays neutral with regard to jurisdictional claims in published maps and institutional affiliations. |
© 2022 by the authors. Licensee MDPI, Basel, Switzerland. This article is an open access article distributed under the terms and conditions of the Creative Commons Attribution (CC BY) license (https://creativecommons.org/licenses/by/4.0/).











