Next Article in Journal
Analysis of a Hybrid Wind/Photovoltaic Energy System Controlled by Brain Emotional Learning-Based Intelligent Controller
Previous Article in Journal
Industrial Processes Online Teaching: A Good Practice for Undergraduate Engineering Students in Times of COVID-19
 
 
Font Type:
Arial Georgia Verdana
Font Size:
Aa Aa Aa
Line Spacing:
Column Width:
Background:
Article

Heavy-Duty Battery Electric Buses’ Integration in Cities Based on Superfast Charging Technologies: Impact on the Urban Life

1
Fraunhofer-Institut für Betriebsfestigkeit und Systemzuverlässigkeit LBF, Bartningstraße 47, 64289 Darmstadt, Germany
2
Belgisch Laboratorium, Van De Elektriciteitsindustrie Laborelec CVBA, 1630 Linkebeek, Belgium
3
MOBI Research Group, Vrij Universiteit Brussel, Pleinlaan 2, 1050 Elsene, Belgium
4
Flanders Make, 3001 Heverlee, Belgium
*
Authors to whom correspondence should be addressed.
The technical manager of the ASSURED project.
Sustainability 2022, 14(8), 4777; https://doi.org/10.3390/su14084777
Submission received: 6 March 2022 / Revised: 12 April 2022 / Accepted: 13 April 2022 / Published: 15 April 2022

Abstract

:
As part of this work, several Battery Electric Buses (BEBs) of 9 m, 12 m, and 18 m lengths and superfast chargers based on a pantograph of up to 600 kW were developed and demonstrated in selected European cities. In Osnabrück (OSN), Germany, superfast charging technologies based on BEBs were demonstrated, and numerous measurement campaigns were conducted. Within the scope of this work, two measurement campaigns are presented, which are related to the impact of BEBs on the urban life, i.e., people’s safety, environment, and users’ comfort. People’s safety was investigated in terms of the electromagnetic emissions emanating from two superfast chargers of 350 kW and 300 kW, as such high charging power during the charging process could be a risk to people’s health and electronics inside and outside the bus. The results showed that the magnetic and electrical emissions are far below the safety standard limits. This confirms that the developed vehicles and chargers in the ASSURED project operate under safe conditions for people in the vicinity of the charging station. Environmental impact and users’ comfort were studied in terms of electric motor noises (compared to diesel engines), power electronic devices and their cooling, contact noises of the pantograph, and vibration inside the BEBs compared to diesel buses. It was found that, in most cases, the outside noise emission of BEBs are significantly lower than the noise emissions emitted by diesel buses. Considering the inside noise emissions in the passenger’s section, all BEBs showed lower Sound Pressure Levels (SPLs) in comparison to the diesel busses. As a second part of the ride comfort, vibrations inside BEBs are on the same level as some diesel buses but are mostly significantly lower. All charging processes (pantograph operation and charging process) have a slight noise emission, with 64.6 dB(A) and 52.3 dB(A), respectively, when comparing the engine noise at the departure of the tested diesel buses with 70.8 dB(A) to 80.4 dB(A). Overall, a reduction in noise emissions and an improvement in the ride comfort were observed for the BEBs compared to diesel busses. The objective of this brief study is to provide bus operators, decision-makers, urban planners, and authorities with an overview of the benefits of BEBs for cities and to help them understand the various infrastructural impacts on urban areas and improve the quality of services.

1. Introduction

Climate change has been the main global concern over the past few decades. Most of the CO2 emissions come from the conventional energy sources and transportation. The transportation sector constitutes around 22% of the total CO2 emission. Buses have a daily operating time of 16–20 h compared to private cars, which have about 1–2 h [1]. Electrically powered buses reduce CO2 and noise emissions in urban areas and thus promote the trend towards more livable cities [2]. Therefore, some cities around the world, especially in Europe, such as London, Paris, Copenhagen, Milan, etc., are taking the initiative to replace diesel buses with zero-emission buses from 2025 and ensure that a major area of their city is zero-emission by 2030. Battery Electric Buses (BEBs) are potentially the main technology that will replace diesel buses [3]. BEBs could replace diesel buses with the same number of buses on the route, which could be a good incentive to deploy BEBs with optimized operating costs. This requires super-fast chargers on the routes to meet the energy demand of the buses [4,5].
In [6], the service schedule and recharging plan of electric buses were optimized under specific the design of a charging station based on a bi-level model to optimize decision-making at both tactical and operational levels simultaneously. The standardizations are not yet done, which is why statements on the interactions between vehicle, operation, and infrastructure in public transport are proving to be difficult to make [2]. In [7], the authors propose a general framework to design an effective short turning strategy for the BEBs at a tactical planning level. A trade-off relationship between the battery capacity and the average trip time is identified by modeling the BEBs’ operations. Moreover, a microeconomic model is formulated to jointly optimize the frequencies and charging schedules of the whole bus line and the short turning line to effectively minimize passengers’ waiting time and operational cost [7]. In the ASSURED project, the focus is on the Heavy-Duty Electric Vehicles (HD-EVs, i.e., trucks and buses), which have high energy requirements due to their size and weight. These vehicles have strict schedules that must be met. At the same time, BEBs must operate at a reasonable cost in addition to the total cost of ownership (TCO). The availability of 150–600 kW opportunity charging solutions on the line routes could improve the TCO of BEBs by having less battery capacity on board that can be charged within 4–10 min, reducing vehicle weight and improving operating costs by minimizing energy consumption. Within the ASSURED project, interoperable depot and opportunity charging solutions were developed to minimize the TCO and optimize the operation costs of BEBs [8].

1.1. Literature Review

Electromagnetic Emissions

The present trend in EVs nowadays consists of reducing voltage levels in charging as much as possible, which results in even higher currents. Paradoxically, although lower voltages mean higher safety in the case of a short circuit or electric shock, they also mean lower safety in terms of magnetic field exposure [9]. In general, the EVs’ passengers are usually in close proximity to electric power systems for long periods of time. Relatively high currents are reached in these systems, and the short distances between the passengers and the electric systems mean that the passengers could be exposed to relevant magnetic fields. The situation becomes even worse with HD-EVs, as these vehicles have high electrical power systems. Therefore, the electromagnetic environment of EVs must be evaluated before they are introduced to the market.
The short distances and high currents pose some risks due to the presence of strong Electromagnetic Fields (EMF). These fields can potentially have undesired effects on electronic devices, but also on peoples in or near the vehicle. The first effect is known as Electromagnetic Interference (EMI), which was analyzed in the context of Electromagnetic Compatibility (EMC), the main objective of which is to ensure the proper operation of equipment in a common electromagnetic environment. The second effect is known as Electromagnetic Radiation (EMR) and is part of the bioelectromagnetic or bioelectromagnetic domain, which includes all types of interactions between EMFs and biological systems. Several projects have been initiated to study the effects of non-ionizing EMR on human health. In 1996, the International EMF Project was launched to assess the scientific evidence of the influence on health due to low-frequency EMR (from 0 to 300 GHz) [9]. There are some standards for limiting the EMFs’ exposure, such as the International Commission on Non-Ionizing Radiation Protection (ICNIRP) and IEEE C95.6. The ICNIRP established the most comprehensive criteria for recommended limits for EMF in 1998 [10,11,12].

1.2. Vibroacoustic–Pass-by Noises and Ride Comfort

The vibroacoustic emissions emitted inside and outside the vehicle are subject to standards and are crucial for the perception of road traffic participants. While comparative vibration measurements to determine ride comfort are mainly defined by the track profile and measurement positions, noise measurements are subject to fixed standards. Therefore, the pass by noise measurements were performed considering the ISO 362-1:2015 standard [13]. The ISO 362-1 standard describes an engineering method for measuring the noise emissions of road vehicles of classes M (power-driven vehicles having at least four wheels and used for the carriage of passengers) and N (power-driven vehicles having at least four wheels and used for the carriage of goods) under typical urban traffic conditions. In order to take into account urban driving conditions, several parameters are included in the standard. These are mainly the surface conditions, microphone positions, measurement setup, and weather conditions.

1.3. Contribution

This work aims to investigate the effects of superfast charging inside and around the BEBs in terms of electric and magnetic emissions. Therefore, the EMC values according to “1999/519/EC: Council Recommendation of 12 July 1999 on the limitation of exposure of the general public to electromagnetic fields (0 Hz to 300 GHz)” were measured and compared for two superfast charging stations (300 kW and 350 kW) in Osnabrück (OSN). For more information on the OSN demo, see [14,15]. To determine the effect on passengers and nearby residents, EMC levels were measured at various locations around the charger and the bus as well as inside the vehicle.
Another aspect of this work is to determine the effect of noise emissions and passenger comfort of BEBs compared to diesel buses within the following described measurements:
  • Pass by noise was determined according to the standard “ISO 362-1:2015”;
  • Noise emissions of the charger and pantograph during charging process were determined by measuring the Sound Pressure Level (SPL) around the charger;
  • Passenger comfort was investigated by measuring interior noise and vibration during a typical inner-city route, as well as acceleration and deceleration of the several buses.
The pass by noise and the passenger’s comfort measurements were performed with several BEBs of different brands (ASSURED buses) and some diesel buses for comparison [8]. The measurements of noise emissions at the charging station were performed on two bus stations with two chargers.
The further structure of the paper is as follows. Section 2 presents electromagnetic compatibility including measurements, objectives, methodology, results, and discussion. Section 3 illustrates vibroacoustic–pass by noise and ride comfort, including pass by noise outside the vehicles, noise and vibration inside the vehicles, as well as outside noise during the superfast pantograph charging. Section 4 contains the overall conclusion.

2. Electromagnetic Compatibility

2.1. Measurements

The measurements were performed within the ASSURED project on two chargers during the Osnabrück demo case in Germany from 12 April to 23 April 2021.
One charger is located at the bus depot of the local distribution provider “SWO-Osnabrück” (GPS: 52°16′44.7″N 8° 03′08.0″E). The charger is a mobile HVC-PD 450 E-Bus with a maximum power of 300 kW consisting of two units of 150 kW each.
The second location is the bus station “Drodesheim Waldfriedhof” (GPS: 52°18′ 04.3″N 8° 04′41.3″E), which is a terminal stop. The charger is a mobile opportunity charger with a maximum power of 350 kW. It was temporary installed for the ASSURED project.

2.2. Objectives

The objective of this measurement campaign is to ensure that the fast chargers are safe in terms of emissions for people in the surrounding area and operators in a public environment. Accordingly, some tests were carried out and several parameters were measured (electric fields and magnetic fields up to 200 MHz). The results were compared with the maximum limits specified in the safety standards to ensure that the operating conditions are safe for people.

2.3. Measuring Setup/Methodology

Due to the different bandwidths to be observed, three measurement devices were used, which are listed in Table 1. A first measurement was performed to define a reference condition with the ambient noise when the charger was not active.

2.4. Results and Discussion

The first charger was tested with a maximum power of 300 kW consisting of two units of 150 kW each. It was temporarily installed for the ASSURED project, see Figure 1a. During the emission measurements, the power had to be limited due to the low dimensioning of the distribution transformer. One of the two units was completely shut down to allow charging by one unit at nominal power (150 kW) and to ensure representative behavior during the tests.
The second charger was tested with a maximum power of 350 kW; it was temporarily installed for the ASSURED project, see Figure 1b. During the emissions measurements, the power was limited by the bus to 200 kW.
The bus used for the tests was the Volvo 7900 Electric, with a battery capacity of 196 kWh. During the tests of chargers, the State of Charge (SoC) was reduced for charger 1 to 48% and for charger 2 to 25% before the start of charging to allow charging at maximum power and to replicate the worst-case electrical condition.
Several points were measured in the vicinity of the chargers, see Figure 2.
During the measurements at the charger 1 location, the ambient temperature was between 18 °C and 24 °C and relative humidity was between 20% to 40%. During the measurements at the charger 2 location, the ambient temperature was between 17 °C and 18 °C and relative humidity was between 31% to 46%. The measured magnetic field values (DC and AC) are listed in Table 2 and Table 3, respectively. The measured electric fields are shown in Table 4.
Several measurements were made near the charger and inside the BEB, as shown in the tables above. The results showed that the magnetic field decreases the further one moves away from the charger. The measurements showed that the superfast charging solutions in the ASSURED project are well below the defined limits set by the EU. The only measured exceedance came from the AC cables applied to the input of the charger. This is not due to the charge, but to the fact that these installations were temporary for this project, and therefore the input cables were not covered.
Regarding charger 1, it is worth mentioning:
  • NOTE (1) Measurements in direct contact with the charger (point A) are not taken into account, as the standards specify that this is only to be taken into account if the device is not to be held in the hand, which is the case with the charger;
  • NOTE (2) The measurements made in contact with the AC input wires of the charger gave a value of 115 µT. This is not related to the charger, but to the installation. Due to the temporary installation, the AC input wires are not covered, resulting in higher emissions at ground level than if they were in a permanent installation.
Regarding charger 2, it is worth mentioning:
  • NOTE (1) Measurements in direct contact with the charger (points C and E) are not taken into account, as the standards specify that this is only to be taken into account if the device is not to be held in the hand, which is the case with the charger;
  • NOTE (2) At point B, 160 µT is emitted from the AC input cables to the charger. This is not related to the charger, but to the installation. Due to the temporary installation, the AC input cables are not covered, resulting in higher emissions at ground level than if they were in a permanent installation.
For a better visualization of the results, measured magnetic fields of the chargers 1 and 2 from 9 kHz to 200 MHz (at position C) are shown in Figure 3. As explained in the European Directive, the limits used for the on-site measurement of radiation emissions are the “reference levels” and have a margin to the “basic restrictions”. Compliance with the “reference level” ensures compliance with the corresponding “basic restriction” (however, exceeding this reference level does not automatically lead to non-conformity).

3. Vibroacoustic–Pass by Noise and Ride Comfort

3.1. Objectives

The main objective within this task is to measure and analyze the vibration and noise inside the vehicle to quantify the comfort for the passengers and driver as well as the outside noise emissions during pass by and charging operation. Therefore, several measurements were carried out in Osnabrück with a total of five BEBs and four diesel buses. The Sound Pressure Level (SPL) and acceleration under predefined driving conditions were investigated.

3.2. Measuring Setup/Methodology

All vehicles used for the measurement are described in Table 5. It should be noted that four different diesel buses were used, but two of them were the same model due to availability during the measurement campaign. The results of each diesel bus model were summarized as DBus1 and DBus2, respectively. It is worth mentioning that EBus3 was not available during the pass by noise measurement due to the replacement of a broken side window. During the measurements, only one driver and one person responsible for the measurements were in the vehicles without any other passengers.
The measurements were performed with Siemens LMS Test Lab 19.3 (Osnabrück, Germany) with SCADAS SCM05, B&K 4189-A021, and PCB T130D21 microphones as well as PCB T356A16 accelerometers. A sampling rate of 40.96 kHz (microphones) and 10.24 kHz (accelerometers) were used to record the time data.

3.2.1. Pass by Noise Outside Vehicle

The pass by noise measurements were performed, taking into account the ISO 362-1:2015 standard [13]. This standard mainly describes the procedure for evaluating the SPL as well as the dimensions of a suitable sound reflecting surface and the positions of the microphones for the tests. Figure 4 shows the dimensions for the pass by noise test which were applied accordingly at a suitable location in Osnabrück (GPS: 52°16′58.0″N 8°04′04.7″E).

3.2.2. Noise and Vibration Inside the Vehicle

All tests considering inside vehicle noise and vibration were carried out on a defined route in the Osnabrück city area (Figure 5). The route represents a standard inner-city coverage of possible driving maneuvers for regular city buses. This route was taken to ensure that the measurement data includes a compilation of acceleration, braking, standstill, and driving at constant speed. The tests were carried out with the same driver and the speed was also monitored to consider the driving style and ensure comparability.
The locations of the accelerometers and microphones shown in Figure 6 were defined for the evaluation of the ride comfort for the driver and passengers, respectively. In the drawing, no. 1 is at the driver’s position and nos. 2 to 5 are at the passenger’s position from the front through the middle to the rear of the bus. All microphones were placed at the height of the driver/passengers’ heads in seating position, and the accelerometers were mounted on the respective seat rails of the passenger seats and the driver’s seat.

3.2.3. Outside Noise during Pantograph Operation and Charging Process

For the determination of the noise emission during the pantograph operation and the charging process, several sound pressure measurements were carried out on a charger in the SWO Netz depot (GPS: 52°16′44.7″N 8°03′08.0″E) and Dodesheide Waldfriedhof bus stop (GPS: 52°18′04.3″N 8°04′41.3″E)—see Figure 7. The microphones were positioned around the charger, transformer container, and vehicle, respectively, at a distance of about 2 m and a height of 1.2 m.

3.3. Results and Discussion

In this section, the results of the analysis are described, taking into account the previously defined categories regarding outside vehicle pass by noise, inside vehicle noise and vibration, as well as outside noise during the charging process. All data were analyzed using Siemens LMS Test Lab 21.1 and MATLAB R2020b. It should be noted that the measurements took place in public under practical conditions and not under idealized acoustic conditions. For this reason, minor deviations are to be expected in the results, which are in the range of approximately ±1 dB(A) with the consideration of the ambient noise. It is also important to consider that some buses are new and are therefore in a quasi-new condition compared to other buses with an already higher mileage.

3.3.1. Pass by Noise Outside Vehicle

The pass-by noises came mainly from the drive train and not from the road/wheels. The noise during the pass by and direct residents is of crucial importance, especially for other traffic participants (e.g., pedestrians and bikers). Therefore, there are increasingly stringent specifications regarding the permitted threshold values of the emitted Sound Pressure Level (SPL). Decisive for the perception is not only the maximum SPL in dB(A), but also the proportion of the amplitude distribution in the frequency range. The higher the SPL value with a broad frequency content, the more disturbing the noises are perceived. Moreover, single tonal frequencies can be perceived as very disturbing. Figure 8 shows the maximum SPL for each vehicle at 50 km/h and Figure 9 shows the corresponding frequency content in the range from 0 kHz to 5 kHz. Compared to the diesel buses, the BEBs (EBus1, EBus2 and EBus4) have lower SPLs and the total difference between EBus2 (lowest SPL) and DBus2 (highest SPL) is 3.1 dB(A). Moreover, the SPL distribution in the frequency range of the BEBs differs significant from those of the diesel buses. In general, SPLs are significantly lower for most BEBs (EBus1, EBus2 and EBus4) over a wide frequency range.
Another important criterion concerning the noise of buses is the perception of waiting passengers at the bus stop during arrival and departure. Figure 10 and Figure 11 show the maximum SPL for arrival and departure, respectively. In each case, the highest SPL of both microphones was used (see Figure 4). At the arrival state, all BEBs have lower SPLs in comparison to the diesel buses. The total difference between EBus4 (lowest SPL) and DBus1 (highest SPL) is 12.1 dB(A). During the departure, the SPLs of the BEBs are more distributed, but at least approximately equal or significantly lower than the values of the diesel buses. An exception is EBus1, which has the highest SPL among the BEBs during departure.

3.3.2. Noise and Vibration Inside the Vehicle

By means of a preliminary analysis, the driving maneuvers that generated the highest vibrations and noises were determined for their further analysis (GPS route in Figure 5). This excluded noise emissions due to the traffic transmitted in the inside of the bus, especially rattle noises in the inside dominate. Therefore, the analysis of the inside noise is separated in two parts.
  • The first part contains only segments during the acceleration phase from 0 km/h to approx. 30 km/h (without ambient noise) to evaluate only the vibrations and noises of the drive chain;
  • The second part, the maximum noise level induced inside the bus during the complete GPS route.
Figure 12 shows the maximum SPL for the driver (mic 1) and passengers (mean of mic 2–5) during acceleration phase (segment); see also Figure 6. Considering the mean SPL value for passengers, it should also be mentioned that the areas in the back of the bus are louder than the areas in the front of the bus. Therefore, in all buses, the driver’s position has one of the lowest SPL. Compared to the diesel buses, all BEBs have lower SPL levels in the passenger area. At the driver position, DBus2 is quieter than the BEBs EBus1, EBus5, and EBus3. To compare the frequency distribution in addition to the SPL, Figure 13 shows the frequency map from 0 kHz to 5 kHz. The same effect is seen here as with the outside noise (see Figure 9). Moreover, the SPL distribution in the frequency range of the electric buses differs significantly from those of the diesel buses. In general, SPLs are significantly lower for most electric buses (EBus2, EBus3, EBus4, and EBus 5). Only EBus1 shows some significant tonal components in the frequency range up to 1000 Hz.
However, as previously mentioned, rattle noises in the inside of the bus, for example, are much more significant than those of the drive chain. Therefore, the maximum SPL was determined for the entire GPS route (Figure 14) to obtain a ratio to the drive chain noise. In all cases shown in Figure 14, rattle noises produced the highest SPL. It is worth highlighting here that the passenger mean SPLs of the diesel buses (Figure 12) have a much lower difference to the loudest noise during the entire route (Figure 14) compared to the BEBs. For example, the difference between the lowest passenger SPL for diesel buses (DBus2) in (Figure 12) to the loudest noise during the complete route for DBus2 (Figure 14) is about 10.6 dB(A). On the other hand, the difference for EBus2 is about 25.4 dB(A). In general, this can be observed when comparing BEBs to diesel buses and means that rattle noises are more significant in BEBs; however, normally, the noise level is significantly lower than in comparison to diesel buses.
For the determination of the acceleration levels, the same segments and GPS route as for the SPL (see Figure 12 and Figure 14) were used. Figure 15 shows the maximum acceleration level for the driver (acc1) and passengers (mean of acc2–5) during acceleration phase (segment), see also Figure 6. Especially for the BEBs, the vibrations are at a low level and the highest values occur for the diesel buses at the driver position (DBus2) and passengers’ position (DBus1). The maximum acceleration level was determined for the entire GPS route (Figure 16) in order to obtain a ratio to the drive chain-induced accelerations. In all cases shown in Figure 16, bad road conditions (e.g., potholes) produced the highest acceleration levels. The lowest values are shown by BEBs (EBus1 and EBus5), the buses (EBus2, EBus4, DBus1, DBus2) are in the midfield, and the highest value is shown by EBus3. Comparing Figure 15 and Figure 16, it can be clearly seen that the accelerations induced by bad road conditions are significant in degrading ride comfort, and that these accelerations are also up to 15 times higher in comparison to drive chain-induced accelerations. This fact is more or less true for all buses and must be taken into account when evaluating electric buses compared to diesel buses.

3.3.3. Outside Noise during Pantograph Operation and Charging Process

The maximum SPLs during the operations related to bus charging are summarized in Table 6. The maximum SPLs during pantograph operation is 75.2 dB(A) and 58.1 dB(A) during the charging process directly at the charger and 52.9 dB(A) during the charging process directly at the bus (EBus4) with running battery cooling. The soft drop function of the pantograph at the SWO Netz depot was while the measurements were enabled, while this function at the pantograph in Dodesheide bus stop was not enabled. This is the reason why the pantograph at the Dodesheide bus stop is louder than the pantograph at the depot.
The noise emissions at SWO Netz depot and at the Dodesheide bus stop are clearly different. All charging processes (pantograph operation and charging process) have lower SPLs at the SWO Netz depot (see Table 6). The soft drop function of the pantograph at the SWO Netz depot was while the measurements were enabled, while this function at the pantograph at Dodesheide bus stop was not enabled. This is the reason why the pantograph at the Dodesheide bus stop is louder than the pantograph at the depot.

4. Conclusions

The magnetic-field and electric-field emissions of the superfast chargers were measured during the demo operation in OSN. Two chargers with 300 kW and 350 kW were tested while charging the HD BEBs. The chargers and the buses were developed in the ASSURED project. The objective of this measurement campaign is to ensure that the superfast chargers are safe for people in the surrounding area and operators in a public environment. The results showed that the tested chargers did not exceed the safety limits in terms of magnetic and electrical emissions. This confirms that the superfast chargers are operated under safe conditions for people in the vicinity of the charging site. While planning and building charging infrastructure takes time due to the permits and procedures required for civil works, installations of the connections, and storage capacity, these constraints must be properly planned to avoid delaying operations. To ensure an efficient deployment, BEBs and their infrastructures must adapt to urban structures and bus operation schemes.
The outside noise emissions of BEBs are, in most cases, significantly lower than noise emission induced by diesel busses. Considering the inside noise emissions in the passengers’ section, all the tested BEBs showed lower SPLs in comparison to the diesel busses. In all cases, there are also significant differences in noise emissions between the various BEBs. As a second part of ride comfort, vibration levels of BEBs are on the same level as some diesel buses, though are mostly significantly lower. It was found that the soft drop function of the pantograph has a positive effect on SPL during the pantograph operation and charging process. The deployment of BEBs in a city as part of an integrated mobility strategy is an opportunity to rethink the design of the bus system, improve the quality of service and its interaction with the urban environment, and enhance the image of the city.
The deployment of the BEBs is not only a solution to the problem of air quality in urban areas, but also a contribution to realization of cities’ goals of creating healthier places to live. BEBs have to be part of a zero emission mobility strategy, including investments in an efficient public transport network, walking and cycling infrastructures, and traffic-calming measures.

Author Contributions

Conceptualization, M.A.-S., M.M., M.S. and J.K..; methodology, M.A.-S., M.M., M.S. and J.K.; software, M.A.-S., M.M., M.S., J.K., B.F. and P.V.T.; validation, M.A.-S., M.M., M.S., J.K., B.F. and P.V.T.; formal analysis, M.A.-S., M.M., M.S., J.K., B.F., P.V.T. and M.A.-S.; investigation, M.A.-S., M.M.; resources, M.A.-S., M.M.; data curation, M.A.-S., M.M.; writing—original draft preparation, M.A.-S., M.M; writing—review and editing, M.A.-S., M.M.; visualization, M.A.-S., M.M.; supervision, M.A.-S.; project administration, M.A.-S.; funding acquisition, M.B. All authors have read and agreed to the published version of the manuscript.

Funding

This research was funded by the European Commission—Innovation and Networks Executive Agency, grant number 769850, under the title of ASSURED—H2020-GV-2016-2017/H2020-GV-2017.

Institutional Review Board Statement

Not applicable.

Informed Consent Statement

Not applicable.

Data Availability Statement

The complete set of data can be found in ASSURED project WP9 (D9.2); this source is public.

Acknowledgments

The VUB authors would also like to acknowledge Flanders Make for their support.

Conflicts of Interest

The authors declare no conflict of interest.

References

  1. Al-Saadi, M.; Patkowski, B.; Zaremba, M.; Karwat, A.; Pol, M.; Chełchowski, Ł.; Van Mierlo, J.; Berecibar, M. Slow and Fast Charging Solutions for Li-Ion Batteries of Electric Heavy-Duty Vehicles with Fleet Management Strategies. Sustainability 2021, 13, 10639. [Google Scholar] [CrossRef]
  2. Tesar, M.; Berthold, K.; Gruhler, J.-P.; Gratzfeld, P. Design Methodology for the Electrification of Urban Bus Lines with Battery Electric Buses. Transp. Res. Procedia 2020, 48, 2038–2055. [Google Scholar] [CrossRef]
  3. Size, F.; Heavy, U.D. Applications, “Deliverable 2.2 Specification of Grid Constraints” no. 769850. 2018.
  4. Longo, M.; Leone, C.; Lorenz, L.; Strada, A.; Yaici, W. Electrification of a Bus Line in Savona Considering Depot and Opportunity Charging. Adv. Sci. Technol. Eng. Syst. J. 2021, 6, 213–221. [Google Scholar] [CrossRef]
  5. UITP. The Impact of Electric Buses on Urban Life; UITP: Brussels, Belgium, 2019; pp. 1–12. [Google Scholar]
  6. Zhang, L.; Zeng, Z.; Gao, K. A bi-level optimization framework for charging station design problem considering heterogeneous charging modes. J. Intell. Connect. Vehicles 2022, 5, 8–16. [Google Scholar] [CrossRef]
  7. Zhang, W.; Zhao, H.; Xu, M. Optimal operating strategy of short turning lines for the battery electric bus system. Commun. Transp. Res. 2021, 1, 100023. [Google Scholar] [CrossRef]
  8. Assured Project. Available online: https://assured-project.eu/news-and-events/news/jema-energy-to-supply-11-charging-systems-for-the-first-100-electric-line-in-vitoria-gasteiz (accessed on 5 November 2017).
  9. Rodríguez, E.; Arqués, J.L.; Rodríguez, R.; Nuñez, M.; Medina, M.; Talarico, T.L.; Casas, I.A.; Chung, T.C.; Dobrogosz, W.J.; Axelsson, L.; et al. We are IntechOpen, the world’ s leading publisher of Open Access books Built by scientists, for scientists TOP 1%. Dermatol. Int. 1989, 32, 137–144. [Google Scholar]
  10. International Commission on Non-Ionizing Radiation Protection. ICNIRP statement on the ‘Guidelines for limiting exposure to time-varying electric, magnetic, and electromagnetic fields (up to 300 GHz). Health Phys. 2009, 97, 257–258. [Google Scholar] [CrossRef] [PubMed]
  11. International Commission on Non-Ionizing Radiation Protection. Guidelines on limits of exposure to static magnetic fields. Health Phys. 2009, 96, 504–514. [Google Scholar] [CrossRef] [PubMed]
  12. International Commission on Non-Ionizing Radiation Protection. Guidelines for limiting exposure to time-varying electric and magnetic fields (1 Hz to 100 kHz). Health Phys. 2010, 99, 818–836. [Google Scholar] [CrossRef] [PubMed]
  13. ISO. Measurement of Noise Emitted by Accelerating Road Vehicles–Engineering Method–Part 1: M and N Categories; British Standards Institution: London, UK, 2007. [Google Scholar]
  14. Al-Saadi, M.; Mathes, M.; Käsgen, J.; Robert, K.; Mayrock, M.; Van Mierlo, J.; Berecibar, M. Optimization and Analysis of Electric Vehicle Operation with Fast-Charging Technologies. World Electr. Veh. J. 2022, 13, 20. [Google Scholar] [CrossRef]
  15. Al-Saadi, M.; Bhattacharyya, S.; Van Tichelen, P.; Mathes, M.; Käsgen, J.; Van Mierlo, J.; Berecibar, M. Impact on the Power Grid Caused via Ultra-Fast Charging Technologies of the Electric Buses Fleet. Energies 2022, 15, 1424. [Google Scholar] [CrossRef]
Figure 1. Charger’s setup: (a) charger 1 setup, (b) charger 2 setup.
Figure 1. Charger’s setup: (a) charger 1 setup, (b) charger 2 setup.
Sustainability 14 04777 g001
Figure 2. Measurement positions at charger 1 and 2 marked with letters—compare with pictures of the charging stations above: (a) charger 1, (b) charger 2.
Figure 2. Measurement positions at charger 1 and 2 marked with letters—compare with pictures of the charging stations above: (a) charger 1, (b) charger 2.
Sustainability 14 04777 g002
Figure 3. Measured magnetic fields from 9 kHz to 200 MHz (at position C) in µT. Orange: The radiated emission measurement during the charging of the bus. Yellow: An extrapolation with results doubled (for a full charge mode). Grey: The ambient noise at the charging station without bus. Red: The limits according to the “1999/519/EC: Council Recommendation of 12 July 1999 on the limitation of exposure of the general public to electromagnetic fields”. (a) Charger 1 (limits according to 1999/519/EC are outside of the visible range), (b) Charger 2.
Figure 3. Measured magnetic fields from 9 kHz to 200 MHz (at position C) in µT. Orange: The radiated emission measurement during the charging of the bus. Yellow: An extrapolation with results doubled (for a full charge mode). Grey: The ambient noise at the charging station without bus. Red: The limits according to the “1999/519/EC: Council Recommendation of 12 July 1999 on the limitation of exposure of the general public to electromagnetic fields”. (a) Charger 1 (limits according to 1999/519/EC are outside of the visible range), (b) Charger 2.
Sustainability 14 04777 g003
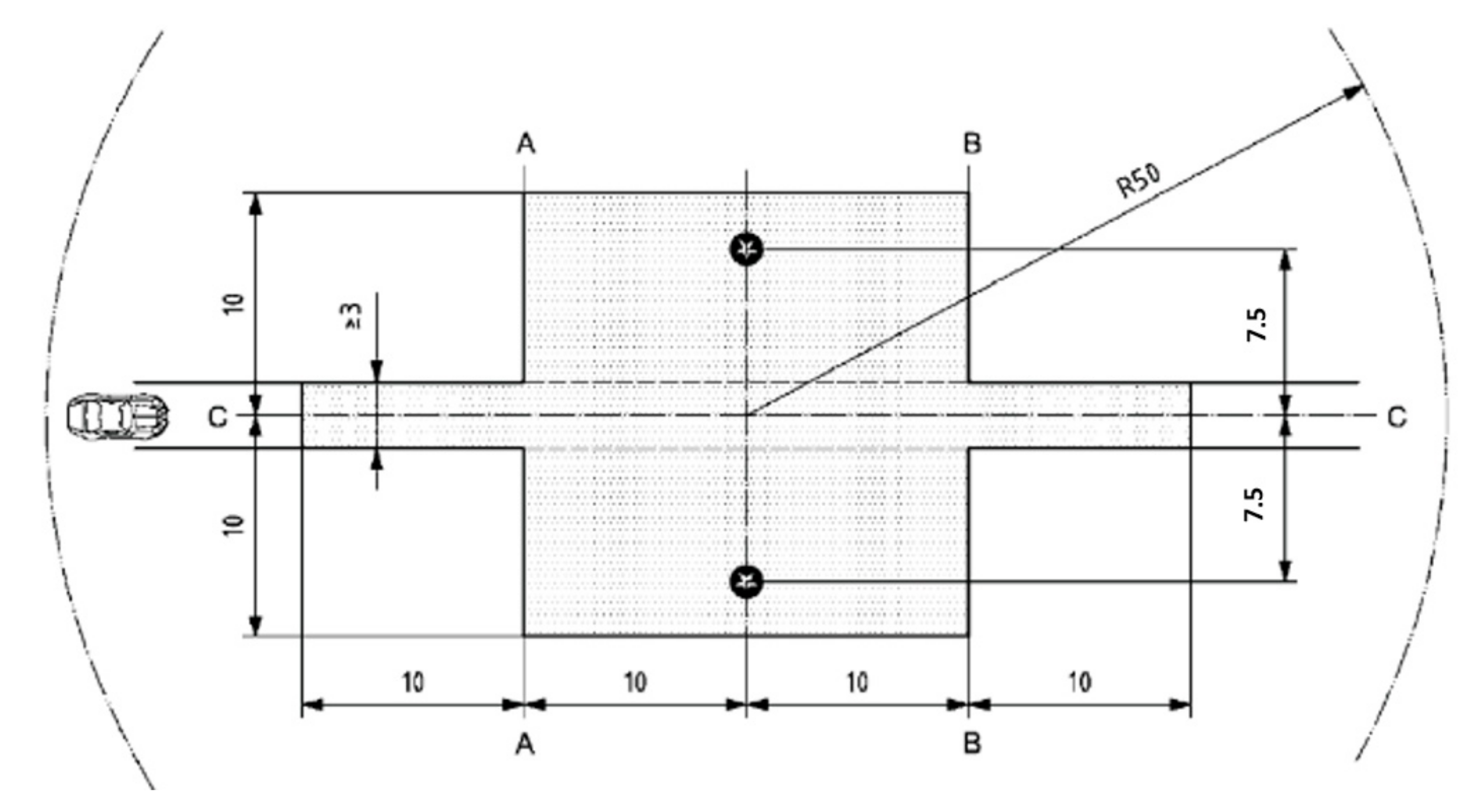
Figure 4. Dimensions in [m] regarding suitable reflecting surface requirements and microphone positions (marked with black dots—1.2 m height).
Figure 4. Dimensions in [m] regarding suitable reflecting surface requirements and microphone positions (marked with black dots—1.2 m height).
Sustainability 14 04777 g004
Figure 5. Inner-city track (red marker) for the inside vehicle measurements in Osnabrück (Picture ©2022 GeoBasis-DE/BKG, (©2009) Google LLC).
Figure 5. Inner-city track (red marker) for the inside vehicle measurements in Osnabrück (Picture ©2022 GeoBasis-DE/BKG, (©2009) Google LLC).
Sustainability 14 04777 g005
Figure 6. Measurement points (accelerometers and microphones) in vehicles with driving direction to the right. (a) 12 m, and (b) 18 m vehicle.
Figure 6. Measurement points (accelerometers and microphones) in vehicles with driving direction to the right. (a) 12 m, and (b) 18 m vehicle.
Sustainability 14 04777 g006
Figure 7. Chargers (a) at SWO Netz depot, and (b) at Dodesheide Waldfriedhof bus stop.
Figure 7. Chargers (a) at SWO Netz depot, and (b) at Dodesheide Waldfriedhof bus stop.
Sustainability 14 04777 g007
Figure 8. Vehicle pass by noise according to ISO 362-1 at 50 km/h—Highest SPL dB(A) of microphone 1 and 2 in Figure 4.
Figure 8. Vehicle pass by noise according to ISO 362-1 at 50 km/h—Highest SPL dB(A) of microphone 1 and 2 in Figure 4.
Sustainability 14 04777 g008
Figure 9. Vehicle pass by noise according to ISO 362-1 at 50 km/h—frequency map from 0 Hz to 5000 Hz—highest SPL dB(A) of microphone 1 and 2 in Figure 4.
Figure 9. Vehicle pass by noise according to ISO 362-1 at 50 km/h—frequency map from 0 Hz to 5000 Hz—highest SPL dB(A) of microphone 1 and 2 in Figure 4.
Sustainability 14 04777 g009
Figure 10. Vehicle noise during arrival at the bus stop—highest SPL dB(A) of microphone 1 and 2 in Figure 4.
Figure 10. Vehicle noise during arrival at the bus stop—highest SPL dB(A) of microphone 1 and 2 in Figure 4.
Sustainability 14 04777 g010
Figure 11. Vehicle noise during departure at the bus stop—highest SPL dB(A) of microphone 1 and 2 in Figure 4.
Figure 11. Vehicle noise during departure at the bus stop—highest SPL dB(A) of microphone 1 and 2 in Figure 4.
Sustainability 14 04777 g011
Figure 12. Inside vehicle noise during acceleration phase from 0 km/h to approx. 30 km/h—SPL in dB (A) for driver (mic1) and passengers (mean of mic2–5)—see also Figure 6.
Figure 12. Inside vehicle noise during acceleration phase from 0 km/h to approx. 30 km/h—SPL in dB (A) for driver (mic1) and passengers (mean of mic2–5)—see also Figure 6.
Sustainability 14 04777 g012
Figure 13. Inside vehicle noise during acceleration phase from 0 km/h to approx. 30 km/h—frequency map from 0 Hz to 5000 Hz—highest SPL dB(A) of microphone 1 to 5 in Figure 6.
Figure 13. Inside vehicle noise during acceleration phase from 0 km/h to approx. 30 km/h—frequency map from 0 Hz to 5000 Hz—highest SPL dB(A) of microphone 1 to 5 in Figure 6.
Sustainability 14 04777 g013
Figure 14. Inside vehicle noise within the complete GPS route (Figure 5)–Highest SPL dB(A) of microphone 1 to 5 in Figure 6.
Figure 14. Inside vehicle noise within the complete GPS route (Figure 5)–Highest SPL dB(A) of microphone 1 to 5 in Figure 6.
Sustainability 14 04777 g014
Figure 15. Inside vehicle acceleration levels during acceleration phase from 0 km/h to approx. 30 km/h—acceleration in g for driver (acc1) and passengers (mean of acc2–5); see also Figure 6.
Figure 15. Inside vehicle acceleration levels during acceleration phase from 0 km/h to approx. 30 km/h—acceleration in g for driver (acc1) and passengers (mean of acc2–5); see also Figure 6.
Sustainability 14 04777 g015
Figure 16. Inside vehicle acceleration level within the complete GPS route (see also Figure 5)—highest acceleration level in g of accelerometer 1 to 5 in Figure 6.
Figure 16. Inside vehicle acceleration level within the complete GPS route (see also Figure 5)—highest acceleration level in g of accelerometer 1 to 5 in Figure 6.
Sustainability 14 04777 g016
Table 1. Used measurement devices.
Table 1. Used measurement devices.
ModelFrequenciesOrigin/Location
Holaday industry HI3550 (Hall effect sensor)DC (0 Hz)Charger’s output
Maschek ESM-100 (isotropic probe E/H)50 Hz–2 kHzCharger’s input
Rohde&Schwarz FSH8 spectrum analyser
+ FSH3D (isotropic antenna)
9 kHz–200 MHzCharger’s internal working frequencies
Table 2. Measured magnetic field (DC) charger 1 and 2.
Table 2. Measured magnetic field (DC) charger 1 and 2.
Measurement Location for the DC Magnetic FieldValue (mT) Charger 1Value (mT) Charger 2Limits Dir. EU (mT)
In contact with the charger’s body (under the pantograph)0.270.5640
At 30 cm from the charger’s body (under the pantograph)00.1040
At 50 cm from the charger’s body (under the pantograph)0040
Into the bus, in contact with the bus’s roof0.120.1840
Into the bus, at 30 cm from the bus’s roof00.1440
Into the bus, at 50 cm from the bus’s roof0040
Table 3. Measured magnetic field (50 Hz) charger 1 and 2.
Table 3. Measured magnetic field (50 Hz) charger 1 and 2.
Measurement Location for 50 Hz Magnetic FieldValue (µT)Limits Dir. EU (µT)
Charger 1
Point A: In contact with the charger’s left door (1.2 m height)124 (1)100
Point B: At 30 cm from the charger’s left door (1.5 m height)25100
Point C: At 200 cm from the charger’s left door (1.5 m height)1.5100
Point D: At 30 cm from the charger’s body (under the pantograph)7100
Point E: At 30 cm from the charger’s body (beside the bus door)4100
Point F: In the middle of the front platform1100
Point G: In contact with the charger’s input wire (on the ground)115 (1.2)100
Point H: At 30 cm from the charger’s input wire (on the ground)19100
Point I: In the bus (driver head position)0.1100
Point J: In the bus (in the middle of the corridor)0.1100
Charger 2
Point A: In front of the cabinet’s open door (1.2 m height)2.1100
Point B: In contact with the charger’s input wire (on the ground)160 (1.2)100
Point C: Inside the cabinet (in contact with the charger)67 (1)100
Point D: Inside the cabinet (at 30 cm from the charger’s body)27100
Point E: Inside the cabinet (in contact with the charger)60 (1)100
Point F: Inside the cabinet (at 30 cm from the charger’s body)25100
Point G: At 50 cm from the charger’s body (under the pantograph)0.5100
Point H: At 30 cm from the charger’s body (under the pantograph)2100
Point I: In contact with the charger’s body (towards the front of the bus)4.9 (1)100
Point J: At 30 cm from the charger’s body (towards the front of the bus)2.9100
Point K: In the bus (driver head position)0.2100
Point L: In the bus (in the middle of the corridor)0.3100
Table 4. Measured electric field (50 Hz) charger 1 & 2.
Table 4. Measured electric field (50 Hz) charger 1 & 2.
Measurement Location for 50 Hz Electric FieldValue (V/m)Limits Dir. EU (V/m)
Charger 1
Point A: In contact with the charger’s left door (1.2 m height)<55000
Point B: At 30 cm from the charger’s left door (1.5 m height)<55000
Point C: At 200 cm from the charger’s left door (1.5 m height)<5 5000
Point D: At 30 cm from the charger’s body (under the pantograph)<5 5000
Point E: At 30 cm from the charger’s body (beside the bus door)<5 5000
Point F: In the middle of the front platform<5 5000
Point G: In contact with the charger’s input wire (on the ground)<5 5000
Point H: At 30 cm from the charger’s input wire (on the ground)<5 5000
Point I: In the bus (driver head position05000
Point J: In the bus (in the middle of the corridor)05000
Charger 2
Point A: In front of the cabinet’s open door (1.2 m height)<10 5000
Point B: In contact with the charger’s input wire (on the ground)<10 5000
Point C: Inside the cabinet (in contact with the charger)<10 5000
Point D: Inside the cabinet (at 30 cm from the charger’s body)<10 5000
Point E: Inside the cabinet (in contact with the charger)<10 5000
Point F: Inside the cabinet (at 30 cm from the charger’s body)<10 5000
Point G: At 50 cm from the charger’s body (under the pantograph)<10 5000
Point H: At 30 cm from the charger’s body (under the pantograph)<10 5000
Point I: In contact with the charger’s body (towards the front of the bus)<10 5000
Point J: At 30 cm from the charger’s body (towards the front of the bus)<10 5000
Point K: In the bus (driver head position)05000
Point L: In the bus (in the middle of the corridor)05000
Table 5. Description of the vehicles.
Table 5. Description of the vehicles.
NameEngineLength [m]AxlesASSURED Bus
EBus1Electric183Yes
EBus2Electric183Yes
EBus3Electric122Yes
EBus4Electric122Yes
EBus5Electric183No
DBus1Diesel122No
DBus2Diesel183No
Table 6. SPLs during pantograph operation and charging process.
Table 6. SPLs during pantograph operation and charging process.
Location and Operation StateSPL in dB(A)
SWO Netz depot–Pantograph operation (with soft drop)64.6
SWO Netz depot–Charger (charging @300 kW)52.3
Dodesheide bus stop–Pantograph operation (without soft drop)75.2
Dodesheide bus stop–Charger (charging @350 kW)58.1
Battery cooling (EBus4) (charging @350 kW)52.9
Publisher’s Note: MDPI stays neutral with regard to jurisdictional claims in published maps and institutional affiliations.

Share and Cite

MDPI and ACS Style

Mathes, M.; Schmidt, M.; Käsgen, J.; Fievet, B.; Tichelen, P.V.; Berecibar, M.; Al-Saadi, M. Heavy-Duty Battery Electric Buses’ Integration in Cities Based on Superfast Charging Technologies: Impact on the Urban Life. Sustainability 2022, 14, 4777. https://doi.org/10.3390/su14084777

AMA Style

Mathes M, Schmidt M, Käsgen J, Fievet B, Tichelen PV, Berecibar M, Al-Saadi M. Heavy-Duty Battery Electric Buses’ Integration in Cities Based on Superfast Charging Technologies: Impact on the Urban Life. Sustainability. 2022; 14(8):4777. https://doi.org/10.3390/su14084777

Chicago/Turabian Style

Mathes, Manuel, Matthias Schmidt, Johannes Käsgen, Bruno Fievet, Pierre Van Tichelen, Maitane Berecibar, and Mohammed Al-Saadi. 2022. "Heavy-Duty Battery Electric Buses’ Integration in Cities Based on Superfast Charging Technologies: Impact on the Urban Life" Sustainability 14, no. 8: 4777. https://doi.org/10.3390/su14084777

APA Style

Mathes, M., Schmidt, M., Käsgen, J., Fievet, B., Tichelen, P. V., Berecibar, M., & Al-Saadi, M. (2022). Heavy-Duty Battery Electric Buses’ Integration in Cities Based on Superfast Charging Technologies: Impact on the Urban Life. Sustainability, 14(8), 4777. https://doi.org/10.3390/su14084777

Note that from the first issue of 2016, this journal uses article numbers instead of page numbers. See further details here.

Article Metrics

Back to TopTop