Advancing the Sustainability of Risk Assessments within the Renewable Energy Sector—Review of Published Risk Assessments
Abstract
1. Introduction
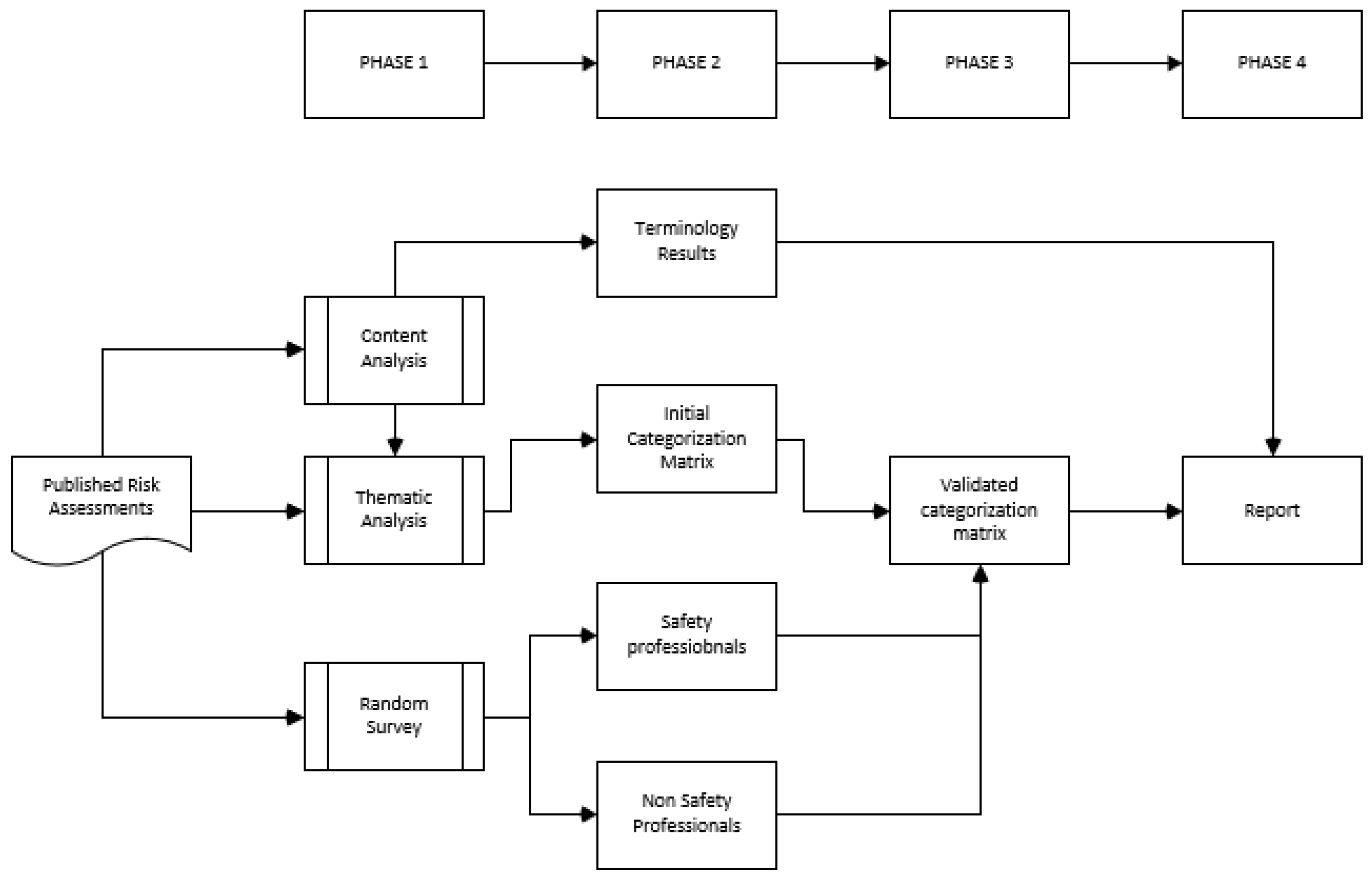
2. Methodology
- Phase 1 analyzes the terminology adopted by the risk assessment.
- Phase 2 analyzes the research outputs.
- Phase 3 verifies the research outputs.
- Phase discusses the results of the research and discusses the recommendations.
2.1. Content Analysis
2.2. NVIVO Software
2.3. Thematic Analysis
2.4. Survey
2.5. Survey Issues
- The survey participants would not be asked to rate or score the language used as a risk safeguard. They would be asked to categorize the safeguards under the themes developed in the Thematic Analysis/Content Analysis.
- The survey design and the questions asked were independently reviewed and approved by the University Ethics team.
- The participants in the survey were volunteers suggested by the Institute of Occupational Safety and Health (IOSH). They were all chartered safety professionals; however, they had no knowledge or experience of the Renewable Energy industry. This approach was adopted as the hazards described in the published risk assessments were generic in nature; therefore, they occur in other industries. They include working at height, exposure to hazardous substances, exposure to hazardous energies, and slips, trips, and falls.
- The safety professionals nominated by IOSH were also asked to nominate friends or family who had no knowledge of the Renewable Industry and no formal health and safety background.
3. Results
3.1. Content Analysis Results
3.2. Thematic Analysis Results
3.3. Survey Results
3.4. Combined Results
- “The products for the work are to be identified to the team leader, and additional controls are implemented”.
- “Barrier creams are made available for daily use”.
- “Adequate ventilation shall be ensured”.
- “Take regular breaks”.
- “Only approved tooling shall be used”.
- “Wear suitable PPE as stated in relevant Control of Substances Hazardous to Health (COSHH) assessment when coming into contact with substances hazardous to health”.
- “Refer to COSHH assessment for required PPE”.
- “Statutory inspections in accordance with legislation shall be completed for all lifting equipment and copies of certificates kept at the site”.
- “Only trained and competent technicians to carry out lifting work”.
- “A written scheme of examination shall be prepared by a competent person and implemented by management”.
- “Waste shall be disposed of in accordance with the relevant CoSHH assessment”.
- “Work areas and access ways to be kept clear of unnecessary materials and equipment”.
- “Refer to Method Statement for all CoSHH products to be used for the task”.
- “Where possible, a suitable-sized approved lifting bag in good condition shall be used”.
- “Avoid exposure to the body where possible”.
3.5. Identification of Key Words
- Health and Safety Regulators
- Sage Publications
- Journal of Marine Engineering and Technology
- Harvard Business School
- Cambridge University Press
- Journal of Advanced Nursing
- Center for Advanced Engineering Study
- Encyclopedia of Behavioral Neuroscience (Elsevier)
- Reliability Engineering and System Safety
4. Discussion
5. Conclusions
Author Contributions
Funding
Institutional Review Board Statement
Informed Consent Statement
Data Availability Statement
Acknowledgments
Conflicts of Interest
References
- HSE. Managing Risks and Risk Assessments at Work. 2022. Available online: https://www.hse.gov.uk/simple-health-safety/risk/index.htm (accessed on 18 November 2022).
- ROSPA. What Is a Risk Assessment. 2022. Available online: https://www.rospa.com/workplace-health-and-safety/what-is-a-risk-assessment (accessed on 18 November 2022).
- Ozguc, O. A new risk-based inspection methodology for offshore floating structures. J. Mar. Eng. Technol. 2021, 19, 40–55. [Google Scholar] [CrossRef]
- Merriam, S.B. Theory to Practice. What Can You Tell from an N of 1? Issues of Validity and Reliability in Qualitative Research. PAACE J. Lifelong Learn. 1995, 4, 51–60. Available online: https://www.iup.edu/pse/files/programs/graduate_programs_r/instructional_design_and_technology_ma/paace_journal_of_lifelong_learning/volume_4,_1995/merriam1995.pdf (accessed on 25 October 2022).
- U.K. Government. The Management of Health and Safety at Work Regulations; U.K. Government: London, UK, 1999. Available online: https://www.legislation.gov.uk/uksi/1999/3242/contents/made (accessed on 19 May 2023).
- Krippendorff, K. Content Analysis: An Introduction to Its Methodology, 3rd ed.; Sage: Thousand Oaks, CA, USA, 2013. [Google Scholar]
- Middleton, F. Reliability vs. Validity in Research|Differences, Types & Examples. Scribbr. 2022. Available online: https://www.scribbr.co.uk/research-methods/reliability-or-validity (accessed on 4 May 2023).
- Shuttleworth, M.; Wilson, L.T. Definition of Reliability. 2009. Available online: https://explorable.com/definition-of-reliability (accessed on 10 July 2023).
- Hall, T.; Jenkins, M. Workplace Substance Management a Bridge for Health and Safety Professionals. Copyright TOX247 Publications. T3 Traynor House Peterlee County Durham SR8 2RU 2023. ISBN 978-1-7396015-8-4; Available online: https://www.tox247.com (accessed on 25 October 2022).
- Bloch, A. Murphy’s Law Part 2: More Reasons Why Things Go Wrong; Price Stern Sloan: Los Angeles, CA, USA, 1980; ISBN 1004-1706-645-0. [Google Scholar]
- Hawking, S. A Briefer History of Time; Transworld Publishers: London, UK, 2005; ISBN 9780593056974. [Google Scholar]
- Planck, M.; Murphy, J.V., Translators; Today in Science History. Where Is Science Going? 1932. Available online: https://todayinsci.com/P/Planck_Max/PlanckMax-Quotations.htm#:~:text=It%20is%20never%20possible%20to%20predict%20a%20physical%20occurrence%20with%20unlimited%20precision.&text=In%20'The%20Meaning%20of%20Causality,1949%2C%202007)%2C%20124 (accessed on 25 October 2022).
- Frisch, O.R. What Little I Remember; Cambridge University Press: Cambridge, UK, 1979. [Google Scholar]
- Anker, D. Prediction Is Very Difficult Especially If It’s about the Future; Cranfield University: Silsoe, UK, 2017; Available online: https://blogs.cranfield.ac.uk/leadership-management/cbp/forecasting-prediction-is-very-difficult-especially-if-its-about-the-future#:~:text=Niels%20Bohr%2C%20the%20Nobel%20laureate,model%20out%2Dof%2Dsample (accessed on 2 January 2021).
- Van Dooren, W.; Van de Walle, S. Reality Is Merely an Illusion, Albeit a Persistent One: Introduction to the Performance Measurement Symposium. 2008. Available online: https://journals.sagepub.com/doi/10.1177/0020852308098466 (accessed on 2 January 2021).
- Nietzsche, F. Twilight of the Idols or How to Philosophise with a Hammer; Hackett Publishing Company Inc.: Indianapolis, Indiana, 1889. [Google Scholar]
- Hollnagel, E. Safety-1 and Safety-11. In The Past the Future of Safety Management; CRC Press: Raton, FL, USA, 2014; ISBN 978-1-4724-2308-5. [Google Scholar]
- Farmelo, G. Random Acts of Science. The New York Times. 2010. Available online: https://www.nytimes.com/2010/06/13/books/review/Farmelo-t.html (accessed on 17 January 2021).
- Deming, W.E. Out of Crisis Massachusetts Institute of Technology; Center for Advanced Engineering Study: Cambridge, UK, 1991; ISBN 0-911379-01-0. [Google Scholar]
- Woods, D.D.; Dekker, S.W.A. Anticipating the Effects of Technological Change: A New Era of Dynamics for Human Factors. Theor. Issues Ergon. Sci. 2000, 1, 2000. [Google Scholar] [CrossRef]
- Hollnagel, S. Flight decks and free flight: Where are the system boundaries? Elsevier Appl. Ergon. 2007, 38, 409–416. [Google Scholar] [CrossRef] [PubMed]
- Taylor, T.W. The Principles of Scientific Management; Harper & Brothers: New York, NY, USA; London, UK, 1911. [Google Scholar]
- Global Offshore Wind Health and Safety Organization. G+. 2023. Available online: https://www.gplusoffshorewind.com/ (accessed on 29 June 2023).
- Elo, S.; Kyngas, H. The qualitative content analysis process. J. Adv. Nurs. 2008, 62, 107–115. [Google Scholar] [CrossRef] [PubMed]
- Vaismoradi, M.; Turunen, H.; Bondas, T. Content analysis and thematic analysis: Implications for conducting a qualitative descriptive study. Nurs. Health Sci. 2013, 15, 398–405. [Google Scholar] [CrossRef] [PubMed]
- Lewins, A.; Silver, C. Using Software in Qualitative Research: A Step-by-Step Guide; Sage: London, UK, 2007. [Google Scholar]
- Kaefer, F.R.J.; Sinha, P. A Software-Assisted Qualitative Content Analysis of News Articles: Example and Reflections (55 paragraphs). Forum Qual. Sozialforschung/Forum Qual. Soc. Res. 2015, 16. Available online: http://nbn-resolving.de/urn:nbn:de:0114-fqs150283 (accessed on 11 March 2024).
- Bazeley, P. Qualitative Data Analysis with NVivo, 2nd ed.; Sage: Thousand Oaks, CA, USA, 2007. [Google Scholar]
- Marshall, C.; Rossman, G.B. Designing Qualitative Research; Sage Publications: London, UK, 1995. [Google Scholar]
- Check, J.; Schutt, R.K. Survey research. In Research Methods in Education; Check, J., Schutt, R.K., Eds.; Sage Publications: Thousand Oaks, CA, USA, 2012; pp. 159–185. [Google Scholar]
- Nickerson, R.S. Confirmation bias: A ubiquitous phenomenon in many guises. Rev. Gen. Psychol. 1998, 2, 175–220. [Google Scholar] [CrossRef]
- Korteling, J.E.; Toet, A. Cognitive Biases. In Sergio Della Sala, Encyclopedia of Behavioral Neuroscience, 2nd ed.; Elsevier: Amsterdam, The Netherlands, 2022; pp. 610–619. ISBN 9780128216361. [Google Scholar] [CrossRef]
- Noor, I. Confirmation Bias. Simply Psychology. 2020. Available online: www.simplypsychology.org/confirmation-bias.html (accessed on 9 July 2023).
- Starr, S. Survey Research: We Can Do Better. J. Med. Libr. Assoc. 2012, 100, 1–2. [Google Scholar] [CrossRef] [PubMed]
- Casad, B. Confirmation Bias. 2019. Available online: https://www.britannica.com/science/confirmation-bias (accessed on 9 July 2023).
- Caulfield, J. What Is a Common Noun?|Definition & Examples. Scribbr. 2023. Available online: https://www.scribbr.co.uk/nouns/common-noun/ (accessed on 27 June 2023).
- Ryan, E. What is an Adjective. Definition, Types and Examples. 2022. Available online: https://www.scribbr.co.uk/the-parts-of-speech/adjective/ (accessed on 20 March 2023).
- Caulfield, J. Gerund Noun Definition, Form and Examples. 2023. Available online: https://www.scribbr.co.uk/nouns/gerunds/ (accessed on 20 March 2023).
- Beiseker, L.G.; National Human Genome Research Institute. Cloning. 2023. Available online: https://www.genome.gov/genetics-glossary/Cloning (accessed on 21 March 2023).
- Hubbard, D.W. The Failure of Risk Management: Why Its Broken and How to Fix I; John Wiley and Sons. Inc.: Hoboken, NJ, USA, 2009; ISBN 978-0-470-38795-5. [Google Scholar]
- U.K. Government. The Health and Safety at Work Act. 1974. Available online: https://www.legislation.gov.uk/ukpga/1974/37/contents (accessed on 19 May 2023).
- Bhat, A. Nominal Scale: Definition, Characteristics and Examples. 2023. Available online: https://www.questionpro.com/blog/nominal-scale/ (accessed on 29 August 2023).
- Energy Institute Media Release. Safety Performance Improves Alongside Surge in Offshore Wind Activity; Energy Institute Media Release: London, UK, 2023; Available online: https://www.energyinst.org/exploring-energy/resources/news-centre/media-releases (accessed on 29 June 2023).
- U.K. Government. The Reporting of Injuries, Diseases and Dangerous Occurrences Regulations. 2013. Available online: https://www.legislation.gov.uk/uksi/2013/1471/regulation/6/made (accessed on 29 June 2023).
- United States Department of Labor. Occupational Safety and Health Administration. In OSHA Injury and Illness Recordkeeping and Reporting Requirements. 2022. Available online: https://www.osha.gov/recordkeeping (accessed on 29 June 2023).
- OSHA. Clarification on How the Formula Is Used by OSHA to Calculate Incident Rates. 2016. Available online: https://www.osha.gov/laws-regs/standardinterpretations/2016-08-23 (accessed on 11 March 2024).
- Cooper, D. Safety Metrics: Take with a Large Pinch of Salt; Safety and Health Practitioner. 2023. Available online: https://www.shponline.co.uk/americas/take-with-a-large-pinch-of-salt/ (accessed on 22 August 2023).
- Mason, M.K. Socrates, the Senses and Knowledge: Is There a Connection. 2020. Available online: https://www.moyak.com/papers/socrates-truth.html (accessed on 7 July 2023).
- Kaufmann, W. The Portable Neitzsche; Penguin Books Ltd.: London, UK, 1954. [Google Scholar]
- Montibeller, G.; Von Winterfeldt, D. Cognitive and motivational biases in decision and risk analysis. Risk Anal. 2015, 35, 1230–1251. [Google Scholar] [CrossRef] [PubMed]
- Health and Safety Executive. Proving the Offence; Health and Safety Executive: Sudbury, UK, 2021. Available online: https://www.hse.gov.uk/enforce/enforcementguide/court/rules-prove.htm (accessed on 17 July 2023).
- Mathews, P. Ignorance of the Law Is No Excuse; Cambridge University Press: Cambridge, UK, 2018; Available online: https://www.cambridge.org/core/journals/legal-studies/article/abs/ignorance-of-the-law-is-no-excuse/31F800ED44C5CF1FAFA1562889D8ED0D (accessed on 30 August 2023).
- Dunnin, H.; Stafell, I. Offshore Wind Power Is Now So Cheap It Could Pay Money Back to Consumers; Imperial College Londo: London, UK, 2020. [Google Scholar]
- Bordakova, M. Rising Costs Squeeze European Wind Turbine Manufacturers; Fitch Ratings: New York, NY, USA, 2023. [Google Scholar]
- Manning, L. Neoliberalism: What It Is, with Examples and Pros and Cons; Investopedia. 2022. Available online: https://www.investopedia.com/terms/n/neoliberalism.asp (accessed on 30 August 2023).
- Roser, C. “Faster, Better, Cheaper” in the History of Manufacturing: From the Stone Age to Lean Manufacturing and Beyond, 1st ed.; Productivity Press: Cambridge, MA, USA, 2016; 463p, ISBN 978-1498756303. [Google Scholar]
- Robins, A. Stochastic v Deterministic Models: Understand the Pros and Cons; Elsevier: Amsterdam, The Netherlands, 2020; Available online: https://blog.ev.uk/stochastic-vs-deterministic-models-understand-the-pros-and-cons (accessed on 30 August 2023).
- Cherry, K. What Is Behaviourism. Very Well Mind. 2020. Available online: https://www.verywellmind.com/behavioral-psychology-4157183 (accessed on 30 August 2023).
- Mcleod, S. What Is Cognitive Dissonance? Definition and Examples. Simply Psychology. 2023. Available online: https://www.simplypsychology.org/cognitive-dissonance.html (accessed on 29 August 2023).
- Prentice, R. Conformity Bias. Ethics Unwrapped. 2023. Available online: https://ethicsunwrapped.utexas.edu/glossary/conformity-bias (accessed on 30 August 2023).
- Healy, P. Confirmation Bias: How It Affects Your Organization and How to Overcome It; Harvard Business School: Cambridge, MA, USA, 2016; Available online: https://online.hbs.edu/blog/post/confirmation-bias-how-it-affects-your-organization-and-how-to-overcome-it (accessed on 23 August 2023).
- Liesering, K. What Is Compliance? Definition, Basis and Tips to Get Started; EQS Group. 2022. Available online: https://www.eqs.com/en-gb/compliance-knowledge/blog/what-is-compliance/#:~:text=maintain%20an%20overview%3F-,What%20exactly%20does%20compliance%20mean%3F,well%20as%20internal%20company%20directives (accessed on 29 August 2023).
- Slovic, P.; Fischhoff, B.; Lichtenstein, S. Response Mode, Framing and Information Processing Effects in Risk Assessment. In New Directions for Methodology of Social and Behavioural Science: Question Framing and Response Consistency; Hogarth, R., Ed.; Jossey-Bass: San Francisco, CA, USA, 1982; pp. 21–36. [Google Scholar]
- Sagan, C. The Dragons of Eden: Speculations on the Evolution of Human Intelligence Ballantine Books; Ballantine Books: New York, NY, USA, 1977; ISBN 9780345346292. [Google Scholar]
- Jones-Lee, M.; Aven, T. ALARP—What does it really mean? Reliab. Eng. Syst. Saf. 2011, 96, 877–882. [Google Scholar] [CrossRef]
- Bui, J. What is Balance of Probabilities. Civil Disputes and Littigation. J.B. Solicitors. 2023. Available online: https://jbsolicitors.com.au/what-is-balance-of-probabilities/ (accessed on 17 July 2023).

| Word | Length | Count | Similar Words |
|---|---|---|---|
| Requirements (common noun) | 12 | 249 | require, required, requirement, requirements, requirements’, requiring |
| Competent (adjective) | 9 | 241 | competent, competency, competent |
| Lifting (Gerund verb) | 7 | 214 | lifting, lifts |
| Equipment (common noun | 9 | 213 | equipment |
| Works (abstract noun) | 5 | 205 | worked, working, works |
| Isolations (common noun) | 10 | 191 | isolated, isolation, isolations |
| Assessments (common noun) | 11 | 182 | assess, assessed, assessment, assessments, assessment, assessments |
| System (abstract noun) | 6 | 173 | system, systems |
| Persons (common noun) | 7 | 171 | person, personal, persons |
| Ensure (verb) | 6 | 169 | ensure, ensured, ensuring |
| Coding | Choices | Reference | Competence | PPE | Instruction | Statement | Unknown |
|---|---|---|---|---|---|---|---|
| % | 12% | 4% | 16% | 12% | 36% | 20% | 0% |
| Choice | Refer | Competency | PPE | Instruct | State | Unknown | |
|---|---|---|---|---|---|---|---|
| Initial analysis | 12% | 4% | 16% | 12% | 36% | 20% | 0% |
| 5 safety professionals | 16% | 9% | 15% | 7% | 33% | 17% | 3% |
| 5 non-safety professionals | 6% | 5% | 9% | 6% | 57% | 13% | 5% |
| Choices | Reference | Competence | PPE | Instruction | Statement | Unknown |
|---|---|---|---|---|---|---|
| 6–12% | 4–9% | 9–16% | 6–12% | 33–57% | 13–20% | 3–5% |
Disclaimer/Publisher’s Note: The statements, opinions and data contained in all publications are solely those of the individual author(s) and contributor(s) and not of MDPI and/or the editor(s). MDPI and/or the editor(s) disclaim responsibility for any injury to people or property resulting from any ideas, methods, instructions or products referred to in the content. |
© 2024 by the authors. Licensee MDPI, Basel, Switzerland. This article is an open access article distributed under the terms and conditions of the Creative Commons Attribution (CC BY) license (https://creativecommons.org/licenses/by/4.0/).
Share and Cite
Jenkins, M.; Loughney, S.; Matellini, D.B.; Wang, J. Advancing the Sustainability of Risk Assessments within the Renewable Energy Sector—Review of Published Risk Assessments. Sustainability 2024, 16, 2446. https://doi.org/10.3390/su16062446
Jenkins M, Loughney S, Matellini DB, Wang J. Advancing the Sustainability of Risk Assessments within the Renewable Energy Sector—Review of Published Risk Assessments. Sustainability. 2024; 16(6):2446. https://doi.org/10.3390/su16062446
Chicago/Turabian StyleJenkins, Mark, Sean Loughney, Dante Benjamin Matellini, and Jin Wang. 2024. "Advancing the Sustainability of Risk Assessments within the Renewable Energy Sector—Review of Published Risk Assessments" Sustainability 16, no. 6: 2446. https://doi.org/10.3390/su16062446
APA StyleJenkins, M., Loughney, S., Matellini, D. B., & Wang, J. (2024). Advancing the Sustainability of Risk Assessments within the Renewable Energy Sector—Review of Published Risk Assessments. Sustainability, 16(6), 2446. https://doi.org/10.3390/su16062446

