Abstract
The compositional characteristics of dissolved organic matter (DOM) have important implications for lake water quality and aquatic ecology. Seasonal changes of dissolved organic matter (DOM) as well as phytoplankton abundance and composition in Shahu Lake from April to July were characterized by three-dimensional fluorescence spectroscopy (3DEEMs) combined with parallel factor (PARAFAC) analysis. The relationship between the response of components of the DOM and phytoplankton abundance were explored via Pearson correlation and redundancy analysis (RDA) in the overlying water. The results showed that the DOM was composed mainly of tryptophan-like (C2+C4), fulvic-acid-like (C3), humic-acid-like (C1), and tyrosine-like (C5) compounds that accounted for 44.47%, 20.18%, 20.04%, and 15.31%, respectively, of the DOM. The DOM was derived from both endogenous and terrestrial sources. With seasonal changes, endogenous DOM produced by phytoplankton growth and metabolism gradually increased. In spring and summer (April–July), Chl-a concentrations were significantly correlated with C3 (p < 0.01) and C5 (p < 0.05). The concentration of protein-like fractions (C2+C4, C5) were correlated with Cyanobacteria abundance, and the concentrations of humic-like component content (C1, C3) were correlated with the abundance of Xanthophyta, Chlorophyta, and Cryptophytes. Overall, phytoplankton density and Chl-a content increased by 125% and 197%, respectively, and the abundance of C3 and C5 in the DOM increased by 7.7% and 22.15% in parallel. Thus, seasonal phytoplankton growth had an important influence on the composition of the DOM.
1. Introduction
Lake eutrophication is one of the most prominent problems in the global aquatic environment [1] and seriously affects water quality by triggering the overproduction of phytoplankton and increasing the risk of algal toxin pollution [2]. This not only endangers the survival of aquatic organisms in lakes but also cause serious social problems [3]. The endogenous dissolved organic matter (DOM) is released from the phytoplankton production and the metabolism process, and it also plays an important role in the process of material and energy cycle in lakes [4]. The sources of DOM include exogenous and endogenous sources: exogenous DOM mainly comes from land, the atmosphere, rivers, and groundwater; endogenous DOM mainly originates from the extinction and degradation of aquatic organisms, including microorganisms, macrophytes, and phytoplankton [5,6]. DOM is an important carbon source for phytoplankton growth as well as a major product of phytoplankton metabolites [7,8]. Daggett et al. [9] found that the increases in DOM was synchronized with the increases in phytoplankton biomass. Regardless of the nutrition limitation patterns, the increase in DOM also stimulated the reproduction of Chlorophyta, Bacillariophyta, and Chrysophyta [9]. Phytoplankton production and metabolism is an important participant in DOM migration and transformation. Rochelle et al. [10] found a significant positive correlation between DOM content and chlorophyll a (Chl-a) in summer. The composition and structure of DOM in aquatic ecosystems is closely related to the transport and transformation of nutrients as well as the water bloom in lakes [11]. Therefore, investigating the sources, composition, and structure of DOM and the relationship between DOM and phytoplankton can help in the analysis of the causes of lake pollution, which is important for lake pollution control and lake water quality improvement.
Three-dimensional excitation emission matrix spectroscopy (3DEEMs) is an important technology in the analysis of the compositions of DOM in lakes and rivers. Song et al. [12] used 3DEEMs to characterize the composition and distribution of DOM in Taihu Lake and analyzed the source information of DOM in different areas of the lake. They found that the DOM in Taihu Lake had the dual characteristics of internal and external sources, and DOM in most of the area of the lake was mainly composed by protein-like substances that are produced by algae [12]. Zhao et al. [13] analyzed the seasonal changes of DOM in the overlying water of Erhai Lake by using 3DEEMs, finding that the changes of DOM fluorescent components could indicate the eutrophication of the lake. Moreover, parallel factor analysis (PARAFAC) can be combined with 3DEEMs as semi-quantitative analysis of DOM fluorescence composition in order to avoid the influence of overlapping and interference of fluorescence peaks in 3DEEMs. Wang et al. [14] used the 3DEEMs-PARAFAC method to qualitatively and quantitatively characterize the information of DOM components of Ebinur Lake and developed a diagnostic model based on the fluorescence index set that is applicable to surface water salinity in arid regions. Zhang et al. [15] used PARAFAC to characterize the composition of DOM in the overlying water of the Chaobai River and determined the relationship between the compositions of different types of DOM, anthropogenic inputs, microbial activity, and phytoplankton. 3DEEMs-PARAFAC analysis is undoubtedly an important research tool in the field of lake organic matter cycling and eutrophication studies.
As a typical eutrophic shallow lake, Shahu Lake was chosen as the research object. Shahu Lake is located in an arid and semi-arid region in Ningxia, China. In mid to early June 2019, the proliferation of Prymnesiaceae produced algal toxins, which caused large-scale fish death, and then the water quality had a tendency to deteriorate [16]. After active remediation by the local government, algal toxin events did not occur in 2020, but water quality compliance of Shahu Lake remains unstable. However, there are a few studies that have been conducted on the causes of water quality changes of Shahu Lake, or the source as well as the data of continuous monitoring of the DOM in Shahu Lake. This resulted a disadvantage of precise management of Shahu Lake. Therefore, this study used 3DEEMs-PARAFAC technology to (1) continuously monitor the DOM in the overlying water of Shahu Lake; (2) conduct a study on the structural characteristics, spatial and temporal distribution rules, and sources of DOM in the overlying water of Shahu Lake from spring (April–June) to early summer (July) in 2020; (3) investigate the relationship between structural changes of DOM components and phytoplankton response; and (4) provide an important data reference and theoretical support for the precise management of the water environment and early warning of water ecology in Shahu Lake.
2. Materials and Methods
2.1. Study Area
Shahu Lake is a brackish water lake located in a semi-arid desert area in Shizuishan City, Ningxia Hui Autonomous Region of China. It has an average water depth of 2.2 m, a water area of about 8.2 km² [17], an average annual temperature of 9.74 °C, an average annual precipitation of 172.5 mm, and an average annual evaporation of 1755.1 mm [18]. The main source of the Shahu Lake is the Yellow River recharge [19]; the water outlet located on the west side of the lake and the two canals on the south side of the lake are interconnected irrigation canal. Due to the natural climate change and tourism development, the water quality of Shahu Lake is unstable, and thus the ecological and environmental problems of Shahu Lake are critical.
2.2. Sample Collection and Processing
The data was conducted from continued sampling and monitoring of water quality in the area of the lake from April to July in 2020. Sampling points were set up in the area of the lake according to the distribution of the lake drainage, the location of the inlet, and the area of the lake (Figure 1). The water samples were collected into the pretreated polyethylene wide-mouth bottles, stored at 4 °C, and brought back to the laboratory for testing. The standard analytical methods for water quality indicators are shown in Table 1. The water samples for spectroscopy were filtered using glass fiber filters (Millipore, 0.45 μm fiber Ø) and then scanned for three-dimensional fluorescence spectroscopy. All monitoring work was completed within one day after sampling.
Figure 1.
Sampling sites of overlying water in Shahu Lake.
Table 1.
Analytical methods for selected parameters of water samples (GB3838-2002) [20].
2.3. 3DEEM Measurement and Indices Calculation
The samples to be tested were measured using a Hitachi Fluorescence Spectrophotometer (F-7000) at 25 °C to determine the three-dimensional fluorescence spectroscopy data. The instrument excitation light source was a 150 W xenon lamp, and Mill-Q ultrapure water was set as a blank control. The emission wavelength (Em) was 260–550 nm, the excitation wavelength (Ex) was 200–450 nm, the interval between Em and Ex was 5 nm, and the scanning speed was fixed at 2400 nm/min.
The fluorescence index (FI), autochthonous index (BIX), and humification index (HIX) were calculated from the data of 3DEEMs to assess the source and properties of DOM. FI refers to the ratio of Em fluorescence intensity at 470 nm and 520 nm, when Ex = 370 nm [22]. When FI < 1.4, the DOM is dominated by exogenous input; when FI > 1.9, the DOM is dominated by autogenous source; when 1.4 ≤ FI ≤ 1.9, the DOM has dual properties of internal and external sources [14,22]. BIX is the ratio of the fluorescence intensity at the emission wavelengths of 380 and 430 nm, when Ex = 310 nm [22]. When 0.8 < BIX < 1.0, the DOM has a new autogenic feature; when BIX > 1.0, the DOM has a strong autogenous feature [23]. HIX is often used to indicate the degree of humification of DOM, being the ratio of the fluorescence area integral at the emission wavelength of 435~480 nm to the fluorescence area integral at 300~345 nm at Ex = 255 nm [24]. The degree of humification is positively correlated with the value of HIX.
PARAFAC analysis of the 3D fluorescence spectral data was carried out using MATLAB 7.0 software. Rayleigh scattering and Raman scattering interferences in the spectral data were removed by interpolation to avoid the model from generating pseudo-peaks in specific regions [25]. The optimal number of components was then extracted by half-split validation and residual analysis, and the resulting maximum fluorescence intensity (Fmax) could be used to represent the relative concentration of PARAFAC components [26].
2.4. Data Analysis
Sampling point layouts were mapped using ArcGIS 10.2, the redundancy analysis (RAD) used CANOCO 5, the Pearson analysis used SPSS 17.0, and data processing and mapping analysis used Excel 2019 and Origin 2021.
3. Results and Discussion
3.1. DOM Spectral Fingerprint Analysis of Overlying Water in Shahu Lake
Seven fluorescence peaks with different intensities appeared in the DOM 3D fluorescence spectra of the overlying water of the Shahu Lake (Figure 2), and the peak positions of the fluorescence spectra of the sampling points in different months were essentially similar. Therefore, the sampling point #4 with the most significant variation of the characteristic peak intensity was selected as the illustrated case. As shown in Figure 2, peaks T1 (Ex/Em = 225~235/340~345 nm) and T2 (Ex/Em = 270~280/340~370 nm) were related to tryptophan-like fluorescence in the ultraviolet and visible regions, respectively, associated with aromatic-protein-like substances produced by microbial decomposition and being easily degradable [27]. Peak B (Ex/Em = 265~285/290~315 nm) was concerned with tyrosine-like fluorescence substance in the UV region, mainly generated by microbial life activity [28]. Peaks A (Ex/Em = 240~270/375~445 nm) and C (Ex/Em = 300~370/400~500 nm) were associated with fulvic acid-like fluorescence peaks in the UV and visible regions, respectively, and were related to the degree of humification of the overlying water DOM [29]. Peaks F (Ex/Em = 260~300/470~510 nm) and H (Ex/Em = 350~380/475~510 nm) were linked to the fluorescence of humic-acid-like substances in the UV and visible regions, respectively, characterizing terrestrial humic substances, mainly from exogenous inputs such as domestic sewage and industrial and agricultural wastewater [30]. As seen in Figure 2, the fluorescence intensity of fulvic acid and tryptophan-like (peak A and T1) substances were significantly higher than the other five peaks, indicating a high content of fulvic acid and tryptophan-like substances in the DOM of the overlying water of the Shahu Lake.
Figure 2.
Three-dimensional excitation–emission matrix spectroscopy of the dissolved organic matter from the sampling point #4 of Shahu Lake in April (a), May (b), June (c), and July (d).
Fluorescence abundance showed an increasing trend at each sampling point between April and July. From spring to summer (April–July), the fluorescence abundance of tryptophan-like and tyrosine-like substances gradually increased, meaning that the amounts of protein-like substances increased. Zhang et al. [3] studied the changes of DOM molecular composition in June and November, which was during and after the algal bloom in Taihu Lake, finding that during the peak of the Cyanobacterial bloom in June, DOM was already combined with algal metabolites and showed the characteristics of biological mixture. They suggested that the temporal variation in the molecular characteristics of DOM in the Taihu Lake basin from summer to winter might be related to microbial metabolism [3]. Jia et al. [7] studied the relationship between DOM and phytoplankton response in Baiyang Lake in autumn (September–November) and found that the tryptophan-like contribution showed a clear downward trend from early to late autumn as phytoplankton abundance decreased. Therefore, it can be speculated that changes in DOM composition in overlying water of Shahu Lake might be related to phytoplankton and microbial activities.
Five major fractions were identified using PARAFAC for fraction extraction of DOM from Shahu Lake from April to July (Table 2, Figure 3). C1 (Ex/Em = 260/460 nm) and C3 (Ex/Em =245/400 nm) were jointly classified as humic-like substances. C1 corresponds to the UV-zone humic-acid-like fluorescence peak of the F-peak, which generally represents terrestrially derived organic matter [31]. C3 is a microbially transformed authigenic humic-like component with a similar spectral pattern to the A-peak [32], which indicates the UV zone fulvic acid-like fluorescence peak and is probably derived from algal and microbial residue degradation [33]. C2 (Ex/Em = 230, 280/340 nm) and C4 (Ex/Em =300/365 nm) are tryptophan-like substances that correspond to the peaks T1 and T2 of tryptophan-like fluorescence, and they are generally the metabolites of the microbial degradation [15,34,35]. This will be represented by (C2+C4) in the subsequent discussion. C5 (Ex/Em =220/300 nm) was identified as a tyrosine-like substance, corresponding to a tyrosine-like fluorescence peak in the UV region of the B peak, mainly an endogenous-protein-like substance produced by microorganisms and phytoplankton [28].
Table 2.
Spectral characteristics of five fluorescent components in the overlying water of the surface of Shahu Lake.
Figure 3.
Five different components identified by the PARAFAC model.
3.2. Variation Characteristics of Phytoplankton in Shahu Lake from April to July
The phytoplankton species and density of Shahu Lake were counted between April and July of 2020. The data contained a total of 61 species from 8 phyla (Figure 4a). Chlorophyta had the most occurrences with 22 species, accounting for 36% of the total number of phytoplankton species present during the survey, followed by Cyanobacteria and Bacillariophyta, each accounting for 23% of the total number of phytoplankton species. Other algae such as Euglenophyta, Pyrrophyta, Chrysophyta, Cryptophyta, and Xanthophyta were relatively few in number, accounting for 8.2%, 3.3%, 3.3%, 1.6%, and 1.6%, respectively. The total amount of Chlorophyta, Cyanobacteria, and Bacillariophyta species accounted for 82.1% of the total number of phytoplankton species present during the research process. Therefore, Chlorophyta, Cyanobacteria, and Bacillariophyta phyla were represented by the greatest number of taxa in the Shahu Lake.
Figure 4.
Monthly proportion of phytoplankton phyla (a) and monthly variation diagram of phytoplankton density and Chl-a (b).
With seasonal changes, phytoplankton began to grow and multiply in the water body (Figure 4b). The average of Chl-a content was 5.78 μg/L in spring (April–June) and became 17.17 μg/L in early summer (July), which was a percentage growth of 197%. The average phytoplankton densities from April to June were 9.5 × 105 cells/L, 1 × 107 cells/L, 1.15 × 107 cells/L, and 1.69 × 107 cells/L in that order, presenting a trend of monthly increase. The average phytoplankton density in spring (April–June) was 0.75 × 107 cells/L, and in early summer (July) was 1.69 × 107 cells/L, which was a percentage growth of 125%. The phytoplankton density in early summer was significantly higher than that in spring, and thus the growth and reproduction of the phytoplankton were affected by seasonal changes. As the seasons change, the increasement of temperatures and sunlight intensity will promote the reproduction of Chlorophyta, Cyanobacteria, and Bacillariophyta [9]. In temperate plain water systems, in addition to physical factors such as lake temperature, light, and hydrological effects, the composition of DOM also affects phytoplankton’s growth and metabolism [36]. The DOM, as the most active organic matter in the lake water environment, provides available nutrients such as organic carbon, organic nitrogen, and organic phosphorus for phytoplankton growth and reproduction [37]. Moreover, with the increasement of phytoplankton biomass could enhance the metabolism, and the growth, metabolism, and decay of phytoplankton will promote the increase in DOM content in the aquatic environment [38].
3.3. Analysis of DOM Component Characteristics and Main Sources
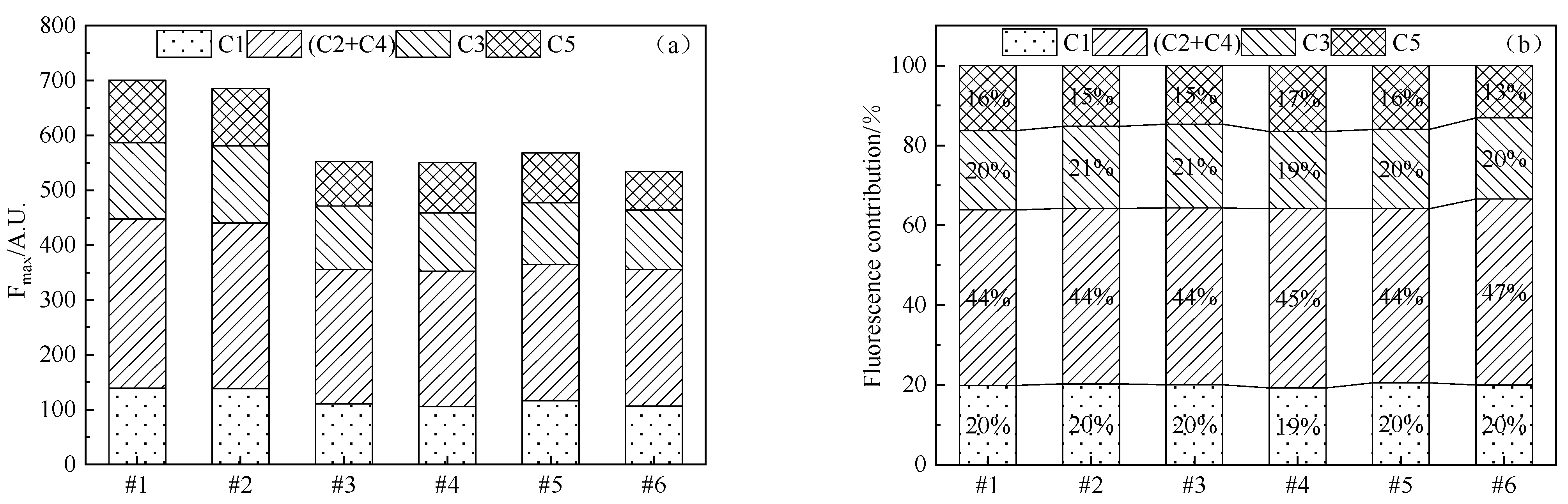
Due to the different fluorescence quantum yields of different substances, the fluorescence intensity cannot directly characterize the concentration of the DOM component, but its relative content can be expressed in terms of Fmax [26]. The spatial distribution of total Fmax in Shahu Lake did not vary greatly, and was at each point ranging from 533.67 to 700.54 A.U. (Figure 5). Among them, sampling point #6 in the southwestern part of the lake had the lowest total Fmax, while points #1 and #2 in the southeastern part of the lake were higher, which might have been due to the southeastern part of the lake being farther from the recharge outlet. The DOM of the overlying water of Shahu Lake was mainly composed of 59.78% of protein-like (tryptophan-like and tyrosine-like) and 40.12% of humic substances (including terrestrial and authigenic sources). The magnitude of each fluorescent fraction to the total Fmax was in the following order: (C2+C4) > C3 > C1 > C5, with the percentages of each fraction being 44.47%, 20.18%, 20.04%, and 15.31%, respectively. Zhang et al. [3] pointed out that the DOM, which consists mainly of protein-like and humic substances, was closely linked to phytoplankton community dynamics.
Figure 5.
Total fluorescence abundance (a) and relative contribution ratio (b) of DOM components in the overlying water of Shahu Lake.
In order to study the variation of DOM content in the overlying water of Shahu Lake with time and its influencing factors, the variation of Fmax and spectral indices of each fluorescent component of DOM in spring and summer (April–July) was analyzed. There was little overall variation of C1 from spring to early summer (Figure 6), which was related to the continuous recharge of water in the Shahu Lake basin between April and July [19]. In spring (April–June), the abundance of (C2+C4) showed an upward trend, while the C3 showed a gentle change and the trend of C5 was raised in volatility. From spring to summer (June–July), the abundance of (C2+C4) decreased; the abundance of C3 and C5 increased obviously; and the fluorescence abundance increased by 7.7% and 22.15%, respectively, which was similar to the variation of phytoplankton density and Chl-a content. Moreover, research has shown that the humic-like content was controlled by hydrological processes, whereas protein-like fluorescent substances were more closely linked to biological processes [39]. Algae can release large amounts of tyrosine-like substances when they accumulate and die, which leads to the enhancement of the biogenic characteristics of DOM in water. Low-molecular-weight protein-like substances can both originate from phytoplankton metabolites and act as organic nutrients to promote phytoplankton growth and reproduction [40]. The above analysis shows that humic-like and protein-like material in DOM is strongly linked to changes in phytoplankton biomass over time in Shahu Lake.
Figure 6.
Variation components of DOM component content in spring (April to June) and summer (July).
The variation of spectral indices such as FI, BIX, and HIX in the area of the lake was analyzed over time. There was some spatial and temporal variation among the fluorescence index values in the area of the lake: the FI was ranging from 1.58 to 2.08 with a mean value of 1.68 ± 0.10 (1.4 < FI < 1.9) (Table 3), which indicated that the DOM of Shahu Lake has dual properties of internal and external sources [14]. The average of FI in spring (April–June) was 1.66 ± 0.05, and in early summer was 1.77 ± 0.16. With seasonal changes, the DOM of Shahu Lake was gradually enhanced by endogenous influence. The BIX values ranged from 0.98 to 1.46, with a mean value of 1.15 ± 0.14, which indicated that the DOM in the overlying water of Shahu Lake has authigenic characteristics [23]. HIX values ranged from 1.68 to 2.94 with a mean value of 2.31 ± 0.36, indicating a low degree of overall humification of the DOM [24]. The average value of HIX was 2.35 ± 0.36 in spring and 2.19 ± 0.33 in early summer with a slight decrease in the humification index. This indicated an increase in the degree of endogenous influence on DOM. As the season changes from spring to summer, the temperature rises, and the above three parameters all indicated that the DOM in the overlying water of Shahu Lake was predominantly endogenous. The endogenous generation of DOM is closely related to biological activity. Phytoplankton growth and metabolism and decomposition of residues release DOM into the water body [4], influencing the molecular composition characteristics of DOM [41].
Table 3.
Average FI, BIX, and HIX of Shahu Lake.
3.4. Influence Factors of DOM Composition in Overlying Water of Shahu Lake
In order to determine the influencing factors of the DOM component in the overlying water of Shahu Lake, Pearson correlation analysis and RDA were performed on the four fluorescence components with the densities of TN, TP, CODCr, Chl-a, and phytoplankton. The length of the arrow in the RDA results ranking chart (Figure 7) indicates the importance of the factor: two arrows in the same direction indicate a positive correlation, a smaller angle between the arrows indicates a greater correlation, and a near right angle indicates a small correlation [30]. The eigenvalues of RDA−1 and RDA−2 in Figure 7a were 0.3009 and 0.1604, respectively, which explain 30.29% and 16.04% of the variance of data. With the same method, the eigenvalues of RDA−1 and RDA−2 in Figure 7b explain 24.25% and 4.71% of the variance of data, respectively.
Figure 7.
RDA results of DOM components, environmental factors (a), and phytoplankton phyla (b).
Pearson correlation analysis and RDA results showed that Chl-a was positively correlated with phytoplankton density (p < 0.01) (Table 4). Chl-a is not only an important component of algal cells but also a type contained in all phytoplankton phyla. Therefore, the Chl-a and phytoplankton density were generally well correlated, and both can reflect phytoplankton standing crop [42]. However, the correlations between Chl-a and phytoplankton density and other environmental factors showed slight differences, which were related to the changes in the dominant phytoplankton species, the water quality condition, and the hydrological characteristics in the lake [43]. Chl-a showed a highly significant positive correlation with CODCr (p < 0.01), a significant negative correlation with TN (p < 0.05), and a statistically positive correlation with TP (r2 > 0.3). COD can reflect the degree of water pollution. The degradation of algal residues will release organic matter and nutrient elements (such as N and P) and consume dissolved oxygen by microbial decomposition or photodegradation. The growth and reproduction of phytoplankton could be promoted by sufficient organic matter and nutrients, and excessive phytoplankton will consume more dissolved oxygen and result in water quality degradation [44].
Table 4.
Correlation coefficients between DOM components and environmental factors. “*” indicates p < 0.05, “**” indicates p < 0.01.
Chl-a was significantly correlated with BIX (p < 0.01) and C3 (p < 0.01), and positively correlated with C5 (p < 0.05), indicating that phytoplankton biomass in Shahu Lake was related to the production of endogenous DOM. Previous research has shown that the DOM from in situ phytoplankton degradation contains approximately 25% humic-like fluorescence [45]. Mangal et al. [46] suggested that the protein-like material in the lake probably came from phytoplankton production and metabolism, as well as the decay and degradation of residues. Moreover, Chl-a and phytoplankton density were positively correlated with the DOM (C1, C2+C4, C3, C5) (Figure 7a), which indicated that the variation of DOM components in the overlying water of Shahu Lake were influenced by phytoplankton. The accumulation of phytoplankton and degradation of residues were the important source of contribution to DOM [8,10]. Meanwhile, (C2+C4) and C5 were correlated well with Cyanobacteria, and C1 and C3 were correlated positively with Xanthophyta, Chlorophyta, and Cryptophyta (Figure 7b). Low-molecular-weight DOMs, such as protein-like substances, can be absorbed directly by phytoplankton (such as Cyanobacteria); high-molecular-weight DOMs, such as humic substances, can be devoured by mixotrophic phytoplankton (Chlorophyta and Cryptophyta) or degraded by microbial decomposition [41,47]. The endogenous DOM in Shahu Lake may be an important “source” of nutrients for phytoplankton growth and an important “sink” for phytoplankton production of metabolic organic matter. The changes in phytoplankton biomass in the Shahu Lake water column are important drivers of changes in DOM composition characteristics. Therefore, it is important to pay attention to the changes in DOM composition in order to maintain the health of the water environment and improve water quality in Shahu Lake.
4. Conclusions
In this study, the main composition of DOM in the overlying water of Shahu Lake and its relationship with the seasonal changes of phytoplankton biomass were continuously monitored. According to 3DEEM and PARAFAC analysis, the DOM in the overlying water of Shahu Lake was mainly composed of tryptophan-like (C2+C4), fulvic-acid-like (C3), humic-acid-like (C1), and tyrosine-like (C5) substances, and their fluorescence contributions were 44.47%, 20.18%, 20.04%, and 15.31%, respectively. Protein-like (C2+C4, C5) material accounted for a higher proportion (59.78%) of the DOM, which was gradually enhanced with seasonal changes due to more endogenous influences (BIX > 1.0). The endogenous DOM was mainly derived from phytoplankton reproduction and decay in the area of the lake. Continuous water quality monitoring (April to July in 2020) showed that from spring to summer (April to July 2020), phytoplankton density increased from 0.75 × 107 cells/L to 1.69 × 107 cells/L, an increase of 125%, and Chl-a content increased from 5.78 to 17.17 μg/L, an increase of 197%, while the autotrophic humic fraction and the tyrosine-like fractions increased in abundance by 7.7 and 22.15 percent, respectively. Among them, the concentration of the Chl-a showed a significant positive correlation with C3 (p < 0.01) and showed a relatively positive correlation with C5 (p < 0.05). The protein-like components (C2+C4, C5) were closely correlated with Cyanobacteria, and the humic-like components (C1, C3) were well correlated with Xanthophyta, Chlorophyta, and Cryptophyta. This indicated that seasonal growth of phytoplankton was an important driving factor of the changes in DOM composition in the research period of Shahu Lake. This work provided a theoretical foundation and important data support for the analysis of the causes of seasonal water quality changes in eutrophic lakes.
Author Contributions
Y.Z. wrote the paper and analyzed the data. B.C. performed the experiments. F.Y., H.L. and B.L. polished this manuscript. All authors (Y.Z., F.Y., H.L., S.H., H.Y., P.Y., B.L. and B.C.) modified the manuscript. All authors have read and agreed to the published version of the manuscript.
Funding
This research was funded by National Natural Science Foundation of China (41907338) and National Key Research and Development Program of China (2019YFC0409205, 2019YFC0409202).
Data Availability Statement
Data will be made available on request.
Conflicts of Interest
The authors declare no conflict of interest.
References
- Ho, J.C.; Michalak, A.M.; Pahlevan, N. Widespread global increase in intense lake phytoplankton blooms since the 1980s. Nature 2019, 574, 667–670. [Google Scholar] [CrossRef] [PubMed]
- Zhou, J.; Qin, B.Q.; Han, X.X.; Zhu, L. Turbulence increases the risk of microcystin exposure in a eutrophic lake (Lake Taihu) during cyanobacterial bloom periods. Harmful Algae 2016, 55, 213–220. [Google Scholar] [CrossRef] [PubMed]
- Zhang, F.F.; Harir, M.; Moritz, F.; Zhang, J.; Witting, M.; Wu, Y.; Schmitt-Kopplin, P.; Fekete, A.; Gaspar, A.; Hertkorn, N. Molecular and structural characterization of dissolved organic matter during and post cyanobacterial bloom in Taihu by combination of NMR spectroscopy and FTICR mass spectrometry. Water Res. 2014, 57, 280–294. [Google Scholar] [CrossRef] [PubMed]
- Zhou, Y.; Davidson, T.A.; Yao, X.; Zhang, Y.; Erik, J.; Garcia, D.; Wu, H.; Shi, K.; Qin, B. How autochthonous dissolved organic matter responds to eutrophication and climate warming: Evidence from a cross-continental data analysis and experiments. Earth Sci. Rev. 2018, 185, 928–937. [Google Scholar] [CrossRef]
- Zhang, H.; Zheng, Y.; Wang, X.C.; Wang, Y.; Dzakpasu, M. Characterization and biogeochemical implications of dissolved organic matter in aquatic environments. J. Environ. Manag. 2021, 294, 113041. [Google Scholar] [CrossRef] [PubMed]
- Derrien, M.; Brogi, S.R.; Goncalves-Araujo, R. Characterization of aquatic organic matter: Assessment, perspectives and research priorities. Water Res. 2019, 163, 114908. [Google Scholar] [CrossRef]
- Jia, S.Q.; Yang, F.; Wang, X.H.; Bai, Y.W.; Ma, W.J.; Li, Q.H.; Liao, H.Q.; Chen, S.H. Relationship between DOM components and phytoplankton in Baiyangdian Lake in autumn. Environ. Pollut. Control. 2021, 43, 1101–1107. [Google Scholar] [CrossRef]
- Zhang, Y.; Dijk, M.A.V.; Liu, M.L.; Zhu, G.W.; Qin, B.Q. The contribution of phytoplankton degradation to chromophoric dissolved organic matter (CDOM) in eutrophic shallow lakes: Field and experimental evidence. Water Res. 2009, 43, 4685–4697. [Google Scholar] [CrossRef] [PubMed]
- Carmen, T.D.; Jasmine, E.S.; Lafrancois, B.M.; Kevin, S.S. Effects of increased concentrations of inorganic nitrogen and dissolved organic matter on phytoplankton in boreal lakes with differing nutrient limitation patterns. Aquat. Sci. 2015, 77, 511–521. [Google Scholar]
- Rochelle-Newall, E.J.; Fisher, T.R. Production of chromophoric dissolved organic matter fluorescence in marine and estuarine environments: An investigation into the role of phytoplankton. Mar. Chem. 2002, 77, 7–21. [Google Scholar] [CrossRef]
- Li, Y.P.; Zhang, L.; Wang, S.R.; Zhao, H.C.; Zhang, R. Composition, structural characteristics and indication of water quality of dissolved organic matter in Dongting Lake sediments. Ecol. Eng. 2016, 97, 370–380. [Google Scholar] [CrossRef]
- Song, X.N.; Yu, T.; Zhang, Y.; Zhang, Y.; Yin, X.Y. Distribution characterization and source analysis of dissolved organic matters in Taihu Lake using three dimensional fluorescence excitation-emission matrix. Acta Sci. Circumstantiae 2010, 30, 2321–2331. [Google Scholar] [CrossRef]
- Zhao, H.C.; Li, Y.P.; Wang, S.R.; Jiao, L.X.; Zhang, L. Fluorescence characteristics of DOM in overlying water of Erhai Lake and its indication of eutrophication. Spectrosc. Spectr. Anal. 2019, 39, 3888–3896. [Google Scholar]
- Wang, X.P.; Zhang, F.; Yang, S.T.; Ayinuer, Y.; Chen, Y. Rapid diagnosis of surface water salt content (WSC) in Ebinur Lake watershad based on 3-D fluorescence technology. Spectrosc. Spectr. Anal. 2018, 38, 1468–1475. [Google Scholar]
- Zhang, L.; Sun, Q.X.; You, Y.; Zhang, K.; Gao, C.D.; Peng, Y.Z. Compositional and structural characteristics of dissolved organic matter in overlying water of the Chaobai River and its environment significance. Environ. Sci. Pollut. Res. 2021, 28, 59673–59686. [Google Scholar] [CrossRef]
- Cui, B. Study on Spectral Fingerprint Characteristics of Dissolved Organic Matter in Sand Lake and Its Response Mechanism to Water Quality and Algal Bloom. Master’s Thesis, Shandong Normal University, Jinan, China, 2021. [Google Scholar]
- Li, J.Y.; Zhang, Y.F.; Yang, Z.; Wang, M. Bacterial diversity in Shahu lake, northwest China is significantly affected by nutrient composition rather than location. Ann. Microbiol. 2017, 67, 469–478. [Google Scholar] [CrossRef]
- Li, P.Y.; Feng, W.; Xue, C.Y.; Tian, R.; Wang, S.T. Spatiotemporal Variability of Contaminants in Lake Water and Their Risks to Human Health: A Case Study of the Shahu Lake Tourist Area, Northwest China. Expo. Health 2017, 9, 213–225. [Google Scholar] [CrossRef]
- Chen, J.; Qian, H.; Gao, Y.Y.; Wang, H.K.; Zhang, M.S. Insights into hydrological and hydrochemical processes in response to water replenishment for lakes in arid regions. J. Hydrol. 2020, 581, 124386. [Google Scholar] [CrossRef]
- MEP of PRC (Ministry of Environmental Protection of the People’s Republic of China). Environmental Quality Standards for Surface Water (GB3838-2002); China Environmental Science Press: Beijing, China, 2002; Volume 6, pp. 8–9.
- MEP of PRC (Ministry of Environmental Protection of the People’s Republic of China). Water Quality—Determination of Chlorophyll A—Spectrophotometric Method (HJ 897-2017); China Environmental Science Press: Beijing, China, 2017.
- Wilske, C.; Herzsprung, P.; Lechtenfeld, O.J.; Kamjunke, N.; Einax, J.W.; von Tümpling, W. New Insights into the Seasonal Variation of DOM Quality of a Humic-Rich Drinking-Water Reservoir—Coupling 2D-Fluorescence and FTICR MS Measurements. Water 2021, 13, 1703. [Google Scholar] [CrossRef]
- Huguet, A.; Vacher, L.; Relexans, S.; Saubusse, S.; Froidefond, J.M.; Parlanti, E. Properties of fluorescent dissolved organic matter in the Gironde Estuary. Org. Geochem. 2009, 40, 706–719. [Google Scholar] [CrossRef]
- Ohno, T. Fluorescence inner-filtering correction for determining the humification index of dissolved organic matter. Environ. Sci. Technol. 2002, 36, 742–746. [Google Scholar] [CrossRef] [PubMed]
- Stedmon, C.; Bro, R. Characterizing Dissolved Organic Matter Fluorescence with Parallel Factor Analysis: A Tutorial. Limnol. Oceanogr. 2008, 6, 572–579. [Google Scholar] [CrossRef]
- Zeng, Z.; Zheng, P.; Ding, A.Q.; Zhang, M.; Abbas, G.; Li, W. Source analysis of organic matter in swine wastewater after anaerobic digestion with EEM-PARAFAC. Environ. Sci. Pollut. Res. 2017, 24, 6770–6778. [Google Scholar] [CrossRef] [PubMed]
- Yu, B.X.; Liu, D.P.; Wang, J.; Sun, Y.X. Insight into removals of PARAFAC components from dissolved and particulate organic matter in wastewater treatment process by two-dimensional correlation and structure equation modeling. Environ. Sci. Eur. 2021, 33, 118. [Google Scholar] [CrossRef]
- Baker, A.; Inverarity, R. Protein-like fluorescence intensity as a possible tool for determining river water quality. Hydrol. Process. 2004, 18, 2927–2945. [Google Scholar] [CrossRef]
- Baker, A.; Curry, M. Fluorescence of leachates from three contrasting landfills. Water Res. 2004, 38, 2605–2613. [Google Scholar] [CrossRef]
- Lu, K.T.; Gao, H.J.; Yu, H.B.; Liu, D.P.; Zhu, N.M.; Wan, K.L. Insight into variations of DOM fractions in different latitudinal rural black-odor waterbodies of eastern China using fluorescence spectroscopy coupled with structure equation model. Sci. Total Environ. 2022, 816, 151531. [Google Scholar] [CrossRef]
- Dainard, P.G.; Gueguen, C.; Yamamoto-Kawai, M.; Williams, W.J.; Hutchings, J.K. Interannual Variability in the Absorption and Fluorescence Characteristics of Dissolved Organic Matter in the Canada Basin Polar Mixed Waters. J. Geophys. Res. Ocean. 2019, 124, 5258–5269. [Google Scholar] [CrossRef]
- Zhang, Y.L.; Zhang, E.L.; Yin, Y.; van Dijk, M.A.; Feng, L.Q.; Shi, Z.Q.; Liu, M.L.; Qin, B.Q. Characteristics and sources of chromophoric dissolved organic matter in lakes of the Yungui Plateau, China, differing in trophic state and altitude. Limnol. Oceanogr. 2010, 55, 2645–2659. [Google Scholar] [CrossRef]
- Du, Y.X.; Lu, Y.H.; Roebuck, J.A.; Liu, D.; Chen, F.Z.; Zeng, Q.F.; Xiao, K.; He, H.; Liu, Z.W.; Zhang, Y.L.; et al. Direct versus indirect effects of human activities on dissolved organic matter in highly impacted lakes. Sci. Total Environ. 2021, 752, 141839. [Google Scholar] [CrossRef]
- Liu, Q.; Jiang, Y.; Tian, Y.L.; Hou, Z.J.; He, K.J.; Fu, L.; Xu, H. Impact of land use on the DOM composition in different seasons in a subtropical river flowing through a region undergoing rapid urbanization. J. Clean. Prod. 2019, 212, 1224–1231. [Google Scholar] [CrossRef]
- Ishii, S.K.L.; Boyer, T.H. Behavior of Reoccurring PARAFAC Components in Fluorescent Dissolved Organic Matter in Natural and Engineered Systems: A Critical Review. Environ. Sci. Technol. 2012, 46, 2006–2017. [Google Scholar] [CrossRef]
- Mayora, G.; Devercelli, M.; Frau, D. Spatial variability of chromophoric dissolved organic matter in a large floodplain river: Control factors and relations with phytoplankton during a low water period. Ecohydrology 2016, 9, 487–497. [Google Scholar] [CrossRef]
- Burpee, B.; Saros, J.E.; Northington, R.M.; Simon, K.S. Microbial nutrient limitation in Arctic lakes in a permafrost landscape of southwest Greenland. Biogeosciences 2016, 13, 365–374. [Google Scholar] [CrossRef]
- Kissman, C.E.H.; Williamson, C.E.; Rose, K.C.; Saros, J.E. Nutrients associated with terrestrial dissolved organic matter drive changes in zooplankton: Phytoplankton biomass ratios in an alpine lake. Freshw. Biol. 2017, 62, 40–51. [Google Scholar] [CrossRef]
- Fellman, J.B.; Hood, E.; Spencer, R.G.M. Fluorescence spectroscopy opens new windows into dissolved organic matter dynamics in freshwater ecosystems: A review. Limnol. Oceanogr. 2010, 55, 2452–2462. [Google Scholar] [CrossRef]
- Liu, Q.; Tian, Y.L.; Liu, Y.; Yu, M.; Hou, Z.J.; He, K.J.; Xu, H.; Cui, B.S.; Jiang, Y. Relationship between dissolved organic matter and phytoplankton community dynamics in a human-impacted subtropical river. J. Clean. Prod. 2021, 289, 125144. [Google Scholar] [CrossRef]
- Wei, M.J.; Gao, C.; Zhou, Y.J.; Duan, P.F.; Li, M. Variation in spectral characteristics of dissolved organic matter in inland rivers in various trophic states, and their relationship with phytoplankton. Ecol. Indic. 2019, 104, 321–332. [Google Scholar] [CrossRef]
- Zhao, H.X.; Qiu, X.C.; Yang, Y.M.; Li, G.D. Evaluation and analysis on trophic level in Shahu Lake. Hubei Agric. Sci. 2010, 49, 2414–2417. [Google Scholar]
- Yu, H.Y.; Zhou, B.; Hu, Z.Y.; Ma, Y.; Chao, A.M. Study on correlation between chlorophyll a and algal density of biological monitoring. Environ. Monit. China 2009, 25, 40–43. [Google Scholar] [CrossRef]
- Kim, D.; Lim, J.-H.; Chun, Y.; Nayna, O.K.; Begum, M.S.; Park, J.-H. Phytoplankton nutrient use and CO2 dynamics responding to long-term changes in riverine N and P availability. Water Res. 2021, 203, 117510. [Google Scholar] [CrossRef] [PubMed]
- Kramer, G.D.; Herndl, G.J. Photo- and bioreactivity of chromophoric dissolved organic matter produced by marine bacterioplankton. Aquat. Microb. Ecol. 2004, 36, 239–246. [Google Scholar] [CrossRef]
- Mangal, V.; Stock, N.L.; Guéguen, C. Molecular characterization of phytoplankton dissolved organic matter (DOM) and sulfur components using high resolution Orbitrap mass spectrometry. Anal. Bioanal. Chem. 2016, 408, 1891–1900. [Google Scholar] [CrossRef] [PubMed]
- Hounshell, A.G.; Peierls, B.L.; Osburn, C.L.; Paerl, H.W. Stimulation of Phytoplankton Production by Anthropogenic Dissolved Organic Nitrogen in a Coastal Plain Estuary. Environ. Sci. Technol. 2017, 51, 13104–13112. [Google Scholar] [CrossRef]
Publisher’s Note: MDPI stays neutral with regard to jurisdictional claims in published maps and institutional affiliations. |
© 2022 by the authors. Licensee MDPI, Basel, Switzerland. This article is an open access article distributed under the terms and conditions of the Creative Commons Attribution (CC BY) license (https://creativecommons.org/licenses/by/4.0/).






