Abstract
For ammonium removal from wastewater, anammox technologies are among the most efficient and rapidly developing ones. Due to the low growth rate of anammox bacteria and their sensitivity to various inhibitors, technologies using attached biocenosis carriers (ABCs) provide for reliable operation. The goal of the present work was to investigate a new ABC type, ETEK biochips based on a nonwoven fibrous material. The work involved the techniques of materials science (design of a new ABC type) and physical modeling of the anammox process (in a laboratory bioreactor), as well as electron microscopy and molecular profiling of activated sludge communities. Comparison of the ETEK biochips with the ABCs of foamed polyethylene BF33 and Mutag revealed more rapid accumulation (5-fold) of the activated sludge biomass on ETEK biochips upon reactor launching, as well as comparable buoyancy and reactor productivity regarding N removal. The specific rate of nitrogen removal obtained with ETEK biochips considerably exceeded that for foamed polyethylene with a filler: 1.5–3 times higher per chip and 1.5 times higher per activated sludge biomass unit. The studied ABC shared the same issue of floating to the surface due to the active formation of gas (N2). The algorithm for calculating the downward flows in bioreactors with rapidly surfacing ABC is proposed, and a new hydrodynamic type of a bioreactor (with hybrid hydrodynamics) is described, a moving bed–sequencing batch reactor (MB-SBR).
1. Introduction
Anammox technologies for nitrogen removal from wastewater based on the microbial process of anaerobic ammonium oxidation are a group of wastewater treatment technologies that are presently actively developing. Since anammox bacteria have low growth rates and are susceptible to inhibition by dissolved oxygen and by high concentrations of nitrite and sulfide [1], the technologies are widespread, in which anammox-activated sludge (AAS) is attached to a stationary or mobile (floating) biocenosis carrier (ABC) [2,3,4,5]. Floating ABCs have developed surfaces (hundreds to thousands m2/m3 load) on which biofilms may form, although the mechanical retention of the activated sludge usually does not occur.
Stationary carriers are more diverse in their macro- and microstructures [6]. They may be smooth or macro- and microporous and immobile to oscillating; they may be shaped as plates, tubes, filaments, particulate elements of various shapes, etc. Importantly, their application enables the rapid (within several days) accumulation of the activated sludge mass due to sorption, adhesion, and filtration (mechanical retention). The advantages of stationary carriers are higher reliability since the valuable activated sludge is not lost during emergencies and (for some types) the ability to accumulate the activated sludge biomass more rapidly due to its mechanical retention with subsequent growth; this was shown for the carriers of nonwoven materials.
Bioreactors with mobile ABCs (moving bed biofilm reactors; MBBRs) are considered a promising approach to wastewater treatment in general, and several types of such carriers (plastic elements and biochips) are presently known [7]. Floating ABCs have developed surfaces (hundreds to thousands m2/m3 load) on which biofilms may form, although mechanical retention of the activated sludge usually does not occur. The advantages of ABCs compared to the stationary carriers are self-purification (removal of excessive biomass growth) and ease of transportation and mixing in the liquid flow.
Structure, biocompatibility, and adhesive properties are important parameters for the development of new ABCs. Gu et al. [4] found the ABC surface hydrophobicity to be the most important parameter for attachment of the anammox biomass and its specific activity. In this respect, in the series granulated charcoal > nonwoven materials > polyurethane sponge > polyethylene plastics, granulated charcoal was the most efficient material. Its hydrophobic surface provided for the selective sorption of hydrophobic proteins and facilitated attachment of anammox bacteria; as a result, the total rate of nitrogen removal was 0.40 kg-N/(m3 day) [4]. The comparison of microporous (sponge) and macroporous (plastic ring) carriers showed that the former was characterized by a thicker biofilm (>5 mm) with abundant anammox bacteria and by more efficient nitrogen removal due to the synergy of denitrifying and anammox bacteria [8].
Buoyancy is a factor hindering the operations with floating carriers. The expert opinion is that ABCs should originally have a slightly positive buoyancy, i.e., their buoyant density d should be slightly below 1.0, about 0.98–0.99 g/mL. In the course of overgrowth with activated sludge, the load becomes heavier, gaining a small negative buoyancy (d ≥ 1) and beginning to sink. At this stage, they may be conveniently controlled using upward flows of liquid or gas. We, however, did not encounter an analysis of ABC behavior for gas-producing sludges when overgrowth with biomass results in a considerably increased buoyancy, as in the case of the anammox-activated sludge, which actively produces gaseous nitrogen.
The bottleneck of the currently most popular floating ABC of the saddle type is the long waiting time between seeding an MBBR with activated sludge and the mature biofilm formation necessary for effective water treatment.
The goal of the present work was to develop a new type of floating ABC possessing the outstanding properties of rapid accumulation and efficient retention of the anammox-activated sludge and to investigate its buoyancy and technological characteristics.
2. Materials and Methods
A new type of floating carrier for attached biocenoses, ETEK biochips TMR, was designed and produced by ETEK Ltd., Kaluga, Russia. The new ABCs were manufactured from threads of a polyethylene–polypropylene mixture by extrusion and plate formation, with subsequent cutting and laser flashing of the edges. The biochips were octagonal, ≈35 mm in size, and ≈4 mm thick (Figure 1a).
Figure 1.
Biochips used in the work as attached biocenosis carriers: ETEK biochip (a), BF33 (b), and MutagBioChip30™ (c). Scale bar, 10 mm.
The biochips used for comparison were polyethylene with filling material of a circular parabolic (saddle-shaped) form: BF33 bioload and MutagBioChip30™ (2H AKVA, St. Petersburg, Russia) (Figure 1b,c).
All chips are synthetic plastic products, very durable, and can be reused many times.
2.1. Anammox-Activated Sludge
The sludge for inoculation was obtained from an anammox laboratory bioreactor with the Polyvom stationary carrier for attached biocenosis (ETEK, Russia), which has been described earlier [9]. Activated sludge was removed from the carrier by hydrodynamically washing it off with a strong water flow (using a 50 mL syringe), resuspending it in water, and storing it at 4 °C for 7 days. It was then used to inoculate three bioreactors (1.34 g AAS dry matter per reactor; volatiles content (VS) was about 75–80%). The immobilization of AAS to ETEK biochips mainly occurred by AAS physical attachment and by biofilm growth in the case of the other biochips (see Section 3.2).
The medium fed to the reactor contained the following (g/L): (NH4)2SO4, 0.942 (200 mg N–NH4/L); NaCH3COO·3H2O, 0.04; KH2PO4, 0.044; NaHCO3, 2.1 (All chemicals are from Chimmed, Moscow, Russia). The solution in 20-fold concentration was prepared in distilled water. To obtain the final concentrations listed above, this solution was mixed with tap water.
2.2. Bioreactor
The reactor was designed to achieve water movement along a closed circular trajectory. To provide visual control of the mixing, the reactor was constructed using a transparent material.
The reactor case was made of polymethyl methacrylate. It contained an inner volume where the biomass was grown and an outer one for temperature control (Figure 2 and Figure 3). The inner volume (the reactor proper) was a flat cylinder with its axis located horizontally. The height of the cylinder was considerably (five times) smaller than the diameter, which simplified the mixing of the load in the vertical plane by circulation. The outer size of the reactor was 333 × 340 × 128 mm. The inner volume was inscribed into the outer one but narrowed to 70 mm by the temperature-controlled walls. In the upper and lower parts of the internal volume, the tubes were inset for the circular pump responsible for agitation. The nipples for input and removal of the solutions and for air input were inset into the case. The upper part of the reactor had pilofacturing holes for urgent decanting of the solution and for installation of the oxygen sensor. Thermostated water was supplied to the outer volume by a circulation pump.
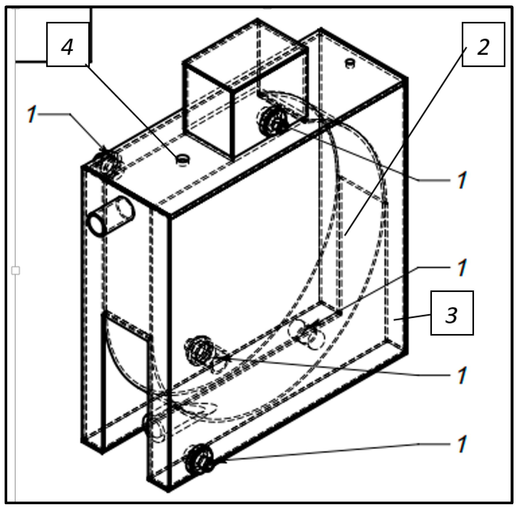
Figure 2.
Isometric drawing of the MBBR-SBR anammox: nipple insets (1); inner volume (2); water jacket (3); sites for sampling and oxygen sensor installation (4).
Figure 3.
The technological scheme of MBBR-SBR anammox. Designations: 1, computer; 2, a PLK 154 Oven programmable controller; 3, AKPM-1-01P oximeter; 4, Siemens LOGO logical module; 5, compressor; 6, circulation pump; 7, oxygen sensor; 8, protective grid; 9, air for aeration. Color coding: red, 220 V; green, analog signal; black, digital signal; blue, liquid recycle; light blue, air.
Importantly, the technological scheme of operation provided for the complete retention of activated sludge due to its attachment to the biochips and bioreactor elements (walls and tubing), as well as to the AAS precipitation stage prior to the draining of the processed fluid.
2.3. Reactor Parameters and Exploitation Conditions
Internal (active) volume, 6 L; feeding solution supply per cycle, 1.5 L; cycle duration, 6 h; water retention time, 24 h; temperature, 32 ± 2 °C; pH of incoming water, 8.2 ± 0.1; dissolved oxygen concentrations, in the range of 0.7–1.5 mg/L, adjusted by changing the rate of recirculating liquid flow (pump power) and by aeration from a compressor.
Air was supplied to the upper part of the reactor, which provided a low rate of oxygen supply. The operation cycle was as follows: feeding the nutrient solution, 30 min; intermittent operation of the circulation pump and compressor, 5 h; and precipitation, 30 min. The circulation pump operated for 5 h with 3 min breaks every 20 min. The compressor operation cycle was 40 min, in which the aeration time was 20 min.
The technological scheme is presented in Figure 3. Three identical bioreactors were constructed for three biochip types. The biochip piled volume was 1 L, i.e., 15% of the reactor volume. This volume contained 120 ETEK biochips, 203 BF33, and 372 Mutag biochips (Table 1).
Table 1.
Properties of biocenosis carriers.
2.4. Equipment
Temperature control was external, i.e., the water was supplied using a LOIP LT-105a circulation thermostat. The imitated wastewater input was provided by a Masterflex L/S peristaltic pump. Dissolved oxygen concentration (0.6–1.5 mg/L) was controlled using an AKPM-1-01P oximeter. The operation was automated using a Siemens LOGO logical module and a PLK 154 Oven programmable controller (OVEN, RF). A computer was used for the configuration of the LOGO module and the Oven controller, as well as for monitoring the oxygen content in the reactor.
2.5. Analytical Methods
Mineral nitrogen species (NH4+, NO2−, and NO3−) in processed water were determined by capillary electrophoresis in a Kapel-105M capillary electrophoresis system (Lumeks, Saint Petersburg, Russia), as described previously [10].
2.6. Nitrogen Removal Efficiency
The amount of removed nitrogen (mg/L) was calculated as a difference between the concentration of ammonium nitrogen (N–NH4) in the inflowing medium and the total concentration of mineral nitrogen species in processed water (N–NH4, N–NO2, and N–NO3). The efficiency of nitrogen removal was calculated as a percentage of removed nitrogen relative to its content in the inflowing medium. A special experiment confirmed that nitrogen removal due to ammonia release into the air phase due to physical diffusion and aeration did not exceed 3%.
2.7. AAS Biomass on the Biochips
The amount of AAS biomass on the biochips was determined by gravimetry for the ETEK biochips, for which complete biomass removal from the surface was possible, and its amount could be determined by two methods, as well as by the modified method of spectrophotometric cytochrome determination [11] using the calibration curve obtained using the anammox-activated sludge.
The calibration curve was obtained as follows. AAS (1 mL) [12] was collected by centrifugation (10,000× g, 10 min), dried at 90 °C, and its dry biomass was determined. A serial dilution of the activated sludge was prepared in 2 mL Eppendorf tubes so that the dry biomass content was 0.1–15 mg. After biomass precipitation (10,000× g, 10 min), 1 M NaOH (1.8 mL) was added to the pellet. The test tubes were incubated for 15 min in a boiling water bath. After biomass removal (10,000× g, 10 min), 0.2 mL 1 M Na2S2O4 was added to the supernatant. The control solution contained 1 M NaOH. Absorption at 550 nm was measured in the extract (Jenway 7315 Spectrophotometer, Bibby Scientific Ltd., Stone, UK). Linear dependence of absorption on the anammox biomass content was observed within the range of 1–10 mg/mL.
The procedure was verified using the ETEK biochips. The difference in AAS amount measured by the two methods did not exceed 16%.
The AAS mass (MANX) was calculated according to Equation (1):
MANX = 18.308x − 0.7
For analysis, 1/4 or 1/8 of a biochip was placed into an Eppendorf tube, supplemented with 1.8 mL 1 M NaOH, and treated as described above.
2.8. Activity of Ammonium-Oxidizing Bacteria (AOB) and Nitrite-Oxidizing Bacteria (NOB) on the Load Elements
The activity of AOB and NOB was determined in acute experiments on the dynamics of nitrite and nitrate accumulation upon the addition of ammonium. For this purpose, a known number of load elements was removed from the bioreactor (5, 7, and 12 elements from reactors 1, 2, and 3, respectively), which constituted 3–4% of the total number of loaded biochips, and rinsed with the medium without ammonium. The elements were then transferred to 250 mL vials with an aeration setup and a sample collector and then supplemented with 200 mL of the medium without ammonium and 1 mL of the concentrated (NH4)2SO4 solution in order to achieve the final ammonium concentration of 100 mg N–NH4/L. The culture was constantly aerated, with the oxygen concentration at least 7 mg/L. Samples were collected during 6 h, filtered immediately, and the concentrations of nitrate and nitrite were determined in the filtrates. The rate of the first stage of the reaction (AOB activity) was determined as the sum of rates of increase for the nitrate and nitrite concentrations. The rate of the second nitrification stage (NOB activity) was assumed to be equal to the rate of nitrate concentration increase. The experiments were carried out at 32 ± 1 °C.
2.9. Activity of Wall-Growing Biofilms in the Bioreactors
The contribution of the load and the biofilms overgrowing the reactor walls to nitrogen removal was assessed by the difference in the operational properties of the reactor before and after the removal of the load. For this purpose, all load elements were removed, and the reactor was operated in the usual mode. Activity in the absence of ABC was due to the wall growth. The biochips removed from the reactor were stored at room temperature in the medium identical to that supplied to the reactors (4 L), with the initial concentration of ammonium nitrogen 200 mg/L; mechanical agitation was carried out once a day using a spatula.
2.10. Determination of Biochip Buoyancy (Surfacing Rate)
Since it was impossible to determine the floating density of biochips (in g/cm3) for the quantitative characterization of their buoyancy, the rate of their surfacing was used. This parameter makes it possible to compare different biochips and monitor the dynamics of their characteristics; it is also convenient due to its immediate technological relevancy (see below).
To measure the surfacing rates for three types of carriers, a 5 L glass cylinder filled with water was used. The distance from the bottom to the water surface was 40 cm. A load element was fixed at the bottom with a long metal rod, released at zero time, and the surfacing time was determined.
2.11. Analysis of the Microbial Community Composition
The composition of the activated sludge microbial communities was studied by high-throughput sequencing of the 16S rRNA gene fragments. Activated sludge for analysis was collected on day 0 (inoculum), the 127th day of reactor operation, and day 150 (after 3-week storage of chips at 4–7 °C).
DNA was isolated from the samples using the DNeasy PowerSoil Kit (Qiagen, Hilden, Germany) according to the manufacturer’s protocol. The variable V3–V4 region of the 16S rRNA gene was amplified with the universal primers 341F (CCTAYGGGDBGCWSCAG) and 806R (GGACTACNVGGGTHTCTAAT) [13]. The obtained PCR fragments were used to construct barcoded amplicon libraries with the Nextera XT Index Kit v2 (Illumina, San Diego, CA, USA) according to the manufacturer’s protocols. PCR fragments were sequenced using Illumina MiSeq in the 2 × 300 nt format. Paired reads were combined using FLASH v.1.2.11 [14]. At the next stage, low-quality reads, singletons, and chimeras were excluded from subsequent analysis. The remaining reads were clustered into operational taxonomic units (OTUs) with 97% sequence identity. To determine the share of an OTU in each sample, original reads, including the low-quality and singleton ones, were overlaid on the OTU representative sequences. All these operations were carried out with the USEARCH v.11 software package [15]. Taxonomic identification of the OTUs was performed using the VSEARCH v.2.14.1 algorithm and the Silva v.138 database [16]. The alpha- and beta-diversity indices were calculated using the «alpha_div» and «beta_div» commands of USEARCH. The similarity between the samples was visualized based on the Jaccard index of beta-diversity by multidimensional scaling using the cmdscale function of the R programming language and the ggplot2 library [17]. The sequences were deposited to the NCBI Sequence Read Archive (SRA) within the framework of the project PRJNA672862.
2.12. Scanning Electron Microscopy
The biochips were examined in the frontal (upper) plane or in a tangential section (prepared on an MS-1 microtome, Orion Medic, Saint Petersburg, Russia). The material was fixed for 3 h with 2.5% glutaraldehyde and air-dried. Biochip fragments were then attached to a copper cylinder with two-sided conductive adhesive tape. Gold plating was carried out in a JEOL FINE COAT-1100 chamber (Jeol, Tokyo, Japan). The cylinders were then placed into the working chamber of a Jeol JSM-IT200 SEM (Jeol, Tokyo, Japan), and the monitoring of the sample surface was carried out using the implemented software.
2.13. Statistical Processing
Three measurements of each parameter were carried out for the determination of the concentrations of nitrogen species and oxygen (statistical repeats). For each point, the average and the standard deviation were calculated. The latter corresponded to experimental scattering and did not exceed 5%. It was depicted on the graphs as data scattering, and the differences exceeding 10% were considered significant.
3. Results
3.1. ABC Properties Without Activated Sludge Biomass
The original properties of the studied biochips are listed in Table 1. The ETEK biochips had the highest weight and volume, the Mutag ones were the lightest, and BF33 occupied an intermediate position. Biochip number per 1 L bioreactor volume was inversely proportional to their mass. The BF33 biochips had the highest surfacing rate; the rate for ETEK chips was somewhat lower, and the Mutag biochips surfaced 4–5 times more slowly (Supplement S1). These properties affected the ability of biochips to be mixed by a liquid flow. We observed efficient mixing of the ETEK and Mutag biochips, unlike the BF33 ones. The inability of the BF33 chips to mix efficiently was due to the presence of closed gas cavities (Figure 4), which did not occur in the two other ABCs.
Figure 4.
Electron microscopy of sections of the ETEK (A), BF33 (B), and Mutag biochips (C) at low magnification: frontal view from the top (T) of chips and side view of section (S). Scale bar, 500 µm.
The results of electron microscopy were in agreement with the ABC description provided by the manufacturers (Figure 4). The ETEK biochips were seen to consist of individual filaments welded together, while two other carriers were systems of circular cavities within the polymer mass, some of these not connecting to the external environment. Such cavities were evidently not overgrown by biofilms and contained gas, which provided for high buoyancy. Elements of an inorganic filler were seen in the BF33 and Mutag biochips (B and C). The ETEK biochips had the highest internal volume share (a porosity indicator).
3.2. Dynamics of Biochip Overgrowth with AAS
Determination of the AAS biomass on the biochips proved not trivial since the filler-containing elements were found to lose mass, probably due to a partial loss of the mineral fillers touching the outer surface (Figure 4B,C), which may be mechanically ground off.
Table 2 shows the results of gravimetric AAS determination on biochips. An increase in the AAS specific biomass during the incubation, which correlated with increased nitrogen removal efficiency (Figure 5), was observed only for ETEK biochips. Almost all introduced biomass (98.5%) was attached to the elements during the first 7 days of incubation, and during the subsequent 5 months, it increased gradually by 60%. In the case of BF33 and Mutag biochips, only 28–29% of the introduced biomass became attached. During further incubation (37 days for BF33 and 111 days for Mutag), gravimetry showed no biomass growth or even a decrease in the biochip weight (designated in Table 2 as “negative growth”). These values of the measured AAS amounts for two types of biochips contradicted the visually observed AAS growth (Figure 6) and were artifacts caused by the loss of biochip weight due to mechanical partial removal of the mineral filler from the surface (Figure 4B,C) during the circulation of biochips. Mechanical attrition of these biochips was caused by weak overgrowth of their surfaces since biofilm formation on the carrier surface has been shown to protect them from pronounced attrition in bioreactors [18]. The values of specific overgrowth obtained by the gravimetric method could, therefore, be considered accurate only for the 7-day incubation period.
Table 2.
Dynamics of the AAS biomass on biochips determined by the gravimetric method, mg/pc.
Figure 5.
Dynamics of removal of mineral nitrogen species (mg/L) from experimental reactors with ETEK (1), BF33 (2), and Mutag (3) biochips.
Figure 6.
Biochips after 1.5 months of incubation with the anammox-activated sludge: ETEK (a), BF33 (b), and Mutag (c).
Another approach, based on cytochrome determination of the AAS and using the calibration curve for the AAS biomass, was therefore used to determine the true ABC-specific overgrowth.
By the end of the experiment (6.5 months), the specific AAS content per biochip was 13.6, 10.0, and 8.9 mg for ETEK, BF33, and Mutag, respectively. Importantly, the values for biomass content per one ETEK biochip determined gravimetrically (16.2 mg) and spectrophotometrically (13.6 mg) were rather close, with a difference of only 16%.
Considering the total number of each biochip type and their specific overgrowth, the total AAS content by the end of the experiment (after 6.5 months of incubation) was 1.63, 2.03, and 3.34 g per reactor for ETEK, BF33, and Mutag, respectively.
The ETEK biochips were characterized by two-phase biomass accumulation: during the first 7 days, 65% of the final biomass amount became attached, probably by mechanical retention. Subsequently, slow biomass growth was observed (Table 2). Two other elements were less capable of the physical retention of activated sludge; they lacked the rapid sorption phase, and AAS was accumulated by slow biofilm growth (Table 2), which was visible microscopically (Figure 7).
Figure 7.
Electron micrographs of the biofilms developing on the ETEK (A), BF33 (B), and Mutag biochips (C). Bar length is 1 μm in (C) (right), 2 μm in (A,B) (right), 5 μm in (A–C) (left).
A significant portion of the AAS introduced into the bioreactors, as well as the AAS growing during the incubation, was located on the reactor elements, as could be observed visually (see Supplement S2). Taking this biomass into account is crucially important for the calculation of specific parameters of AAS activity on the chips. Considering the AAS mass introduced into each reactor (1.34 g), the rate of biomass increase (~36 mg/(day reactor) [19], and its mass on the biochips, the AAS mass attached to the internal parts of the bioreactor by the end of the experiment was calculated (Table 3). The portions of silt on biochips on day 197 of the experiment were 44.9, 50.4, and 62.5% for the ETEK, BF33, and Mutag, respectively.
Table 3.
AAS on biochips and bioreactor elements, g, at different stages of operation (after AAS inoculation).
3.3. Dynamic of Bioreactor Technological Characteristics: Efficiency of Biochip Circulation and Nitrogen Removal
The ability of a load to circulate in a water flow depends directly upon its buoyancy. At near-zero buoyancy, the elements are uniformly distributed within the volume and move with the water flow. Mixing of heavy (sinking) and light (surfacing) elements is hindered. As was noted above, the ABC used varied in its initial buoyancy (Table 1 and Supplement S1). After soaking in water (by the onset of incubation with AAS), the ETEK and Mutag loads mixed efficiently with the circulating liquid flow. Since BF33 was expected to sink after overgrowth by the activated sludge biomass, it was also not discarded immediately.
The ability of biochips to circulate under the effect of a 20 W recycling pump did not change after two weeks of incubation, meaning that the ETEK and Mutag loads were mixed efficiently, unlike the BF33 load.
In the course of AAS growth on the load elements, the pattern of the circulation changed. After 1.5 months of incubation, the ETEK and Mutag surfaced at the onset of a cycle and were not mixed; by the end of the cycle, their circular movement was restored. The explanation for this phenomenon was self-evident: immediately after injection of the liquid with high ammonium concentration, when the rate of gaseous N2 production was highest, gas bubbles, which were clearly visible on both the biochip surface and the reactor walls, increased the buoyancy. By the end of the cycle, ammonium concentration decreased, gas formation slowed, buoyancy decreased, and the circulation was restored. However, when the overall AAS activity increased (Figure 6), the liquid flow proved insufficient for biochip mixing. The power of the recycling pump was therefore increased to 30 W (after 2 months) and then to 40 W (after 3 months). Each time, the circulation pattern was restored for a short time (~7 days), with the biochips surfacing at the cycle onset and normal circulation restored by the end of the cycle. After 120 days of incubation, the rotation of the biochips ceased completely. A further increase in the recycling pump power was impossible due to the overheating of the liquid in the bioreactors.
In our opinion, these results are of technological importance, making it possible to calculate the rate of descending currents in the bioreactors with non-sinking ABC with high buoyancy (surfacing rate). These elements may be said to possess negative “hydraulic velosity” (the term used in the calculation for precipitation installations [20]). In the case of rapidly surfacing elements, the rate of their emersion (Vup) is easy to determine experimentally. For these elements to move with the liquid flow, the rate of the descending flow (Vdown) should exceed Vup.
3.4. Dynamics of Nitrogen Removal
Investigation of nitrogen removal included three stages: (1) from inoculation until day 135, the reactor contained the initial activated sludge and the sludge grown during the incubation on both the carrier and the reactor elements; (2) during days 135–140, the biochips were removed from the reactor, and nitrogen removal was carried out by the AAS on reactor elements; and (3) after day 141, the sludge was removed from the reactor elements and the biochips were returned, so the AAS was present only on biochips. These changes affected the efficiency of nitrogen removal (Figure 6). During the first two months, nitrogen removal was 70 ± 5 mg/L for the reactor with the BF33 load and 55 ± 5 for reactors with the ETEK and Mutag biochips. Afterwards, the removal rate increased, reaching 130 mg N/L by the end of the fourth month for the reactor with ETEK biochips and 108 mg N/L for two other reactors.
The removal of biochips from the reactors resulted in a 2.5- to 3.3-fold decrease in the nitrogen removal rate, which reflected the AAS distribution between the ABC and the bioreactor elements (wall growth). This phenomenon confirms the importance of considering different components of the activated sludge biomass during the assessment and calculation of the bioreactors.
After the biochips were returned to the reactors, a period of decreased activity (~40 mg/L) followed for approximately a month, and then the AAS activity increased rapidly to 112 ± 5 mg/L for the ETEK and Mutag biochips and to 96 ± 5 mg/L for the BF33 biochips. A more rapid increase in the AAS activity on the biochips during days 170–197 compared to the period of 2–4 months was due to the restoration of its activity, which was temporarily inhibited under toxic conditions.
Summarizing the data for the period of the highest nitrogen removal rate (Table 4), it may be concluded that the activity of new biochips (ETEK) compared to biochips made of the traditional material (foamed polyethylene with a filler) was 1.5–3 times higher per one biochip and 1.5 times higher per the AAS biomass. This is due to higher biomass content per chip and better conditions for anammox bacteria in thicker biofilms in the case of ETEK chips.
Table 4.
Technological properties of different biochips at the time of the highest activity of the bioreactors.
3.5. Activity of Nitrifying Bacteria on Biochips
Most aerophobic anammox bacteria are known to occur in the anoxic zone of the load, while aerophilic nitrifiers inhabit free-floating sludge or the biofilm surface. A comparison of the activity of the nitrifiers on three ABC types with different thicknesses and, therefore, different shares of the oxic and anoxic zones was of interest.
It was impossible to arrange a similar experiment with the activity of the anammox bacteria since they were inhibited by oxygen in the course of the removal of biochips from the bioreactors.
Specific rates of the first stage of nitrification (NH3+ → NO2−) were 18.72, 6, and 1.9 mg N NO2−/(day chip) for ETEK, BF33, and Mutag, respectively, or 1.44, 0.86, and 0.32 mg N/(day mg AAS) (Table 5). The rates of nitrogen removal by the anammox-activated sludge were considerably higher than those observed in the anammox reactor with granulated biomass (0.043–0.153 mg mg-N/mg-VSS day) [21]. The nitrifying activity of an ETEK chip was an order of magnitude higher than that of a Mutag chip; ETEK activity per AAS biomass was four times higher.
Table 5.
Specific rates of nitrification activity for the AAS localized on different carriers.
3.6. Biochip Surface Overgrowth with the Anammox-Activated Sludge
After 4 months of cultivation, the biochips were examined under a scanning electron microscope. In all cases, typical biofilms were found (Figure 7), which occupied a major part of their surface (Figure 4). The biofilms formed on the ETEK and BF33 biochips had more mucous; most microbial cells were small (≤1 µm in diameter) ellipses or short rods, while occasional filamentous structures were well visible. The biofilms that developed on the Mutag surface were somewhat different; they had less mucous, had a wavy surface, and did not contain filamentous cells.
3.7. Dynamics of the Composition of the AAS Microbial Communities
High-throughput sequencing was used to analyze the microbial communities of the inoculum and those formed on each of the carriers by day 127, as well as those found after a 3-week incubation of chips at 4–7 °C (on day 150). At least 20,000 sequences of the 16S rRNA gene fragments were obtained for each sample. The highest diversity was revealed for the inoculum. In the course of cultivation, the succession of the composition of microbial communities was observed for all carriers (Table 6). The highest diversity was revealed for the ETEK biochips and the lowest for BF33 chips. Incubation in the cold decreased the diversity indices still more.
Table 6.
Alpha-diversity of attached microbial communities.
Taxonomic analysis of the microbial communities revealed a predominance of members of the phyla Chloroflexi, Bacteroidota, Planctomycetota, and Proteobacteria in all samples. Together, members of these phyla constituted over three-quarters of each community (Figure 8).
Figure 8.
Taxonomic composition of the studied samples according to the sequences of the 16S rRNA amplicons.
In the inoculum community, Chloroflexi were the dominant group (53.20%); they were mostly represented by members of Anaerolineae (52.44%). The second most abundant group was Bacteroidota (16.28%), mainly represented by members of the class Ignavibacteria (12.38%). Proteobacteria (9.14%) were represented mainly by the class Gammaproteobacteria (8.46%). The main microbial group responsible for anaerobic ammonium oxidation was Ca. Brocadiae (8.32%) of the phylum Planctomycetota. Nitrifiers Nitrosomonas (5.68%) of the phylum Gammaproteobacteria were also present. Other microorganisms belonged to the minor groups, including those involved in the nitrogen cycle: Denitratisoma (0.82%) and Nitrospira (0.13%).
In the course of bioreactor operation, by day 127, the relative abundance of Ca. Brocadia increased on ETEK (11.24%) and BF33 (13.13%) carriers. On the Mutag carrier, on the contrary, the abundance of Ca. Brocadia decreased to 7.92%.
The relative abundance of Anaerolineae and Chloroflexi decreased on all carrier types, especially on ETEK, where Anaerolineae constituted 33.73%. The share of Ignavibacteria decreased on the ETEK and Mutag carriers, while it did not change significantly on BF33.
The overall abundance of members of the phylum Proteobacteria increased in the studied bioreactors, although non-uniform redistribution was observed at lower taxonomic levels. While Nitrosomonas were the most represented Proteobacteria at the loading time (5.68%), by day 127, their share decreased in all reactors (2.24–3.14%). At the same time, the proportions of the genus Denitratisoma and the family Comamonadaceae increased.
By day 150, the share of Anaerolineae increased once more on all types of carriers. Thus, the overall share of Chloroflexi on the ETEK, Mutag, and BF33 chips was 43.17, 48.74, and 49.85%, respectively. Similar dynamics have been observed for members of Ignavibacteria and Nitrosomonas.
On the ETEK and Mutag carriers, the community became enriched with members of Ca. Brocadia: from 11.24 to 17.92% and from 7.93 to 13.52%, respectively. On the BF33 biochips, the share of Ca. Brocadia did not change significantly (from 13.13 to 13.82%).
Such microbial communities are characteristic of the bioreactors carrying out anaerobic ammonium oxidation. The differences between communities depending on the carrier type were less pronounced than those caused by the operation mode of the bioreactor, as was shown by PCA analysis (Figure 9).
Figure 9.
Multidimensional scaling of the Jaccard similarity index between microbial communities of the anammox reactors: inoculum (circle) and communities of 127 (squares) and 150 days (triangles). Color coding: green, inoculum; purple, ETEK; blue, Mutag; and red, BF33.
The relative abundance of anammox bacteria Ca. Brocadia on ETEK increased by day 150 (17.93%). However, on day 127, the highest enrichment with Ca. Brocadia was observed for BF33.
Abundant organotrophic bacteria of the class Anaerolineae are characteristic components of the microbiome of laboratory bioreactors, including those carrying out the anammox process. The filamentous cell structure may probably contribute to the formation of the spatial structure of the microbial consortium and to cell fixation on the carrier. Moreover, members of Anaerolineae and Ignavibacteria have been shown to participate in dissimilatory nitrate reduction [22]; depending on the metabolic balance, this may either promote the operation of an anammox bioreactor or suppress its functioning.
Identified members of Nitrosomonas and Nitrosospira (in minor amounts, ~0.11%) are stage I nitrifiers, oxidizing ammonium to nitrite. Stage I nitrifiers were more abundant in the inoculum (5.82%) and less numerous in the samples collected on day 127 (2.27–3.15%); by day 150, however, their abundance increased again (4.25–5.43%). Their abundance on different biochips varied: Nitrosomonas was more numerous on ETEK biochips than on BF33. A stage II nitrifier, Nitrospira, was also revealed, with the highest abundance in the inoculum (0.13%). In the course of the bioreactor operation, its abundance decreased (on the Mutag carrier), and they were completely eliminated by day 150.
Potentially denitrifying bacteria were also identified in the studied communities: Terrimicrobiaceae, Comamonadaceae, Dokdonella, Thauera, and Denitratisoma. While the ratio of its members varied during the cultivation, the total abundance of denitrifying bacteria was within the range of 3.31–4.89%, compared to 2.99% in the inoculum. The overall abundance of denitrifying bacteria in the inoculum was ~3%. By day 127, their relative abundance increased in all bioreactors (4.89–6.62%), but by day 150, it decreased to 3.47–4.76%). Redistribution of the dominant groups occurred: Denitratisoma and Comamonadaceae prevailed on day 127, while Thauera predominated on day 150.
These data are of technological interest. (1) Storage at low temperatures did not cause a decrease in the relative abundance of stage I nitrifiers and anammox bacteria, the organisms crucially important for the anammox technology. Thus, the share of anammox bacteria did not decrease and could even increase, probably due to the death of other microbial groups. The relative abundance of nitrifiers increased from 2–3% to 4–5%. Thus, AAS may be stored under such conditions for subsequent use without the loss of the biocatalysts. (2) Decreased relative abundance of Nitrosomonas nitrifying bacteria from 5–6% in the inoculum (grown on the Polyvom-type stationary carrier of attached biocenosis) to 2–3% on the AAS on biochips may indicate improved growth conditions for nitrifying bacteria (better mass exchange for oxygen and nitrite ion), resulting in oxidation of the same amount of ammonium by half of the bacterial biomass.
4. Discussion
Based on the results presented above, it may be concluded that the new ABC type, biochips of unwoven fibrous material, differs significantly from the most common biochip type, a parabolic form of porous polyethylene. After inoculation with activated sludge, it is almost completely immobilized on ETEK biochips during the first days of incubation, compared to up to 30% for the saddle-shaped elements. This feature is very valuable for the quick start-up of new bioreactors. Specific anammox activity (per unit mass) was 30–40% higher for ETEK-immobilized AAS compared to two other samples, and the nitrifying activity was up to four times higher.
The surfacing rate of ETEK biochips was intermediate between those used for comparison, BF33 and Mutag.
As biocenosis carriers, the ETEK biochips have innovative construction, combining the advantages of biochips and nonwoven materials. The only similar floating biocenosis carrier described previously differs in shape and size from ETEK biochips, being 1 cm cylinders [4]. We assume that the novel ABC type can be useful in the biotechnologies for the treatment of different types of wastewater.
The reactor type described in the present work, a moving bed–sequencing batch reactor (MB-SBR), has been described recently [7,23]. It has not been previously applied to anammox technologies [3]. This is a cyclically operating reactor with floating biocenosis carriers (MB-SBR). In its two-stage mode of operation, it resembles a continuous flow intermittent cleaning reactor (CFIC) with a load material [24,25].
Important observations and conclusions concerning the operation of rapidly surfacing ABCs were made in the course of the work.
First, when using ABCs in the technologies resulting in the formation of gaseous products (N2 in this case), consideration of this fact is of crucial importance for stable mixing and hydraulic transportation of the biochips. We proposed a simple approach to the calculation for such installations: the calculation of the rate of descending flow based on the biochip’s surfacing rate. We failed to find a description of the behavior of activated sludge-loaded ABC, and this may be the first report on the topic.
Second, surprisingly, the absence of efficient biochip mixing in the liquid flow did not hinder the target technological process, i.e., nitrogen removal. Nitrogen removal efficiency in the reactor with BF33 was only insignificantly lower than in the other two reactors (Figure 6). Liquid flow between the load elements was certainly possible, providing the conditions for the nitrification and anammox processes. In fact, while the load (moving bed) ceased to be moving, it had only an insignificant effect on the efficiency of the process. Percolation columns and trickling biofilters operate in a similar manner. Such a reactor resembles the one with an immobile (fixed) biomass carrier but differs from it favorably in the possibility of convenient hydraulic transportation of the load (in a liquid volume). In the case of not-moving ABC biochips, the problem of excess biomass production and bioreactor clogging arises [26]. Therefore, the ease of restoring the circulation of biochips is their important technological advantage.
There is another important aspect of the use of ABCs in real WWTPs. In real water treatment plants, toxic effects are always possible and can cause serious problems [27]. To prevent valuable anammox-activated sludge poisoning due to the possible toxic effects of wastewater, one may use the dehydrogenase assay, as used for conventional activated sludges [28,29]. In the case of our investigation, in small-size bench-top bioreactors, it is easier and more straightforward to undertake a direct investigation of toxicity based on the microbial community reply, which we conducted a few times for sulfides, high ammonia content, or pH [12,30,31]. A quick reply of anammox sludge gives a precise answer about the degree of toxicity of that or other stressors. In all cases described, microbes’ cells were well protected from the possible toxic effects of chemical toxicants, being in deep parts of thick biofilms formed in an ABC made from an ETEK-type material. Such a thick, effective protection of biofilms was described by other authors [32]. We believe that biofilms on the surface of thin saddle-shaped biochips are thinner than ETEK-biochip biofilms and, obviously, provide less protection from soluble chemicals. Hence, the new type of ABC possesses one more advantageous feature.
Supplementary Materials
The following supporting information can be downloaded at: https://www.mdpi.com/article/10.3390/w16233363/s1, Supplement S1: Surfacing velocity of the biochips without activated sludge two weeks after soaking. Supplement S2: Orange anammox biomass overgrowth on reactor walls.
Author Contributions
Conceptualization, N.V.P.; Data curation, T.A.K., A.V.M., and E.V.G.; Funding acquisition, A.V.M.; Investigation, T.A.K., V.A.G., Y.V.L., A.Y.K., E.V.G., and Y.Y.B.; Methodology, A.G.D. and A.V.M.; Project administration, N.V.P.; Supervision, Y.A.N.; Validation, A.G.D.; Writing—original draft, Y.A.N.; Writing—review and editing, T.A.K., A.G.D., Y.V.L., A.Y.K., and N.V.P. All authors have read and agreed to the published version of the manuscript.
Funding
The work was partially supported by the Russian Science Foundation, project no. 21-64-00019.
Data Availability Statement
The data presented in this study regarding sequencing were deposited to the NCBI Sequence Read Archive (SRA) within the framework of the project PRJNA672862; the other date is available on request from the corresponding author due to privacy reasons.
Acknowledgments
The works on electron microscopy and molecular biology were carried out using the equipment and competencies of the Joint Use Center, Research Center of Biotechnology, Russian Academy of Sciences.
Conflicts of Interest
The authors declare no conflicts of interest. Author Alexey Yu. Kozhusko was employed by the company ETEK Ltd., Russia. The remaining authors declare that the research was conducted in the absence of any commercial or financial relationships that could be construed as a potential conflict of interest.
References
- Talan, A.; Tyagi, R.D.; Drogui, P. Critical review on insight into the impacts of different inhibitors and performance inhibition of anammox process with control strategies. Environ. Technol. Innov. 2021, 23, 101553. [Google Scholar] [CrossRef]
- Kowalski, M.S.; Devlin, T.R.; Oleszkiewicz, J.A. Start-up and long-term performance of anammox moving bed biofilm reactor seeded with granular biomass. Chemosphere 2018, 200, 481–486. [Google Scholar] [CrossRef] [PubMed]
- Ren, Z.; Wang, H.; Zhang, L.; Du, X.; Huang, B.; Jin, R. A review of anammox-based nitrogen removal technology: From microbial diversity to engineering applications. Bioresour. Technol. 2022, 363, 127896. [Google Scholar] [CrossRef] [PubMed]
- Gu, W.; Wang, L.; Liu, Y.; Liang, P.; Zhang, X.; Li, Y.; Huang, X. Anammox bacteria enrichment and denitrification in moving bed biofilm reactors packed with different buoyant carriers: Performances and mechanisms. Sci. Total Environ. 2020, 719, 137277. [Google Scholar] [CrossRef] [PubMed]
- Wu, P.; Chen, J.; Garlapati, V.K.; Zhang, X.; Jenario, F.W.V.; Li, X.; Liu, W.; Chen, C.; Aminabhavi, T.M.; Zhang, X. Novel insights into Anammox-based processes: A critical review. Chem. Eng. J. 2022, 444, 136534. [Google Scholar] [CrossRef]
- Tyagi, R.D.; Vembu, K. Wastewater Treatment by Immobilized Cells; CRC Press: Boca Raton, FL, USA, 2000. [Google Scholar]
- di Biase, A.; Kowalski, M.S.; Devlin, T.R.; Oleszkiewicz, J.A. Moving bed biofilm reactor technology in municipal wastewater treatment: A review. J. Environ. Manag. 2019, 247, 849–866. [Google Scholar] [CrossRef]
- Yang, S.; Peng, Y.; Zhang, S.; Han, X.; Li, J.; Zhang, L. Carrier type induces anammox biofilm structure and the nitrogen removal pathway: Demonstration in a full-scale partial nitritation/anammox process. Bioresour. Technol. 2021, 334, 125249. [Google Scholar] [CrossRef]
- Pimenov, N.; Nikolaev, Y.; Dorofeev, A.; Grachev, V.; Kallistova, A.; Kanapatskiy, T.; Litti, Y.; Gruzdev, E.; Begmatov, S.A.; Ravin, N.; et al. Introduction of exogenous activated sludge as a way to enhance the efficiency of nitrogen removal in the anammox process. Microbiology 2022, 91, 356–363. [Google Scholar] [CrossRef]
- Popova, N.; Vishnyakova, A.; Artemiev, G.; Sitanskaia, A.; Litti, Y.; Safonov, A. Biofilms of anammox bacteria on mineral carriers to establish a subterranean permeable barrier. Int. J. Environ. Sci. Technol. 2023, 20, 2159–2170. [Google Scholar] [CrossRef]
- Pümpel, T.; Podmirseg, S.M. Method for Determining the Amount of Anammox Bacteria. USA Patent US10633269B2, 28 April 2020. [Google Scholar]
- Pimenov, N.; Nikolaev, Y.; Grachev, V.; Kallistova, A.; Dorofeev, A.; Litti, Y.; Gruzdev, E.; Beletsky, A.; Ravin, N.; Mardanov, A. Effect of Sulfide on the Processes of Transformation of Nitrogen Compounds and the Microbial Community Composition in the Anammox. Bioreact. Water 2023, 15, 2798. [Google Scholar] [CrossRef]
- Frey, B.; Rime, T.; Phillips, M.; Stierli, B.; Hajdas, I.; Widmer, F.; Hartmann, M. Microbial diversity in European alpine permafrost and active layers. FEMS Microbiol. Ecol. 2016, 92, fiw018. [Google Scholar] [CrossRef] [PubMed]
- Magoč, T.; Salzberg, S.L. FLASH: Fast length adjustment of short reads to improve genome assemblies. Bioinformatics 2011, 27, 2957–2963. [Google Scholar] [CrossRef] [PubMed]
- Edgar, R.C. Search and clustering orders of magnitude faster than BLAST. Bioinformatics 2010, 26, 2460–2461. [Google Scholar] [CrossRef] [PubMed]
- Rognes, T.; Flouri, T.; Nichols, B.; Quince, C.; Mahé, F. VSEARCH: A versatile open source tool for metagenomics. PeerJ 2016, 18, e2584. [Google Scholar] [CrossRef] [PubMed]
- Wickham, H.; Wickham, H. Getting Started with ggplot2. ggplot2: Elegant Graphics for Data Analysis; Springer: Berlin/Heidelberg, Germany, 2016; pp. 11–31. [Google Scholar]
- Mahto, K.U.; Das, S. Bacterial biofilm and extracellular polymeric substances in the moving bed biofilm reactor for wastewater treatment: A review. Bioresour. Technol. 2022, 345, 126476. [Google Scholar] [CrossRef]
- Kallistova, A.Y.; Nikolaev, Y.A.; Pimenov, N.V.; Dorofeev, A.G.; Kozlov, M.N.; Kevbrina, M.V. Role of anammox bacteria in removal of nitrogen compounds from wastewater. Microbiology 2016, 85, 140–156. [Google Scholar] [CrossRef]
- Arter, A.; Meier, U. Harnessing Water Power on a Small Scale. V.2. Hydraulics Engineering Manual; SKAT: St. Gallen, Switzerland, 1990. [Google Scholar]
- Bekele, Z.A.; Delgado Vela, J.; Bott, C.B.; Love, N.G. Sensor-mediated granular sludge reactor for nitrogen removal and reduced aeration demand using a dilute wastewater. Water Environ. Res. 2020, 92, 1–11. [Google Scholar] [CrossRef]
- Zou, X.; Ma, M.; Zhu, J.; Zhang, Q.; Cao, Q.; Hamid, S.K.; Chen, C. Effect of sulphate on nitrogen removal, sludge characteristics and microbial community structure of anammox process. J. Water Process Eng. 2023, 56, 104447. [Google Scholar] [CrossRef]
- Kamble, B.K.; Shaha, S.S. Wastewater Treatment by Moving Bed Sequencing Batch Reactor (MBSBR): A Review. Int. Res. J. Eng. Technol. 2020, 7, 4203–4210. [Google Scholar]
- Ghimire, N.; Wang, S. Biological treatment of petrochemical wastewater. In Petroleum Chemicals—Recent Insight, Mansoor Zoveidavianpoor; IntechOpen: London, UK, 2018. [Google Scholar]
- Wang, S.; Parajuli, S.; Sivalingam, V.; Bakke, R. Biofilm in Moving Bed Biofilm Process for Wastewater Treatment. In Bacterial Biofilms; Sadik, D., Melis, S.Ö., Afet, A., Eds.; IntechOpen: London, UK, 2020. [Google Scholar]
- Iliuta, I.; Larachi, F. Biomass Accumulation and Clogging in Trickle-Bed Bioreactors. AIChE J. 2004, 50, 2541–2551. [Google Scholar] [CrossRef]
- Dapena-Mora, A.; Fernández, I.; Campos, J.L.; Mosquera-Corral, A.; Méndez, R.; Jetten, M.S.M. Evaluation of activity and inhibition effects on Anammox process by batch tests based on the nitrogen gas production. Enzym. Microb. Technol. 2007, 40, 859–865. [Google Scholar] [CrossRef]
- Strotmann, U.; Durand, M.J.; Thouand, G.C.; Eberlein, H.J.; Heipieper, S.; Gartiser, U. Pagga Microbiological toxicity tests using standardized ISO/OECD methods—Current state and outlook. Appl. Microbiol. Biotechnol. 2024, 108, 454. [Google Scholar] [CrossRef] [PubMed]
- Strotmann, U.; Zaremba, S.; Bias, W.R. Rapid toxicity test systems for the determination of substance toxicity to activated sludge. Acta Hydrochim. Hydrobiol 1992, 20, 136–142. [Google Scholar] [CrossRef]
- Dorofeev, A.G.; Nikolaev, Y.A.; Grachev, V.A.; Kallistova, A.Y.; Berestovskaya, Y.Y.; Pimenov, N.V. Effect of Abrupt Increase in Ammonium Load on Activity of the Anammox Bacterial Community in a Sequencing Batch Reactor. Microbiology 2021, 90, 763–771. [Google Scholar] [CrossRef]
- Nikolaev, Y.A.; Kanapatsky, T.A.; Grachev, V.A.; Dorofeev, A.G.; Litti, Y.V.; Gruzdev, E.V.; Mardanov, A.V.; Pimenov, N.V. pH influence of pH shocks on the anammox process and ways to overcome their consequences. Microbiology 2024, 93. in press. [Google Scholar]
- Hu, Z.; Liu, T.; Su, Z.; Zhao, J.; Guo, J.; Hu, S.; Yuan, Z.; Zheng, M. Adaptation of anammox process for nitrogen removal from acidic nitritation effluent in a low pH moving bed biofilm reactor. Water Res. 2023, 243, 120370. [Google Scholar] [CrossRef]
Disclaimer/Publisher’s Note: The statements, opinions and data contained in all publications are solely those of the individual author(s) and contributor(s) and not of MDPI and/or the editor(s). MDPI and/or the editor(s) disclaim responsibility for any injury to people or property resulting from any ideas, methods, instructions or products referred to in the content. |
© 2024 by the authors. Licensee MDPI, Basel, Switzerland. This article is an open access article distributed under the terms and conditions of the Creative Commons Attribution (CC BY) license (https://creativecommons.org/licenses/by/4.0/).








