Potential of Integrated Component-Driven Material Design to Improve Crash Box Performance
Abstract
1. Introduction
- Understanding the structural behavior and affecting parameters;
- Extracting the material requirements;
- Designing the material accordingly to fulfill these requirements.
- Implementing a new design approach, from a material-focused structural design approach to a component-performance-based material and process development;
- Identification of component-derived local property requirements, which can be converted into tailored material properties;
- Analyzing the crushing behavior of square crash boxes in order to improve its energy absorption and retain its progressive buckling;
- Definition of advantages and limitations of property-graded crash boxes.
2. Materials and Methods
2.1. Material
2.2. Identification of Local Property Requirements Using a Component-Driven Material Design Approach
2.3. Crash Boxes under Axial Loading
2.4. Progressive Buckling and Corner-Strengthening of a Crash Box
2.5. Heat Treatments and Characterization Methods
3. Results and Discussion
3.1. Energy Absorption of a Corner-Strengthened Crash Box
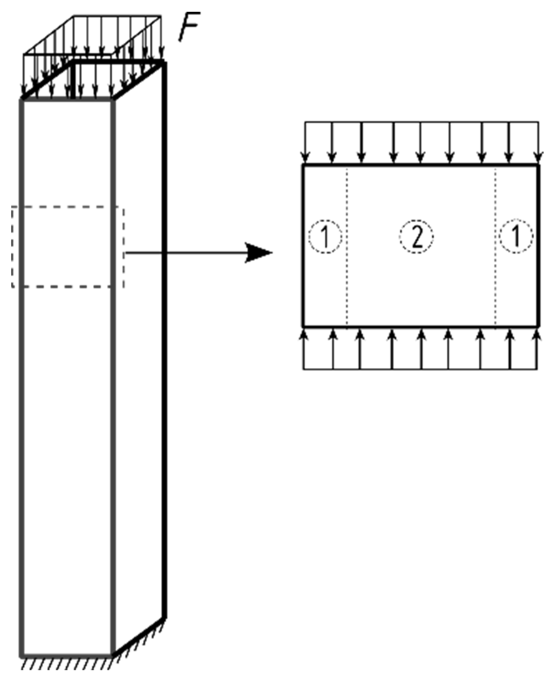
- The corners of a crash box should have a higher strength level compared to the base material.
- The yield stresses at the mid- and side regions of the crash box plate should be lower than their buckling stress.
3.2. Heat Treatments
3.3. Component Assessment of the Local Heat-Treated Crash Boxes Using FEA
| Material | K0 (MPa) | Q (MPa) | b (-) | UTS (MPa) | Fpeak (kN) | Energy Absorption (kJ) | Normalized Energy-Absorption Change (%) |
|---|---|---|---|---|---|---|---|
| DP600 | 388.7 | 447.4 | 17.9 | 841 | 95 | 6.13 | - |
| U1000 | 388.7 | 621 | 19.1 | 1000 | 95 | 6.47 | 5.5 |
| U1200 | 388.7 | 829.3 | 20.3 | 1200 | 97.5 | 7.23 | 17.9 |
| U1400 | 388.7 | 1023 | 20.6 | 1400 | 98.5 | 8.08 | 31.8 |
| ISO-HT800° | 398.3 | 569.6 | 47.2 | 992 | 101.3 | 7.29 | 18.9 |
| ISO-HT825° | 516.3 | 515.8 | 70.8 | 1059 | 110.35 | 7.93 | 29.4 |
| ISO-HT850° | 952 | 387.1 | 146.1 | 1359 | 137 | 9.36 | 52.7 |
| ISO-HT875° | 920.8 | 386.1 | 156.2 | 1326 | 137.1 | 9.66 | 57.6 |
| U1400Y952 | 952 | 453.9 | 20 | 1400 | 129.4 | 9.42 | 53.67 |
3.4. Benefits of Corner-Strengthening on Crash Box Progressive-Buckling Behavior
3.5. Evaluation of Component-Driven Material Design Approach in the Context of Other Methodologies
3.6. Adaptive Corner Heat Treatment to Improve Crash Box Energy Absorption
4. Conclusions and Outlook
Author Contributions
Funding
Institutional Review Board Statement
Informed Consent Statement
Data Availability Statement
Conflicts of Interest
References
- Abramowicz, W.; Jones, N. Dynamic axial crushing of circular tubes. Int. J. Impact Eng. 1984, 2, 263–281. [Google Scholar] [CrossRef]
- Abramowicz, W.; Jones, N. Dynamic axial crushing of square tubes. Int. J. Impact Eng. 1984, 2, 179–208. [Google Scholar] [CrossRef]
- Wierzbicki, T.; Abramowicz, W. On the Crushing Mechanics of Thin-Walled Structures. J. Appl. Mech. 1983, 50, 727–734. [Google Scholar] [CrossRef]
- Abramowicz, W.; Jones, N. Transition from initial global bending to progressive buckling of tubes loaded statically and dynamically. Int. J. Impact Eng. 1997, 19, 415–437. [Google Scholar] [CrossRef]
- Abramowicz, W.; Jones, N. Dynamic progressive buckling of circular and square tubes. Int. J. Impact Eng. 1986, 4, 243–270. [Google Scholar] [CrossRef]
- Mahmood, H.F.; Paluszny, A. Design of Thin Walled Columns for Crash Energy Management—Their Strength and Mode of Collapse; SAE Technical Paper (811302); SAE International: Warrendale, PA, USA, 1981. [Google Scholar]
- Karagiozova, D.; Alves, M. Transition from progressive buckling to global bending of circular shells under axial impact––Part I: Experimental and numerical observations. Int. J. Solids Struct. 2004, 41, 1565–1580. [Google Scholar] [CrossRef]
- Müller, B.; Schagerl, M.; Schröder, K.-U. Prediction of the collapse mode of axially crushed profiles. Proc. Inst. Civ. Eng.—Struct. Build. 2013, 166, 456–464. [Google Scholar] [CrossRef]
- Zhang, X.; Su, H.; Yu, T. Energy absorption of an axially crushed square tube with a buckling initiator. Int. J. Impact Eng. 2009, 36, 402–417. [Google Scholar] [CrossRef]
- Liu, W.; Lian, J.; Münstermann, S.; Zeng, C.; Fang, X. Prediction of crack formation in the progressive folding of square tubes during dynamic axial crushing. Int. J. Mech. Sci. 2020, 176, 105534. [Google Scholar] [CrossRef]
- Singer, J.; Arbocz, J.; Weller, T. Buckling Experiments: Experimental Methods in Buckling of Thin-Walled Structures; Volume 2: Shells, Built-up Structures, Composites and Additional Topics; John Wiley & Sons: Hoboken, NJ, USA, 2002. [Google Scholar]
- Jones, N. Structural Impact; Cambridge University Press: Cambridge, UK, 1990. [Google Scholar]
- Baroutaji, A.; Sajjia, M.; Olabi, A.-G. On the crashworthiness performance of thin-walled energy absorbers: Recent advances and future developments. Thin-Walled Struct. 2017, 118, 137–163. [Google Scholar] [CrossRef]
- Karagiozova, D.; Marcílio, A. Dynamic elastic-plastic buckling of structural elements: A review. Appl. Mech. Rev. 2008, 61, 40803. [Google Scholar] [CrossRef]
- Singer, J.; Arbocz, J.; Weller, T. Buckling Experiments. Experimental Methods in Buckling of Thin-walled Structure. Volume 1: Basic Concepts, Columns, Beams, and Plates; John Wiley & Sons Inc.: New York, NY, USA, 1998. [Google Scholar]
- Hanssen, A.; Langseth, M.; Hopperstad, O. Static and dynamic crushing of square aluminium extrusions with aluminium foam filler. Int. J. Impact Eng. 2000, 24, 347–383. [Google Scholar] [CrossRef]
- Meguid, S.; Stranart, J.; Heyerman, J. On the layered micromechanical three-dimensional finite element modelling of foam-filled columns. Finite Elem. Anal. Des. 2004, 40, 1035–1057. [Google Scholar] [CrossRef]
- Jones, N. Energy-absorbing effectiveness factor. Int. J. Impact Eng. 2010, 37, 754–765. [Google Scholar] [CrossRef]
- Rezvani, M.J.; Jahan, A. Effect of initiator, design, and material on crashworthiness performance of thin-walled cylindrical tubes: A primary multi-criteria analysis in lightweight design. Thin-Walled Struct. 2015, 96, 169–182. [Google Scholar] [CrossRef]
- Wang, C.; Li, Y.; Zhao, W.; Zou, S.; Zhou, G.; Wang, Y. Structure design and multi-objective optimization of a novel crash box based on biomimetic structure. Int. J. Mech. Sci. 2018, 138–139, 489–501. [Google Scholar] [CrossRef]
- Jones, N.; Birch, R.S. Dynamic and Static Axial Crushing of Axially Stiffened Square Tubes. Proc. Inst. Mech. Eng. Part C Mech. Eng. Sci. 1990, 204, 293–310. [Google Scholar] [CrossRef]
- Yao, R.-Y.; Yin, G.-S.; Hao, W.-Q.; Zhao, Z.-Y.; Li, X.; Qin, X.-L. Axial buckling modes and crashworthiness of circular tube with external linear gradient grooves. Thin-Walled Struct. 2019, 134, 395–406. [Google Scholar] [CrossRef]
- Nikkhah, H.; Baroutaji, A.; Olabi, A.G. Crashworthiness design and optimisation of windowed tubes under axial impact loading. Thin-Walled Struct. 2019, 142, 132–148. [Google Scholar] [CrossRef]
- Shuo, L. Impact Energy Absorption Analysis of Different Thin-Walled Tubes with and without Reinforcement. Ph.D. Thesis, University of Manchester, Manchester, UK, 2014. [Google Scholar]
- Huang, H.; Xu, S. Crashworthiness analysis and bionic design of multi-cell tubes under axial and oblique impact loads. Thin-Walled Struct. 2019, 144, 106333. [Google Scholar] [CrossRef]
- Fang, J.; Gao, Y.; Sun, G.; Zheng, G.; Li, Q. Dynamic crashing behavior of new extrudable multi-cell tubes with a functionally graded thickness. Int. J. Mech. Sci. 2015, 103, 63–73. [Google Scholar] [CrossRef]
- Li, Z.; Ma, W.; Hou, L.; Xu, P.; Yao, S. Crashworthiness analysis of corrugations reinforced multi-cell square tubes. Thin-Walled Struct. 2020, 150, 106708. [Google Scholar] [CrossRef]
- Zhang, X.; Wen, Z.; Zhang, H. Axial crushing and optimal design of square tubes with graded thickness. Thin-Walled Struct. 2014, 84, 263–274. [Google Scholar] [CrossRef]
- Xu, F.; Tian, X.; Li, G. Experimental Study on Crashworthiness of Functionally Graded Thickness Thin-Walled Tubular Structures. Exp. Mech. 2015, 55, 1339–1352. [Google Scholar] [CrossRef]
- Yang, R.J.; Fu, Y.; Li, G. Application of Tailor Rolled Blank in Vehicle Front End for Frontal Impact. In SAE Technical Paper Series; SAE International: Warrendale, PA, USA, 2007. [Google Scholar]
- Xu, F.; Sun, G.; Li, G.; Li, Q. Experimental study on crashworthiness of tailor-welded blank (TWB) thin-walled high-strength steel (HSS) tubular structures. Thin-Walled Struct. 2014, 74, 12–27. [Google Scholar] [CrossRef]
- Demirci, E.; Yildiz, A.R. An experimental and numerical investigation of the effects of geometry and spot welds on the crashworthiness of vehicle thin-walled structures. Mater. Test. 2018, 60, 553–561. [Google Scholar] [CrossRef]
- Bambach, M.; Conrads, L.; Daamen, M.; Güvenç, O.; Hirt, G. Enhancing the crashworthiness of high-manganese steel by strain-hardening engineering, and tailored folding by local heat-treatment. Mater. Des. 2016, 110, 157–168. [Google Scholar] [CrossRef]
- Quadfasel, A.; Teller, M.; Madivala, M.; Haase, C.; Roters, F.; Hirt, G. Computer-Aided Material Design for Crash Boxes Made of High Manganese Steels. Metals 2019, 9, 772. [Google Scholar] [CrossRef]
- Conrads, L.; Liebsch, C.; Hirt, G. Increasing the energy absorption capacity of structural components made of low alloy steel by combining strain hardening and local heat treatment. Procedia Eng. 2017, 207, 257–262. [Google Scholar] [CrossRef]
- Hosseini, V.A.; Karlsson, L.; Hurtig, K.; Choquet, I.; Engelberg, D.; Roy, M.J.; Kumara, C. A novel arc heat treatment technique for producing graded microstructures through controlled temperature gradients. Mater. Des. 2017, 121, 11–23. [Google Scholar] [CrossRef]
- European Aluminium Association. The Aluminuym Automotive Manual—Design for Functional Performance; European Aluminium Association: Etterbeek, Belgium, 2011. [Google Scholar]
- Ituarte, I.F.; Boddeti, N.; Hassani, V.; Dunn, M.L.; Rosen, D.W. Design and additive manufacture of functionally graded structures based on digital materials. Addit. Manuf. 2019, 30, 100839. [Google Scholar] [CrossRef]
- Boddeti, N.; Tang, Y.; Maute, K.; Rosen, D.W.; Dunn, M.L. Optimal design and manufacture of variable stiffness laminated continuous fiber reinforced composites. Sci. Rep. 2020, 10, 16507. [Google Scholar] [CrossRef] [PubMed]
- Gebhardt, C.; Nellessen, J.; Bührig-Polaczek, A.; Broeckmann, C. Influence of Aluminum on Fatigue Strength of Solution-Strengthened Nodular Cast Iron. Metals 2021, 11, 311. [Google Scholar] [CrossRef]
- Ripplinger, C.; Gastens, M.; Zimmermann, J.; Pustal, B.; Broeckmann, C.; Schröder, K.-U.; Bührig-Polaczek, A. Potential of Metallurgical Gradients in the Design of Structural Components Made of Nodular Cast Iron. Materials 2021, 14, 2411. [Google Scholar] [CrossRef] [PubMed]
- Müller, B. Druckfestigkeit und Stauchverhalten Dünnwandiger Profile. Ph.D. Thesis, Johannes Kepler Universität Linz, Linz, Austria, 2013. [Google Scholar]
- Müller, B.; Schagerl, M.; Schöder, K.-U. On the folding of plates which buckle before and beyond the elastic limit. PAMM 2013, 13, 111–112. [Google Scholar] [CrossRef]
- Chen, D. Crush Mechanics of Thin-Walled Tubes; CRC Press: Boca Raton, FL, USA, 2015. [Google Scholar]
- Jafarzadeh-Aghdam, N.; Schröder, K.-U. Mechanism of reproducible axial impact of square crash boxes. Thin-Walled Struct. 2022, 176, 109062. [Google Scholar] [CrossRef]
- Meguid, S.; Attia, M.; Stranart, J.; Wang, W. Solution stability in the dynamic collapse of square aluminium columns. Int. J. Impact Eng. 2007, 34, 348–359. [Google Scholar] [CrossRef]
- Jafarzadeh-Aghdam, N.; Tatikonda, U.B.C.; Bühring, J.; Mekala, N.R.; Schröder, K.-U. Impact of thin-walled square aluminum tubes. Proc. Appl. Math. Mech. 2019, 19, e201900395. [Google Scholar] [CrossRef]
- Jafarzadeh-Aghdam, N. Crush Mechanics of Square Tubes. Ph.D. Dissertation, RWTH Aachen University, Aachen, Germany, 2022. [Google Scholar]
- Chung, K.; Lee, M.-G. Basics of Continuum Plasticity; Springer: Singapore, 2018. [Google Scholar] [CrossRef]
- Costas, M.; Díaz, J.; Romera, L.; Hernández, S.; Tielas, A. Static and dynamic axial crushing analysis of car frontal impact hybrid absorbers. Int. J. Impact Eng. 2013, 62, 166–181. [Google Scholar] [CrossRef]
- Dassault Systems, Abaqus. Online Documentation-Abaqus Analysis User’s Guide. 2017. Available online: http://130.149.89.49:2080/v6.11/pdf_books/CAE.pdf (accessed on 26 March 2023).
- Langseth, M.; Hopperstad, O.; Berstad, T. Crashworthiness of aluminium extrusions: Validation of numerical simulation, effect of mass ratio and impact velocity. Int. J. Impact Eng. 1999, 22, 829–854. [Google Scholar] [CrossRef]
- Haberle, T. Buckling of flat, rectangular plates under uniaxial compression: Handbuch struktur berechnung (HSB). In Handbuch Struktur Berechnung; Industrie-Ausschufl Struktur Berechnungsunterlagen: Ottobrunn, Germany, 2009; p. 2. [Google Scholar]
- Timoshenko, S.; Gere, J. Theory of Elastic Stability, 2nd ed.; McGraw-Hill: New York, NY, USA, 1963. [Google Scholar]
- Langseth, M.; Hopperstad, O. Local buckling of square thin-walled Aluminium extrusions. Thin-Walled Struct. 1997, 27, 117–126. [Google Scholar] [CrossRef]
- Schuman, L.; Goldie, B. Strength of rectangular flat plates under edge compression. NACA-TR-356. NACA Tech. Rep. 1931, 356. [Google Scholar]
- Jafarzadeh-Aghdam, N.; Schröder, K.-U. Dynamic buckling of crash boxes Under impact load. In Proceedings of the 8th International Conference on Coupled Instabilities in Metal Structures (CIMS 2021), Lodz, Poland, 12–14 July 2021. [Google Scholar] [CrossRef]














| C | Si | Mn | P | Cu | Cr | Mo | Ni | N |
|---|---|---|---|---|---|---|---|---|
| 0.113 | 0.390 | 1.38 | 0.0167 | 0.0152 | 0.179 | 0.0515 | 0.0198 | 0.00001 |
Disclaimer/Publisher’s Note: The statements, opinions and data contained in all publications are solely those of the individual author(s) and contributor(s) and not of MDPI and/or the editor(s). MDPI and/or the editor(s) disclaim responsibility for any injury to people or property resulting from any ideas, methods, instructions or products referred to in the content. |
© 2023 by the authors. Licensee MDPI, Basel, Switzerland. This article is an open access article distributed under the terms and conditions of the Creative Commons Attribution (CC BY) license (https://creativecommons.org/licenses/by/4.0/).
Share and Cite
Jafarzadeh-Aghdam, N.; Sparrer, Y.; Zimmermann, J.; Mäde, K.A.G.; Sharma, R.; Schröder, K.-U.; Münstermann, S. Potential of Integrated Component-Driven Material Design to Improve Crash Box Performance. Metals 2023, 13, 915. https://doi.org/10.3390/met13050915
Jafarzadeh-Aghdam N, Sparrer Y, Zimmermann J, Mäde KAG, Sharma R, Schröder K-U, Münstermann S. Potential of Integrated Component-Driven Material Design to Improve Crash Box Performance. Metals. 2023; 13(5):915. https://doi.org/10.3390/met13050915
Chicago/Turabian StyleJafarzadeh-Aghdam, Nima, Yannik Sparrer, Jannik Zimmermann, Konrad Arno Gregor Mäde, Rahul Sharma, Kai-Uwe Schröder, and Sebastian Münstermann. 2023. "Potential of Integrated Component-Driven Material Design to Improve Crash Box Performance" Metals 13, no. 5: 915. https://doi.org/10.3390/met13050915
APA StyleJafarzadeh-Aghdam, N., Sparrer, Y., Zimmermann, J., Mäde, K. A. G., Sharma, R., Schröder, K.-U., & Münstermann, S. (2023). Potential of Integrated Component-Driven Material Design to Improve Crash Box Performance. Metals, 13(5), 915. https://doi.org/10.3390/met13050915

