A Simplified Inverse Analysis Procedure for the Stress-Crack Opening Relationship of Fiber-Reinforced Concrete
Abstract
1. Introduction
- The need to use specific computational programs for structural analysis;
- The high computational cost;
- The significant time spent performing the inverse analysis.
2. Three-Point Bending Test (3PBT)
3. Analytical Model for Determination of (F–CMOD)anal Diagrams
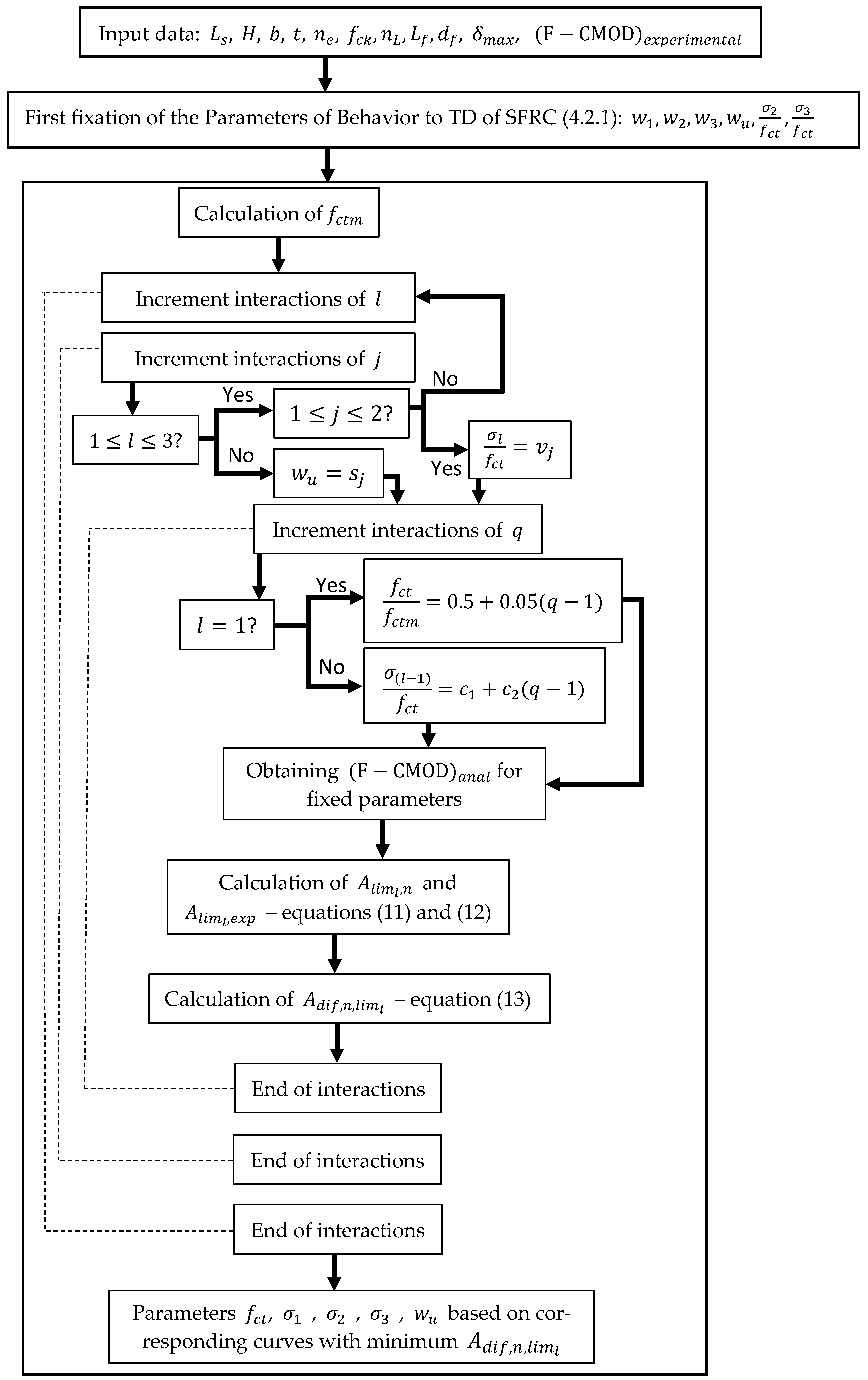
4. The Inverse Analysis Procedure
4.1. The Concept of Inverse Analysis
- -
- Parameters of the tested sample: span (L), height (H), width (b), and notch depth (), according to Figure 4;
- -
- Concrete parameters: compressive strength () and tensile strength () of FRC; is the average tensile strength obtained according to [40];
- -
- Fiber parameters: length () and diameter ();
- -
- In order to determine the error, the experimental results of the F–CMOD curve, (F–CMOD)exp curve, were obtained through experimental results of the 3PBT must be input data, as well as the maximum deflection ().
4.2. Parameters of SFRC Direct Tensile Behavior
4.2.1. Initial Parameters Determination
4.2.2. Determination of
4.2.3. Determination of
4.2.4. Determination of
4.2.5. Determination of
4.2.6. Choice of the Best Fit Curve
4.2.7. Validation of the Inverse Analysis Procedure
5. Results and Discussions
5.1. Generalities
5.2. Determination of
5.3. Determination of
5.4. Determination of
5.5. Determination of
5.6. Full Diagram
5.7. Inverse Analysis
6. Conclusions
- -
- The inverse analysis can be performed with the procedure proposed, obtaining results compatible with the experimental response, considering a margin of error of less than 10%;
- -
- The methodology developed reduces the number of iterations of the developed algorithm, providing faster processing;
- -
- This procedure does not require FEM software.
Author Contributions
Funding
Data Availability Statement
Acknowledgments
Conflicts of Interest
References
- Ledesma Villalba, A. Identificación de Parámetros en Geotecnia: Aplicación a la Excavación de Túneles. Ph.D. Thesis, Universitat Politècnica de Catalunya, Barcelona, Spain, 1987. [Google Scholar]
- Almeida, L.C.D. Identificação de Parâmetros Estruturais com Emprego de Análise Inversa. Ph.D. Thesis, Universidade Estadual de Campinas, Campinas, Brazil, 2006. [Google Scholar] [CrossRef]
- Rauecker, J.C.N.; Pereira Junior, W.M.; Pituba, J.J.C.; Araújo, D.L. Uma abordagem experimental e numérica para determinação de curvas de compressão para concreto simples e reforçados com fibras de aço. Rev. Mater. 2019, 24. [Google Scholar] [CrossRef]
- Oliveira, F.L. Design-Oriented Constitutive Model for Steel Fiber Reinforced Concrete. Ph.D. Thesis, Universitat Politècnica de Catalunya, Barcelona, Spain, 2010. [Google Scholar]
- Mobasher, B.; Bakhshi, M.; Barsby, C. Backcalculation of residual tensile strength of regular and high performance fiber reinforced concrete from flexural tests. Construct. Build. Mater. 2014, 70, 243–253. [Google Scholar] [CrossRef]
- Di Prisco, M.; Plizzari, G.; Vandewalle, L. Fibre reinforced concrete: New design perspectives. Mater. Struct. 2009, 42, 1261–1281. [Google Scholar] [CrossRef]
- ACI Committee 544. State-of-the-art report on fiber reinforced concrete. ACI Struct. J. 1997, 70, 729–744. [Google Scholar] [CrossRef]
- AASHTO-AGC-ARTBA. The Use of State-of-the-Practice of Fiber Reinforced Concrete; Subcommittee on New Highway Materials. Task Force 36 Report; AASHTO-Associated General Contractors of America-American Road and Transportation Builders Association Joint Committee: Washington, DC, USA, 2001. [Google Scholar]
- Singh, H. Steel Fiber Reinforced Concrete: Behavior, Modelling and Design; Springer: Ludhiana, India, 2016. [Google Scholar]
- Hillerborg, A. Analysis of fracture by means of the fictitious crack model, particularly for fiber reinforced concrete. Int. J. Cem. Compos. 1980, 2, 177–184. [Google Scholar]
- Zhang, J.; Stang, H. Applications of stress crack width relationship in predicting the flexural behavior of fibre-reinforced concrete. Cem. Concr. Res. 1998, 28, 439–452. [Google Scholar] [CrossRef]
- Accornero, F.; Rubino, A.; Carpinteri, A. Post-cracking regimes in the flexural behaviour of fibre-reinforced concrete beams. Int. J. Solids Struct. 2022, 248, 111637. [Google Scholar] [CrossRef]
- Fantilli, A.P.; Chiaia, B.; Gorino, A. Unified approach for minimum reinforcement of concrete beams. ACI Struct. J. 2016, 5, 1107–1116. [Google Scholar] [CrossRef]
- Fantilli, A.P.; Chiaia, B.; Gorino, A. Fiber volume fraction and ductility Index of concrete beams. Cem. Concr. Compos. 2016, 65, 139–149. [Google Scholar] [CrossRef]
- Gorino, A.; Fantilli, A.P. Scaled Approach to Designing the Minimum Hybrid Reinforcement of Concrete Beams. Materials 2020, 13, 5166. [Google Scholar] [CrossRef]
- Naaman, A.E.; Reinhardt, H.W. Proposed classification of HPFRC composites based on their tensile response. Mater. Struct. 2006, 5, 547–555. [Google Scholar] [CrossRef]
- Cunha, V.M.D.C.F. Steel Fibre Reinforced Self-Compacting Concrete (from Micro-Mechanics to Composite Behaviour). Ph.D. Thesis, Universidade do Minho, Braga, Portugal, 2010. [Google Scholar]
- Azevedo, A.F.M.; Barros, J.A.O.; Sena-Cruz, J.M.; Gouveia, A.V. Software in structural engineering education and design. In Proceedings of the III Portuguese-Mozambican Conference of Engineering, Maputo, Mozambique, 19–21 August 2003. [Google Scholar]
- Abrishambaf, A.; Barros, J.A.O.; Cunha, V.M.C.F. Tensile stress–crack width law for steel fibre reinforced self-compacting concrete obtained from indirect (splitting) tensile tests. Cem. Concr. Compos. 2015, 57, 153–165. [Google Scholar] [CrossRef]
- Roelfstra, P.E.; Wittmann, F.H. Numerical method to link strain softening with failure of concrete. In Fracture Toughness and Fracture Energy of Concrete; Elsevier: Amsterdam, The Netherlands, 1986. [Google Scholar]
- Löfgren, I.; Stang, H.; Olesen, J.F. Fracture Properties of FRC Determined through Inverse Analysis of Wedge Splitting and Three-Point Bending Tests. J. Adv. Concr. Technol. 2005, 3, 423–434. [Google Scholar] [CrossRef]
- Gao, D.; Ding, C.; Yuyang, P.; Chen, G. An inverse analysis method for multi-linear tensile stress-crack opening relationship of 3D/4D/5D steel fiber reinforced concrete. Construct. Build. Mater. 2021, 309, 125074. [Google Scholar] [CrossRef]
- Zhang, J.; Li, V.C. Simulation of crack propagation in fiber-reinforced concrete by fracture mechanics. Cem. Concr. Res. 2004, 34, 333–339. [Google Scholar] [CrossRef]
- Frazão, C.M.V. Recycled Steel Fiber Reinforced Concrete for Structural Elements Subjected to Chloride Attack: Mechanical and Durability Performance. Ph.D. Thesis, Universidade do Minho, Braga, Portugal, 2019. [Google Scholar]
- Blasi, G.; Leone, M. Inverse analysis-based model for the tensile behaviour of fibre-reinforced concrete with manufactured and waste tyres recovered fibres. Case Stud. 2022, 17, e01297. [Google Scholar] [CrossRef]
- Santos, F.L.G.D.; Forti, T.L.D. Concrete cohesive curves for specimens with different sizes: A study of inverse analysis and size effect. Eng. Fract. Mech. 2022, 261, 108249. [Google Scholar] [CrossRef]
- Lameiras, R.D.M. Sandwich Structural Panels Comprising Thin-Walled SFRSCC and GFRP Connectors: From Material Features to Structural Behaviour. Ph.D. Thesis, Universidade do Minho, Braga, Portugal, 2016. [Google Scholar]
- Nour, A.; Massicotte, B.; Montaignac, R.; Charron, J.-P. Derivation of a crack opening deflection relationship for fibre reinforced concrete panels using a stochastic model: Application for predicting the flexural behaviour of round panels using stress crack opening diagrams. Cem. Concr. Res. 2011, 41, 964–974. [Google Scholar] [CrossRef]
- Nour, A.; Massicotte, B.; Montaignac, R.; Charron, J.-P. Development of an inverse analysis procedure for the characterisation of softening diagrams for FRC beams and panels. Construct. Build. Mater. 2015, 94, 35–44. [Google Scholar] [CrossRef]
- Olesen, J.F. Fictitious Crack Propagation in Fiber-Reinforced Concrete Beams. J. Eng. Mech. 2001, 127, 272–280. [Google Scholar] [CrossRef]
- Salehian, H. Evaluation of the Performance of Steel Fibre Reinforced Self-Compacting Concrete in Elevated Slab Systems; From the Material to the Structure. Ph.D. Thesis, Universidade do Minho, Braga, Portugal, 2015. [Google Scholar]
- Stephen, S.J.; Raphael, B.; Gettu, R.; Jose, S. Determination of the tensile constitutive relations of fiber reinforced concrete using inverse analysis. Construct. Build. Mater. 2019, 195, 405–414. [Google Scholar] [CrossRef]
- Ding, C.; Gao, D.; Guo, A. Analytical methods for stress-crack width relationship and residual flexural strengths of 3D/4D/5D steel fiber reinforced concrete. Construct. Build. Mater. 2022, 346, 128438. [Google Scholar] [CrossRef]
- Zhang, J.; Ju, X. Investigation on stress-crack opening relationship of engineered cementitious composites using inverse approach. Cem. Concr. Res. 2011, 41, 903–912. [Google Scholar] [CrossRef]
- Matos, L.M.P.; Barros, J.A.O.; Ventura-Gouveia, A.; Calçada, R.A.B. A new inverse analysis approach for predicting the fracture mode I parameters of fibre reinforced concrete. Eng. Fract. Mech. 2021, 246, 107613. [Google Scholar] [CrossRef]
- Meng, G.; Wu, B.; Xu, S.; Huang, J. Modelling and experimental validation of flexural tensile properties of steel fiber reinforced concrete. Construct. Build. Mater. 2021, 273, 121974. [Google Scholar] [CrossRef]
- Metha, P.K.; Monteiro, P.J.M. Concreto, Microestrutura, Propriedades e Materiais, 3rd ed.; IBRACON: São Paulo, Brazil, 2008. [Google Scholar]
- EN 14651; Test Method for Metallic Fibered Concrete—Measuring the Flexural Tensile Strength (Limit of Proportionality (LOP), residual). European Committee for Standardization: Brussels, Belgium, 2005.
- RILEM. Technical Committee TDF-162. Test and design methods for steel fibre reinforced concrete—Design of steel fibre reinforced concrete using the σ-w method: Principles and application. J. Mater. Struct. 2002, 35, 262–276. [Google Scholar]
- FIB. Model Code 2010; International Federation for Structural Concrete: Lausanne, Switzerland, 2010. [Google Scholar]
- Van Mier, J.G.M.; Mechtcherine, V. Minimum demands for deformation-controlled uniaxial tensile tests. In Final Report of TC 187-SOC 39: Experimental Determination of the Stress-Crack Opening Curve for Concrete in Tension; Planas, J.M., Ed.; RILEM Technichal Committe: Bagneux, France, 2007; pp. 5–11. [Google Scholar]
- Vipulanandan, C.; Paul, E. Performance of epoxy and polyester polymer concrete. ACI Mater. J. 1990, 87, 241–251. [Google Scholar] [CrossRef]
- Barros, J.A.; Figueiras, J.A. Flexural behavior of SFRC: Testing and modeling. J. Mater. Civ. Eng. 1999, 11, 331–339. [Google Scholar] [CrossRef]
- Hillerborg, A.; Modéer, M.; Petersson, P.E. Analysis of crack formation and crack growth in concrete by means of fracture mechanics and finite elements. Cem. Concr. Res. 1976, 6, 773–781. [Google Scholar] [CrossRef]
- Massicotte, B. Implementing SFRC design into North American codes: Application to a building floor. In Proceedings of the Invited paper to the International Workshop on the Advanced in Fibre Reinforced Concrete, Bergamo, Italy, 24–25 September 2004. [Google Scholar]
- Ulfkjaer, J.; Krenk, S.; Brincker, R. Analytical model for fictitious crack propagation in concrete beams. J. Eng. Mech. 1995, 121, 7–15. [Google Scholar] [CrossRef]
- Kooiman, A.G. Modelling Steel Fibre Reinforced Concrete for Structural Design. Ph.D. Thesis, Technische Universiteit Delft, Delft, The Netherlands, 2000. [Google Scholar]
- Iyengar, K.T.S.R.; Raviraj, S.; Ravikumar, P.N. Analysis study of fictitious crack propagation in concrete beams using a bi-linear σ–w relation. In Proceedings of the 3th International Conference on Fracture Mechanics of Concrete and Structure (FRAMCOS III), Gifu, Japan, 12–16 October 1998. [Google Scholar]
- Pedersen, C. New Production Processes, Materials and Calculation Techniques for Fiber Reinforced Concrete Pipes. Ph.D. Thesis, Technical University of Denmark, Lyngby, Denmark, 1996. [Google Scholar]
- EN 1992-1; European Standard Eurocode 2: Design of Concrete Structures—Part 1: General Rules and Rules for Buildings. EUROCODE 4 EN. CEN—European Committee for Standardisation: Brussels, Belgium, 2004.

























| Author | Denomination | [MPa] | [MPa] | [mm/mm] | Fiber Kind | Concrete Kind |
|---|---|---|---|---|---|---|
| [27] | SFRSCC B | 55 | 2.23 | 35/0.55 | Steel, HE | SFRSCC |
| [31] | C45-f90 | 45 | 2.4 | 35/0.55 | Steel, HE | SFRSCC |
| [24] | RSFRC1%_2 | 45 | 3.34 | 23/0.22 | recycled | SFRSCC |
| [29] | FRC60-1 | 60 | 3.26 | 60/0.75 | Steel, HE | SFRC |
| Concrete | Reference | [MPa] | [mm] | [-] | [mm] | [-] | [mm] | [-] | [mm] |
|---|---|---|---|---|---|---|---|---|---|
| SFRSCC B | This study | 2.45 | 0.20 | 2.94 | 1.39 | 1.96 | 2.78 | 1.71 | 4.38 |
| [27] | 2.23 | 0.20 | 2.90 | 1.40 | 1.71 | 2.80 | 0.95 | 4.38 | |
| C45-f90 | This study | 3.79 | 0.20 | 4.17 | 1.39 | 3.41 | 2.78 | 2.65 | 8.75 |
| [31] | 3.60 | 0.20 | 3.92 | 1.50 | 3.25 | 2.50 | 2.36 | 2.50 | |
| RSFRC1%_2 | This study | 3.60 | 0.13 | 3.24 | 0.91 | 2.16 | 1.83 | 1.80 | 8.75 |
| [24] | 3.34 | 0.10 | 3.20 | 0.95 | 2.07 | 1.80 | 1.67 | 2.50 | |
| FRC60-1 | This study | 3.30 | 0.34 | 3.30 | 2.39 | 1.65 | 4.77 | 0.99 | 8.75 |
| [29] | 3.26 | 0.30 | 3.16 | 2.40 | 1.49 | 4.80 | 0.82 | 2.50 |
Disclaimer/Publisher’s Note: The statements, opinions and data contained in all publications are solely those of the individual author(s) and contributor(s) and not of MDPI and/or the editor(s). MDPI and/or the editor(s) disclaim responsibility for any injury to people or property resulting from any ideas, methods, instructions or products referred to in the content. |
© 2023 by the authors. Licensee MDPI, Basel, Switzerland. This article is an open access article distributed under the terms and conditions of the Creative Commons Attribution (CC BY) license (https://creativecommons.org/licenses/by/4.0/).
Share and Cite
Carvalho, P.P.M.d.; Lameiras, R.d.M. A Simplified Inverse Analysis Procedure for the Stress-Crack Opening Relationship of Fiber-Reinforced Concrete. Buildings 2023, 13, 1166. https://doi.org/10.3390/buildings13051166
Carvalho PPMd, Lameiras RdM. A Simplified Inverse Analysis Procedure for the Stress-Crack Opening Relationship of Fiber-Reinforced Concrete. Buildings. 2023; 13(5):1166. https://doi.org/10.3390/buildings13051166
Chicago/Turabian StyleCarvalho, Pedro Paulo Martins de, and Rodrigo de Melo Lameiras. 2023. "A Simplified Inverse Analysis Procedure for the Stress-Crack Opening Relationship of Fiber-Reinforced Concrete" Buildings 13, no. 5: 1166. https://doi.org/10.3390/buildings13051166
APA StyleCarvalho, P. P. M. d., & Lameiras, R. d. M. (2023). A Simplified Inverse Analysis Procedure for the Stress-Crack Opening Relationship of Fiber-Reinforced Concrete. Buildings, 13(5), 1166. https://doi.org/10.3390/buildings13051166

