Research on Coordinated Control of Vehicle Inertial Suspension Using the Dynamic Surface Control Theory
Abstract
1. Introduction
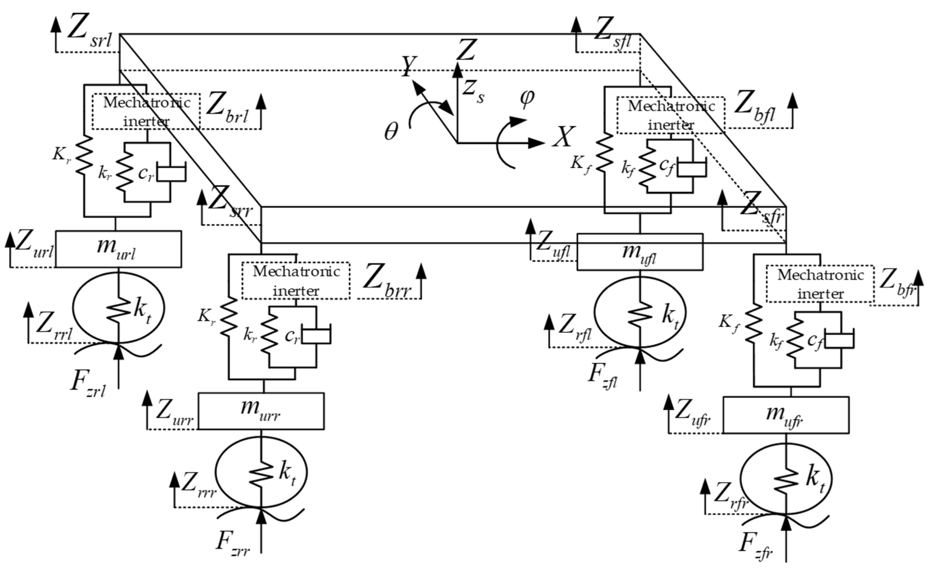
2. Vehicle Inertial Suspension Model
3. Optimization of Vehicle Inertial Suspension Parameters
4. Design of Coordination Controller Based on Dynamic Surface Control Theory
4.1. Controller Design Procedure
4.2. Stability Proof
5. Performance Analysis of Inertial Suspension Based on Dynamic Surface Control
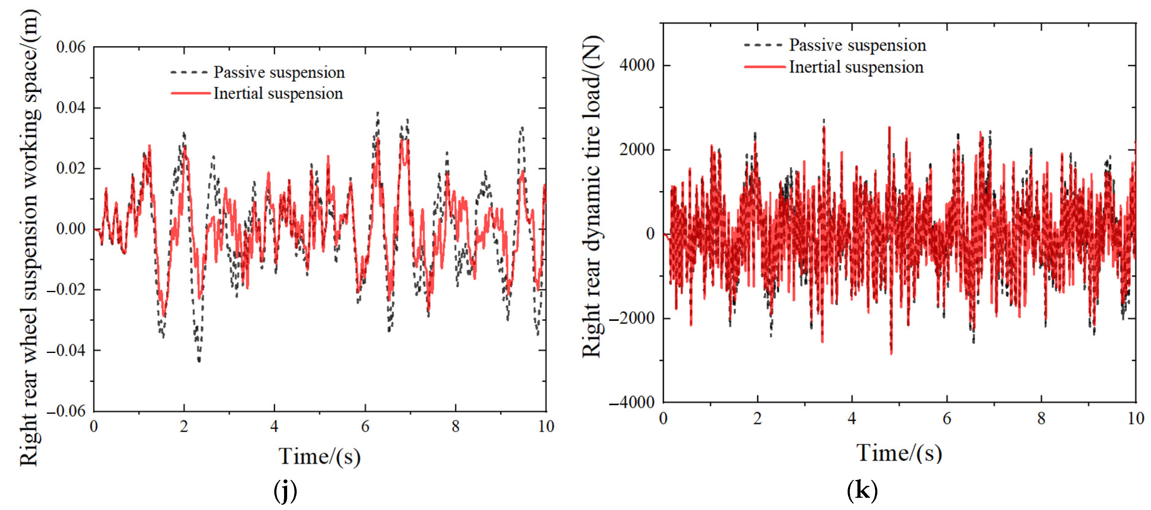
5.1. Time Domain Performance Analysis
5.2. Frequency Performance Analysis
6. Verification Analysis of HiL Test
7. Results
Author Contributions
Funding
Data Availability Statement
Conflicts of Interest
Appendix A
- 1.
- 2.
- 3.
- 4.
- 5.
References
- Shuping, C.; Bin, Z. Automobile Construction; China Machine Press: Beijing, China, 2007. [Google Scholar]
- Qin, Y.C.; Zhao, Z.; Wang, Z.F.; Li, G. Study of longitudinal–vertical dynamics for in-wheel motor-driven electric vehicles. Automot. Innov. 2021, 4, 227–237. [Google Scholar] [CrossRef]
- Yang, X.; Zhang, T.; Shen, Y.; Liu, Y.; Bui, V.; Qiu, D. Tradeoff analysis of the energy-harvesting vehicle suspension system employing inerter element. Energy 2024, 308, 132841. [Google Scholar] [CrossRef]
- Shen, Y.; Chen, A.; Du, F.; Yang, X.; Liu, Y.; Chen, L. Performance enhancements of semi-active vehicle air ISD suspension. Proc. Inst. Mech. Eng. Part D-J. Automob. Eng. 2024. [Google Scholar] [CrossRef]
- Zhao, D.; Yin, Y.; Ni, T.; Zhang, W. Research review on chassis integrated control of heavy duty truck. J. Yanshan Univ. 2020, 44, 189–197. [Google Scholar]
- Pan, G.; Ding, C.; Wang, W.; Li, A. Application of extended zero moment point in vehicle pitch control evaluation and Active control. J. Jiangsu Univ. (Nat. Sci. Ed.) 2021, 42, 85–91. [Google Scholar]
- Jiang, Z.; Zheng, M.; Zhang, N. Research on pitch dynamics of semi-active anti-pitch hydraulic interconnected suspension. J. Vib. Shock 2020, 39, 272–278. [Google Scholar]
- Xia, P. Simulation study on effect of multi-axle vehicle suspension system on roll stability. Master’s Thesis, Wuhan University of Technology: Wuhan, China, 2015. [Google Scholar]
- Anafjeh, B.; Moosavi, H.; Danesh, M. Active optimal roll control of railway vehicles in curved tracks using an electrically actuated anti-roll bar System. Int. J. Control. Autom. Syst. 2023, 21, 1127–1142. [Google Scholar] [CrossRef]
- Jiang, H.; Wang, Y.; Wu, Y.; Wang, P. Cooperative control strategy for lateral stability and roll prevention of four-wheel drive electric vehicle. J. Jilin Univ. (Eng. Technol. Ed.) 2024, 54, 540–549. [Google Scholar]
- Li, Y.; Chi, Y.; Ji, X.; Liu, Y.; Wu, J. Research on path tracking and anti-roll cooperative control of commercial vehicle based on pareto optimal equilibrium theory. Automot. Eng. 2019, 41, 654–661+687. [Google Scholar]
- Zhang, L.; Zhou, J.; Cheng, Q.; Wu, G. Estimation and active control of vehicle roll state considering road uneven input. J. Vib. Shock. 2018, 37, 133–141+154. [Google Scholar]
- Pan, G.; Ding, C.; Li, Y. Research on vehicle roll evaluation index and roll control based on zero moment point. Chin. J. Mech. Eng. 2023, 59, 175–187. [Google Scholar]
- Li, S.; Du, P.; Feng, X. Integrated control strategy of anti-rollover chassis for minibus. J. Jiangsu Univ. (Nat. Sci. Ed.) 2022, 43, 131–138. [Google Scholar]
- Zhao, S.; Li, Y.; Yu, Q. Vehicle stability control based on coordinated control of chassis sub-systems. J. Traffic Transp. Eng. 2015, 15, 77–85. [Google Scholar]
- Chen, G.; Lv, S.; Li, G.; Dai, J.; Yang, Z. Research on semi-vehicle semi-active fuzzy PI control suspension based on particle swarm optimization. J. Henan Univ. Technol. (Nat. Sci. Ed.) 2020, 39, 69–79. [Google Scholar]
- Chen, G.; Xu, X.; Tang, Y.; Jiang, G. A Three-Axis Unmanned Vehicle Hydraulic Drive System and Its Comprehensive Energy-Saving Control. Strategy. Patent 202211532845.6, 18 April 2023. [Google Scholar]
- Liang, J.; Lu, Y.; Pi, D.; Yin, G.; Zhuang, W.; Wang, F.; Feng, J.; Zhou, C. A decentralized cooperative control framework for active steering and active suspension: Multi-agent approach. IEEE Trans. Transp. Electrif. 2021, 8, 1414–1429. [Google Scholar] [CrossRef]
- Shen, Y.; Jia, M.; Yang, X.; Liu, Y.; Chen, L. Vibration suppression using a mechatronic PDD-ISD-combined vehicle suspension system. Int. J. Mech. Sci. 2023, 250, 108277. [Google Scholar] [CrossRef]
- Škrjanc, I. A decomposed-model predictive functional control approach to air-vehicle pitch-angle control. J. Intell. Robot. Syst. Theory Appl. 2007, 48, 115–127. [Google Scholar] [CrossRef]
- Margolis, D.L. Semi-active heave and pitch control for ground vehicles. Veh. Syst. Dyn. 1982, 11, 31–42. [Google Scholar] [CrossRef]
- Cao, J.T.; Liu, H.H.; Li, P.; Brown, D.J.; Dimirovski, G. A study of electric vehicle suspension control system based on an improved half-vehicle model. Int. J. Autom. Comput. 2007, 4, 236–242. [Google Scholar] [CrossRef]
- Poussot, V.C.; Sename, O.; Dugard, L.; Gáspár, P.; Szabó, Z.; Bokor, J. A new semi-active suspension control strategy through LPV technique. Control. Eng. Pract. 2008, 16, 1519–1534. [Google Scholar] [CrossRef]
- De, F.P.; Tanelli, M.; Corno, M.; Savaresi, S.M.; Santucci, M.D. Electronic stability control for powered two-wheelers. IEEE Trans. Control. Syst. Technol. 2014, 22, 265–272. [Google Scholar]
- Liu, Y.; Shi, D.; Du, F.; Yang, X.; Zhu, K. Topological optimization of vehicle ISD suspension under steering braking condition. World Electr. Veh. J. 2023, 14, 297. [Google Scholar] [CrossRef]
- Zhang, Y.; Zhang, J. Numerical simulation of stochastic road process using white noise filtration. Mech. Syst. Signal Process. 2005, 20, 363–372. [Google Scholar]














| Parameter | Value | 
|---|---|
| Vehicle mass mt/(kg) | 1659 | 
| Sprung mass ms/(kg) | 1410 | 
| Front wheel unsprung mass mufl, mufr/(kg) | 26.5 | 
| Rear wheel unsprung mass murl, murr/(kg) | 24.4 | 
| Front wheel base wf/(m) | 1.574 | 
| Rear wheel base wr/(m) | 1.593 | 
| Distance from front axle to center of mass lf/(m) | 1.278 | 
| Distance from rear axis to center of mass lr/(m) | 1.430 | 
| Height of center of mass h1/(m) | 0.50 | 
| Roll height h2/(m) | 0.40 | 
| Distance from center of roll to center of mass h3/(m) | 0.25 | 
| Body roll moment of inertia Ix/(kg·m2) | 925 | 
| Body pitch moment of inertia Iy/(kg·m2) | 2577 | 
| Body yaw moment of inertia Iz/(kg·m2) | 2603 | 
| Wheel inertia Iw/(kg·m2) | 0.99 | 
| Wheel radius Rw/(m) | 0.345 | 
| Front suspension roll stiffness k1/(N·m·rad−1) | 47,298 | 
| Rear suspension roll stiffness k2/(N·m·rad−1) | 37,311 | 
| Tire equivalent spring stiffness kt/(N/m) | 192,000 | 
| Front suspension spring stiffness of the original model Kf/(N·m−1) | 25,000 | 
| Rear suspension spring stiffness of the original model Kr/(N·m−1) | 22,000 | 
| Front suspension spring stiffness kf/(N·m−1) | 9325 | 
| Rear suspension spring stiffness kr/(N·m−1) | 7897 | 
| Front suspension damping coefficient cf/(N·s·m−1) | 1579 | 
| Rear suspension damping coefficient cr/(N·s·m−1) | 1407 | 
| Front suspension inertial coefficient bf/(kg) | 330 | 
| Rear suspension inertial coefficient br/(kg) | 265 | 
| Performance Indicators | RMS Value | 
|---|---|
| Body acceleration/(m·s−2) | 1.3644 | 
| Roll angle acceleration/(rad·s−2) | 0.8326 | 
| Pitch angle acceleration/(rad·s−2) | 0.7094 | 
| Left front wheel suspension working space/(m) | 0.0225 | 
| Left front dynamic tire load/(kN) | 1.1633 | 
| Right front wheel suspension working space/(m) | 0.0151 | 
| Right front wheel dynamic tire load/(kN) | 0.8796 | 
| Left rear wheel suspension working space/(m) | 0.0180 | 
| Left rear wheel dynamic tire load/(kN) | 1.0851 | 
| Right rear wheel suspension working space/(m) | 0.0157 | 
| Right rear wheel dynamic tire load/(kN) | 0.8787 | 
| Optimization Parameter | Value | 
|---|---|
| Front suspension spring stiffness/(N·m−1) | 9325 | 
| Rear suspension spring stiffness/(N·m−1) | 7897 | 
| Front suspension damping coefficient/(N·s·m−1) | 1579 | 
| Rear suspension damping coefficient/(N·s·m−1) | 1407 | 
| Front suspension inertial coefficient/(kg) | 330 | 
| Rear suspension inertial coefficient/(kg) | 265 | 
| The RMS Values | Passive Suspension | Inertial Suspension | Performance Improvement | 
|---|---|---|---|
| Body acceleration/(m·s−2) | 1.3644 | 1.0406 | 23.73% | 
| Roll angle acceleration/(rad·s−2) | 0.8326 | 0.7054 | 15.28% | 
| Pitch angle acceleration/(rad·s−2) | 0.7094 | 0.6495 | 8.44% | 
| Left front wheel suspension working space/(m) | 0.0225 | 0.0191 | 15.27% | 
| Left front dynamic tire load/(kN) | 1.1633 | 1.0999 | 5.45% | 
| Right front wheel suspension working space/(m) | 0.0151 | 0.0116 | 23.21% | 
| Right front dynamic tire load/(kN) | 0.8796 | 0.8272 | 5.95% | 
| Left rear wheel suspension working space/(m) | 0.0180 | 0.0158 | 12.05% | 
| Left rear dynamic tire load/(kN) | 1.0851 | 1.0469 | 3.52% | 
| Right rear wheel suspension working space/(m) | 0.0157 | 0.0112 | 28.57% | 
| Right rear dynamic tire load/(kN) | 0.8787 | 0.8166 | 7.06% | 
| Performance Indicators | Simulation | HiL | Error | 
|---|---|---|---|
| Body acceleration/(m·s−2) | 1.0406 | 1.1006 | 5.76% | 
| Roll angle acceleration/(rad·s−2) | 0.7054 | 0.7401 | 4.91% | 
| Pitch angle acceleration/(rad·s−2) | 0.6495 | 0.6697 | 3.12% | 
| Left front wheel suspension working space/(m) | 0.0191 | 0.0203 | 6.35% | 
| Left front dynamic tire load/(kN) | 1.0999 | 1.1550 | 5.01% | 
| Right front wheel suspension working space/(m) | 0.0116 | 0.0124 | 7.42% | 
| Right front wheel dynamic tire load/(kN) | 0.8272 | 0.8688 | 5.03% | 
| Left rear suspension working space/(m) | 0.0158 | 0.0164 | 4.05% | 
| Left rear dynamic tire load/(kN) | 1.0469 | 1.0910 | 4.21% | 
| Right rear wheel suspension working space/(m) | 0.0112 | 0.0117 | 4.13% | 
| Right rear dynamic tire load/(kN) | 0.8166 | 0.8496 | 4.03% | 
| Disclaimer/Publisher’s Note: The statements, opinions and data contained in all publications are solely those of the individual author(s) and contributor(s) and not of MDPI and/or the editor(s). MDPI and/or the editor(s) disclaim responsibility for any injury to people or property resulting from any ideas, methods, instructions or products referred to in the content. | 
© 2024 by the authors. Licensee MDPI, Basel, Switzerland. This article is an open access article distributed under the terms and conditions of the Creative Commons Attribution (CC BY) license (https://creativecommons.org/licenses/by/4.0/).
Share and Cite
Zhao, Y.; Du, F.; Wang, H.; Wang, X.; Yang, X.; Shi, D.; Bui, V.; Zhang, T. Research on Coordinated Control of Vehicle Inertial Suspension Using the Dynamic Surface Control Theory. Actuators 2024, 13, 389. https://doi.org/10.3390/act13100389
Zhao Y, Du F, Wang H, Wang X, Yang X, Shi D, Bui V, Zhang T. Research on Coordinated Control of Vehicle Inertial Suspension Using the Dynamic Surface Control Theory. Actuators. 2024; 13(10):389. https://doi.org/10.3390/act13100389
Chicago/Turabian StyleZhao, Yanhui, Fu Du, Hujiang Wang, Xuelin Wang, Xiaofeng Yang, Dongyin Shi, Vancuong Bui, and Tianyi Zhang. 2024. "Research on Coordinated Control of Vehicle Inertial Suspension Using the Dynamic Surface Control Theory" Actuators 13, no. 10: 389. https://doi.org/10.3390/act13100389
APA StyleZhao, Y., Du, F., Wang, H., Wang, X., Yang, X., Shi, D., Bui, V., & Zhang, T. (2024). Research on Coordinated Control of Vehicle Inertial Suspension Using the Dynamic Surface Control Theory. Actuators, 13(10), 389. https://doi.org/10.3390/act13100389
 
        



 
       