Experimental Study on the Influence of Working Parameters of Centrifugal Fan on Airflow Field in Cleaning Room
Abstract
:1. Introduction
2. Cleaning Test Bed Structure and Working Principle
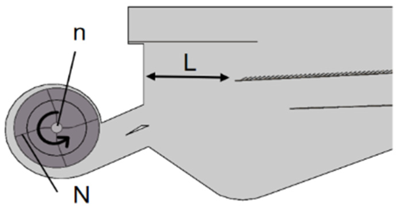
2.1. Structural Parameters of Cleaning Test Bed
2.2. Working Principle of the Test Bench
3. Test Method and Determination of Suspension Velocity of Ejection
3.1. Selection of Experimental Factors
3.2. Determination of Suspension Velocity of Ejection
4. Numerical Simulation of Airflow Field of Cleaning Device
4.1. Simulation Model Establishment and Grid Division of Cleaning Device
4.2. Air Field Model Fluent Simulation Parameter Settings
4.3. Establishment of Wind Speed Observation Point on Screen Surface of Cleaning Screen
4.4. Numerical Simulation Analysis
4.4.1. Influence of Air Supply Distance on Airflow Field of Cleaning Chamber
4.4.2. Influence of Fan Speed on Airflow Field in Cleaning Chamber
4.4.3. Influence of the Number of Fan Blades on the Airflow Field of Cleaning Chamber
5. Orthogonal Optimization of Airflow Field of Cleaning Device
5.1. Experimental Design
- —Shaker back deviation, ;
- —Maximum air velocity behind the screen surface, ;
- —Minimum air velocity behind screen surface, ;
- —Average airflow behind the screen surface, .
5.2. Analysis of Test Results
5.3. Parameter Optimization and Test Verification
6. Conclusions
- (1)
- A prototype of the combined air and screen cleaning device was developed. Fluent simulation software was used to conduct a single-factor test on the influence of the air supply distance of the centrifugal fan, the fan speed, and the number of blades on the airflow velocity of the screen surface. Furthermore, the change law of the airflow velocity in front of the screen, in the middle, and behind the screen surface, as well as the airflow deviation degree at the back of the screen surface with relevant parameters, were studied and analyzed. It is concluded that the optimal horizontal range of operation parameters of the cleaning centrifugal fan is a supply air distance of 460–700 mm, a fan speed of 900–1000 r/min, and a number of blades of 6–10.
- (2)
- The response surface regression test was carried out in combination with Design-Expert software, and the regression model of air velocity in front of, in the middle of, and behind the screen, as well as the deviation degree of airflow at the back of the screen surface concerning three working parameters of the cleaning fan, were obtained. The test showed: the air supply distance is a significant factor affecting the airflow velocity in front of the screen; the fan speed is a significant factor affecting the airflow velocity in the middle of the screen surface; and the number of blades is a significant factor affecting the airflow at the back of the screen surface and the deviation degree of the airflow at the back of the screen surface.
- (3)
- The multi-objective optimization method was used to optimize the average airflow velocity in the front, middle, and back of the screen and the airflow deviation degree at the back of the screen surface. The optimal working parameter combination obtained consisted of an air supply distance of 580 mm and a fan speed of 1000 r/min, with the number of blades being 10. The bench test was carried out under these conditions. At this time, the average airflow velocity at the front of the screen was 10.8 m/s, the average airflow velocity at the middle of the screen was 11.8 m/s, the average airflow velocity at the back of the screen was 11.2 m/s, and the airflow deviation at the back of the screen was 13.5%, and the relative errors with the optimization results were 1.9%, 0, 2.8% and 3.0%, respectively. A combined test of the cleaning fan and cleaning screen body was carried out under the condition of a feeding amount of 8 kg/s. The results showed that the loss rate was 1.15% and the impurity rate was 1.24%, which met the technical requirements of cleaning operation and could provide theoretical guidance for the adjustment of the fan structure and operation parameters of the cleaning system of a grain harvester.
Author Contributions
Funding
Conflicts of Interest
References
- Du, H.; Wang, Y.; Zhang, H.; Sun, H.; Zhang, G. Current situation and development trend of centrifugal fans in Combine cleaning equipment. Chin. J. Agric. Mech. 2019, 40, 73–77. [Google Scholar]
- Li, H.-x.; Li, Y.-m.; Ma, Z. Research status and development trend of cleaning fans in combine harvesters. Agric. Mech. Res. 2020, 42, 1–5. [Google Scholar]
- Xu, L.-Z.; Li, Y.; Li, Y.-m.; Chai, X.-Y.; Qiu, X. Research Progress on cleaning technology and device of grain combine harvester. Trans. Chin. Soc. Agric. Mach. 2019, 50, 1–16. [Google Scholar]
- Liang, Z.W.; Li, D.P.; Li, J.; Tian, K.P. Effects of fan volute structure on airflow characteristics in rice combine harvesters. Span. J. Agric. Res. 2020, 18, 4. [Google Scholar] [CrossRef]
- Zhao, L.; Chen, L.Y.; Yuan, F.; Wang, L. Simulation Study of Rice Cleaning Based on DEM-CFD Coupling Method. Processes 2022, 10, 2. [Google Scholar] [CrossRef]
- Wang, J.; Li, J.; Liang, Z.; Hu, X.; Xiong, G. Experimental study on the influence of volute and blade shape on the performance of double-suction multi-wing centrifugal fan. Fan Technol. 2017, 59, 49–53+19. [Google Scholar]
- Jin, C.-Q.; Li, Q.-L.; Ni, Y.-L.; Wang, T.-E.; Yin, X. Experiment of Double-outlet multi-duct cleaning operation in wheat combine harvester. Trans. Chin. Soc. Agric. Eng. 2020, 36, 26–34. [Google Scholar]
- Wang, H.; Li, Y.-m.; Xu, L.-Z.; Huang, M.-s.; Ma, Z. Analysis and experiment of air flow field in the cleaning unit of a recycled rice combine harvester. Trans. Chin. Soc. Agric. Eng. 2020, 36, 84–92. [Google Scholar]
- Leng, J.; Li, X.; Du, Y.; He, S.; Ding, X.; Niu, X. Analysis and Optimization of Internal Flow Field in the cleaning unit of a Single longitudinal axial flow grain combine. Chin. J. Agric. Eng. 2020, 36, 39–48. [Google Scholar]
- Jiang, C.; Li, E.; Zhu, X. Analysis of Vortex structure and instability flow Characteristics of centrifugal fans. J. Drain. Irrig. Mach. Eng. 2021, 39, 1125–1131. [Google Scholar]
- Li, X.; Du, Y.; Niu, X.; Chi, R.; Mao, E. Structure optimization design and experiment of corn cleaning device. Chin. J. Agric. Mach. 2020, 51, 233–242. [Google Scholar]
- Wang, L.; Song, L.; Feng, X.; Queen, S.; Li, Y. Research status and Development analysis of screening devices in grain combine harvesters. Trans. Chin. Soc. Agric. Mach. 2021, 52, 1–17. [Google Scholar]
- Geng, D.; Mou, X.; Zhang, G.; Wang, Z.; Zhu, J.; Xu, H. Mechanism Analysis and Optimization Experiment of Wheat Combine cleaning. J. Jilin Univ. 2022, 52, 219–230. [Google Scholar]
- Cheng, Q.; Hu, Z.; Zhang, X.; Peng, J. Design of agricultural fan performance test system based on LabVIEW. Agric. Mech. Res. 2008, 6, 119–120+189. [Google Scholar]
- Zhou, H. Design and Research of Fan Performance Test System; Chinese Academy of Agricultural Mechanization Sciences: Beijing, China, 2009. [Google Scholar]
- Du, Y.; Zhang, L.; Mao, E.; Li, X.; Wang, H. Design and experiment of grain loss monitoring sensor in combine harvester based on EMD. Chin. J. Agric. Mach. 2022, 53, 158–165. [Google Scholar]
- Fan, W. Development of Self-Propelled Corn Combine Harvester; Shandong University: Shandong, China, 2011. [Google Scholar]
- Cheng, C.; Fu, J.; Chen, Z.; Hao, F.; Cui, S.; Ren, L. Parameter optimization experiment of Corn grain harvester cleaning device. Trans. Chin. Soc. Agric. Mach. 2019, 50, 151–158. [Google Scholar]
- Ma, Z.; Li, Y.-m.; Xu, L.-Z. Determination and analysis of floating velocity, friction and infiltration characteristics of rapeseed extractiles. Chin. J. Agric. Eng. 2011, 29, 13–17. [Google Scholar]
- Wang, W.; Wang, Y.; Tian, Z.; Wang, P. Design and experimental study of Material suspension velocity test bench. Chin. J. Agric. Mech. 2016, 37, 44–46+78. [Google Scholar]
- Wan, X.Y.; Yuan, J.C.; Yang, J.; Liao, Y.T.; Liao, Q.X. Effects of working parameters on the performance of cyclone separator for rapeseed combine harvester based on CFD. Int. J. Agric. Biol. Eng. 2023, 16, 128–135. [Google Scholar] [CrossRef]
- Ding, B.C.; Liang, Z.W.; Qi, Y.Q.; Ye, Z.K.; Zhou, J.H. Improving Cleaning Performance of Rice Combine Harvesters by DEM-CFD Coupling Technology. Agriculture 2022, 12, 9. [Google Scholar] [CrossRef]
- Liang, Y.Q.; Tang, Z.; Zhang, H.; Li, Y.M.; Ding, Z.; Su, Z. Cross-flow fan on multi-dimensional airflow field of air screen cleaning system for rice grain. Int. J. Agric. Biol. Eng. 2022, 15, 223–235. [Google Scholar] [CrossRef]
- Liang, Z.W.; Xu, L.Z.; De Baerdemaeker, J.; Li, Y.M.; Saeys, W. Optimisation of a multi-duct cleaning device for rice combine harvesters utilising CFD and experiments. Biosyst. Eng. 2020, 190, 25–40. [Google Scholar] [CrossRef]
- Wu, J.; Tang, Q.; Mu, S.L.; Yang, X.X.; Jiang, L.; Hu, Z.C. Design and Test of Self-Leveling System for Cleaning Screen of GrainCombine Harvester. Agriculture 2023, 13, 2. [Google Scholar] [CrossRef]
- Tong, S.; Shen, Q.; Tang, N.; Jia, Y.; Cong, F.; Gu, W. Numerical simulation and optimization experiment of mixed flow field for longitudinal axial flow cleaning device. Trans. Chin. Soc. Agric. Mach. 2016, 47, 135–142. [Google Scholar]
Parameter | Value |
---|---|
Outer diameter of impeller/mm | 720 |
Casing width/mm | 1000 |
Inlet diameter/mm | 475 |
Outlet height/mm | 252 |
Spiral volute outer extension dimension/mm | 108 |
Distance between impeller end face and shell/mm | 20 |
Excrete Composition | Moisture Content | Velocity of Suspension/(m·s−1) |
---|---|---|
Corn kernel | 25.1% | 12.2–15.9 |
Corn stalk | 57.5% | 4.5–9.1 |
Corn-crushed mandrel | 66.2% | 6.3–15.5 |
Light miscellaneous | 28.3% | 1.1–3.1 |
Level | Factor | ||
---|---|---|---|
Distance of Air Supply a/mm | Speed of Fan b/r·min−1 | Number of Blades c/Slice | |
−1 | 460 | 900 | 6 |
0 | 580 | 100 | 8 |
1 | 700 | 1100 | 10 |
Test Number | Distance of Air Supply a/mm | Speed of Fan b/r·min−1 | Number of Blades c/Slice | Zone A Velocity Y1/m·s−1 | Zone B Velocity Y2/m·s−1 | Zone C Velocity Y3/m·s−1 | Zone C Deviation Degree Y4/% |
---|---|---|---|---|---|---|---|
1 | 700 | 1000 | 10 | 11.4 | 12.1 | 11.4 | 19.63 |
2 | 700 | 1100 | 8 | 11.8 | 12.5 | 10.2 | 21.78 |
3 | 460 | 1000 | 10 | 9.6 | 11.6 | 9.4 | 15.96 |
4 | 460 | 1000 | 6 | 8.9 | 10.3 | 8.3 | 23.56 |
5 | 580 | 900 | 10 | 9.5 | 11.5 | 10.6 | 13.32 |
6 | 460 | 1100 | 8 | 9.4 | 11.6 | 8.7 | 15.63 |
7 | 700 | 900 | 8 | 9.9 | 10.7 | 9.6 | 26.47 |
8 | 580 | 1100 | 10 | 11.4 | 13.5 | 12.2 | 11.63 |
9 | 700 | 1000 | 6 | 10 | 10.6 | 9.1 | 32.46 |
10 | 580 | 1000 | 8 | 10.6 | 11.1 | 9.9 | 15.84 |
11 | 460 | 900 | 8 | 8.6 | 10.5 | 8.3 | 20.88 |
12 | 580 | 1000 | 8 | 10.3 | 11.5 | 10.3 | 15.96 |
13 | 580 | 900 | 6 | 8.7 | 10.9 | 9.5 | 23.56 |
14 | 580 | 1000 | 8 | 10.3 | 11.3 | 10.1 | 16.23 |
15 | 580 | 1000 | 8 | 10.5 | 11.4 | 10.2 | 16.68 |
16 | 580 | 1100 | 6 | 10 | 11.9 | 10.1 | 21.63 |
17 | 580 | 1000 | 8 | 10.7 | 11.6 | 10.4 | 17.58 |
Index | Source | Sum of Squares | Degree of Freedom | Mean Square | F | p |
---|---|---|---|---|---|---|
Airflow velocity in front of screen | Model | 13.69 | 9 | 1.52 | 44.27 | <0.0001 ** |
A | 5.45 | 1 | 5.45 | 158.48 | <0.0001 ** | |
B | 4.35 | 1 | 4.35 | 26.65 | <0.0001 ** | |
C | 2.31 | 1 | 2.31 | 67.27 | <0.0001 ** | |
Ab | 0.3025 | 1 | 0.3025 | 8.80 | 0.0209 * | |
a2 | 0.2425 | 1 | 0.2425 | 7.06 | 0.0326 * | |
b2 | 0.4178 | 1 | 0.4178 | 12.16 | 0.0102 * | |
c2 | 0.2957 | 1 | 0.2957 | 8.61 | 0.0219 * | |
Residual error | 0.2405 | 7 | 0.0344 | |||
Missing fit | 0.1125 | 3 | 0.0375 | 1.17 | 0.4247 | |
Pure error | 0.1280 | 4 | 0.0320 | |||
Total error | 13.93 | 16 | ||||
Air velocity in the middle of the screen | Model | 9.76 | 9 | 1.08 | 36.93 | <0.0001 ** |
A | 0.4512 | 1 | 0.4512 | 15.37 | 0.0057 ** | |
B | 4.35 | 1 | 4.35 | 148.22 | <0.0001 ** | |
C | 3.12 | 1 | 3.12 | 106.45 | <0.0001 ** | |
Bc | 0.2500 | 1 | 0.2500 | 8.52 | 0.0224 * | |
a2 | 0.7695 | 1 | 0.7695 | 26.21 | 0.0014 ** | |
b2 | 0.5842 | 1 | 0.5842 | 19.90 | 0.0029 ** | |
c2 | 0.1642 | 1 | 0.1642 | 5.59 | 0.0500 * | |
Residual error | 0.2055 | 7 | 0.0294 | |||
Missing fit | 0.0575 | 3 | 0.0192 | 0.5180 | 0.6921 | |
Pure error | 0.1480 | 4 | 0.0370 | |||
Total error | 9.96 | 16 | ||||
Airflow velocity behind screen surface | Model | 16.07 | 9 | 1.79 | 37.53 | <0.0001 ** |
A | 3.92 | 1 | 3.92 | 82.40 | <0.0001 ** | |
B | 1.28 | 1 | 1.28 | 26.91 | 0.0013 ** | |
C | 5.44 | 1 | 5.44 | 114.46 | <0.0001 ** | |
Ac | 0.3600 | 1 | 0.3600 | 7.57 | 0.0285 * | |
a2 | 4.34 | 1 | 4.34 | 91.18 | <0.0001 ** | |
c2 | 0.6241 | 1 | 0.6241 | 13.12 | 0.0085 ** | |
Residual error | 0.3330 | 7 | 0.0476 | |||
Missing fit | 0.1850 | 3 | 0.0617 | 1.67 | 0.3099 | |
Pure error | 0.1480 | 4 | 0.0370 | |||
Total error | 16.40 | 16 | ||||
Airflow deviation degree behind screen surface | Model | 429.56 | 9 | 429.56 | 47.23 | <0.0001 ** |
A | 73.87 | 1 | 73.87 | 73.10 | <0.0001 ** | |
B | 22.98 | 1 | 22.98 | 22.75 | 0.0020 ** | |
C | 206.76 | 1 | 206.76 | 204.61 | <0.0001 ** | |
Ac | 6.84 | 1 | 6.84 | 6.77 | 0.0354 * | |
a2 | 107.37 | 1 | 107.37 | 106.25 | <0.0001 ** | |
c2 | 8.19 | 1 | 8.19 | 8.11 | 0.0248 * | |
Residual error | 7.07 | 7 | 1.01 | |||
Missing fit | 5.08 | 3 | 1.69 | 3.41 | 0.1337 | |
Pure error | 1.99 | 4 | 0.4975 | |||
Total error | 436.63 | 16 |
Test Number | Average Velocity of Airflow in Front of the Sieve | Average Velocity of Airflow in the Middle of the Sieve Surface | Average Velocity of Airflow at the Rear of the Sieve Surface | Airflow Deviation at the Rear of the Sieve Surface | Clearance Loss Rate | Miscellaneous Rate |
---|---|---|---|---|---|---|
1 | 10.7 | 11.8 | 11.2 | 13.1 | 1.17 | 1.23 |
2 | 10.9 | 11.9 | 11.3 | 13.9 | 1.12 | 1.26 |
3 | 10.8 | 11.7 | 11.1 | 13.5 | 1.16 | 1.24 |
Disclaimer/Publisher’s Note: The statements, opinions and data contained in all publications are solely those of the individual author(s) and contributor(s) and not of MDPI and/or the editor(s). MDPI and/or the editor(s) disclaim responsibility for any injury to people or property resulting from any ideas, methods, instructions or products referred to in the content. |
© 2023 by the authors. Licensee MDPI, Basel, Switzerland. This article is an open access article distributed under the terms and conditions of the Creative Commons Attribution (CC BY) license (https://creativecommons.org/licenses/by/4.0/).
Share and Cite
Zhang, C.; Geng, D.; Xu, H.; Li, X.; Ming, J.; Li, D.; Wang, Q. Experimental Study on the Influence of Working Parameters of Centrifugal Fan on Airflow Field in Cleaning Room. Agriculture 2023, 13, 1368. https://doi.org/10.3390/agriculture13071368
Zhang C, Geng D, Xu H, Li X, Ming J, Li D, Wang Q. Experimental Study on the Influence of Working Parameters of Centrifugal Fan on Airflow Field in Cleaning Room. Agriculture. 2023; 13(7):1368. https://doi.org/10.3390/agriculture13071368
Chicago/Turabian StyleZhang, Ce, Duanyang Geng, Haigang Xu, Xinao Li, Jiarui Ming, Duanxin Li, and Qihuan Wang. 2023. "Experimental Study on the Influence of Working Parameters of Centrifugal Fan on Airflow Field in Cleaning Room" Agriculture 13, no. 7: 1368. https://doi.org/10.3390/agriculture13071368
APA StyleZhang, C., Geng, D., Xu, H., Li, X., Ming, J., Li, D., & Wang, Q. (2023). Experimental Study on the Influence of Working Parameters of Centrifugal Fan on Airflow Field in Cleaning Room. Agriculture, 13(7), 1368. https://doi.org/10.3390/agriculture13071368