Abstract
In order to provide basic data and a theoretical basis for waste mulch film crushing and separation equipment, the mechanical and suspension properties of waste mulch film and cotton stalk were determined in this study. In the mechanical properties test, the tensile properties of waste mulch film and the shear properties of different parts of cotton stalk were investigated. In the suspension properties test, the suspension properties of different qualities of waste mulch film and different parts of cotton stalk were investigated. The results showed that the average maximum tensile forces and fracture displacements of the waste mulch film were 1.70 N (horizontal), 0.80 N (vertical) and 254.75 mm (horizontal), 145.22 mm (vertical). The shear properties of the cotton stem after wrapping the mulch film were greatly improved; the maximum shearing force was 186.89% higher than that of the unwrapped specimens. When the total suspension velocity was from 3.09 to 4.07 m/s, separation of mulch film and cotton stalk could be achieved by wind.
1. Introduction
Mulch film has an essential impact on modern agriculture and makes an important contribution to solving food security problems in cold and arid regions [1]. Mulching technology can effectively control soil temperature, store water and improve water utilization by crops [2]. In addition, mulching can effectively reduce pests, inhibit weed growth and increase nutrient biomass [3,4]. However, if the mulch film is not recycled after use and remains in the soil, it causes harm to soil, crops and ecosystems in the following ways: waste mulch film residues lead to soil pollution and affect soil nutrients and pH value, which has a negative impact on soil fertility; waste mulch film impedes the drainage of farmland, affects crops’ absorption of water and limits the growth of crops; mulch film residues form physical isolation in the soil and impede the growth of root systems; waste mulch film residues disrupt the natural balance of soil microorganisms; and waste mulch film residues are to crops, resulting in crop contamination, which has a negative impact on human health [5,6,7]. More importantly, the mulch remaining in the soil is difficult to degrade, affecting the survival of organisms in the soil and having a negative impact on ecosystem stability [8].
As a region with a large demand for mulch film, in Xinjiang, China, the use of mulch film has reached 2.39 × 105 t, and the coverage area has reached 3.55 × 105 hm2 [9]. The wide application of mulch film has greatly improved Xinjiang’s agricultural production. However, due to the ignorance of farmers about the recycling of waste mulch film, the residual problem of waste mulch film in Xinjiang is becoming increasingly serious. The residual amount of mulch film in Xinjiang is four to five times higher compared to the Chinese average and poses a serious challenge for waste mulch film recycling [10]. From a field investigation, it was found that after the cotton harvest in Xinjiang, part of the waste mulch film was buried in the soil at a depth of 0~200 mm, the other part accumulated near the cotton field and pieces of the waste mulch film floated down to nearby fields and villages with the wind, causing extremely serious soil and air pollution.
The primary means to solve the problem of mulch film residue is to recycle and utilize the waste mulch film by re-granulating. This method is the most convenient and economical way to reuse waste mulch film, and it is the most applicable recycling technology to solving problems stemming from the large amount of mulch film residue in Xinjiang [11]. However, there are huge challenges in the recycling and granulation process of waste mulch film. The difficulties lie mainly in two aspects: one is that waste mulch film and cotton stalk are tightly wrapped and difficult to separate; the other is that waste mulch film adheres to a large amount of oil, garbage and sediment, and these impurities can affect the quality of recycled plastic [12]. Therefore, it is necessary to crush and separate waste mulch film, which is the main means to solve the difficulties of recycling and granulation. Crushing can effectively solve the problem of waste mulch film and cotton stalk wrapping, and separation can effectively reduce the content of impurities attached to the mulch film.
The design optimization of waste mulch film crushing and separation equipment needs to fully consider the physical properties of waste mulch film and cotton stalk [13]. In a study of the mechanical properties of mulch film and cotton stalk, Ke-Jie Wang, Carrasco and Hui Guo analyzed the relationship between different stretching speeds and mulching times on the mechanical properties of mulch film from different perspectives [14,15,16,17,18]. Aydın studied the mechanical properties of the top of cotton stalks, and the experimental results showed that the maximum shearing strength of the top of cotton stalks was 4.94 MPa [19]. In a study of the suspension properties of waste mulch film and cotton stalk, Chunhua Li et al. investigated the aerodynamics of mulch film in a separation chamber, considering the film as a mass in the separation chamber, and optimized the motion trajectory of the film. Finally, the optimal operating parameters of the sorting equipment were determined by simulation, with an initial plastic velocity of 0.1220 m/s and an angle of 9.4070° and an airflow velocity of 1.7847 m/s and an angle of 6.2197° [20]. Wensong Guo studied the relationship between the windward area of waste mulch film and suspension speed. After ANOVA, it was found that the p-value of the mulch film’s surface area was 0.6005, indicating that the mulch film’s surface area did not have a significant effect on the suspension velocity [21]. Kai-Kai Li et al. used the CFD-DPM simulation analysis method to simulate the motion analysis of the separation process of waste mulch film and cotton stalk; they found that wind could achieve the purpose of mulch film–cotton stalk separation in their simulation test [22,23].
Based on the results of previous studies, this study provided a focused analysis of the basic physical properties of waste mulch film and cotton stalk. Firstly, when a crushing machine works, waste mulch and cotton stalk are mainly under tensile and shearing forces, so the tensile properties of the waste mulch film and the shear properties of the cotton stalk need to be considered. In a preliminary experiment, it was found that the wrapping of used mulch and cotton stalks was excessive, so we carried out special treatment by wrapping mulch on different parts of stalks, and the number of wrapping layers was chosen to be zero, one or two layers, and the influence relationship between the number of wrapping layers and the shear properties of the cotton stalk was studied. Secondly, waste film is soft and thin, and cotton stalk is hard and coarse. Although the two materials are different in characteristic structure, a detailed theoretical basis is still required to determine whether crushed mulch film and cotton stalk can be separated by wind. Therefore, in this study, the suspension velocity of waste mulch film and cotton stalk was determined; the first and second suspension velocities were calculated from the suspension height range of the two materials and then, by comparing the total suspension velocity range of the waste mulch film and cotton stalk, it was determined whether the separation of the waste mulch film and cotton stalk could be achieved by wind. This study provides design and optimization data for crushing and separation equipment for use on waste mulch film and provides a theoretical basis for the preliminary treatment process of waste mulch film, which makes a fundamental contribution to the resource utilization of mulch to achieve greater value.
2. Materials and Methods
2.1. Materials
The mechanical properties of the waste mulch film and cotton stalk were tested in June 2023, and the materials were taken from cotton fields around Kulle City, Xinjiang. The material of the waste mulch film was low-density polyethylene (LDPE) whose natural aging time is about 180 days and whose thickness was 0.01 mm. The cotton stalk used was the residue of long-staple cotton after harvest. As shown in Figure 1, the waste mulch film and cotton stalk were separated before the test; a total of 200 g of waste mulch was sampled, and 100 cotton stalk plants were sampled. The waste mulch film samples were chosen to be as flat as possible without obvious holes, and the cotton stalk was taken as those complete samples without obvious damage.
Figure 1.
The waste mulch film and cotton stalk.
2.2. Equipment
Equipment was used for the test as shown in Figure 2. A Sansi UTM6000 electronic universal testing machine was used to test the waste mulch film tensile force and cotton stalk shearing force. The maximum running speed of the equipment is 500 mm/min, the maximum test force is 10 kN and the height space is 850 mm. An electronic scale with a range of 1000 g was used to test the quantity of each specimen. A punching machine and a 6 mm × 115 mm wooden dumbbell-type cutter were used for cutting the tensile specimens of the waste mulch film. The punching machine made the cutter force uniform; thus, and the edge of the specimen after cutting was smooth and free of chipping. An intelligent anemometer was used in conjunction with the suspension testing machine to detect the initial wind velocity in a stable flow tube.
Figure 2.
Test equipment: (a) Sansi UTM6000 electronic universal testing machine produced by Sansi Zongheng Technology Co in Shenzhen, China; (b) JY5002 Electronic Balance produced by Chongfeng Scientific Instrument Co in Shanghai, China; (c) Hong Yun JM-16 punching machine manufactured by Chentian Hardware in Zhejiang, China; (d) 6 mm × 115 mm wooden dumbbell-type cutter produced by Five Star Cutting Tools Factory in Anhui, China; (e) Intelligent anemometer with L-type Bidet manufactured by Lonto Instruments in Shanghai, China; (f) Suspension testing machine produced by the Ministry of Agriculture and Rural Affairs in Nanjing, China.
2.3. Methods
2.3.1. Mechanical Properties Test
Following ISO 1184 [24], several complete specimens of non-porous waste mulch film were taken. The specimens were cut into dumbbell shapes (6 mm × 115 mm) by the cutter, and their orientations were divided into horizontal and vertical. The horizontal direction was the mechanical recovery direction of the mulch film, and the vertical direction was perpendicular to the horizontal direction, as shown in Figure 3 (only the sampling direction is illustrated). Five groups of specimens were oriented in each direction, and thick cardboard padding was required during the cutting process to ensure smooth specimen edges.
Figure 3.
Sampling direction: vertical (a) and horizontal (b).
After specimen preparation, the specimens were tightened by the tensile clamps of the testing machine, and then the tensile speed was set to 300 mm/min. After specimens had been fractured, the testing machine was stopped and the maximum tensile force and tensile displacement were recorded.
Following the standard GB/T26551-2011 [25] sampling method, the cotton stalk was sampled using the crossover method, and the stem, rhizome and root were separated from the cotton stalk. Then, we removed all damaged, moldy and insect-infested parts of the specimens. Fifty plants’ cotton stems, rhizomes and roots were sampled, and the average diameters were measured and calculated to be 7.5 mm, 12.2 mm and 4.0 mm for the cotton stem, rhizome and root, respectively. Thus, the diameter of the stem was selected as 7.5 mm ± 0.5 mm, the diameter of the rhizome was selected as 12.2 mm ± 0.5 mm and the diameter of the root was selected as 4.0 mm ± 0.5 mm. The length of all specimens was cut to 60 mm ± 5 mm, and 15 specimens were taken from each group. For each group of specimens, three types of treatment were carried out: wrapping film, 0 layer; wrapping film, 1 layer; and wrapping film, 2 layers, and the number of specimens subjected to each treatment was 5. The completed specimens were prepared as shown in Figure 4.
Figure 4.
The (a) cotton stems, (b) rhizomes and (c) roots.
Following ISO 3129 [26] requirements, the diameter of the shear plane of the specimen was to be accurate to 0.1 mm. The specimen was fixed by using the fixture on the shear test bench and the shear knife was aligned with the measured shear surface. The universal testing machine’s speed was set at 10 mm/min to shear the specimen, and then the testing machine was stopped when the specimen had been completely cut off; then, the maximum shearing force and each stage’s displacement were recorded. Finally, the shearing strength was calculated according to Formula (1):
where is the shearing strength, MPa; is the maximum shearing force; is the diameter of cotton stalks.
2.3.2. Suspension Properties Test
The test materials were taken from the products of the waste mulch crusher, and the crushed products mainly included waste mulch film fragments and crushed cotton stalks. In the pre-test of the waste mulch crusher, it was found that the quantity of the waste mulch film fragments was mainly distributed as [0.3 g, 2.2 g], and the length of crushed cotton stalks was [10 mm, 40 mm]. Meanwhile, the greater the mass of the mulch film was, the greater the windward area for a certain thickness. Therefore, it is reliable to categorize the mulch film by its mass. Three groups of specimens with different quantities were selected for the test, specifically 0.5 g ± 0.1 g, 1.25 g ± 0.1 g and 2.0 g ± 0.1 g. Three types of cotton stalk specimens after crushing were selected for testing: stem, rhizome and root; each specimen was 25 mm ± 5 mm in length, as shown in Figure 5 and Table 1.
Figure 5.
(a) The waste mulch film, (b) cotton stems, (c) rhizomes and (d) roots.
Table 1.
Sampling classification and quantity.
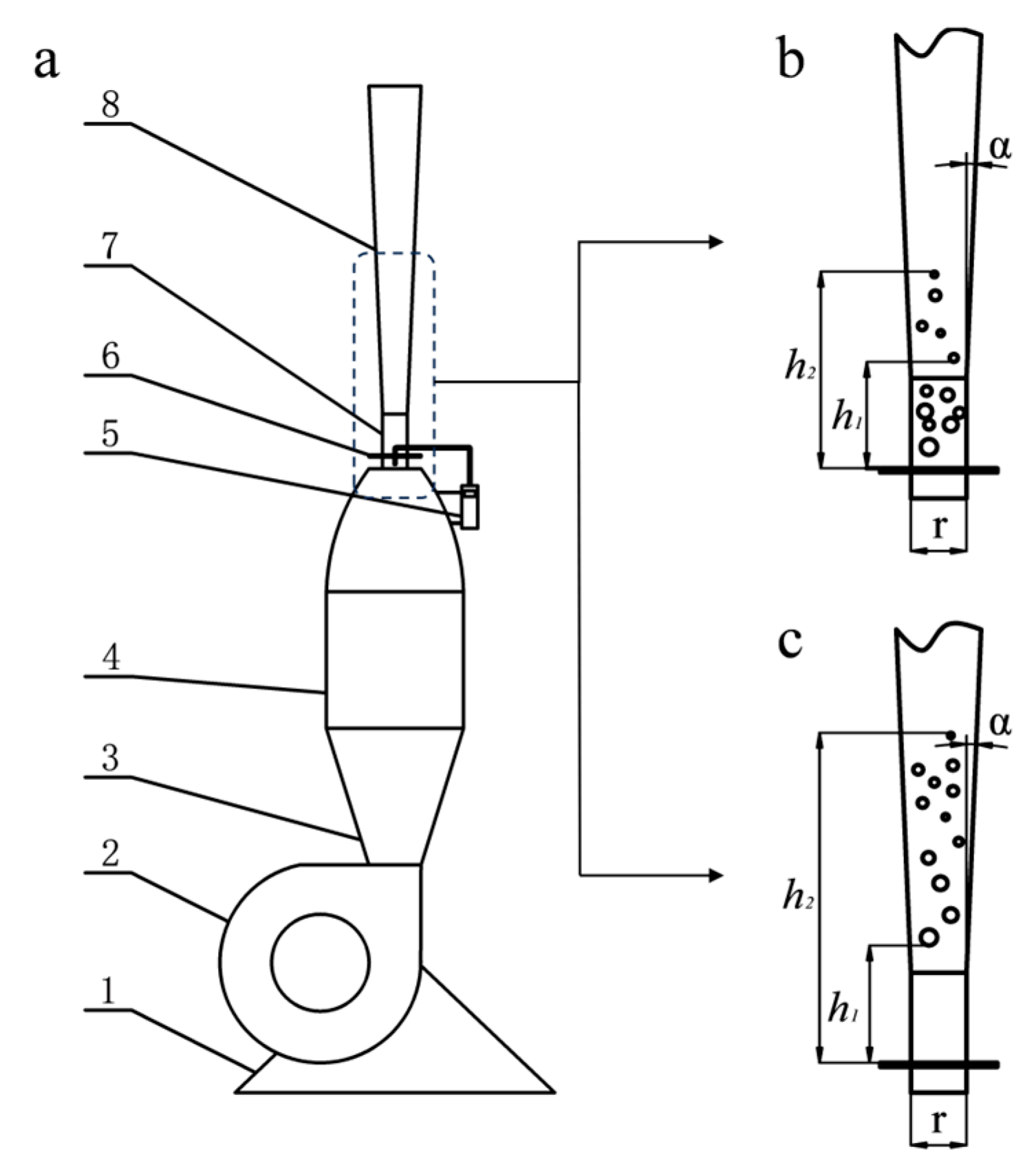
Before conducting the suspension properties test, an L-shaped Pitot tube was installed on the side of the suspension testing machine, with the long tube perpendicular to the stable flow tube and the short tube connected to the intelligent anemometer. The pressure, wind velocity and flow rate were observed during the test, and the specimen suspension height was controlled by adjusting the frequency of the inverter. As shown in Figure 6b, when one-third of the specimens had been suspended in the conical tube, the suspension height range [h1, h2] and the initial wind velocity were recorded. The height range was substituted into the flow rate Equation (1) derived from a previous study [27], and the first suspension wind velocity range could be calculated. Then, we continued to adjust the frequency of the inverter. As shown in Figure 6c, when the specimens had all been suspended in the conical tube, we repeated the above process to calculate the second suspension velocity range.
Figure 6.
(a) Suspension testing machine: 1. frame; 2. turbine; 3. square and round section; 4. stable section; 5. anemometer; 6. Pitot tube; 7. stable flow tube; 8. conical tube. Two material suspension states: (b) first suspension velocity and (c) second suspension velocity.
The formula is as follows:
where is the wind speed of the suspension point in the conical tube, m/s; is the initial wind speed in the steady flow tube, m/s; is the radius of the steady flow tube, mm; is the height of the suspension, mm; value is 1/2 the conical angle of the conical tube (°), .
3. Results
3.1. Mechanical Properties of the Waste Mulch Film and Cotton Stalk
3.1.1. Tensile Properties of the Waste Mulch Film
The vertical specimens of the waste mulch film produced stress concentrations and showed uneven plastic deformation during the tensile process. This phenomenon was not obvious in the horizontal specimens; it was specifically expressed in the tensile force–displacement curves as the difference in curve characteristics between the horizontal and vertical specimens in the yielding phase. As shown in Figure 7, the curves during the yielding phase (within the red square) of the horizontal specimens were relatively flat, while the vertical specimen curves more obviously fluctuate. In addition, the difference between the strain hardening phases of both directions was also obvious, and the curves showed a large difference in the maximum tensile force of specimens, indicating that there are directional differences in the tensile properties of the waste mulch film.
Figure 7.
(a) Horizontal and (b) vertical tensile force–displacement curves of the waste mulch film.
The distribution of the horizontal and vertical test data in terms of maximum tensile force and fracture displacement is shown in the box line plot of Figure 8. For the horizontal specimens of waste mulch film, the median of the maximum tensile force was 1.85 N, the upper and lower quartiles were 1.36 N and 1.96 N, respectively, and the median of the fracture displacement was 271.30 mm, the upper and lower quartiles were 209.63 mm and 289.40 mm, respectively, with the top and bottom lines indicating the maximum and minimum values of the data. For the vertical specimens, the median of the maximum tensile force was 0.707 N, the upper and lower quartiles were 0.655 N and 0.904 N, the median of the fracture displacement was 61.83 mm, and the upper and lower quartiles were 53.50 mm and 102.40 mm, respectively. The vertical specimens had fewer outliers compared to the horizontal specimens, showing the consistency and stability of the overall data distribution. Comparison of the values of horizontal and vertical specimens showed that the waste mulch film has better mechanical properties when oriented horizontally.
Figure 8.
Horizontal and vertical tensile force and fracture displacement box line diagram of the waste mulch film.
3.1.2. Shear Properties of the Cotton Stalk
The shearing force and displacement of cotton stem, rhizome and root samples are shown in Figure 9. “The double peaks” were found in the rising phase of the curve in Figure 9a, which indicated that the cotton stem was damaged by shearing twice during the shearing process. The maximum shearing force of cotton stems rose with an increase in the number of wrapping layers, and the maximum shearing force of stems was 113.60 N with no layers of wrapped mulch film. The maximum shear force was increased by 66.89% with one layer of wrapped mulch film compared to that with no layers and increased by 186.89% with two layers of wrapping mulch film compared to that with no layers, which indicated that the shear resistance of the specimens improved obviously after wrapping with mulch. In Figure 9b, “the double peaks” are not observed during the rising phase, indicating that the force on the cut plane of rhizomes was more uniform when loaded with shearing force. The maximum shearing force of cotton rhizomes rose with an increase in the number of wrapping layers, and the maximum shearing force of the specimen with no wrapping layers was 548.50 N. One and two layers of wrapped mulch film (compared to no layers) improved this value by 22.86% and 67.39%, respectively. From Figure 9c, it was found that there was no obvious fluctuation in the rising phase, and the number of wrapping layers had less influence on the maximum shearing force of cotton roots. The mean values of the maximum shearing force for zero, one and two layers of wrapped mulch film for the cotton root were 212.22 N, 217.57 N and 243.09 N. A comparison of the three plots showed that the maximum shearing force value of the rhizomes was the highest, which was due to the obvious lignification of the rhizome area during the growth of the cotton culm, making the rhizome harder.
Figure 9.
Shearing force–displacement curves of the (a) cotton stems, (b) rhizomes and (c) roots.
From Figure 10, it was found that the shearing strength of the cotton stems and rhizomes improved after wrapping: from 2.85 MPa to 6.88 MPa for the stems and from 5.89 MPa to 7.74 MPa for the rhizomes, while the improvement in the cotton roots’ shearing strength was smaller after wrapping: from 17.93 MPa to 19.05 MPa. Analysis of the error bars showed that the shearing strength data of the cotton roots were less consistent. The reasons were divided into two aspects; firstly, the cotton root growth process is affected by soil conditions, water supply, nutrient content and other factors and, secondly, cotton roots are usually slender and have complex structures, and the branches and lateral roots have certain structural differences during growth, which eventually lead to the variability of shearing strength.
Figure 10.
Shear strength of cotton stems, rhizomes and roots.
3.2. Suspension Properties of the Waste Mulch Film and Cotton Stalk
3.2.1. Suspension Properties of the Waste Mulch Film
From the data in Table 2, it can be observed that the quantity of waste mulch film had an effect on the suspension velocity, and the range of suspension velocity at each stage was positively correlated with the quantity of specimens. For the first suspension velocity range, there was an intersection in the range from 1.02 to 1.06 m/s between the 1.25 g and 2.00 g specimens; specimens with quantities 0.50 g and 1.25 g had no intersection, and there was no intersection between 0.50 g and 2.00 g specimens. For the second suspension velocity, there was a large intersection in the suspension velocity range for all three specimens, ranging from 2.42 to 2.80 m/s.
Table 2.
Suspension velocity of the waste mulch film.
3.2.2. Suspension Properties of the Cotton Stalk
From the data in Table 3, it can be observed that for the cotton stems, the first and second suspension velocities rose accordingly with increases in the diameter. When the diameter of the specimen is less than or equal to 7.5 mm, the total suspension velocity ranges from 4.30 to 9.10 m/s. When the diameter is more than 7.5 mm, the total suspension velocity ranges from 4.61 to 10.13 m/s. The suspension velocity of the specimen is influenced by gravity and the windward area. In specimens of the same part and of the same length, the diameter of the specimen determines the value of its gravity and windward area. Thus, there was a difference in the suspension velocities of specimens of the same part. Similarly, for the cotton rhizomes, the same trend was observed; the suspension velocity rose with increasing diameter. When the specimen diameter was less than or equal to 12.2 mm, the suspension velocity ranged from 6.26 to 12.26 m/s, and when the diameter was more than 12.2 mm, the total suspension velocity ranged from 7.10 to 13.18 m/s. For the cotton roots, the suspension velocity ranged from 4.07 to 8.03 m/s when the specimen diameter was less than or equal to 4.0 mm, and the total suspension velocity ranged from 4.20 to 8.22 m/s when the diameter was more than 4.0 mm.
Table 3.
Suspension velocity of the cotton stems, rhizomes, and roots.
3.2.3. Comparison of the Suspension Properties
To compare the suspension velocity of each specimen, a floating histogram of the maximum suspension velocity range was plotted (in ascending order on the positive X axis). From Figure 11, it can be observed that if separation of the waste mulch film was achieved by wind, the suspension velocity of 0.50 g and 1.25 g specimens needed to be kept within the first suspension velocity range or the second suspension velocity ranges of 2.06 to 2.39 m/s and 2.80 to 3.00 m/s. The suspension velocity of 1.25 g and 2.00 g waste mulch film specimens should avoid the first suspension velocity range of 1.02 to 1.06 m/s or keep the wind velocity within the second suspension velocity ranges of 2.39 to 2.42 m/s and 3.00 to 3.09 m/s. The suspension velocity of 0.50 g and 2.00 g waste mulch film specimens was kept within the first suspension velocity range or the second suspension velocity ranges of 2.06 to 2.42 m/s and 2.80 to 3.09 m/s. The waste mulch fragments can all, theoretically, be separated by wind, but the suspension velocity range of 1.25 g and 2.00 g specimens was small and less feasible in reality, while the separation range of 0.50 g specimens was large and more feasible in reality.
Figure 11.
Range of suspension velocity of the waste mulch film and cotton stalk.
Within the total suspension velocity, there existed differences in different parts of cotton stalk, but these not obvious. From Figure 10, it can be observed that there was an intersection of the total suspension velocity between the cotton roots and stems, and the intersection area accounted for 94.46% in the range of the cotton roots and 67.24% in the range of the cotton stems. The intersection of the cotton roots and rhizomes accounted for 93.25% of the range of the cotton roots and 55.92% of the range of the cotton rhizomes. The intersection range of the stems and rhizomes accounted for 33.62% of the suspension velocity range of the stems and 28.32% of the total suspension velocity range of the rhizomes. Among the three cotton stalk specimen types, the first suspension velocity range of rhizomes was higher than that of stalks and roots, and there was no intersection range, indicating that rhizomes could be separated from the other types of specimens by adjusting the appropriate wind velocity. The first suspension velocity of the stems and roots were similar, and there existed an intersection range, and the intersection range was larger as seen in Figure 10, which was not suitable for separating the two types of specimens by wind.
Comparing the total suspension velocity of the waste mulch film and cotton stalk, it was found that there was no intersection range between the two suspension velocity ranges, and the highest value of the total suspension velocity of the waste mulch film was 24.07% lower than the lowest value of the cotton stalk. The separation of waste mulch film and cotton stalk can be achieved by wind when the suspension velocity is between 3.09 and 4.07 m/s [28].
4. Discussion
The tensile properties curves of the mulch film in this experiment were similar to those in the study by Briassoulis [29], and both appeared to have directional differences. In a previous study, it was found that the degree of aging of the mulch film had a relationship with UV aging, and a model (outlined in Formulas (3) and (4)) of the tensile properties of mulch film was derived [30]. In this experiment, the horizontal and vertical tensile forces of the waste mulch film were 1.70 N and 0.80 N, and thickness of the mulch film was 0.01 mm. After substituting = 0.01, = 1.70 and = 0.80 into Formulas (3) and (4) to calculate the artificial UV aging time , it was found that the natural aging of the mulch film was equivalent to UV lamp aging for 185 h in the horizontal direction and 20 h in the vertical direction.
where and are the maximum tensile force in the horizontal and vertical directions, N; is the thickness of the film, mm; is the aging time, h.
In a previous study, it was found that the artificial UV aging rates of mulch film were similar in horizontal and vertical directions [30]. After comparison with this experiment, it was found that the naturally aged mulch film showed greater aging resistance in terms of horizontal tensile properties, while the vertical tensile properties showed lower aging resistance, and fracture occurred soon after plastic deformation started in the vertical direction. The presumed reasons were threefold: First, the two directions of the mulch differ in their ability to resist UV aging due to different processing directions. Second, the different growth of cotton may lead to uneven aging. Third, natural aging includes UV aging, weathering, oxidation, etc. UV aging is only one of the aging factors, and the conclusions drawn by using the model have limitations [31].
The curve trend in the cotton stalk shear test was similar to that in the study of Ding Longpeng [32]. The shearing force–displacement curves of the cotton stems showed “the double peaks”, indicating that shear damage occurred twice during the force loading. This phenomenon was not apparent in the shearing process of the cotton rhizomes and roots. This is because cotton stems grow in a higher position and stems are subjected to more complex natural aging interactions such as UV aging, oxygen aging and wind aging. Therefore, cotton stems are more inhomogeneous in structure compared to rhizomes and roots, and they have a large difference in water content, which affects their shear properties. This is also a characteristic of all anisotropic plant growth [33]. Comparing the shearing force of the cotton stems, rhizomes and roots, rhizomes showed the highest value of maximum shearing force, which was due to the more severe lignification, making them more rigid. Cotton roots had the highest shearing strength, and it was presumed that the cotton roots grew underground, had a higher moisture content, were more ductile and exhibited higher shearing strength. Differences in sampling orientation resulted in different shear curves, similar to the results of Gao Tianhao and Shi Nuo [34,35].
In this experiment, waste mulch film and cotton stalk after recycling in Xinjiang were used as the research materials, and more targeted research was carried out. There were two innovations: first, the cotton stalks were wrapped with mulch in the cotton stalk shearing test, which was closer to the actual crushing state of cotton stalks. Secondly, the suspension velocity of crushed waste mulch film was determined, which is more meaningful to the cleaning process than the original research object. These special treatments make this test more oriented and closer to the actual production process.
5. Conclusions
In the tensile properties test of the waste mulch film, it was found that the mean values of maximum tensile force and fracture displacement in the horizontal direction were 1.70 N and 254.75 mm, and the mean values of maximum tensile force and fracture displacement in the vertical direction were 0.80 N and 145.22 mm. The comparison showed that the waste mulch film had better mechanical properties in the horizontal direction.
The trend of the shearing force curves of the cotton stalk was influenced by the sampling orientation. The cotton stems were damaged twice during shearing, which did not occur for the rhizomes and roots. The shearing properties of the cotton stems and rhizomes were obviously improved after wrapping the mulch film. The maximum shearing force of the cotton stems and rhizomes after wrapping two layers of film improved by 186.89% and 67.39% compared with that with zero layers of film, and the cotton roots’ shearing properties were only slightly improved after wrapping with mulch film.
By testing the suspension velocity of waste mulch and cotton stalk, it was found that there was a positive correlation between mulch film quantity and suspension velocity, and the specimen diameter was positively correlated with suspension velocity when the cotton stalk was in the same sampling orientation. The suspension velocity of the waste mulch film ranged from 0.63 to 3.09 m/s, and the suspension velocity of the cotton stalk ranged from 4.07 to 13.18 m/s. The highest value of the total suspension velocity of the waste mulch film was 24.07% lower than the lowest value of the cotton stalk. This showed that separation of the waste mulch film and cotton stalk could be achieved by wind when the total suspension velocity was between 3.09 and 4.07 m/s.
Author Contributions
Conceptualization, K.G.; methodology, K.G. and H.Y; software, K.G.; validation, W.L. and H.Y.; formal analysis, M.Q.; investigation, M.C.; resources, F.G.; data curation, K.G.; writing—original draft preparation, K.G.; writing—review and editing, Z.H.; visualization, Z.H.; supervision, M.C.; project administration, Z.H. and F.W.; funding acquisition, F.G. All authors have read and agreed to the published version of the manuscript.
Funding
This research was funded by the China Agricultural Research System, grant number CARS-13, and the Central Public-interest Scientific Institution Basal Research Fund, grant number S202304, S202305.
Institutional Review Board Statement
Not applicable.
Data Availability Statement
The data presented in this study are available in the article.
Conflicts of Interest
The authors declare no conflict of interest.
References
- Yang, J.L.; Ren, L.Q.; Zhang, N.H.; Liu, E.K.; Sun, S.K.; Ren, X.L.; Jia, Z.K.; Ting, W.E.; Zhang, P. Can Soil Organic Carbon Sequestration and Carbon Management Index Be Improved by Changing the Film-Mulching Methods in Semiarid Region? J. Integr. Agric. 2023, in press. [Google Scholar] [CrossRef]
- Xiao, L.; Wei, X.; Wang, C.; Zhao, R. Plastic Film Mulching Significantly Boosts Crop Production and Water Use Efficiency but Not Evapotranspiration in China. Agric. Water Manag. 2023, 275, 108023. [Google Scholar] [CrossRef]
- Anzalone, A.; Cirujeda, A.; Aibar, J.; Pardo, G.; Zaragoza, C. Effect of Biodegradable Mulch Materials on Weed Control in Processing Tomatoes. Weed Technol. 2010, 24, 369–377. [Google Scholar] [CrossRef]
- McIntosh, H.; Guédot, C.; Atucha, A. Plastic mulches improve yield and reduce spotted-wing drosophila in primocane raspberry. Sci. Hortic. 2023, 320, 112203. [Google Scholar] [CrossRef]
- Ingman, M.; Santelmann, M.V.; Tilt, B. Agricultural water conservation in china: Plastic mulch and traditional irrigation. Ecosyst. Health Sustain. 2015, 1, 1–11. [Google Scholar] [CrossRef]
- Wei, J.I.; Xuejun, Z.H.; Youchun, D.I.; Shenghe, B.A.; Weipeng, L.I.; Xincheng, Z.H. Experiment on Suspension Separation of Residual Film and Impurity Based on Edem Fluent Coupling. Trans. Chin. Soc. Agric. Mach. 2022, 53, 89–98. [Google Scholar]
- Yang, L.; Heng, T.; He, X.; Yang, G.; Zhao, L.; Li, Y.; Xu, Y. Spatial-Temporal Distribution and Accumulation Characteristics of Residual Plastic Film in Cotton Fields in Arid Oasis Area and the Effects on Soil Salt Transport and Crop Growth. Soil Tillage Res. 2023, 231, 105737. [Google Scholar] [CrossRef]
- Yu, Y.; Zhang, Z.; Zhang, Y.; Jia, H.; Li, Y.; Yao, H. Abundances of Agricultural Microplastics and Their Contribution to the Soil Organic Carbon Pool in Plastic Film Mulching Fields of Xinjiang, China. Chemosphere 2023, 316, 137837. [Google Scholar] [CrossRef] [PubMed]
- Shen, Y.; Liang, C.; Liu, Y.; Tian, M.; Qian, X. Agricultural Film Utilization Status in China and Its Pollution Control Measures. Mod. Agric. Sci. Technol. 2023, 12, 147–151+159. [Google Scholar]
- Yu, W.; Ling, Y.; Xia, X.; Adili, T. Current Situation of Recycling Used Mulch on Farmland in Xinjiang and Suggestions for Countermeasures. Xinjiang Agric. Sci. Technol. 2023, 2, 43–44. [Google Scholar]
- Chen, J.L.; Yun, J.; Qi, G.; Li, F.; Zhang, Y.; Liu, X.; Xing, S. Design and Test of Quality Index for Farmland Residual Film Recovery Operation. Agric. Eng. 2017, 7, 7–10. [Google Scholar]
- Ma, L.; Chen, D.; Zhou, G. Technologies and Machinery of Waste Agricultural Plastic Film Granulitization in China. China Resour. Compr. Util. 2015, 1, 13–17. [Google Scholar]
- Tang, H.; Xu, W.; Zhao, J.; Xu, C.; Wang, J. Comparison of Rice Straw Compression Characteristics in Vibration Mode Based on Discrete Element Method. Biosyst. Eng. 2023, 230, 191–204. [Google Scholar] [CrossRef]
- Carrasco, F.; Pagès, P.; Pascual, S.; Colom, X. Artificial aging of high-density polyethylene by ultraviolet irradiation. Eur. Polym. J. 2001, 37, 1457–1464. [Google Scholar] [CrossRef]
- Guo, H.; Yu, X.D.; Jin, W.; He, N.D.; Guo, W.H. Establishment of Prediction Model for Tensile Mechanics of Plastic Film and Prediction of Film Thickness. J. Chin. Agric. 2020, 41, 173–178. [Google Scholar]
- Jing, S.; Zhang, F.; Chen, X.; Fu, D.; Zhang, Z.; Wu, X. Unidirectional Tensile Tearing Characteristics of the Film at Different Speeds. Jiangsu Agric. Sci. 2019, 47, 225–230. [Google Scholar]
- Wang, K.; Luo, X.; Chen, X.; Hu, B.; Chen, Y. Tension-Test Design and Research of Residual Film for Spring-Tooth Holding Device. J. Gansu Agric. Univ. 2018, 53, 181–186. [Google Scholar]
- Jiaxi, Z.; Xuenong, W.; Li, Z.; Yongxin, J.; Haichun, Z.; Xuanfeng, L.; Yuanyuan, Q.; Xiangjin, W.; Shanshan, Z. Effects of Mechanical Tensile Properties of Plastic Film on Plastic Recycling Method. Trans. Chin. Soc. Agric. Eng. 2015, 31, 41–47. [Google Scholar]
- Aydın, İ.; Arslan, S.J. Mechanical properties of cotton shoots for topping. Ind. Crop. Prod. 2018, 112, 396–401. [Google Scholar] [CrossRef]
- Li, C.H.; Yang, X.H.; Xu, P. Study on the Movement Dynamics of Waste Plastic Film in the Separation Chamber. Mech. Sci. Technol. Aerosp. Eng. 2013, 32, 744–746+50. [Google Scholar]
- Guo, W.; Kan, Z.; Zhang, R.; Guo, S.; An, H.; Cong, T. Analysis of Material Character Based on Mesh Roller-Type Cotton and Film Remnant Separator. Trans. CSAE 2011, 27 (Suppl. 2), 1–5. [Google Scholar]
- Li, K.; Peng, Q.; Niu, M.; Kang, J.; Liu, F.; Zhang, G.; Wang, X. Simulation Calculation Method of Parameters of Air Separation Equipment Based on Cfd-Dpm. Agric. Equip. Veh. Eng. 2023, 61, 1–6. [Google Scholar]
- Tang, H.; Xu, C.; Zhao, J.; Wang, J. Stripping Mechanism and Loss Characteristics of a Stripping-Prior-to-Cutting Header for Rice Harvesting Based on Cfd-Dem Simulations and Bench Experiments. Biosyst. Eng. 2023, 229, 116–136. [Google Scholar] [CrossRef]
- ISO 1184-1983; Determination of Tensile Properties of Films. ISO: Geneva, Switzerland, 1983.
- Gb/T26551-2011; Livestock Machinery—Fodderchopping. Standards Press of China: Beijing, China, 2011.
- ISO 3129-2012; Wood—Sampling Methods and General Requirements for Physical and Mechanical Testing of Small Clear Wood Specimens. ISO: Geneva, Switzerland, 2012.
- Hou, H.; Cui, Q.; Guo, Y.; Zhang, Y.; Sun, D.; Lai, S.; Liu, J. Design and Test of Air- Sweeping Suspension Velocity Testing Device for Cleaning Threshed Materials of Grain and Oil Crops. Trans. Chin. Soc. Agric. Eng. 2018, 34, 43–49. [Google Scholar]
- Tang, H.; Xu, F.; Xu, C.; Zhao, J.; Wang, Y.J. The Influence of a Seed Drop Tube of the inside-Filling Air-Blowing Precision Seed-Metering Device on Seeding Quality. Comput. Electron. Agric. 2023, 204, 107555. [Google Scholar] [CrossRef]
- Briassoulis, D. Mechanical behaviour of biodegradable agricultural films under real field conditions. Polym. Degrad. Stab. 2006, 91, 1256–1272. [Google Scholar] [CrossRef]
- Guo, K.; Cao, M.; Gu, F.; Wu, F.; Yang, H.; Xu, H.; Hu, Z. Mechanical Properties of Metallocene Linear Low-Density Polyethylene Mulch Films Correlate with Ultraviolet Irradiation and Film Thickness. Sustainability 2023, 15, 6713. [Google Scholar] [CrossRef]
- Cai, H.; Simayi, N.; Zhang, S.; Yang, J.; Maimaitijiang, Y. Research of the Relativity between Natural Aging and Artificial Accelerated Aging of Agricultural Plastic Film. Xinjiang Agric. Sci. 2010, 47, 1580–1583. [Google Scholar]
- Ding, L.; Chen, Y.; Ge, Y.; Wang, L. Research on the Shear Mechanical Properties of Cotton Stalks. J. Chin. Agric. Mech. 2016, 37, 116–118. [Google Scholar]
- Shen, X.Y.; Wang, P.; Jiang, S.; Xu, S.Y. Study on Mechanical Property of Compression and Shearing of Cotton Stalks. J. Agric. Mech. Res. 2010, 32, 155–158. [Google Scholar]
- Gao, T.; Yan, Y.; Li, F.; Li, Y.; Tian, F.; Chen, C.; Song, Z. Shear Mechanical Properties of Cotton Stalks at the Harvesting Time Based on Response Surface Methodology. China Sci. 2016, 11, 2542–2547. [Google Scholar]
- Shi, N.; Guo, K.; Fan, Y.; Liu, B.; Yuan, X. Peeling and Shearing Mechanical Performance Test of Cotton Stalks in Extrusion State. Trans. Chin. Soc. Agric. Eng. 2017, 33, 51–58. [Google Scholar]
Disclaimer/Publisher’s Note: The statements, opinions and data contained in all publications are solely those of the individual author(s) and contributor(s) and not of MDPI and/or the editor(s). MDPI and/or the editor(s) disclaim responsibility for any injury to people or property resulting from any ideas, methods, instructions or products referred to in the content. |
© 2023 by the authors. Licensee MDPI, Basel, Switzerland. This article is an open access article distributed under the terms and conditions of the Creative Commons Attribution (CC BY) license (https://creativecommons.org/licenses/by/4.0/).










