Timing Criticality-Aware Design Optimization Using BEOL Air Gap Technology on Consecutive Metal Layers
Abstract
1. Introduction
- We present an analytical method for estimating the performance gain by applying an AG. According to this analytical method, an optimal set of metal-layer combinations to apply the AG is provided.
- An AG-aware physical design methodology for maximizing the performance with minimum cost is developed. The proposed methodology can be used in commercial placement and routing tools and provides a performance gain of 6.1–8.4% compared with traditional AG design.
- We present a highly manufacturable AG process to perform Si validation by overcoming various process challenges and achieve consecutive AG layers. We prove the feasibility of the AG process by the central processing unit (CPU) chip yield, packaging, and interconnect reliability, e.g., the time-dependent dielectric breakdown (TDDB) and EM.
2. Challenges
2.1. Performance Gain and Process Cost
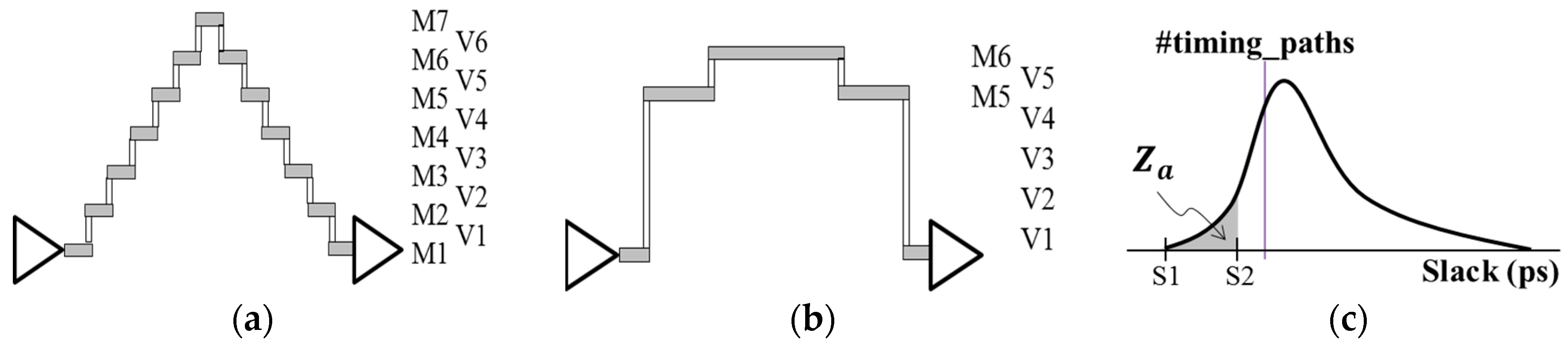
- Because fine-pitched lower metal levels consist of many short lines with many vias, the chances to apply an AG are extremely limited owing to the AG design rule restrictions at the line-end and upper via.
- Actual nets are dispersed on many routing layers and thus only part of the net benefits from the AG.
2.2. Integration Process
2.3. Design Restrictions
3. AG-aware Design Methodology
3.1. Performance Investigation
3.2. AG-Aware Routing Method
4. Overcoming Process Challenges
4.1. AG Depth Control
4.2. Cu/ULK Damage
4.3. Hermetic AG Liner
4.4. Step-Height Control Above AG
5. Experimental Results.
5.1. Capacitance Gain, Logic Yield, and Reliability
5.2. Performance Gain
6. Conclusions
Author Contributions
Funding
Conflicts of Interest
References
- Hayashi, Y. Impacts of low-k film on sub-100 nm-node, ULSI devices. In Proceedings of the IEEE 2002 International Interconnect Technology Conference (Cat. No. 02EX519), Burlingame, CA, USA, 5 June 2002; pp. 145–147. [Google Scholar]
- Tada, M.; Inoue, N.; Hayashi, Y. Performance Modeling of Low-k/Cu Interconnects for 32-nm-Node and Beyond. IEEE Trans. Electron Devices 2009, 56, 1852–1861. [Google Scholar] [CrossRef]
- Inoue, N.; Tagami, M.; Itoh, F.; Yamamoto, H.; Takeuchi, T.; Saito, S.; Furutake, N.; Ueki, M.; Tada, M.; Suzuki, T. 45nm-node interconnects with porous SiOCH-stacks, tolerant of low-cost packaging applications. In Proceedings of the 2007 IEEE International Interconnect Technology Conference, Burlingame, CA, USA, 3–6 June 2007; pp. 181–183. [Google Scholar]
- Watanabe, T.; Hayashi, Y.; Tomizawa, H.; Usui, T.; Gawase, A.; Shimada, M.; Watanabe, K.; Shibata, H. Robust BEOL Process Integration with Ultra Low-k (k = 2.0) Dielectric and Self-Formed MnOx Barrier Technology for 32 nm-node and beyond. In Proceedings of the 2008 International Interconnect Technology Conference, Burlingame, CA, USA, 1–4 June 2008; pp. 208–210. [Google Scholar]
- Liu, H.; Widodo, J.; Liew, S.; Wang, Z.; Wang, Y.; Lin, B.; Wu, L.; Seet, C.; Lu, W.; Low, C. Challenges of ultra low-k integration in BEOL interconnect for 45nm and beyond. In Proceedings of the 2009 IEEE International Interconnect Technology Conference, Sapporo, Japan, 1–3 June 2009; pp. 258–260. [Google Scholar]
- Kohl, P.A.; Bhusari, D.M.; Wedlake, M.; Case, C.; Klemens, F.P.; Miner, J.; Lee, B.-C.; Gutmann, R.J.; Shick, R. Air-gaps in 0.3 μm electrical interconnections. IEEE Electron Device Lett. 2000, 21, 557–559. [Google Scholar] [CrossRef]
- Gosset, L.; Gaillard, F.; Bouchu, D.; Gras, R.; De Pontcharra, J.; Orain, S.; Cueto, O.; Lyan, P.; Louveau, O.; Passemard, G. Multi-level Cu interconnects integration and characterization with air gap as ultra-low K material formed using a hybrid sacrificial oxide/polymer stack. In Proceedings of the 2007 IEEE International Interconnect Technology Conference, Burlingame, CA, USA, 3–6 June 2007; pp. 58–60. [Google Scholar]
- Daamen, R.; Bancken, P.; Badaroglu, D.E.; Michelon, J.; Nguyen, V.; Verheijden, G.; Humbert, A.; Waeterloos, J.; Yang, A.; Cheng, J. Multi-level air gap integration for 32/22nm nodes using a spin-on thermal degradable polymer and a SiOC CVD hard mask. In Proceedings of the 2007 IEEE International Interconnect Technology Conference, Burlingame, CA, USA, 3–6 June 2007; pp. 61–63. [Google Scholar]
- Nakamura, N.; Matsunaga, N.; Kaminatsui, T.; Watanabe, K.; Shibata, H. Cost-effective air-gap interconnects by all-in-one post-removing process. In Proceedings of the IEEE 2008 International Interconnect Technology Conference, Burlingame, CA, USA, 1–4 June 2008; pp. 193–195. [Google Scholar]
- Gras, R.; Gaillard, F.; Bouchu, D.; Farcy, A.; Petitprez, E.; Icard, B.; Le-Denmat, J.; Pain, L.; Bustos, J.; Haumesser, P. 300 mm multi level air gap integration for edge interconnect technologies and specific high performance applications. In Proceedings of the IEEE 2008 International Interconnect Technology Conference, Burlingame, CA, USA, 1–4 June 2008; pp. 196–198. [Google Scholar]
- Harada, T.; Takahashi, M.; Murakami, K.; Korogi, H.; Sasaki, T.; Hattori, T.; Ogawa, S.; Ueda, T. Manufacturable low keff (keff <2.5) Cu interconnects by selective/low damage air gap formation. In Proceedings of the IEEE 2006 International Interconnect Technology Conference, Burlingame, CA, USA, 5–7 June 2006; pp. 15–18. [Google Scholar]
- Harada, T.; Ueki, A.; Tomita, K.; Hashimoto, K.; Shibata, J.; Okamura, H.; Yoshikawa, K.; Iseki, T.; Higashi, M.; Maejima, S. Extremely low Keff (1.9) Cu interconnects with air gap formed using SiOC. In Proceedings of the 2007 IEEE International Interconnect Technology Conference, Burlingame, CA, USA, 3–6 June 2007; pp. 141–143. [Google Scholar]
- Noguchi, J.; Oshima, T.; Matsumoto, T.; Uno, S.; Sato, K. Multilevel interconnect with air-gap structure for next-generation interconnections. IEEE Trans. Electron Devices 2009, 56, 2675–2682. [Google Scholar] [CrossRef]
- Yoo, H.; Balakrishnan, S.; Bielefeld, J.; Harmes, M.; Hiramatsu, H.; King, S.; Kobrinsky, M.; Krist, B.; Reese, P.; RamachandraRao, V. Demonstration of a reliable high-performance and yielding Air gap interconnect process. In Proceedings of the 2010 IEEE International Interconnect Technology Conference, Burlingame, CA, USA, 6–7 June 2010; pp. 1–3. [Google Scholar]
- Fischer, K.; Agostinelli, M.; Allen, C.; Bahr, D.; Bost, M.; Charvat, P.; Chikarmane, V.; Fu, Q.; Ganpule, C.; Haran, M. Low-k interconnect stack with multi-layer air gap and tri-metal-insulator-metal capacitors for 14nm high volume manufacturing. In Proceedings of the 2015 IEEE International Interconnect Technology Conference and 2015 IEEE Materials for Advanced Metallization Conference (IITC/MAM), Grenoble, France, 18–21 May 2015; pp. 5–8. [Google Scholar]
- Cong, J.J.; Leung, K.-S. Optimal wiresizing under Elmore delay model. IEEE Trans. Computer-Aided Des. Integr. Circuits Syst. 1995, 14, 321–336. [Google Scholar] [CrossRef]
- Pullela, S.; Menezes, N.; Pillage, L.T. Reliable non-zero skew clock trees using wire width optimization. In Proceedings of the 30th ACM/IEEE Design Automation Conference, Dallas, TX, USA, 14–18 June 1993; pp. 165–170. [Google Scholar]
- Tan, S.X.-D.; Shi, C.-J.R.; Lee, J.-C. Reliability-constrained area optimization of VLSI power/ground networks via sequence of linear programmings. IEEE Trans. Computer-Aided Des. Integr. Circuits Syst. 2003, 22, 1678–1684. [Google Scholar] [CrossRef]
- Chen, C.-P.; Chu, C.C.; Wong, D. Fast and exact simultaneous gate and wire sizing by Lagrangian relaxation. IEEE Trans. Computer-Aided Des. Integr. Circuits Syst. 1999, 18, 1014–1025. [Google Scholar] [CrossRef]
- Sapatnekar, S.S. Wire sizing as a convex optimization problem: exploring the area-delay tradeoff. IEEE Trans. Comput. -Aided Des. Integr. Circuits Syst. 1996, 15, 1001–1011. [Google Scholar] [CrossRef]
- Rabaey, J.M.; Chandrakasan, A.P.; Nikolic, B. Digital Integrated Circuits; Prentice Hall: Upper Saddle River, NJ, USA, 2002; Volume 2. [Google Scholar]
- Michelon, J.; Hoofman, R.J. Moisture influence on porous low-k reliability. IEEE Trans. Device Mater. Reliab. 2006, 6, 169–174. [Google Scholar] [CrossRef]
- Lee, K.-D.; Ogawa, E.T.; Yoon, S.; Lu, X.; Ho, P.S. Electromigration threshold for Cu/low k interconnects. In Proceedings of the IEEE 2003 International Interconnect Technology Conference (Cat. No. 03TH8695), Burlingame, CA, USA, 4 June 2003; pp. 259–261. [Google Scholar]












| Notation | Meaning |
|---|---|
| Total performance gain | |
| Performance gain from metal layer combination | |
| Performance gain from applying AG | |
| Propagation delay for stage consisting driving gate and interconnect | |
| , | Driving cell and interconnect portion of propagation delay |
| ,, | Reference capacitance of driver, interconnect, and fanout |
| , | Reference resistance of driver and interconnect |
| , | Changed interconnect resistance and capacitance |
| Available AG portion | |
| AG unit capacitance gain | |
| AG capacitance gain calculated by () |
| Conventional AG Design | Proposed AG Design | Improvement | ||
|---|---|---|---|---|
| Performance gain (%) | 0.6 | GF 9.0, Gfa 6.7 | 6.1% to 8.4% | |
| Total power (mW) | 181.9 | 181.2 | 0.4% | |
| Route-ability | Crit. net length portion (%) | - | 0.69 (criteria < 28.5) | within criteria |
| Total net length (um) | 35, 253, 766 | 34, 750, 340 | 1.4% | |
| QoR for routing | Crit. net length/net (um) | 24.6 | 23.4 | 5.0% |
| AG metal usage/net (%) | 26.7 | 93.9 | 67.2% | |
| AG portion/net (%) | 10.2 | 51.7 | 41.5% | |
© 2019 by the authors. Licensee MDPI, Basel, Switzerland. This article is an open access article distributed under the terms and conditions of the Creative Commons Attribution (CC BY) license (http://creativecommons.org/licenses/by/4.0/).
Share and Cite
Ryu, S.; Cho, Y.; Han, T.H. Timing Criticality-Aware Design Optimization Using BEOL Air Gap Technology on Consecutive Metal Layers. Electronics 2019, 8, 1274. https://doi.org/10.3390/electronics8111274
Ryu S, Cho Y, Han TH. Timing Criticality-Aware Design Optimization Using BEOL Air Gap Technology on Consecutive Metal Layers. Electronics. 2019; 8(11):1274. https://doi.org/10.3390/electronics8111274
Chicago/Turabian StyleRyu, Seongmin, Youngwoo Cho, and Tae Hee Han. 2019. "Timing Criticality-Aware Design Optimization Using BEOL Air Gap Technology on Consecutive Metal Layers" Electronics 8, no. 11: 1274. https://doi.org/10.3390/electronics8111274
APA StyleRyu, S., Cho, Y., & Han, T. H. (2019). Timing Criticality-Aware Design Optimization Using BEOL Air Gap Technology on Consecutive Metal Layers. Electronics, 8(11), 1274. https://doi.org/10.3390/electronics8111274

