Abstract
In recent years and with the increasing rigor of the International Maritime Organization (IMO) emission regulations, the shipping industry has focused more on environment-friendly and efficient power. Low-pressure dual-fuel (LP-DF) engine technology with high efficiency and good emissions has become a promising solution in the development of marine engines. This engine often uses pre-combustion chamber (PCC) to ignite natural gas due to its higher ignition energy. In this paper, a parametric study of the LP-DF engine was proceeded to investigate the design scheme of the PCC. The effect of PCC parameters on engine performance and emissions were studied from two aspects: PCC nozzle diameter and PCC nozzle angle. The results showed that the PCC nozzle diameter affected the propagation of the flame in the combustion chamber. Moreover, suitable PCC nozzle diameters helped to improve flame propagation stability and engine performance and reduce emissions. Furthermore, the angle of the PCC nozzle had a great influence on flame propagation direction, which affected the flame propagation speed and thus the occurrence of knocking. Finally, optimizing the angle of the PCC nozzle was beneficial to the organization of the in-cylinder combustion.
1. Introduction
Since January 1, 2016, the Tier III emission standard have been implemented by the International Maritime Organization (IMO) [1,2]. With the fuel Sulphur global limit of 0.5% entering into force on January 1, 2020, the liquefied natural gas (LNG) has gradually become a promising alternative fuel for vessels sailing inside and outside the Emission Control Areas (ECAs) [3,4]. Natural gas, as a clean energy source, has the advantages of higher heating value and lower price—making the marine 2-stroke low-speed gas engines which use it as a fuel significantly economical [5,6]. In addition, the natural gas is free of sulfur, which means that there is almost no formation of Sulfur Oxides (SOx) [7]. However, when natural gas is used as the only fuel of the engine, the power of the gas engine will decrease compared to the same size diesel engine [8]. Using diesel-ignited natural gas is considered as an effective way to solve the power reduction problem [9]. Under such measures, the problem of power reduction when using natural gas can be better solved, and the latest emission regulations can be fulfilled [10].
The marine low-pressure dual-fuel engine uses the low-pressure injection technology in which the natural gas is injected into the cylinder at a low-pressure after the scavenging port is closed. After that, a small amount of diesel fuel is sprayed in the pre-chamber when the piston reaches the top dead center (TDC), which is used to ignite the gas/air mixture. In addition, this engine uses the Otto cycle principles to reduce the peak in-cylinder combustion pressure and temperature—resulting in low Nitrogen Oxides (NOx) emissions [11]. The main advantages of this engine include high efficiency at high load, high mean effective pressure, and low NOx emissions [12].
At present, the marine low-pressure dual-fuel engine is represented by WinGD’s RT-Flex50DF engine. Compared with traditional low-speed 2-stroke diesel engines using heavy fuel oil (HFO) or Light Fuel Oil (LFO), the LP-DF engine reduced the particulate matter (PM) to almost 98% and the SOx emissions by nearly 99% [13]. Besides, this engine decreased the NOx emissions by about 90%, which means that the IMO Tier III emission standard can be fulfilled without the use of after-treatment devices. The power and the thermal efficiency of the dual-fuel engine are close to those of conventional low-speed marine engines, but its emissions performance has been significantly improved. Furthermore, the marine DF engine can easily switch between the gas mode and the diesel mode to achieve smooth operation under full working conditions. Therefore, the DF engine technology is gradually gaining attention from various shipping companies due to its huge advantages and potential [14].
Papagiannakis et al. used experimental methods to study the effect of air/fuel ratio on the thermal efficiency and the emissions of a DF engine. They reported that the engine efficiency was lower than that of the diesel engine in the DF mode after decreasing the air/fuel ratio (λ). Besides, the engine efficiency improved at medium and low load with the increase of the diesel injection quantity [15].
The pre-ignition caused by lubricating oil has become more apparent with the increase in the engine mean effective pressure, which considers one of the critical issues nowadays affecting most of the premixed combustion engines. Hirose et al. observed the pre-ignition of a 2-stroke low-speed premixed gas engine through experimental methods. He determined the effect of lubricating oil on pre-ignition through visualization techniques and high-speed cameras. He found that the self-ignition temperature of lubricating oil was different from the ignition temperature of pilot fuel. Only by reducing the temperature to avoid pre-ignition, the proper premixed gas equivalent ratio played an important role in the stability of 2-stroke premixed combustion [16].
The pilot fuel injection parameters are important for the DF engines. Alla et al. carried out experimental work on a single-cylinder machine to study the effect of fuel injection timing and pilot fuel injection quantity on the performance of DF engines through experiments on a single cylinder machine. They reported that that by increasing the injection time of the pilot fuel significantly improved the efficiency and decreased the emissions at low loads. However, increasing the fuel injection amount under high load caused knocking [17].
Duan et al. studied the performance, the knock characteristics, and the combustion of a high compression ratio and lean-burn heavy-duty spark ignition (SI) engine fueled with n-butane and liquefied methane gas blend. Results indicated that the heat release rate, the in-cylinder pressure, and the cumulative heat release amount increased with the increased n-butane energy share. Once the n-butane energy ratio exceeded 5% at 1400 r/min and full-load, light knock occurred at this operating condition [18].
In recent years, computational flow dynamic (CFD) technology has developed rapidly. Numerical simulation methods can effectively reduce costs and shorten the research and development cycle of new engine [19,20]. Yousefi et al. simulated the combustion and emission characteristics of a premixed natural gas DF engine by coupling the CFD software with chemical reaction kinetics. They found that the use of PCC structure reduced the unburned methane emissions by an average of 46% compared to dual fuel engines without PCC [21]. Cernik et al. proposed a quasi-dimensional combustion model for a large-bore two-stroke dual-fuel marine engine. The diffusion combustion of the pilot fuel and the propagation of the premixed gas flame front were described in detail [22].
Moreover, the pilot fuel affects the power and emissions of the 2-stroke DF engine, which prompted some researchers to study its impacts such as Amin et al. who simulated the in-cylinder combustion process of a 2-stroke DF engine through the coupling of 3D CFD and chemical kinetics. They reported that increasing the amount of pilot fuel increased the ignition delay and the peak in-cylinder pressure and when the amount of pilot fuel is high, the emissions of NOx and Carbon Monoxide (CO) increase [23].
The PCC design features such as the volume ratio, the nozzle length/diameter ratio, and the pilot diesel spray direction influence the DF engine combustion and emissions. Liu et al. used the traditional CFD tool STAR-CD to study the LP-DF engine and the relevant numerical model was validated by experimental data. The results showed that increasing the PCC volume and shortening the nozzle length was beneficial to the combustion process. Besides, NO emission was mainly formed from the combustion in the PCC while shortening the nozzle length caused the No emissions to increase [24].
Maghbouli et al. established a model of the dual-fuel engine by integrating CHEMKIN chemical solver with KIVA-3V. He studied the combustion process of the DF engine under knocking conditions and introduced a new knock intensity factor. He reported that the exhaust gas recirculation technique could effectively reduce knocking [25]. Jha et al. used CFD software to simulate the effect of in-cylinder swirl on the combustion of the DF engine. The study showed that increasing the in-cylinder swirl ratio from 0 to 1.5 increased the in-cylinder pressure and the heat release rate [26]. Furthermore, optimizing the eddy current is a feasible strategy to improve the combustion efficiency and reduce the engine’s Hydrocarbon (HC) and CO emissions at low load [27].
In a large 2-stroke marine engine, it is difficult to organize a strong swirl in the cylinder due to the large bore [28]. Therefore, this study aims at improving the airflow movement and the combustion efficiency in a marine DF engine by optimizing the PCC parameters. GT-SUITE and CONVERGE were selected as the simulation software to establish an effective one-dimensional (1D) and three-dimensional (3D) simulation model of a marine LP-DF engine (Section 2). The effect of PCC parameters on the engine performance and emissions were studied from two aspects: PCC nozzle diameter and PCC nozzle angle (Section 3). It is hoped that the conclusions and contents can provide reference information for subsequent work.
2. Model Description
2.1. LP-DF Engine Basic Parameters
In this study, the RT-Flex50DF 2-stroke engine (WinGD) was investigated. It is a camshaft-less low-speed 2-stroke engine consisting of five cylinders connected in an in-line arrangement, one air cooler unit, one turbocharger unit, and two auxiliary blowers. The PCC nozzle diameter of this engine is normally 16 mm with an angle of 65°. Natural gas with an injection pressure lower than 1.6 MPa is admitted to the cylinders right before the air inlet valve. Besides, the gas admission valves are electronically actuated and controlled by the engine control system to give exactly the correct amount of gas to each cylinder-thereby, the combustion in each cylinder can be fully and individually controlled.
Since the premixed lean-burn combustion of the Otto cycle is realized in the cylinder, the RT-flex50DF engine is fully compliant with the IMO Tier III NOx emissions limits without requiring the use of any after-treatment systems. Simultaneously, three technologies are used to reduce the HC emissions including the pre-chamber technology for best ignition and combustion stability, the valve timing optimization to avoid the escape of natural gas, and the combustion chamber shape adjustment to avoid flameout. The basic parameters of the RT-Flex50DF engine are shown in Table 1 [29].
Table 1.
WinGD RT-Flex50DF engine dimensions.
The GT-Suite software, which is a renowned 1D simulation program for engine analysis and modelling, was employed for the LP-DF engine simulation. As shown in Figure 1, the developed 1D model of the LP-DF engine includes blocks for the scavenging receiver, the cylinders, the scavenging ports, the intake and exhaust valves, the intake and exhaust ports, the waste gate, the turbocharger, the crank train, the combustion chamber, and the natural gas nozzles. The 1D GT-Suite model was built to simulate the steady-state conditions of the 5RT-Flex50DF, which helped to obtain more accurate boundary conditions and initial conditions for the 3D simulation. This GT model uses the user defined combustion heat release rate to simulate the DF engine combustion. The heat release rate was determined from the experimental data under 75% engine load, which can accurately predict the performance of the LP-DF engine. Moreover, the required boundary conditions and the initial conditions for the 3D CFD calculation were obtained based on the verified model.
Figure 1.
The 1D model of the 5RT-Flex50DF engine.
As shown in Figure 2, the LP-DF engine optimization analysis requires 1D and 3D simulation coupling. First, the computer-aided design (CAD) software Catia was used to design different PCC model schemes and the 3D model was imported into the CFD simulation software CONVERGE. The adaptive mesh refinement of the CFD domain was applied on the model with focusing on the PCC mesh, the natural gas nozzles, the pilot fuel injection nozzles, and the flame front surface. After that, the initial conditions and the boundary conditions in the 3D simulation were given by the GT-power simulation results. Finally, the efficient and stable working range of the LP-DF engine was studied based on the 3D and 1D simulation results.
Figure 2.
Calculation simulation flow chart.
2.2. CFD Model Verification
As shown in Figure 3, the CAD software Catia is used for 3D modeling. The PCC was arranged on both sides of the main combustion chamber (MCC) in the LP-DF engine model while the pilot fuel injection nozzles were installed on the top of the PCC. When the pilot fuel was injected into the PCC, a high-speed jet flame was formed by rapid spontaneous combustion under high temperature and high pressure at TDC. After that, the flame passed through the PCC nozzle to ignite the lean gas mixture in the MCC. The two small ellipsoidal structures on the top of the MCC are pre-combustion chambers. Furthermore, two natural gas admission valves (GAV) were symmetrically distributed in the lower middle of the DF engine cylinder. Furthermore, the Natural Gas composition used during the CFD simulations mainly included 95.1% methane, 2.53% ethane and other gases while the natural gas fuel lower calorific value was 47.64 MJ/kg.
Figure 3.
3D analysis domain of a low-pressure dual-fuel (LP-DF) engine.
After the mesh adaptive refinement processing, the maximum number of 3D calculation domains was about 630,000. The KH-RT model was used as the breakup model in the spray model while the NTC model was selected as the pilot oil droplet collision model. Besides, the standard K-ε model was chosen as the turbulence model selected for the CFD. Moreover, the chemical reaction kinetic model of SAGE was used as the combustion model and the extended Zeldovich NOx emission model was used as the emission model [30].
As shown in Figure 4, the calculation results are compared with the measured data and the simulation error is less than 3.6%, which meets the accuracy requirements of the CFD numerical calculation. From Figure 4, the NOx emissions calculation results under different working conditions are in good agreement with the measured data. Moreover, the accuracy of the simulation model and the related parameters are verified, which can be used for the following performance and combustion simulation work.
Figure 4.
Marine DF engine model verification.
3. Results and Discussion
3.1. Performance Characteristics of A Marine LP-DF Engine
The marine 2-stroke LP-DF engine can change its working mode freely, as it can switch from diesel mode using HFO or LFO as fuel to dual-fuel mode using natural gas as fuel. These two modes have their working characteristics. The limitation of knocking is not considered during the operation of the engine in the diesel mode. During the dual-fuel mode, the engine uses Otto cycle combustion and the high-speed flame jet from the PCC easily ignites the pre-mixture, which limits the problems of knocking and misfire.
In WinGD RT-Flex50DF lean-burn engine, the excess air ratio can be very high (typically 2.2). As shown in Figure 5, the stable working window of the dual-fuel engine is very narrow [31]. Once the mixture is too lean, the engine is prone to misfire whilst the mixture is prone to self-ignition when it is too rich [32]. Therefore, the in-cylinder excess air ratio must be precisely controlled by adjusting some parameters such as the valve timing and the fuel injection timing to ensure the efficient and stable operation of the LP-DF engine. Since the same specific heat quantity released by combustion is used to heat a large mass of air, the peak temperature and consequently the NOx emissions are lower.
Figure 5.
Lean-burn DF engine Otto combustion limits.
Figure 6 depicts that the compression pressure of the LP-DF engine in dual-fuel mode is lower than that of the diesel mode, which reduces the compression ratio in order to avoid knocking. In addition, the opening timing of the exhaust valve in dual-fuel mode is adjusted. From Figure 6, the maximum combustion pressure in diesel mode is about 4.8 MPa lower than that in the dual-fuel mode because of the IMO TierII NOx emission limit requirement, which delays the diesel injection timing.
Figure 6.
Comparison of dual fuel mode and diesel mode.
As shown in Figure 7, the average in-cylinder combustion temperature in the dual-fuel mode is higher than that in the diesel mode and the peak combustion temperature is about 283 K higher. Besides, the peak combustion temperature occurs earlier in the dual-fuel mode. Moreover, the combustion duration of the dual-fuel mode is longer due to the lower flame propagation speed of natural gas. Based on the above analysis, the primary task of the diesel mode design is to reach the IMO NOx emission limit and for this reason, the power performance under high load has been reduced. Due to the limitation of knocking, the primary task of the DF mode in the LP-DF engine is to ensure the stable operation of the engine.
Figure 7.
Comparison of pressure and temperature in different working modes.
3.2. The Effect of PCC Nozzle Diameter
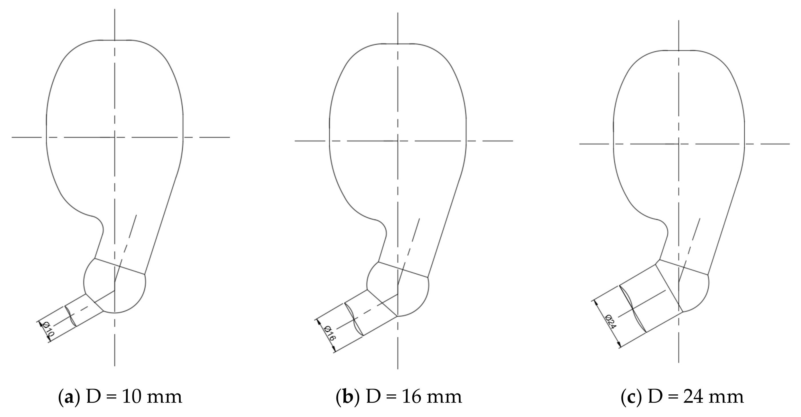
To study the influence of the diameter of the PCC nozzle on the performance and emissions of the dual-fuel engine, three schemes with a different PCC nozzle diameter of 10 mm, 16 mm, and 24 mm, respectively were set for comparison. As shown in Figure 8, the boundary condition parameters of the LP-DF engine are kept the same while the diameter of the PCC is changed to set the simulation cases.
Figure 8.
Different schemes of pre-combustion chamber (PCC) nozzle diameter.
3.2.1. Influence on Combustion
The diameter of the PCC nozzle not only affects the fuel mixing and the combustion in the pre-chamber but also the flame propagation in the main combustion chamber. Figure 9 shows the temperature distribution in the combustion chamber at different nozzle diameters. By studying the temperature distribution of these three groups of combustion processes, it can be seen that the time at which the flame propagates throughout the combustion chamber varies with different nozzle diameters. When the nozzle diameter is D = 10 mm, the flame propagates throughout the entire combustion chamber at 9°CA after Top Dead Center (aTDC) while for D = 24 mm, the time at which the flame propagates throughout the combustion chamber is 11°CA aTDC. In addition, the flame front spreads to the bottom of the combustion chamber earlier when the flame jet speed is higher. Conversely, the flame front does not propagate to the bottom of the combustion chamber for the PCC nozzle with a small diameter when the flame jet speed is slow, which indicates that the flame is more easily affected by the in-cylinder airflow. Moreover, the flame propagates throughout the entire combustion chamber at 6°CA aTDC for the PCC nozzle diameter of D = 16 mm. Since the starting time of combustion are the same in the three cases, the flame propagation speed in the cylinder is the fastest at D = 16 mm.
Figure 9.
Temperature distribution in the combustion chamber.
In Figure 9, the jet flame gradually becomes stronger as the diameter of the PCC nozzle increases at −4°CA before Top Dead Center (bTDC). Comparing the flame distributions of the three diameters, the flame distribution is asymmetrical under the action of turbulence when the nozzle diameter is small at −3°CA bTDC. Besides, the flame jet is too thin to withstand the effects of in-cylinder gas turbulence. Under the same pilot fuel injection conditions, the flame basically propagates to the bottom of the combustion chamber when the nozzle diameter is 16 mm at −3°CA bTDC but does not reach the bottom of the combustion chamber for the other two diameters.
Figure 10 presents the flame velocity vector distribution under different PCC nozzle diameters at −3°CA bTDC. From Figure 10, the jet flame speed is large at D = 16 mm and relatively small at D = 20 mm. At D = 10 mm, the flame is greatly affected by the turbulence, which means that the flame intensity is the weakest in the three simulation cases.
Figure 10.
Flame velocity vector distribution.
3.2.2. Influence on Performance
Figure 11 shows the calculated in-cylinder pressure under different PCC nozzle diameters at 100% load. It can be seen that the peak in-cylinder pressure gradually decreases as the diameter of the nozzle increases while the crank-angle location of the in-cylinder pressure is substantially unaffected by the PCC nozzle diameter. This is because when the diameter of the nozzle is too large, the jet flame velocity from the pre-combustion chamber decreases, which means that the flame needs more time to distribute inside the combustion chamber—making the combustion duration longer. Therefore, peak pressure decreases with the increase of the PCC nozzle diameter.
Figure 11.
Pressure and heat release rate at different PCC nozzle diameters.
The Rate of Heat Release (ROHR) curves are also depicted in Figure 11 under different nozzle diameters. From Figure 11, the heat release rate is essentially the same at D = 10 mm and D = 16 mm. Besides, the peak heat release rate is relatively lower, and the combustion duration is relatively long at D = 24 mm—indicating that the combustion is relatively poorer inside the cylinder.
Figure 12 illustrates the mean temperature in the cylinder under different PCC nozzle diameters. From Figure 12, the peak in-cylinder temperature is the highest at D = 16 mm and there are no many differences between the in-cylinder temperatures values for D = 10 mm and D = 16 mm. Moreover, the peak in-cylinder temperature is the lowest for the nozzle with the large diameter D = 24 mm and the peak temperature appears later than the other two cases (D = 10 mm and D = 16 mm). When the fuel injection conditions are kept unchanged, the pre-chamber nozzle has an important influence on the flow of the in-cylinder mixture and the combustion in the MCC. This is because after the same quality of the pilot fuel is ignited, the jet flame enters the MCC through the pre-chamber nozzle and the parameters such as the diameter and the angle of the pre-chamber directly affect the angle, the position, and the speed of the flame.
Figure 12.
Mean in-cylinder temperature at different PCC nozzle diameters.
Figure 13 depicts the effects of different PCC nozzle diameters on the amount of NOx emissions. From Figure 13, NOx emissions are the lowest at D = 16 mm because the flame propagation speed is the fastest and the combustion duration is the shortest for this diameter as can be seen from the temperature distribution in Figure 9. Conversely, the NOx emissions are the highest at D = 24 mm compared to the other cases because of the longer combustion duration and the slower flame spread, which increases the formation of NOx emissions. The high-temperature environment has a great influence on NOx emissions.
Figure 13.
NOx and HC emissions under different PCC nozzle diameters.
The HC emissions of the LP-DF engine under different PCC nozzle diameters are shown in Figure 13. It can be seen from Figure 13 that the HC emissions at D = 16 mm are slightly higher than those for D = 10 mm and D = 24 mm. This is because the flame propagation speed is relatively slow, the combustion duration is longer, and the combustion is more complete when the PCC nozzle diameter is D = 10 mm and D = 24 mm, thereby the HC emissions are relatively less.
The diameter of the pre-chamber nozzle affects the velocity of the flame jet and the propagation of the flame in the combustion chamber. The changes in the in-cylinder pressure and the heat release rate are the same when the nozzle diameters are D = 10 mm and D = 16 mm, which indicates that the diameter of the PCC nozzle influences the engine performance and emission characteristics when it changes within a certain range. However, the large nozzle diameter affects the heat release duration of the mixture and the propagation speed of the flame in the combustion chamber, which is not conducive to the rapid combustion of the mixture and affects the LP-DF engine emissions characteristics. Appropriate PCC nozzle diameters can improve engine performance and reduce emissions.
3.3. The Effect of PCC Nozzle Angle
In order to study the effects of the PCC nozzle angle on the performance and emissions of the LP-DF engine, the engine boundary condition parameters were assumed to remain unchanged. As shown in Figure 14, four geometric schemes are designed for the PCC nozzle angles of 60°, 65°, 70°, and 75° (the angle between the PCC nozzle and the vertical direction). The current PCC nozzle angle of the LP-DF engine is 65°.
Figure 14.
Different schemes of PCC nozzle angles.
3.3.1. Influence on Combustion
The flame propagation process in the MCC under different PCC nozzle angles was simulated. Because of the same injection conditions of pilot oil, the combustion in the PCC under different nozzle angles was the same, only the propagation of the flame after entering the MCC was studied. Figure 15 shows the temperature distribution in the combustion chamber of four PCC nozzle angles. By comparing the four cases of the temperature distribution, it can be seen that the time at which the flame propagates throughout the combustion chamber is different. When the angle between the PCC nozzle and the vertical direction is 65°, the flame propagates throughout the combustion chamber at 6°CA aTDC and the flame propagation speed is the fastest. At 60° PCC nozzle angle, the flame propagates throughout the chamber at 8°CA aTDC and when the PCC nozzle angle increases to 70° and 75°, the flame propagates throughout the combustion chamber at 10°CA aTDC.
Figure 15.
Flame distribution in the combustion chamber.
From Figure 15, the direction of flame propagation is consistent with the nozzle angle when the nozzle angle is 60° and 65° and the jet flame is symmetrically distributed in the cylinder. Besides, the flame propagation direction does not propagate along with the direction of the PCC nozzle at 70° and 75° nozzle angle and the flame is distributed asymmetrically in the cylinder. This indicates indicated that when the angle between the PCC nozzle and the vertical direction is too large, the flame passing through the nozzle is affected by the turbulence of the mixture and cannot maintain propagation in the same direction as the PCC nozzle. Moreover, the flame spreads throughout the whole combustion chamber at 60° slightly later than when the nozzle angle is 65°, which means that the small nozzle angle is not conducive to the flame propagation in the combustion chamber and affects the burning speed.
Figure 16 shows the flame velocity vector distribution under different PCC nozzle angles at 3°CA bTDC. It can be seen that the velocity distribution is uniform and the flame is relatively less affected by the in-cylinder turbulence when the nozzle angle is 60° and 65°. In addition, the flame propagation velocity is large at 65° PCC nozzle angle comparing to that of other PCC nozzle angles.
Figure 16.
Flame velocity vector distribution.
3.3.2. Influence on Performance
Figure 17 shows the in-cylinder pressure for different pre-chamber nozzle angles. From Figure 17, the maximum in-cylinder pressure increases first and then decrease as the nozzle angle increases. The highest combustion pressure in the cylinder occurs at 65° nozzle angle and the peak pressure appears slightly earlier than the peak pressure at other angles. The change in heat release rate at different nozzle angles is shown in Figure 17. It can be seen from Figure 17 that the peak of the heat release rate obtained at 65° PCC nozzle angle is significantly higher than the heat release rate of the other three angles. Besides, the slope of the heat release rate curve is large and the heat release time of the mixture gas is relatively short at 65°, which means that the mixture burns more quickly at this nozzle’s angle.
Figure 17.
In-cylinder pressure and heat release rate at different nozzle angles.
As can be seen from Figure 18, the maximum in-cylinder temperature first increases and then decreases as the angle of the PCC nozzle increases. At 65° nozzle angle, the average temperature in the cylinder is the highest and the temperature peak occurs slightly earlier than other conditions. Consequently, the angle of the pre-chamber nozzle determines the direction of flame propagation when the flame enters the main combustion chamber, and the difference in the direction of propagation affects the combustion rate of the mixture.
Figure 18.
Mean in-cylinder temperature at different PCC nozzle angles.
Figure 19 shows the variation of the amount of NOx emissions under different PCC nozzle angles. From Figure 19, the NOx emissions under the four PCC nozzle angles do not change too much. The amount of NOx emissions generated at a 60° nozzle angle is slightly lower than that of the other conditions. Although the combustion condition at 65° PCC nozzle angle is better than the other three cases, the in-cylinder temperature is slightly higher. Therefore, the amount of NOx emissions is higher. Nevertheless, the NOx emissions are not significantly affected by the angle of the pre-chamber nozzle. Furthermore, the HC emissions generated at the nozzle angles of 60°, 70°, and 75° are relatively lower than that formed at 65°. This is can be explained by the fact that the flame propagation speed is relatively slow and the combustion is more complete and lasts longer at these three angles, thereby the HC emissions are relatively small.
Figure 19.
NOx and HC emissions at different PCC nozzle angles.
Through the above analysis, the direction of jet flame propagation was affected by the angle of the PCC nozzle while different flame propagation directions affected the flame diffusion and combustion speed. Besides, the flame propagation was easily influenced by the turbulence of the in-cylinder mixture when the angle of the PCC nozzle was too large and the PCC nozzle could not maintain the flame propagation—resulting in the instability of flame propagation. Furthermore, the velocity of the jet flame was affected by the small nozzle angle, which was not conducive to the rapid combustion of the mixture.
4. Conclusions
In this paper, the effect of different PCC chamber parameters on the performance and emissions of a marine LP-DF engine was investigated using the 3D CFD simulation: PCC nozzle diameter and PCC nozzle angle. The main conclusions are listed as follows:
- (1)
- The pre-combustion chamber effectively organized the airflow in the cylinder and increased the flame propagation speed to achieve efficient lean combustion. The diameter of the PCC nozzle affected the propagation of the flame in the combustion chamber. Suitable PCC nozzle diameters helped to improve the flame propagation stability and engine performance and reduce emissions.
- (2)
- The angle of the PCC nozzle affected the direction of the flame propagation, which affected the flame propagation speed and thus the occurrence of knocking. Optimizing the angle of the PCC nozzle was beneficial to the organization of the in-cylinder combustion and helped to increase the flame propagation speed.
- (3)
- The 3D CFD simulation could be a powerful tool for LP-DF engine design. Future studies could include other aspects such as the PCC volume ratio, the PCC nozzle length, and the variable exhaust valve timing.
Author Contributions
H.G. and S.Z. contributed to the case study and the original manuscript. M.S. translated the original manuscript. Y.F. checked the results of the whole manuscript.
Funding
This research was supported by the China financial support of Marine Low-Speed Engine Project-Phase I and the National Key R&D Program of China (grant no. 2016YFC0205202).
Conflicts of Interest
The authors declare no conflict of interest.
Abbreviations
| IMO | International Maritime Organization |
| ECAs | Emission Control Areas |
| NOx | Nitrogen Oxides |
| SOx | Sulfur Oxides |
| CO | Carbon Monoxide |
| PM | Particulate Matter |
| HFO | Heavy Fuel Oil |
| LFO | Light Fuel Oil |
| LP-DF | Low-Pressure Dual-Fuel |
| HC | Hydrocarbon |
| ISO | International Organization for Standardization |
| CFD | Computational Fluid Dynamics |
| 1D | One-Dimensional |
| 3D | Three-Dimensional |
| BSPC | Brake Specific Pilot Fuel Consumption |
| BSGC | Brake Specific Gas Consumption |
| CAD | Computer Aided Design |
| PCC | Pre-Combustion Chamber |
| MCC | Main Combustion Chamber |
| GAV | Gas Admission Valve |
| λ | Air-Fuel Ratio |
| ROHR | Rate of Heat Release |
| TDC | Top Dead Center |
| °CA | Crank Angle Degree |
| bTDC | Before Top Dead Center |
| aTDC | After Top Dead Center |
References
- Christen, C.; Brand, D. IMO Tier III: Gas and Dual Fuel Engines as a Clean and Efficient Solution. In Proceedings of the CIMAC Congress, Shanghai, China, 13–17 May 2013; p. 187. [Google Scholar]
- Mehdi, G.; Zhou, S.; Zhu, Y.; Shah, A.H.; Chand, K. Numerical Investigation of SCR Mixer Design Optimization for Improved Performance. Processes 2019, 7, 168. [Google Scholar] [CrossRef]
- Kronholm, M. Demanding icebreaking LNG-powered icebreaking features the industry’s most advanced technology. In Proceedings of the CIMAC Congress, Helsinki, Finland, 6–10 June 2016; p. 226. [Google Scholar]
- Ahmed, S.A.; Zhou, S.; Zhu, Y.; Feng, Y.; Malik, A.; Ahmad, N. Influence of Injection Timing on Performance and Exhaust Emission of CI Engine Fuelled with Butanol-Diesel Using a 1D GT-Power Model. Processes 2019, 6, 299. [Google Scholar] [CrossRef]
- Kezirian, M.T.; Phoenix, S.L. Natural Gas Hydrate as a Storage Mechanism for Safe, Sustainable and Economical Production from Offshore Petroleum Reserves. Energies 2017, 10, 828. [Google Scholar] [CrossRef]
- Youfeng, L.; Liangjun, X. Development of low-fuel consumption and low-emission locomotive engine. In Proceedings of the CIMAC Congress, Vancouver, BC, Canada, 10–14 June 2019; p. 51. [Google Scholar]
- Xiang, L.; Song, E.; Ding, Y. A Two-Zone Combustion Model for Knocking Prediction of Marine Natural Gas SI Engines. Energies 2018, 11, 561. [Google Scholar] [CrossRef]
- Tozzi, L.; Emmanuella, S.; Greg, B. Novel Pre-Combustion Chamber Technology for Large Bore Natural Gas Engines. In Proceedings of the CIMAC Congress, Helsinki, Finland, 6–10 June 2016; p. 259. [Google Scholar]
- Mohr, H.; Baufeld, T. Improvement of Dual Fuel Engine Technology for Current and Future Applications. In Proceedings of the CIMAC Congress, Shanghai, China, 13–17 May 2013; p. 412. [Google Scholar]
- Delneri, D.; Sirch, G. Enhanced Flexibility in Gas Engine Operation for Marine and Power Generation Demanding Applications. In Proceedings of the CIMAC Congress, Vancouver, BC, Canada, 10–14 June 2019; p. 93. [Google Scholar]
- Ilari, K.; Ulf, A.; Grant, G. Product Technology Development for Increased Customer Benefits. In Proceedings of the CIMAC Congress, Helsinki, Finland, 6–10 June 2016; p. 285. [Google Scholar]
- Yasueda, S.; Kuboyama, T.; Matsumura, M.; Moriyoshi, Y.; Doyen, V.; Martin, J.B. The examination on the main contributing factors of lube oil pre-ignition. In Proceedings of the CIMAC Congress, Helsinki, Finland, 6–10 June 2016; p. 147. [Google Scholar]
- Zheng, X.; Yang, J. An Investigation into the Gas-Mode Start Strategies for a Marine Medium-Speed Micro-Pilot-Ignition Dual-Fuel Engine. In Proceedings of the CIMAC Congress, Vancouver, BC, Canada, 10–14 June 2019; p. 71. [Google Scholar]
- Alla, G.H.A.; Soliman, H.A.; Badr, O.A. Effect of injection timing on the performance of diesel engine. Energy Convers. Manag. 2002, 43, 269–277. [Google Scholar] [CrossRef]
- Papagiannakis, R.G.; Rakopoulos, C.D.; Hountalas, D.T.; Rakopoulos, D.C. Emission characteristics of high speed, dual fuel, compression ignition engine operating in a wide range of natural gas/diesel fuel proportions. Fuel 2010, 89, 1397–1406. [Google Scholar] [CrossRef]
- Hirose, T.; Masuda, Y. Technical Challenge for the 2-Stroke Premixed Combustion Gas Engine. Pre-ignition Behavior and Overcoming Technique. In Proceedings of the CIMAC Congress, Shanghai, China, 13–17 May 2013; p. 185. [Google Scholar]
- Alla, G.A.; Soliman, O.A. Effect of pilot fuel quantity on the performance of a dual fuel engine. Energy Convers. Manag. 2000, 41, 559–572. [Google Scholar] [CrossRef]
- Duan, X.; Liu, J.; Yao, J. Performance, combustion and knock assessment of a high compression ratio and lean-burn heavy-duty spark-ignition engine fuelled with n-butane and liquefied methane gas blend. Energy 2018, 158, 256–268. [Google Scholar] [CrossRef]
- Guo, H.; Song, Z. Study on the Influence of Prechamber Structure on the Knock of a Marine Low-Speed Dual-fuel Engine. In Proceedings of the CIMAC Congress, Vancouver, BC, Canada, 10–14 June 2019; p. 50. [Google Scholar]
- Hokimoto, S.; Kuboyama, T. Combustion analysis in a natural gas engine with pre-chamber by three-dimensional numerical simulation. Trans. Jpn. Soc. Mech. Eng. 2015, 47, 28–37. [Google Scholar]
- Yousefi, A.; Birouk, M. Investigation of natural gas energy fraction and injection timing on the performance and emissions of a dual-fuel engine with pre-combustion chamber under low engine load. Appl. Energy 2017, 189, 492–505. [Google Scholar] [CrossRef]
- Cernik, F.; Macek, J.; Dahnz, C.; Hensel, S. Dual Fuel Combustion Model for a Large Low-Speed 2-Stroke Engine; SAE Technical Paper: Prague, Czech Republic, 2016. [Google Scholar]
- Maghbouli, A.; Saray, R.K.; Shafee, S. Numerical study of combustion and emission characteristics of dual-fuel engines using 3D-CFD models coupled with chemical kinetics. Fuel 2013, 106, 98–105. [Google Scholar] [CrossRef]
- Liu, T.; Gui, Y. Pre-Combustion Chamber Design Scheme Analysis for a Typical Marine Low Speed Duel Fuel Engine. In Proceedings of the CIMAC Congress, Vancouver, BC, Canada, 10–14 June 2019; p. 100. [Google Scholar]
- Maghbouli, A.; Shafee, S.K.; Saray, R.; Yang, W. A Multi-Dimensional CFD-Chemical Kinetics Approach in Detection and Reduction of Knocking Combustion in Diesel-Natural Gas Dual-Fuel Engines Using Local Heat Release Analysis. SAE Int. J. Engines 2013, 6, 777–787. [Google Scholar] [CrossRef]
- Jha, P.R.; Srinivasan, K.K.; Krishnan, S.R. Influence of Swirl Ratio on Diesel-Methane Dual Fuel Combustion: A CFD Investigation. In Proceedings of the ASME 2017 Internal Combustion Engine Division Fall Technical Conference, Seattle, WA, USA, 15–18 October 2017. [Google Scholar]
- Nylund, I.; Ott, M. Development of a Dual Fuel Technology for Slow-speed Engines. In Proceedings of the CIMAC Congress, Shanghai, China, 13–17 May 2013; p. 284. [Google Scholar]
- Christoforos, M.; Gerasimos, T. Numerical investigation of a premixed combustion large marine two-stroke dual fuel engine for optimising engine settings via parametric runs. Energy Convers. Manag. 2018, 160, 48–59. [Google Scholar]
- Takahiro, K.; Takahide, A. Study on Mixture Formation Process in Two Stroke Low Speed Premixed Gas Fueled Engine. In Proceedings of the CIMAC Congress, Helsinki, Finland, 6–10 June 2016; p. 207. [Google Scholar]
- Zhou, S.; Gao, R.F.; Feng, Y.M. Evaluation of Miller cycle and fuel injection direction strategies for low NOx emission in marine two-stroke engine. Int. J. Hydrog. Energy 2017, 42, 20351–20360. [Google Scholar] [CrossRef]
- Ott, M.; Nylund, I. The 2-stroke Low-Pressure Dual-Fuel Technology: From Concept to Reality. In Proceedings of the CIMAC Congress, Helsinki, Finland, 6–10 June 2016; p. 233. [Google Scholar]
- Flot, P.; MESLATI, A.; Digneton, M. Improving Efficiency and Emissions of Otto Gas Engines, by Continuously Monitoring Fuel Gas Quality. In Proceedings of the CIMAC Congress, Vancouver, BC, Canada, 10–14 June 2019; p. 26. [Google Scholar]
© 2019 by the authors. Licensee MDPI, Basel, Switzerland. This article is an open access article distributed under the terms and conditions of the Creative Commons Attribution (CC BY) license (http://creativecommons.org/licenses/by/4.0/).


















