Study on the Design and Experiment of Trichogramma Ball Delivery System Based on Agricultural Drone
Abstract
1. Introduction
2. Design of Structures of the Delivery Device
2.1. Overall Structure and Working Principle
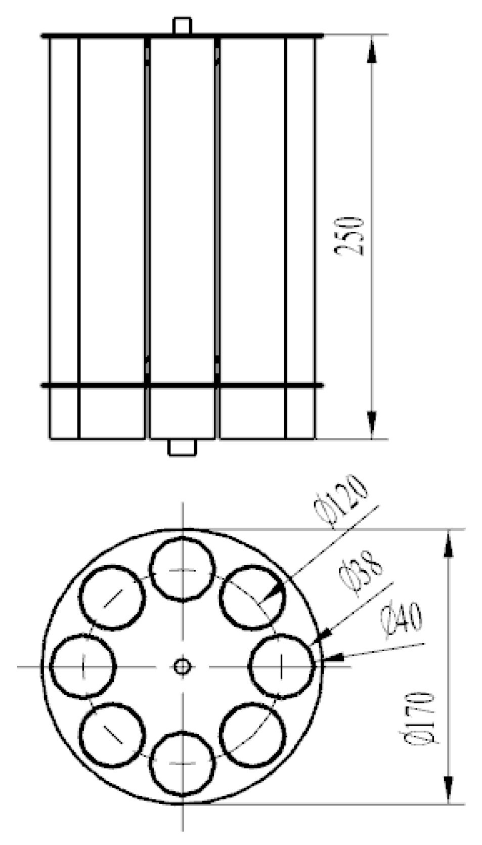
2.2. Design of the Storage Mechanism
2.3. Design of Delivery Mechanism
3. Optimization of Operational Parameters for Delivery Device
3.1. Simulation of Rotor Wind
3.2. Simulation of Delivery Progress
3.3. Validation Test for Delivery Effect
4. Results and Analysis
4.1. The Simulation Results and Analysis of Rotor Wind
4.2. The Simulation Results and Analysis of Delivery Progress
4.3. The Overall Delivery Performance
5. Discussion
6. Conclusions
- (1)
- Based on the investigation of the conventional parameters of Trichogramma balls and the agronomic requirements for field delivery and considering the characteristics of drone platform and its endurance, it was determined that the airflow outlet area of the delivery device should be located about 50 cm below the drone to facilitate accelerated delivery using the airflow. The storage mechanism consists of eight storage tubes with an inner diameter of 38 mm and a length of 250 mm, providing a total loading capacity of 56 Trichogramma balls. To ensure smooth delivery, the diameter of the acceleration channel in the delivery mechanism is 5 mm larger than the diameter of the Trichogramma balls. The radius of rotation of the driving lever is set to d = 50 mm, with the hitting end 50 mm away from the rotation center and the counterweight end 31.1 mm away from the rotation center. The thickness of the lever is 10 mm, and its rotational speed needs to be higher than 382 r/min. The reliable delivery speed range of the device is 2–6 m/s, with the remote position of the driving lever serving as the optimal starting position.
- (2)
- The parameters of delivery speed, flight speed, and flight height have a significant impact on the deviation of Trichogramma ball landing points. The variance regression analysis results indicate that the size of the deviation is negatively correlated with the delivery speed and positively correlated with the flight speed and flight height. The influence of the delivery speed, flight speed, and flight height on the deviation is significant. There exists a certain functional relationship between the deviation (Y) and the delivery speed (XT), flight speed (XF), and flight height (XH).
- (3)
- The experimental results showed that the group with a flight speed of 3 m/s and a delivery speed of 4 m/s had a smaller coefficient of variation for the delivery deviation (29%), making it the optimal operating parameter set.
Author Contributions
Funding
Data Availability Statement
Acknowledgments
Conflicts of Interest
References
- Lahlali, R.; Ezrari, S.; Radouane, N.; Kenfaoui, J.; Esmaeel, Q.; Hamss, H.; Belabess, Z.; Barka, E.A. Biological control of plant pathogens: A global perspective. Microorganisms 2022, 10, 596. [Google Scholar] [CrossRef] [PubMed]
- Ratto, F.; Bruce, T.; Chipabika, G.; Mwamakamba, S.; Mkandawire, R.; Khan, Z.R.; Mkindi, A.; Pittchar, J.; Chidawanyika, F.; Sallu, S.M.; et al. Biological control interventions and botanical pesticides for insect pests of crops in sub-Saharan Africa: A mapping review. Front. Sustain. Food Syst. 2022, 6, 883975. [Google Scholar]
- Kumar, K.K.; Arthurs, S. Recent advances in the biological control of citrus nematodes: A review. Biol. Control 2022, 157, 104593. [Google Scholar] [CrossRef]
- Hou, Z. Application of biological control technology in forest pest control. South. Agric. 2019, 13, 79–80. [Google Scholar]
- Del, P.M.; Cabello, T.; Hernández-Suárez, E. Biological Control Options for the Golden Twin-Spot Moth, Chrysodeixis chalcites (Esper) (Lepidoptera: Noctuidae) in Banana Crops of the Canary Islands. Insects 2022, 13, 516. [Google Scholar]
- Huang, N.; Jaworski, C.; Desneux, N.; Zhang, F.; Yang, P.; Wang, S. Long-term and large-scale releases of Trichogramma promote pesticide decrease in maize in northeastern China. Entomol. Gen. 2022, 40, 331–335. [Google Scholar] [CrossRef]
- Chen, S.; Wu, C.; Chen, L.; Chang, K.; Qian, S.; Chen, W.; Lan, Y. Design and test of aerial broadcast device for agricultural granular materials. Int. J. Precis. Agric. Aviat. 2020, 3, 44–50. [Google Scholar] [CrossRef]
- Yang, S.; Zheng, Y.; Liu, X. Research status and trends of downwash airflow of spray UAVs in agriculture. Int. J. Precis. Agric. Aviat. 2019, 2, 1–8. [Google Scholar] [CrossRef][Green Version]
- Ji, S.; Yao, C.; Feng, Z. Path recognition of UAV based on improved super-greening algorithm and design of adaptive Trichogramma pill dispenser. Multimed. Tools Appl. 2023, 82, 17301–17320. [Google Scholar] [CrossRef]
- Cherif, A.; Mansour, R.; Grissa-Lebdi, K. The egg parasitoids Trichogramma: From laboratory mass rearing to biological control of lepidopteran pests. Biocontrol Sci. Technol. 2021, 31, 661–693. [Google Scholar] [CrossRef]
- Zhao, J.; Liang, M.; Wang, Z.; Zhao, Y.; Cheng, J.; Du, Y. Evaluation and optimization of blends for attracting Trichogramma dendrolimi based on semiochemicals mediating tritrophic interactions in the orchard habitat. Biol. Control 2022, 173, 104998. [Google Scholar]
- Gauthier, P.; Khelifi, M.; Dionne, A.; Todorova, S. Technical Feasibility of Spraying Trichogramma ostriniae Pupae to Control the European Corn Borer in Sweet Corn Crops. Appl. Eng. Agric. 2019, 35, 185–192. [Google Scholar] [CrossRef]
- Canopée Dronautique, Inc. Canopée—Système D’épandage D’insectes par Drone (2050 dans Votre Assiette-Segment) [EB/OL]. Available online: https://www.youtube.com/watch?v=nbHqQSyZDc0&t=2s.htm (accessed on 30 January 2019).
- Wang, Z.; Huang, B.; Zhou, W.; Yang, W.; Mao, Y. A Kind of Releasing Device for Noctuid Black Trichogramma Egg. China Patent CN215873144U, 17 August 2021. [Google Scholar]
- Xie, C.; Zheng, H.; Xu, M.; Liu, Y.; Gao, Y.; Xu, L. A New Type of Bee-Bag for Chow’s Gnats. China Patent CN214282840U, 19 January 2019. [Google Scholar]
- Tabebordbar, F.; Formisano, G.; Shishehbor, P.; Ebrahimi, E.; Giorgini, M.; Sørensen, J. Variation among populations of Trichogramma euproctidis (Hymenoptera: Trichogrammatidae) revealed by life table parameters: Perspectives for biological control. J. Econ. Entomol. 2023, 116, 1119–1127. [Google Scholar] [PubMed]
- Sun, M.; Peng, Z.; Li, J.; Fan, Y.; Yu, F.; Ma, H. Preliminary study on control effect of Trichogramma released by UAV against rice Chilo suppressalis. China Plant Prot. 2021, 2, 10. [Google Scholar]
- Canopée Dronautique, Inc. Application of Trichogramma [EB/OL]. 2021. Available online: http://canopee.io/en/innovations.htm/#spreading (accessed on 3 June 2021).
- Martel, V.; Johns, R.C.; Jochems-Tanguay, L.; Jean, F.; Maltais, A.; Trudeau, S.; St-Onge, M.; Cormier, D.; Smith, S.M.; Boisclair, J. The use of UAS to release the egg parasitoid Trichogramma spp. (Hymenoptera: Trichogrammatidae) against an agricultural and a forest pest in Canada. J. Econ. Entomol. 2021, 114, 1867–1881. [Google Scholar] [CrossRef] [PubMed]
- Park, Y.L.; Gururajan, S.; Thistle, H.; Chandran, R.; Reardon, R. Aerial release of Rhinoncomimus latipes (Coleoptera: Curculionidae) to control Persicaria perfoliata (Polygonaceae) using an unmanned aerial system. Pest Manag. Sci. 2018, 74, 141–148. [Google Scholar] [CrossRef]
- Liu, X. A Trichogramma Egg Card Hanger. Chinese Patent CN104798733B, 21 November 2017. [Google Scholar]
- Lan, Y.; Zhan, Y.; Chen, S.; Ouyang, F.; Chen, P.; Chang, K.; Qian, S. A Biomass Ball Delivery System Delivery Method for UAV. Chinese Patent CN110733642A, 31 January 2020. [Google Scholar]
- Wang, G.; Song, C.; Zhang, W.; Liu, L.; Lan, Y. An Air-Blown Spiral Launching Type of Trichogramma Delivery UAV and a Delivery Method. CN115610658A, 5 November 2022. [Google Scholar]
- Zhu, H.; Huang, Y.; Li, H.; Pei, S. A UAV for Biological Control of Trichogramma. Chinese Patent CN209454998U, 1 October 2019. [Google Scholar]
- Cheng, H.; Cheng, G.; Wang, H.; Wang, N.; Han, Q.; Chi, X. Drone Biological Control Dispenser. China Patent CN212423484U, 29 January 2021. [Google Scholar]
- Wang, C. Design and Experimental Study of Natural Enemy Carrier Release Device for Aircraft; Jiangsu University: Zhenjiang, China, 2018. [Google Scholar]
- Cheng, G.; Lei, J.; Wang, H.; Gao, Y.; Lu, X.; Mao, G. Biological Dropper. China Patent CN206851877U, 9 January 2018. [Google Scholar]
- Chen, H.; Zhai, Y.; Dai, X.; Zheng, L.; Cao, G.; Yu, Y. A Field Trichogramma Dropping Drones. Chinese Patent CN110771574A, 11 February 2020. [Google Scholar]
- Zhu, J.; Fu, W.; Li, D.; Lin, S. A Kind of Releasing Device and UAV for Releasing Ball of Pest Natural Enemy. Chinese Patent CN210168793U, 24 March 2020. [Google Scholar]
- Zhan, Y.; Chen, S.; Wang, G.; Fu, J.; Lan, Y. Biological control technology and application based on agricultural unmanned aerial vehicle (UAV) intelligent delivery of insect natural enemies (Trichogramma) carrier. Pest Manag. Sci. 2021, 77, 3259–3272. [Google Scholar] [CrossRef]
- Ji, S.; Gong, J.; Cui, K.; Zhang, Y.; Mostafa, K. PerformanceTest and Parameter Optimization of Trichogramma Delivery System. Micromachines 2022, 13, 1996. [Google Scholar] [CrossRef]
- Zhan, Y.; Chen, P.; Xu, W.; Chen, S.; Han, Y.; Lan, Y.; Wang, G. Influence of the downwash airflow distribution characteristics of a plant protection UAV on spray deposit distribution. Biosyst. Eng. 2022, 216, 32–45. [Google Scholar] [CrossRef]
- Li, Q.; Zhao, X.; Wang, L.; Liu, Y.; Lan, Y.; Liu, Y.; Han, Y.; Wang, L. Research on the technology of using unmanned aerial vehicle to release the Trichogramma japonicum to control rice Stem Borer. J. Anhui Agric. Sci. 2023, 1, 136–138. [Google Scholar]
- Li, L.; Chen, K.; Gao, J.; Gao, J.; Liu, J.; Gao, Z. Research on optimizing-assembly and optimizing-adjustment technologies of aero-engine fan rotor blades. Adv. Eng. Inform. 2022, 51, 101506. [Google Scholar] [CrossRef]
- Shen, X.; Liu, M.; Luo, C.; Tang, D.; Zhou, W. Field effect evaluation of rice pest control-Control of rice leaf roller and Borer based on Trichogramma released by plant protection drone. Guangxi Plant Prot. 2019, 34, 6–8. [Google Scholar]
















| Levels | Factors | ||
|---|---|---|---|
| FH (m) | IDS (m/s) | DFS (m/s) | |
| 1 | 1.5 | 2.0 | 2.0 |
| 2 | 2.0 | 3.0 | 3.0 |
| 3 | 2.5 | 4.0 | 4.0 |
| Parameters | Value |
|---|---|
| Temperature (K) | 296 |
| Density (kg/m3) | 1.22 |
| Viscosity (pa·s) | 1.22 × 10−5 |
| Molar mass (kg/mol) | 28.996 |
| Turbulence intensity (%) | 10 |
| Thermal efficiency (w/m·k) | 0.025 |
| Relative humidity (%) | 20 |
| Flight Speed (m/s) | Delivery Speed (m/s) | Flight Height (m) | ||
|---|---|---|---|---|
| 1.5 | 2.0 | 2.5 | ||
| 2 | 2 | 0.108 | 0.124 | 0.150 |
| 3 | 0.060 | 0.084 | 0.104 | |
| 4 | 0.008 | 0.019 | 0.031 | |
| 3 | 2 | 0.161 | 0.184 | 0.204 |
| 3 | 0.115 | 0.144 | 0.167 | |
| 4 | 0.029 | 0.043 | 0.067 | |
| 4 | 2 | 0.272 | 0.304 | 0.334 |
| 3 | 0.115 | 0.121 | 0.115 | |
| 4 | 0.096 | 0.107 | 0.114 | |
| Variable | Difference Source | Regression Coefficient | T Confidence | Significance | 95% Confidence Interval | R | R2 | |
|---|---|---|---|---|---|---|---|---|
| Lower Limit | Upper Limit | |||||||
| Y | C | 0.126 | 2.674 | 0.014 | 0.028 | 0.223 | 0.920 | 0.847 |
| XF | 0.048 | 5.992 | 0.000 | 0.031 | 0.064 | |||
| XT | −0.074 | −9.220 | 0.000 | −0.090 | −0.057 | |||
| XH | 0.039 | 2.445 | 0.023 | 0.006 | 0.072 | |||
| Flight Speed (m/s) | Coefficient of Variation | |
|---|---|---|
| 2 | 45% | |
| 3 | 29% | |
| 4 | 28% |
Disclaimer/Publisher’s Note: The statements, opinions and data contained in all publications are solely those of the individual author(s) and contributor(s) and not of MDPI and/or the editor(s). MDPI and/or the editor(s) disclaim responsibility for any injury to people or property resulting from any ideas, methods, instructions or products referred to in the content. |
© 2023 by the authors. Licensee MDPI, Basel, Switzerland. This article is an open access article distributed under the terms and conditions of the Creative Commons Attribution (CC BY) license (https://creativecommons.org/licenses/by/4.0/).
Share and Cite
Song, C.; Wang, Q.; Wang, G.; Liu, L.; Zhang, T.; Han, J.; Lan, Y. Study on the Design and Experiment of Trichogramma Ball Delivery System Based on Agricultural Drone. Drones 2023, 7, 632. https://doi.org/10.3390/drones7100632
Song C, Wang Q, Wang G, Liu L, Zhang T, Han J, Lan Y. Study on the Design and Experiment of Trichogramma Ball Delivery System Based on Agricultural Drone. Drones. 2023; 7(10):632. https://doi.org/10.3390/drones7100632
Chicago/Turabian StyleSong, Cancan, Qingyu Wang, Guobin Wang, Lilian Liu, Tongsheng Zhang, Jingang Han, and Yubin Lan. 2023. "Study on the Design and Experiment of Trichogramma Ball Delivery System Based on Agricultural Drone" Drones 7, no. 10: 632. https://doi.org/10.3390/drones7100632
APA StyleSong, C., Wang, Q., Wang, G., Liu, L., Zhang, T., Han, J., & Lan, Y. (2023). Study on the Design and Experiment of Trichogramma Ball Delivery System Based on Agricultural Drone. Drones, 7(10), 632. https://doi.org/10.3390/drones7100632

