Manufacturing of Pure Iron by Cold Rolling and Investigation for Application in Magnetic Flux Shielding
Abstract
1. Introduction
2. Manufacturing of the Pure Iron Strips
2.1. Electro-Deposition of Iron
2.2. Cold Rolling and Annealing
3. Characterisation of Magnetic Properties
3.1. Initial Magnetization and Hysteresis Curve
- A.
- Sample preparation
- B.
- Initial magnetization curve
- C.
- Hysteresis loop
3.2. Investigation of Core Loss
4. Microstructure and Chemical Composition Analysis
4.1. Energy Dispersive X-ray Spectroscopy (EDS) Analysis and Scanning Electron Microscope (SEM) Analysis
- i.
- After completion of the last cold rolling pass and before annealing;
- ii.
- After completion of the last cold rolling pass and after argon environment annealing;
- iii.
- After completion of the last cold rolling pass and after hydrogen environment annealing.
4.2. Microstructure Analysis with Optical Microscope
5. Conclusions from Magnetic and Material Characterization
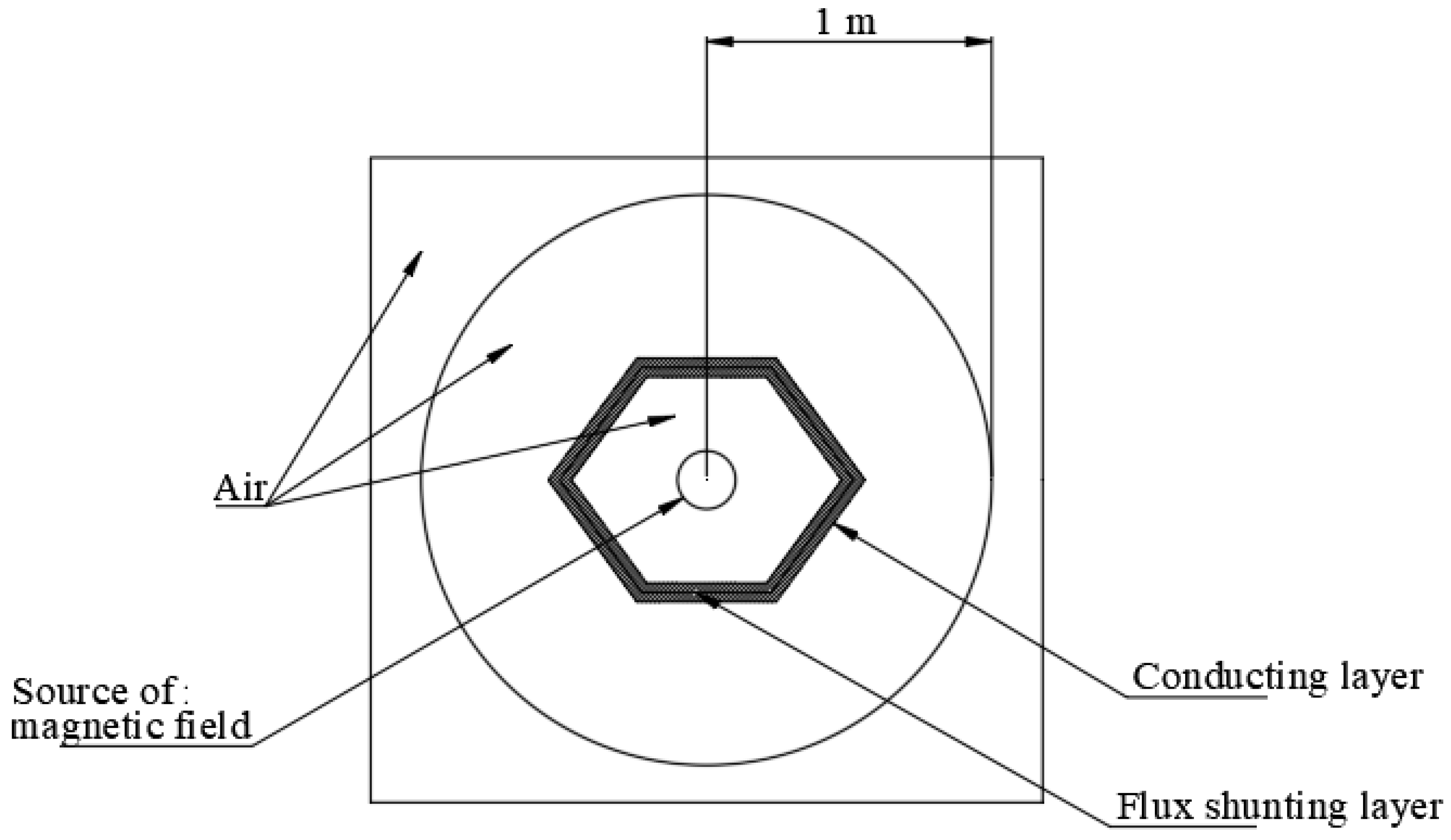
6. FEA for Magnetic Flux Shunting
7. Results and Discussion
- µr: relative permeability of reference specimen
- Lt: inductance of the test specimen
- Lr: inductance of the reference specimen

- LVDT operated without presence of electromagnet and pure iron magnetic shield;
- LVDT operated with the presence of the electromagnet and without the pure iron magnetic shield;
- LVDT operated with the presence of electromagnet and pure iron magnetic shield.
| Reference | Purity | Manufacturing Method |
|---|---|---|
| [58,59] | 99.6–99.8% | Pure iron ingot manufactured with pyrometallurgical method subjected to number of cold rolling passes and hydrogen annealing |
| [59] | 97.6–97.8% | Vacuum-induction melting of iron ingots, two stages of hot rolling and cold rolling passes with intermediate annealing |
| [9] | 99.89% | Direct reduction and multistage purification for producing pure iron ingots |
| [59] | 72.19% | Hydrogen reduction of iron ore to manufacture pure iron ingots |
| [59] | 99.5% | Electrolysis of iron oxide in alkaline solution with two inert electrodes |
| [59] | 77% | Electrolysis of molten iron oxide with powder form of magnetite, aldrich, agnesia and silica |
| This work | 99.8% | Electrolysis of ferrous chloride, cold rolling and intermediate annealing |
8. Conclusions
Author Contributions
Funding
Data Availability Statement
Conflicts of Interest
References
- Zucca, M.; Lorusso, G.; Fiorillo, F.; Roccato, P.; Annibale, M. Highly efficient shielding of high-voltage underground power lines by pure iron screens. J. Magn. Magn. Mater. 2008, 320, e1065–e1069. [Google Scholar] [CrossRef]
- Murayama, R.; Akizuki, Y. Study of magnetic pole materials for static magnetic field and dynamic magnetic field that compose an electromagnetic acoustic transducer for Lamb waves using the magnetostriction effect. Sens. Actuators A Phys. 2021, 333, 113294. [Google Scholar] [CrossRef]
- Gargul, K.; Jarosz, P.; Małecki, S. Alkaline Leaching of Low Zinc Content Iron-Bearing Sludges. Arch. Met. Mater. 2016, 61, 43–50. [Google Scholar] [CrossRef][Green Version]
- de Beer, J.; Worrell, E.; Blok, K. Future Technologies for Energy-Efficient Iron and Steel Making. Annu. Rev. Energy Environ. 1998, 23, 123–205. [Google Scholar] [CrossRef]
- Zervas, T.; McMullan, J.T.; Williams, B.C. Developments in iron and steel making. Int. J. Energy Res. 1996, 20, 69–91. [Google Scholar] [CrossRef]
- Jaafar, I. Chlorination for the Removal of Zinc from Basic Oxygen Steelmaking (BOS) Byproduct. Ph.D. Thesis, Cardiff University, Cardiff, UK, 2014. [Google Scholar]
- Mizuno, N.; Kosai, S.; Yamasue, E. Microwave-based extractive metallurgy to obtain pure metals: A review. Clean. Eng. Technol. 2021, 5, 100306. [Google Scholar] [CrossRef]
- Lee, H.S.; Teo, Y.Y. A combined hydro-pyrometallurgical process for zinc oxide and iron oxide extraction from electric arc furnace dust waste. In Proceedings of the IOP Conference Series: Earth and Environmental Science, Kampar, Malaysia, 3–6 October 2021; Volume 945, p. 945. [Google Scholar]
- Li, B.; Sun, G.; Li, S.; Guo, H.; Guo, J. The Preparation of High-Purity Iron (99.987%) Employing a Process of Direct Reduction–Melting Separation–Slag Refining. Materials 2020, 13, 1839. [Google Scholar] [CrossRef]
- Torrent, C.J.J.; Wackenrohr, S.; Richter, J.; Sobrero, C.E.; Degener, S.; Krooß, P.; Niendorf, T. On the Microstructural and Cyclic Mechanical Properties of Pure Iron Processed by Electron Beam Melting. Adv. Eng. Mater. 2021, 23, 2100018. [Google Scholar] [CrossRef]
- Uchikoshi, M.; Imaizumi, J.; Shibuya, H.; Kékesi, T.; Mimura, K.; Isshiki, M. Production of semiconductor grade high-purity iron. Thin Solid Film. 2004, 461, 94–98. [Google Scholar] [CrossRef]
- McGeough, J.; Leu, M.; Rajurkar, K.; De Silva, A.; Liu, Q. Electroforming Process and Application to Micro/Macro Manufacturing. Cirp Ann. 2001, 50, 499–514. [Google Scholar] [CrossRef]
- Majidzade, V.A.; Aliyev, A.S.; Elrouby, M.; Babanly, D.M.; Tagiyev, D.B. Electrodeposition and Growth of Iron from an Ethylene Glycol Solution. Acta Chim. Slov. 2021, 68, 185–192. [Google Scholar] [CrossRef] [PubMed]
- Giridhar, P.; Weidenfeller, B.; El Abedin, S.Z.; Endres, F. Electrodeposition of iron and iron–aluminium alloys in an ionic liquid and their magnetic properties. Phys. Chem. Chem. Phys. 2014, 16, 9317–9326. [Google Scholar] [CrossRef] [PubMed]
- Moravej, M.; Amira, S.; Prima, F.; Rahem, A.; Fiset, M.; Mantovani, D. Effect of electrodeposition current density on the microstructure and the degradation of electroformed iron for degradable stents. Mater. Sci. Eng. B 2011, 176, 1812–1822. [Google Scholar] [CrossRef]
- Suwa, Y.; Tomita, M.; Tanaka, Y.; Ushioda, K. Phase-field Simulation of Recrystallization in Cold Rolling and Subsequent Annealing of Pure Iron Exploiting EBSD Data of Cold-rolled Sheet. ISIJ Int. 2021, 61, 350–360. [Google Scholar] [CrossRef]
- Xu, Y.; Jiao, H.; Qiu, W.; Misra, R.D.K.; Li, J. Effect of Cold Rolling Process on Microstructure, Texture and Properties of Strip Cast Fe-2.6%Si Steel. Materials 2018, 11, 1161. [Google Scholar] [CrossRef] [PubMed]
- Ma, Z.; Zhang, W.; Zhao, H.; Lu, F.; Zhang, Z.; Zhou, L.; Ren, L. Enhanced strength and slightly reduced ductility in a high entropy alloy via cold rolling and annealing. J. Alloys Compd. 2020, 817, 152709. [Google Scholar] [CrossRef]
- Wang, Z.Q.; Li, Z.A.; Zhong, J.M.; Chen, D.H.; Zhang, X.W.; Zhou, L. Migration regularities of impurity aluminum and copper in purification of metal lanthanum by solid-state electrotransport. Rare Met. 2021, 40, 2307–2312. [Google Scholar] [CrossRef]
- Huang, Y.; Zhang, Q. Highly Efficient Removal of Cu (II) with Modified Electrolytic Manganese Residue as a Novel Adsorbent. Arab. J. Sci. Eng. 2022, 47, 1–13. [Google Scholar] [CrossRef]
- Wang, Y.; Zhang, J.; Zhou, B.; Wang, Y.; Ni, Y.; Pan, J. Magnetic Shunt Design and Their Effects on Transformer Winding Electromagnetic Forces. Iran. J. Sci. Technol. Trans. Electr. Eng. 2018, 43, 97–105. [Google Scholar] [CrossRef]
- Frigura-Iliasa, M.; Baloi, F.I.; Frigura-Iliasa, F.M.; Simo, A.; Musuroi, S.; Andea, P. Health-related electromagnetic field assessment in the proximity of high voltage power equipment. Appl. Sci. 2020, 10, 260. [Google Scholar] [CrossRef]
- Arpaia, P.; Burrows, P.N.; Buzio, M.; Gohil, C.; Pentella, M.; Schulte, D. Magnetic characterization of Mumetal® for passive shielding of stray fields down to the nano-Tesla level. Nucl. Instrum. Methods Phys. Res. Sect. A Accel. Spectrometers Detect. Assoc. Equip. 2020, 988, 164904. [Google Scholar] [CrossRef]
- Cazacu, D.; Virjoghe, E.O.; Ionescu, V.M.; Castravete, S. Finite Element Solutions for Magnetic Shielding Power Applications. In Whole Energy Systems; Springer Science and Business Media LLC: Heidelberg/Berlin, Germany, 2021; pp. 735–767. [Google Scholar]
- Zeng, X.; Mai, J.; Gao, X.; Yao, Y.; Wang, Y.; Xu, D. A Novel Magnetic Shielding Structure for Inductive Wireless Power Transfer Systems Based on Constraint of Magnetic Flux. In Proceedings of the 2021 IEEE 12th Energy Conversion Congress & Exposition-Asia (ECCE-Asia), Singapore, 24–27 May 2021; pp. 2476–2483. [Google Scholar]
- Cheng, H.C.; Chen, C.R.; Hsu, S.H.; Cheng, K.B. Electromagnetic Shielding Effectiveness and Conductivity of PTFE/Ag/MWCNT Conductive Fabrics Using the Screen Printing Method. Sustainability 2020, 12, 5899. [Google Scholar] [CrossRef]
- Pošković, E.; Franchini, F.; Ferraris, L.; Carosio, F.; Grande, M.A. Rapid Characterization Method for SMC Materials for a Preliminary Selection. Appl. Sci. 2021, 11, 12133. [Google Scholar] [CrossRef]
- Takaki, S.; Kimura, H. Preparation of high-purity iron by electron-beam floating-zone melting under ultra-high vacuum. Scr. Met. 1976, 10, 1095–1100. [Google Scholar] [CrossRef]
- Singh, R. Applied Welding Engineering: Processes, Codes and Standards. Chapter 5: Production of Steel; Elsevier: Amsterdam, The Netherlands, 2012. [Google Scholar] [CrossRef]
- Waeckerlé, T.; Mekhiche, M.; Brun, C. Improvement of magnetic permeability in pure iron sheets. J. Magn. Magn. Mater. 1994, 133, 195–197. [Google Scholar] [CrossRef]
- Birosca, S.; Nadoum, A.; Hawezy, D.; Robinson, F.; Kockelmann, W. Mechanistic approach of Goss abnormal grain growth in electrical steel: Theory and argument. Acta Mater. 2020, 185, 370–381. [Google Scholar] [CrossRef]
- Parrella, A.; Arpaia, P.; Buzio, M.; Liccardo, A.; Pentella, M.; Principe, R.; Ramos, P.M. Magnetic Properties of Pure Iron for the Upgrade of the LHC Superconducting Dipole and Quadrupole Magnets. IEEE Trans. Magn. 2018, 55, 1–4. [Google Scholar] [CrossRef]
- Cheney, W.L. Preparation and properties of pure iron alloys. Pt. II—Magnetic properties of iron-carbon alloys as affected by heat treatment and carbon content’. Sci. Pap. Beauro Stand. 1969, 18, 609–639. [Google Scholar]
- Ferrara, E.; Olivetti, E.; Fiorillo, F.; Forton, E.; Martino, L.; Rocchino, L. Microstructure and magnetic properties of pure iron for cyclotron electromagnets. J. Alloys Compd. 2014, 615, S291–S295. [Google Scholar] [CrossRef]
- Catalogue 1: Armco Pure Iron Ohio, USA. Available online: https://www.aksteel.nl/files/downloads/172888_armco_pure_iron_pdb_euro_final_secured_92.pdf (accessed on 19 January 2022).
- Pluta, W.A. Core loss models in electrical steel sheets with different orientation. Przegląd Elektrotechniczny 2011, 87, 37–42. [Google Scholar]
- Ye, Z. Modelling and experimental analysis of core losses of SMC components. In Proceedings of the World Congress PM2014, Orlando, FL, USA, 22 May 2014; pp. 1–9. [Google Scholar]
- Fiorillo, F. Characterization of Soft Magnetic Materials, 1st ed.; Academic Press: Milan, Italy, 2004; pp. 307–474. [Google Scholar]
- Wilson, J.W.; Zhou, L.; Davis, C.L.; Peyton, A.J. High temperature magnetic characterization of structural steels using Epstein frame. Meas. Sci. Technol. 2021, 32, 125601. [Google Scholar] [CrossRef]
- Saito, T.; Tsuruta, H.; Watanabe, A.; Ishimine, T.; Ueno, T. Pure-iron/iron-based-alloy hybrid soft magnetic powder cores compacted at ultra-high pressure. Aip Adv. 2018, 8, 047708. [Google Scholar] [CrossRef]
- Hirata, K.; Obara, G.; Katsumata, H. Evaluation of Insulating Magnetic Materials Composed of Epoxy Resin and Pure Iron Powder for Motor and Reactor Core Applications. IEEJ J. Ind. Appl. 2021, 10, 606–611. [Google Scholar] [CrossRef]
- Hara, M.; Namba, M.; Tajima, S.; Tani, M.; Hattori, T.; Kaneko, Y. Properties of Iron Core Fabricated from Flaky-Shaped and Annealed Pure Iron Powder. Mater. Trans. 2018, 59, 1920–1927. [Google Scholar] [CrossRef]
- Del-Pino-López, J.C.; Cruz-Romero, P.; Serrano-Iribarnegaray, L.; Martínez-Román, J. Magnetic field shielding optimization in underground power cable duct banks. Electr. Power Syst. Res. 2014, 114, 21–27. [Google Scholar] [CrossRef]
- Alzamora, A.M.; Paula, H.A. New Industrial Cable System Parameter Calculation Methodology Based on 3D Finite Element Analysis. IEEE Trans. Ind. Appl. 2021, 57, 3038–3048. [Google Scholar] [CrossRef]
- Ono, K.; Meshii, M. Hydrogen detrapping from grain boundaries and dislocations in high purity iron. Acta Metall. Mater. 1992, 40, 1357–1364. [Google Scholar] [CrossRef]
- Adcock, F.; Bristow, C.A. Iron of high purity. Proc. R. Soc. Lond. Ser. A Math. Phys. Sci. 1935, 153, 172–200. [Google Scholar]
- Qian, L.; Peng, J.; Xiang, Z.; Pan, Y.; Lu, W. Effect of annealing on magnetic properties of Fe/Fe3O4 soft magnetic composites prepared by in-situ oxidation and hydrogen reduction methods. J. Alloys Compd. 2019, 778, 712–720. [Google Scholar] [CrossRef]
- Barnothy, M.F. Biological Effects of Magnetic Fields; Springer: Berlin/Heidelberg, Germany, 2013. [Google Scholar]
- Afilipoaei, C.; Teodorescu-Draghicescu, H. A Review over Electromagnetic Shielding Effectiveness of Composite Materials. Proceedings 2020, 63, 23. [Google Scholar] [CrossRef]
- Zhao, Y.; Sun, Z.; Pan, D.; Lin, S.; Jin, Y.; Li, L. A New Approach to Calculate the Shielding Factor of Magnetic Shields Comprising Nonlinear Ferromagnetic Materials under Arbitrary Disturbances. Energies 2019, 12, 2048. [Google Scholar] [CrossRef]
- Masi, A.; Danisi, A.; Losito, R.; Martino, M.; Spiezia, G. Study of Magnetic Interference on an LVDT: FEM Modeling and Experimental Measurements. J. Sens. 2011, 2011, 529454. [Google Scholar] [CrossRef]
- Martino, M.; Danisi, A.; Losito, R.; Masi, A.; Spiezia, G. Design of a Linear Variable Differential Transformer with High Rejection to External Interfering Magnetic Field. IEEE Trans. Magn. 2010, 46, 674–677. [Google Scholar] [CrossRef]
- Available online: https://www.zse.de/en/transducer-sensors/displacement/microstrain-displacement-transducer/m-lvdt-microminiature-displacement-sensors (accessed on 9 March 2022).
- Qi, J.H. Research on Producing Ultraclean Industrial Pure Iron. Master’s Thesis, Wuhan University of Science and Technology, Wuhan, China, 2006. [Google Scholar]
- Li, T.T.; Zhang, J.B.; Jin, Y.; Yang, W.K. Investigation on high purity iron producing. Angang Technol. 1998, 9, 41–44. [Google Scholar]
- Deng, J.J.; Wang, H.J.; Rong, Z.; Xiang, L.; Qiu, S.T.; Gan, Y. Texture and inhibitor features of grain-oriented pure iron produced by different cold-rolling processes. J. Iron Steel Res. Int. 2018, 25, 1026–1032. [Google Scholar] [CrossRef]
- Kim, S.H.; Zhang, X.; Ma, Y.; Filho, I.R.S.; Schweinar, K.; Angenendt, K.; Vogel, D.; Stephenson, L.T.; El-Zoka, A.A.; Mianroodi, J.R.; et al. Influence of microstructure and atomic-scale chemistry on the direct reduction of iron ore with hydrogen at 700 °C. Acta Mater. 2021, 212, 116933. [Google Scholar] [CrossRef]
- Cavaliere, P. Electrolysis of Iron Ores: Most Efficient Technologies for Greenhouse Emissions Abatement. In Clean Ironmaking and Steelmaking Processes; Springer Science and Business Media LLC: Heidelberg/Berlin, Germany, 2019; pp. 555–576. [Google Scholar]
- Wiencke, J.; Lavelaine, H.; Panteix, P.J.; Petitjean, C.; Rapin, C. Electrolysis of iron in a molten oxide electrolyte. J. Appl. Electrochem. 2018, 48, 115–126. [Google Scholar] [CrossRef]

















| Cathode Electrode Details | Stainless Steel Plates |
|---|---|
| Dimension of the electrolyte bath | 900 mm × 800 mm × 1200 mm |
| Chemicals used in the electrolyte solution | Iron chloride (320 kg), ammonium chloride (80 kg) and 400 Litres of water |
| Current density | 16 A/m2 |
| pH value range | 5.00–5.42 |
| Temperature of electrolyte | 48–50 °C |
| Washing cycle duration | 4.5 days |
| Deposition thickness | 2.5–3 mm |
| Details of DC power source used | 120 V, 600 Amp, Make: Kraft Powercon India Ltd., Pune, India |
| Element | Ppm Level |
|---|---|
| Carbon | 6.6–7.3 |
| Sulphur | 7.6–8.9 |
| Nitrogen | 4.4–5.1 |
| Oxygen | 105–121 |
| Iron | Balance |
| Power Rating | 10 HP |
|---|---|
| Mill size | 178 cm × 76 cm × 158 cm |
| Separating force | 1,620,000 lbs maximum |
| Tension | 8000 lbs maximum |
| Work roll diameter | 6.0 inches to 10.0 inches |
| Electric motor speed | 1750 rpm |
| Roll speed | 500 rpm (for initial 3 passes), 520 rpm (for remaining passes) |
| Number of passes to achieve 0.3 mm thickness | 8–9 |
| Material of the rolls used for rolling operation | Tungsten carbide |
| Mode of adjusting the rolling thickness | Hydraulically assisted |
| Property | Before Cold Rolling | After Cold Rolling and Annealing |
|---|---|---|
| Density (gm/cc) | 7.49 | 7.71 |
| Thickness (mm) | 3 mm | 0.3–0.1 mm |
| Hardness (HV) | 78.033 | 145.700 |
| Property | |
|---|---|
| Remanent flux density | 1.14 T |
| Coercivity | 52 A/m |
| Maximum flux density | 1.74 T |
| Maximum relative magnetic permeability | 7818 |
| Reference | Core Loss |
|---|---|
| This work | 8.1 W/kg at 50 Hz, with 0.16 mm-thick strip |
| [36] | 4.6 W/kg at 50 Hz, with 0.1–1.0 mm-thick strip |
| [37] | 21 W/kg at 50 Hz, with 0.30 mm-thick strip |
| Component | Ansys Element | Properties Defined |
|---|---|---|
| Air | Static analysis: Plane 233 Harmonic analysis: Plane13 Boundary: Infin 110 | Relative permeability |
| Copper conductor | Static analysis: Plane 233 Harmonic analysis: Plane13 | Relative permeability Electrical resistivity |
| Shielding material | Static analysis: Plane 233 Harmonic analysis: Plane13 | B-H curve (determined in Section 3) |
| Material for eddy currents cancellation | Harmonic analysis: Plane 13 | Relative permeability Electrical resistivity |
| Specimen Number | Strain Induced in the Pure Iron Strip | Maximum Relative Permeability as Measured with Two-Winding Method |
|---|---|---|
| 1 | 0.00 | 6498 |
| 2 | 0.004 | 6498 |
| 3 | 0.01 | 5068 |
| Measurement Range | 3.0 mm (Total Range) |
|---|---|
| Number of turns in primary and secondary winding, respectively | 60 and 80 |
| Diameter of the copper wire in primary and secondary coils | 0.4 mm |
| Voltage at the primary coils | 3.0 V |
| Operating frequency | 50 Hz |
| Sr. No. | Name of the Component | Material | Properties Defined in ANSYS |
|---|---|---|---|
| 1 | Primary winding | copper | Number of turns, voltage, current and dimensions |
| 2 | Secondary winding | copper | Number of turns, and dimensions |
| 3 | Core | Iron | B-H curve of Pure iron from ANSYS library |
| 4 | Electromagnet | copper | Number of turns, voltage, current and dimensions |
| 5 | Magnetic shielding material | Pure iron | B-H curve determined from magnetic characterization as per IEC60404-04 for the pure iron manufactured in the present study (Initial magnetization curve) |
| 6 | Air | Air | Relative permeability |
Publisher’s Note: MDPI stays neutral with regard to jurisdictional claims in published maps and institutional affiliations. |
© 2022 by the authors. Licensee MDPI, Basel, Switzerland. This article is an open access article distributed under the terms and conditions of the Creative Commons Attribution (CC BY) license (https://creativecommons.org/licenses/by/4.0/).
Share and Cite
Satpute, N.; Dhoka, P.; Iwaniec, M.; Jabade, S.; Karande, P. Manufacturing of Pure Iron by Cold Rolling and Investigation for Application in Magnetic Flux Shielding. Materials 2022, 15, 2630. https://doi.org/10.3390/ma15072630
Satpute N, Dhoka P, Iwaniec M, Jabade S, Karande P. Manufacturing of Pure Iron by Cold Rolling and Investigation for Application in Magnetic Flux Shielding. Materials. 2022; 15(7):2630. https://doi.org/10.3390/ma15072630
Chicago/Turabian StyleSatpute, Nitin, Prakash Dhoka, Marek Iwaniec, Siddharth Jabade, and Pankaj Karande. 2022. "Manufacturing of Pure Iron by Cold Rolling and Investigation for Application in Magnetic Flux Shielding" Materials 15, no. 7: 2630. https://doi.org/10.3390/ma15072630
APA StyleSatpute, N., Dhoka, P., Iwaniec, M., Jabade, S., & Karande, P. (2022). Manufacturing of Pure Iron by Cold Rolling and Investigation for Application in Magnetic Flux Shielding. Materials, 15(7), 2630. https://doi.org/10.3390/ma15072630
