Realistic Approach to Safety Verification of Electric Tricycle in Thailand
Abstract
1. Introduction
2. Materials and Methods
2.1. Technical Requirements for Electric Tuk-Tuks
2.1.1. Braking Performance
2.1.2. Rollover Stability
2.1.3. Electric Safety Prevention
2.2. Test Setup
2.2.1. Braking Test
2.2.2. Parking on a Road Gradient Test
2.2.3. Rollover Stability Test
2.2.4. Electrical Safety Test
2.2.5. Sample Tuk-Tuk Candidates
3. Results
3.1. Braking Performance
3.2. Parking on a Road Gradient Test
3.3. Rollover Stability Test
3.4. Electrical Safety Test
4. Conclusions
Author Contributions
Funding
Data Availability Statement
Acknowledgments
Conflicts of Interest
References
- Licea, M.A.R. Robust lateral and longitudinal stability control for delta three-wheeled vehicles with suspension system. Int. J. Veh. Des. 2021, 87, 49–72. [Google Scholar] [CrossRef]
- Chakraborty, S.; Kumar, N.M.A.; Jayakumar, S.; Dash, K.; Elangovan, D. Selected Aspects of Sustainable Mobility Reveals Implementable Approaches and Conceivable Actions. Sustainability 2021, 13, 12918. [Google Scholar] [CrossRef]
- Karmaker, A.K.; Hossain, M.A.; Manoj Kumar, N.; Jagadeesan, V.; Jayakumar, A.; Ray, B. Analysis of using biogas resources for electric vehicle charging in Bangladesh: A techno-economic-environmental perspective. Sustainability 2020, 12, 2579. [Google Scholar] [CrossRef]
- World Health Organization. Global Plan for the Decade of Action for Road Safety 2021–2030. Available online: https://cdn.who.int/media/docs/default-source/documents/health-topics/road-traffic-injuries/global-plan-for-roadsafety.pdf?sfvrsn=65cf34c8_27&download=true (accessed on 9 November 2021).
- Injury Data Collaboration Center; Department of Disease Control; Ministry of Public Health. 43 Files of Accident Data for Injuries and Fatalities from Year 2015 to 2021. Available online: https://dip.ddc.moph.go.th (accessed on 7 November 2021).
- Liščák, Š.; Moravčík, Ľ. Safety requirements for road vehicles. Perner’s Contacts 2013, 8, 49–59. [Google Scholar]
- Dižo, J.; Blatnický, M. Investigation of ride properties of a three-wheeled electric vehicle in terms of driving safety. Transp. Res. Procedia 2019, 40, 663–670. [Google Scholar] [CrossRef]
- Saeedi, M.A.; Kazemi, R. Stability of three-wheeled vehicles with and without control system. Int. J. Automot. Eng. 2013, 3, 343–355. [Google Scholar]
- Goodarzi, A.; Soltani, A.; Shojaeefard, M.H.; Khajepour, A. An integrated vehicle dynamic control strategy for three-wheeled vehicles. Proc. Inst. Mech. Eng. Part K J. Multi-Body Dyn. 2015, 229, 225–244. [Google Scholar] [CrossRef]
- The United Nations Economic Commission for Europe (UNECE). UN Vehicle Regulations-1958 Agreement: Uniform Provisions Concerning the Approval of Vehicle of Categories L1, L2, L3, L4 and L5 with Regard to Braking R78. 2018. Available online: https://unece.org/fileadmin/DAM/trans/main/wp29/wp29regs/2018/R078r2e.pdf (accessed on 27 November 2021).
- Ratchakitcha. Government Gazette to Prescribe Minimal motor Power for Electric Vehicles in Thailand. 2021. Available online: https://ratchakitcha.soc.go.th/documents/17159177.pdf (accessed on 27 July 2022).
- Thomas, G. Fundamentals of Vehicle Dynamics; SAE: Warrendale, PA, USA, 2000. [Google Scholar]
- Hertz, E.S. The Methodology for Predicting Rollover Risk; National Highway Traffic Safety Administration: Washington, DC, USA, 2010.
- İlknur, B.; Aleksandra, F.; San, K.; Rajan, A.; Helene, C.G.; Michael, H.A.; Michael, G.P. The detrimental effects of water on electronic devices. e-Prime-Adv. Electr. Eng. Electron. Energy 2021, 1, 100016. [Google Scholar]
- Pathak, S.; Ahmad, M.M. Flood recovery capacities of the manufacturing SMEs from floods: A case study in Pathumthani province, Thailand. Int. J. Disaster Risk Reduct. 2016, 18, 197–205. [Google Scholar] [CrossRef]
- Zhang, G. Study on Methods of Electric Vehicle Safety Test. In Proceedings of the 13th International Conference on Man-Machine-Environment System Engineering, Yantai, China, 21–25 October 2013; pp. 133–142. [Google Scholar]
- The United Nations Economic Commission for Europe (UNECE). Regulation No. 94 Uniform Provisions Concerning the Approval of Vehicles with Regard to the Protection of the Occupants in the Event of a Frontal Collision. 2017. Available online: https://unece.org/fileadmin/DAM/trans/main/wp29/wp29regs/2017/R094r3e.pdf (accessed on 13 August 2022).
- Keskin, M.; Sekerli, Y.E.; Kahraman, S. Performance of two low-cost GPS receivers for ground speed measurement under varying speed conditions. Precis. Agric. 2017, 18, 264–277. [Google Scholar] [CrossRef]
- Piriyataravet, J.; Kumwilaisak, W.; Chinrungrueng, J.; Piriyatharawet, T. Determining Bus Stop Locations using Deep Learning and Time Filtering. Eng. J. 2021, 25, 163–172. [Google Scholar] [CrossRef]
- Ratchakitcha. Government Gazette for Standard Rural Road in Thailand. Available online: https://www.ratchakitcha.soc.go.th/DATA/PDF/2564/E/025/T_0016.PDF (accessed on 28 September 2022).
- Ratchakitcha Government Gazette for Car Park Building in Bangkok. Available online: https://bmc.go.th/wp-content/uploads/2020/05/ (accessed on 20 October 2022).











| Topics | Equipment & Tools | Test Conditions | Evaluation |
|---|---|---|---|
|
|
|
|
| Topics | Equipment & Tools | Test Conditions | Evaluation |
|---|---|---|---|
|
|
|
|
| Topics | Equipment & Tools | Test Conditions | Evaluation |
|---|---|---|---|
|
|
|
|
| Topics | Equipment & Tools | Test Conditions | Evaluation |
|---|---|---|---|
|
|
|
|
| Items | Specification | |
|---|---|---|
| 1st Candidate | 2nd Candidate | |
| Vehicle type | 3-wheel symmetrical vehicles | |
| Total weight (kerb mass) | 655 kg | 614 kg |
| Total weight (driver mass + passengers mass) | 950 kg | 799 kg |
| Front axle weight | 344 kg | 308 kg |
| Rear axle weight | 606 kg | 491 kg |
| Overall length | 3950 mm | 3430 mm |
| Overall width | 1500 mm | 1470 mm |
| Overall height | 1980 mm | 1870 mm |
| Vehicle wheel base between the front and the rear axles | 2480 mm | 2195 mm |
| Track distance between both rear wheels | 1294 mm | 1340 mm |
| Distance of the centre of gravity from the front wheel | 1582 mm | 1349 mm |
| Height of the centre of gravity | 653 mm | 589 mm |
| Transmission | manual | manual |
| Tire | 155/70R12 | 155/70R12 |
| Tire pressure (front/rear) | 30/30 psi | 30/30 psi |
| Brake (rear brake only) | drum brake | drum brake |
| Suspension | ||
| Front: shock absorber with coil spring | hydraulic | hydraulic |
| Rear: leaf spring and shock absorber | hydraulic | hydraulic |
| Absorber stroke for front/rear | 178 mm/152 mm | 154 mm/140 mm |
| Cylinder diameter of shock absorber for front/rear | 25 mm/49 mm | 20 mm/38 mm |
| Absorption/Damping action | Compression/ Extension | Compression/ Extension |
| Shock absorber | 4200 Ns/m | 3800 Ns/m |
| Leaf spring stiffness | 123.06 kN/m | 123.06 kN/m |
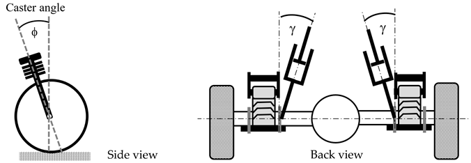
| Front caster angle (ϕ) | 32.8° | 32.6° |
| Distance between centre to the leaf spring | 362 mm | 345 mm |
| Tilt angle of the rear absorber to vertical (γ) | 15.8° | 15.4° |
| Battery | hi-voltage 79.8 V | hi-voltage 79 V |
| Battery type | lithium ion | lithium ion |
| Battery capacity | 400 Wh | 400 Wh |
| Input | AC Adapter 14 V–40 V | AC Adapter 14 V–40 V |
| Output | AC 220 V–50 Hz DC 12 V/2 × 3 A | AC 220 V–50 Hz DC 12 V/2 × 3 A |
![]() | ||
| Vehicles | Max Speed (km/h) | Test Speed (km/h) | Actual Speed When Actuate Brake (km/h) | Max Pedal Force (N), <500 N | Actual Stopping Distance (m), Calculated from Video Camera | Corrected Stopping Distance (m) | Pass Criterion for Stopping Distance (m) | Judgement |
|---|---|---|---|---|---|---|---|---|
| 1st candidate | 47.8 | 45 | ≤12.15 | Pass | ||||
| #1 | 41.35 | 274 | 9.60 | 10.97 | ||||
| #2 | 44.62 | 273 | 16.60 | 16.85 | ||||
| #3 | 53.03 | 260 | 13.04 | 10.07 | ||||
| #4 | 45.09 | 270 | 11.70 | 11.66 | ||||
| #5 | 47.28 | 265 | 15.50 | 14.26 | ||||
| #6 | 45.73 | 263 | 15.00 | 14.60 | ||||
| 2nd candidate | 49.2 | 45 | ≤12.15 | Not pass | ||||
| #1 | 45.60 | 225 | 17.80 | 17.39 | ||||
| #2 | 45.00 | 230 | 14.97 | 14.97 | ||||
| #3 | 44.80 | 249 | 13.70 | 13.80 | ||||
| #4 | 44.30 | 245 | 14.32 | 14.71 | ||||
| #5 | 44.40 | 250 | 12.80 | 13.09 | ||||
| #6 | 44.82 | 240 | 14.72 | 14.82 |
| Vehicles | Hand Brake Force (N), <400 N | Parking Duration (min) | Judgement |
|---|---|---|---|
| 1st candidate | 167 | 5 | Pass |
| 2nd candidate | 194 | 5 | Pass |
| Vehicles | Critical Speed (km/h) | Maximum Speed in Curve (km/h) | Notes |
|---|---|---|---|
| 1st candidate | 15.52 | 16.53 | Wheel lift |
| 2nd candidate | 16.32 | 20.97 | No wheel lifting |
| Water Level (cm) | (Volt) | (Volt) | (Volt) | (Volt) | (Ω) | (Ω) | (Ω/Volt) |
|---|---|---|---|---|---|---|---|
| 20 | 78.8 | 1.5 | 1.0 | 0.030 | 8130 | 20,927,704 | 265,580 |
| 25 | 78.8 | 1.5 | 1.0 | 0.030 | 8130 | 20,927,704 | 265,580 |
| 30 | 78.8 | 1.6 | 1.2 | 0.028 | 8130 | 22,497,740 | 285,504 |
| Water Level (cm) | (Volt) | (Volt) | (Volt) | (Volt) | (Ω) | (Ω) | (Ω/Volt) |
|---|---|---|---|---|---|---|---|
| 20 | 79.7 | 15.08 | 10.41 | 0.018 | 8130 | 35,954,865 | 451,127 |
| 25 | 79.7 | 14.10 | 12.86 | 0.018 | 8130 | 35,951,878 | 451,090 |
| 30 | 79.7 | 8.19 | 75.60 | 2.834 | 8130 | 220,067 | 2761 |
Disclaimer/Publisher’s Note: The statements, opinions and data contained in all publications are solely those of the individual author(s) and contributor(s) and not of MDPI and/or the editor(s). MDPI and/or the editor(s) disclaim responsibility for any injury to people or property resulting from any ideas, methods, instructions or products referred to in the content. |
© 2023 by the authors. Licensee MDPI, Basel, Switzerland. This article is an open access article distributed under the terms and conditions of the Creative Commons Attribution (CC BY) license (https://creativecommons.org/licenses/by/4.0/).
Share and Cite
Mongkonlerdmanee, S.; Wannapor, S.; Boonyalai, P.; Chanthanumataporn, S.; Dangchat, M.; Koetniyom, S. Realistic Approach to Safety Verification of Electric Tricycle in Thailand. World Electr. Veh. J. 2023, 14, 164. https://doi.org/10.3390/wevj14070164
Mongkonlerdmanee S, Wannapor S, Boonyalai P, Chanthanumataporn S, Dangchat M, Koetniyom S. Realistic Approach to Safety Verification of Electric Tricycle in Thailand. World Electric Vehicle Journal. 2023; 14(7):164. https://doi.org/10.3390/wevj14070164
Chicago/Turabian StyleMongkonlerdmanee, Songwut, Sthaphorn Wannapor, Pichest Boonyalai, Saharat Chanthanumataporn, Manus Dangchat, and Saiprasit Koetniyom. 2023. "Realistic Approach to Safety Verification of Electric Tricycle in Thailand" World Electric Vehicle Journal 14, no. 7: 164. https://doi.org/10.3390/wevj14070164
APA StyleMongkonlerdmanee, S., Wannapor, S., Boonyalai, P., Chanthanumataporn, S., Dangchat, M., & Koetniyom, S. (2023). Realistic Approach to Safety Verification of Electric Tricycle in Thailand. World Electric Vehicle Journal, 14(7), 164. https://doi.org/10.3390/wevj14070164


