You are currently viewing a new version of our website. To view the old version click .
Sustainability
  • Article
  • Open Access

25 November 2022

Obtaining bioLPG via the HVO Route in Brazil: A Prospect Study Based on Life Cycle Assessment Approach

,
,
and
Chemical Engineering Department, Polytechnic School, University of São Paulo (USP), Av. Prof. Lineu Prestes, 580–Bloco 18, São Paulo 05508-000, Brazil
*
Author to whom correspondence should be addressed.
This article belongs to the Special Issue Circular Bioeconomy and Valorization of Biowastes into Sustainable Value-Added Products

Abstract

BioLPG is a partially renewable fuel that can be produced by different conversion routes, with vegetable oil hydrotreatment (HVO) being one of the most promising processes. This study uses the Life Cycle Assessment (LCA) approach to assess the environmental impacts associated with this processing. The analysis considered the conditions practiced in Brazil with soybean oil (SO) as raw material, different hydrogen sources, and raw materials’ feed rates in the reaction system. The model was based on secondary data collected for the 2020–2021 biennium, and the environmental impacts were determined for Global Warming Potential, Primary Energy Demand, Terrestrial Acidification, Fine Particulate Matter Formation, Terrestrial Ecotoxicity, and direct Land Use Change. The results show that the SO produced by soybeans grown in Paraná/BR and hydrotreated with H2 obtained by electrolysis ([SO/H2]mol/mol = 1:30) had the best environmental performance in four of the six impact categories analyzed. A complementary analysis also identified the best environmental performances for bioLPG obtained from blending SO from different sources to avoid supplier dependence. Even accumulating worse environmental performance than fossil LPG, renewable fuel has promising prospects for deployment in Brazil. Nevertheless, for this to occur, some actions must be implemented in its production cycle.

1. Introduction

The search for renewable fuels is growing around the globe, not only to reduce the dependence on fossil sources but also as a result of the global concern about Climate Change. Liquefied Petroleum Gas (LPG), a fuel mixture mainly composed of propane and butane at varied proportions [], also has the potential to join this group, becoming partially renewable if produced from feedstocks such as vegetable oils, biomass, and oleaginous residues. A technologically established way for this to occur is the hydrotreatment of vegetable oils (HVO) route, which consists of hydrogenating the triglycerides present in that raw vegetable material []. If conducted under controlled temperature and pressure conditions, the process generates both HVO biodiesel (also called ‘green’ diesel) as the main product and biopropane (bioLPG) as a co-product. From this perspective, bioLPG emerges as a promising drop-in fuel—that is, it does not require any infrastructure changes or adaptation of the equipment in which it will be used when replacing fossil LPG []—while reducing environmental effects associated with energy generation. However, even with less intensity than its non-renewable counterparts, processing bioLPG negatively affects the environment. Thus, a strategically efficient way of dealing with this problem is to systematically investigate the fuel’s environmental performance, identify its potential impacts, and propose solutions for its mitigation, or even elimination []. The Life Cycle Assessment (LCA) technique can conclusively carry out such an assessment because of its systemic and quantitative characteristics [].
Although infrequently, LCA studies of biofuels obtained via the HVO route can be found in the literature over the last decade and a half. Rattenmainer et al. [] performed a Screening LCA to compare the environmental impacts of diesel obtained from Jatropha oil’s hydrotreatment with those generated by the conventional technology, consuming crude oil. Different agricultural processing conditions, soil types, and use of by-products were considered in evaluating the alternative route. The HVO biodiesel from Jatropha outperformed petroleum diesel in resource consumption, Global Warming, and Summer Smog but had worse results in Acidification and Eutrophication. Rattenmainer et al. observed that the Greenhouse Gas (GHG) balances depend on the biomass and carbon stocks when land cover changes occur. In addition, changes in soil transformation resulting from the installation of jatropha plantations also influence GHG emissions. The authors also highlighted the significant potential for reducing global warming when this cultivation takes place on low carbon soils. A similar but broader and current analysis was performed by Arvidsson et al. [], who compared the processing of renewable diesel from rapeseed, palm oil, and Jatropha with fossil diesel. Their results corroborate the observations of Rattenmainer et al. since the ‘green’ diesel presented significantly lower Global Warming Potential (GWP) than conventional diesel oil for all feedstock investigated. Garraín et al. [] conducted an LCA study of HVO biodiesel from co-processing soybean oil with conventional fossil fuel in the hydrotreatment facility of an oil refinery. In that case, even assuming a 13% v/v renewable blend, the estimated environmental benefits of the mix include a Primary Energy Demand (PED) reduction of up to 2.0% and a GWP reduction of 9.0% compared to the diesel entirely fossil.
The references cited above showed that life cycle studies involving the HVO route focus on obtaining ‘green diesel’ and that bioLPG consists (only) of a by-product of this transformation. However, Johnson [] reversed this logic, estimated the environmental performance of biopropane HVO produced from vegetal both raw materials (palm oil, Palm oil Fatty Acid Distillate (PFAD), rapeseed oil, and soybean oil: SO) and one of animal source (tallow, used cooking oil: UCO). The LCA was performed for a scope from ‘cradle-to-gate’ and considered 1.0 MJ of energy associated with bioLPG as the Functional Unit but was limited to contributions to Global Warming. Johnson observed that the impacts varied from 5.2 g CO2eq/MJ–obtained by UCO and considering energy allocation at the HVO unit to 102 g CO2eq/MJ provided by rape oil, with energy allocation and indirect Land Use Change. The author concluded that this range of impact was a consequence of the type of raw material used by the HVO technology and how this input affects the operating conditions. In addition, managing the multifunctional situations identified by the LCA also directly impacted the results obtained.
Brazil occupies the 4th position among the producers of primary grains, generating 12% of the world supply of these assets. This performance is mainly because of the cultivation of sugarcane (in which the country has 39% of world production), soybean (34%), and corn (7.2%) []. These expressive results can be attributed to the privileged conditions of the country in terms of extension, topography, edaphoclimatic aspects, variety of soil types, and the development of practices and tools for the exercise of precision agriculture. The context also offers a promising perspective for biofuel processing. Thus, research continues to be conducted concerning first-(1G) and second-generation (2G) sugarcane ethanol and bioelectricity [,,,,]. However, the recent academic publications on biodiesel developments in Brazil are more sparse and varied. This group includes the study by Coutinho et al. [] on the properties of biodiesel obtained from seed oils of six native Atlantic forest species in the Northeast. Altamirano et al. [] compared the environmental performance of biodiesel production from ethyl and methyl soybean ester through LCA, while, Kunh et al. [] explored the use of residual chicken fat (e.g., sludge oil) recovered in treating effluents from poultry industrialization as a raw material for producing methyl ester. The biodiesel analyzed in all these studies is from the Fatty Acid Methyl Esters (FAME) type, obtained by alkali-catalyzed transesterification of fats (of vegetal oils) and methanol. Only recently, HVO biodiesel has been analyzed as another renewable fuel alternative for heavy vehicles in the country. In one of these studies, Julio et al. [] evaluated options for the use of the green diesel considering avoided emissions, potential for granting decarbonization credits and investment feasibility. When comparing their results to those obtained by fossil diesel and FAME biodiesel, the authors concluded that it is possible to grant decarbonization credits for HVO diesel consumed in Brazil and that its use in the domestic market is profitable.
Corroborating the conclusions of Julio et al., the Brazilian government also identified HVO biodiesel as an alternative capable of serving the domestic cargo transport market. Based on this finding, the National Agency of Petroleum, Natural Gas and Biofuels (ANP) regulated (Resolution n. 842/2021) technical specifications to be met by this biofuel []. Following in the same direction, RenovaBio, a government policy that recognizes the strategic importance of biofuels for the country’s energy matrix, prepared medium and long-term expansion plans that place HVO diesel among the sources of bioenergy supply [,]. By implementing this strategy, public management compulsorily raised bioLPG production to levels that would also allow it to claim a share of the gas-chemical market. However, it is essential to realize that despite federal incentives, there is no evidence that HVO biodiesel replaces fossil diesel or even FAME biodiesel and that the generation of BioGLP resulting from this process discontinues the manufacture of fossil LPG. On the contrary, trends point to an increase in the supply of biofuel options in the national territory, intending to make this market healthier (eliminating regional monopolies), competitive (correcting technological gaps), and sustainable (reducing environmental impacts).
Seeking to contribute to the theme, this study follows a line of investigation similar to that explored by Johnson and Julio et al., when verifying the environmental performance of bioLPG for processing conditions available in Brazil for the practice of the HVO route. For this, we restricted the source of vegetable raw material to soybean oil. However, three other parameters were examined: (1) the source of SO, (2) the source of H2 needed for the hydrogenation reaction, and (3) the [SO/H2] ratio. The planning resulted in different scenarios whose environmental performance results were compared with each other and with those achieved by the LPG fossil manufactured from crude oil refining. In either situation, environmental performances were determined by LCA for a ‘cradle-to-storage’ scope. The analysis was based on secondary data collected in the Ecoinvent database, complemented by records extracted from articles, technical reports, and official documents with temporal coverage from 2020–2021. The geographic delimitation was restricted to specific regions of Brazil (leading soybean-producing states and the bioLPG HVO production plant, which for this study was located in Paulínia, in the countryside of the State of São Paulo). The environmental impacts of each arrangement were defined in terms of Global Warming Potential (GWP), Primary Energy Demand (PED), Fine Particulate Matter Formation (PMF), Terrestrial Acidification (TA), Terrestrial Ecotoxicity (TET), and Direct Change of Land Use (dLUC). Finally, the study also identifies and evaluates the environmental performance of bioLPG blends obtained from soybean oils produced in different regions. To conduct this analysis, we apply single-score environmental indicators integrating the results of the impact categories. It is expected that the results generated by this investigation can help consolidate the HVO bioLPG as a renewable alternative to fossil LPG available in the Brazilian market and motivate its processing on an economic scale in the country in the medium term.

2. Materials and Methods

The method used to conduct this study comprised the steps of (1) specification of HVO bioLPG processing and Fossil LPG manufacturing in terms of operational conditions, technological approach, reaction mechanisms, type and origin of raw materials, as well as resource consumption and emissions; (2) definition of analysis scenarios; (3) design of models to represent each arrangement based on the data and information obtained in step one; (4) application of the LCA technique to formulate the environmental diagnosis of each scenario; (5) analysis of the results obtained; and (6) estimation of single-score indicators and extension of the environmental diagnosis for composing SO blends from different regions.

2.1. Specification of the HVO Process

Catalytic hydrotreating technology can convert crude and refined vegetable oils, cooking process waste oil, and animal fats into biofuels [] with high conversion rates (η ~ 89%) through a hydrogenation reaction []. The main product of this transformation is HVO biodiesel, a second-generation biofuel commercially distributed by several biorefineries such as Neste (located in Netherlands and Finland), ENI (Italy), and Diamond Green (United States), among others [,]. In addition, the process generates biopropane HVO as a by-product, which, as already mentioned, was referred to in this study as bioLPG.

2.1.1. Hydrogenation Reaction

Vegetable oils and natural fats are organic compounds made primarily of triglycerides, a molecule consisting of a 3-carbon chain connected by an ester-linked to three fatty acid chains. In the initial stage of hydrotreatment, long chains of fatty acids are formed by breaking their bond with the 3-carbon skeleton by adding H2. After that, the oxygen atoms existing in the structure of fatty acids are removed through different reaction mechanisms, i.e., decarboxylation, decarbonylation and deoxygenation [,,,], producing hydrocarbons that undergo cracking and isomerization processes to produce HVO biodiesel and other liquid biofuels []. The reaction also produces a propane molecule in addition to CO2 and water (Scheme 1).
Scheme 1. Example of hydrogenation reaction of triglycerides.
A literature review identified that the primary feedstock used by the HVO route are vegetable oils such as Jatropha, palm, rape, rapeseed, sunflower, soybean oils, and waste oils such as UCO [,]. However, as mentioned before, this study only considered soybean oil as a source of triglycerides. This option was because Brazil is the world’s largest grain producer, producing about 136 Mtons in the 2020–2021 crop year []. In addition, the production industry of this oil is well established, so much so that in 2020, the country processed more than 194 ktons of SO daily and refined the other 24 ktons [].
Sonthalia et al. [] summarized parameters reported in the literature as operational conditions of the HVO route. The process, in whose evolution is potentialized by a catalyst, commonly occurs in a fixed bed reactor (FBR) under extreme conditions in terms of temperature (300–400 °C) and pressure (2.0–20 MPa). Although the stoichiometric molar ratio [oil/H2] is 1:12, it is common for these systems to operate with other proportions of 30, 50, and up to 100 mol/mol. Excess hydrogen provides a high rate of conversion of vegetable fat into products, which can vary between 93–96% depending on the O2 removal mechanism from the triglycerides molecule and the pressure with which H2 is injected into the reactor (3.0–6.0 MPa) []. The raised amounts of H2 in the reaction medium also strongly influence the hydrogenation and deoxygenation operations, affecting the cracking efficiency. Two types of catalysts are used to accelerate the process: a conventional bimetallic sulfide catalyst (e.g., NiMoS2, CoMoS2) or NiWS2 supported on Al2O3 monometallic catalysts, in particular Ni, Pd, Pt, Rh []. The output ratios [HVO biodiesel/HVO bioLPG] also vary depending on the operational conditions and feedstock. According to Johnson [], it is possible to achieve values from [10:1] w/w for bioLPG compared to biodiesel. However, an analysis performed for Liquid Gas Europe [] pointed to a more pessimist scenario, with an output of [20:1] w/w.

2.1.2. Separation of Products

After the hydrogenation, the reactor outlet is fed to a three-phase separator to split the vapor and liquid phases from hydrocarbon and water []. The vapor phase goes to an acid scrubber unit to recover H2 recirculated into the FBR reactor; the liquid stream is treated in a distillation column. The distillation top stream is a vapor bioLPG-rich mixture. In contrast, the bottom stream is a liquid alkane-rich mixture that goes to a cracking/isomerization unit to produce HVO biodiesel and other liquid biofuels such as ‘green’ Naphtha and ‘green’ jet fuel (Figure 1).
Figure 1. Process diagram for the HVO process (adapted from [,,]).

2.2. Description of Fossil LPG Manufacturing

Fossil LPG can be manufactured naturally from underground extraction. Another way to obtain it is as a co-product of natural gas processing (by extracting from the wet natural gas stream) or crude oil refining. This last alternative is frequently used in Brazil due to the characteristics and properties of its carbonaceous reserves [].
The process starts with pumping the already desalted petroleum from the storage tank to a heating unit (furnace), where its temperature will be raised to a maximum of 400 °C to avoid the formation of cracking products. Under these conditions, the oil is introduced into a distillation column’s vaporization (or flash) zone. Then, taking advantage of the differences between the boiling points of the various constituents of petroleum, distillation promotes successive condensations that separate it into the basic fractions of refining: fuel gas: C1–C2; LPG: C3–C4; naphtha, including gasoline: C5–C10; kerosene: C10–C15; diesel oil: C13–C25; lubricating oil: C25–C38; and background residues: C38+. The LPG is extracted from the top of the equipment at temperatures between 40 and 70 °C. Typically, 4.0–5.0% of raw oil can be extracted as LPG; however, this performance can decrease to less than 1.0% depending on the quality of the fossil resource [].
During petroleum refining, LPG can also be obtained through thermal cracking (TC), a conversion process that consists of breaking molecules of heavy fractions (e.g., deasphalted oil and bottom residue) by the action of high temperatures (450 to 750 °C) and pressures (up to 70 bar). Mainly aimed at obtaining gasoline, TC also generates light and residual oils, and coke as coproducts, in addition to LPG. However, the high costs and complexity of operation led TC to be replaced by fluid catalytic cracking (FCC). In this case, the presence of silica (SiO2) and alumina (Al2O3) based catalysts allows the chemical reactions involving the FCC charge to occur under milder conditions (530 °C; 1.70 bar) than those required by TC. Catalysts also transport the coke deposited on their surface to the regenerator to be converted into thermal energy and transfer heat from the combustion zone to the charge heating and vaporization region. The processing chain is completed with operations to adjust the product’s quality, such as removing sulfur and other impurities such as ethane, propane, butane, and water [].

2.3. Scenarios Definition

As mentioned earlier, the process of defining scenarios for this stage of the study was conducted taking into account the following parameters: (1) origin of the SO; (2) sources of H2; and (3) [SO/H2] ratio. The states of Goiás (GO), Mato Grosso (MT), Mato Grosso do Sul (MS), Paraná (PR), and Rio Grande do Sul (RS) were selected to represent the soybean production zones. This choice was because these regions corresponded to the largest Brazilian producers of this agricultural commodity in the 2020/2021 harvest [] (Table 1).
Table 1. Soybean production volumes and agricultural productivities by Brazilian state for crop 2020/2021.
In addition, according to official records, soybean oil processing is conducted in the cultivation areas’ surroundings []. Based on this information, we assumed that each soybean producing state extracts the oil within its territory and that there is no distribution of grains to oil processing plants located in states other than the one in which they are grown.
The production of green diesel and its co-products from the HVO route predisposes the consumption of high amounts of hydrogen. In most cases, H2 is generated in crude oil refining units through steam reforming of hydrocarbons. Current taxonomy classifies this input as ‘gray H2’ owing to its fossil origin and the absence of carbon capture techniques []. The fact that ‘gray H2’ accumulates significant environmental impacts along its production chain, which are transferred to the products that use it, associated with a movement to unlink the petrochemical sector, intensified the search for solutions capable of obtaining hydrogen from less aggressive routes. Water electrolysis is one of the most promising options of this new generation of technologies [], mainly when the energy demand of the process is supplied by a predominantly renewable grid such as the existing in Brazil []. This circumstance meant that the study also examined such an alternative for obtaining bioLPG.
Finally, as described in the section ‘Hydrogenation reaction’, an excess of hydrogen is needed to ensure high triglycerides conversion. Thus, two different [SO/H2]mol/mol ratios were analyzed in the research: 1:30 and 1:50 [,]. All the scenarios established from the combination of these variants are depicted in Table 2.
Table 2. Scenarios evaluated for the production of green diesel and bioLPG.

2.4. Life Cycle Modeling

The elaboration of the environmental performance diagnoses of the scenarios under analysis followed the methodological guidelines established by the ISO 14044 standard []. For all these cases, the LCA technique was applied in the attribution modality for a ‘cradle to storage’ scope, considering the ‘production of 1.0 kg of bioLPG’ as the Reference Flow (RF). The absence of bioLPG production units using HVO technology installed in Brazil makes this study prospective. Thus, the modeling of all variations of the Product System under analysis was based on secondary data collected from the Ecoinvent database. These sets presented gaps and inconsistencies, mainly concerning the potential conditions of operation of the process in Brazil, which was filled with data and information collected in articles and reports, and official documents published by governmental institutions. We also established that the temporal coverage used for data collection should comprise the biennium 2020–2021 to give a current character to the research. The geographic dimension comprised the soybean cultivation and oil extraction areas described in the section ‘Scenarios definition’. We also assumed that the HVO production unit would be located in Paulínia, one of the petrochemical complexes in the state of São Paulo (SP), close to the Paulínia Plateau Refinery (REPLAN), where ‘gray H2’ is produced. In addition, we supposed that the gas would be stored in the vicinity of the São Paulo capital, which appears as a natural candidate to be the country’s leading consumer center of bioLPG. Finally, the technological coverage includes operational constraints described in the section ‘Specification of the HVO process’.
Table 3 shows the distances considered for the purpose of transport modeling. The extensions between the soybean cultivation area and the oil extraction units (L1) of each grain product state were determined from the weighted average by the production volume between these zones and the central oil production unit of the region. These routes are by road and were covered by EURO 4 trucks, with more than 20 t of load capacity. The same procedure, including the characteristics of the vehicles, was adopted to distribute soybean oil to the HVO plant (L2) and bioLPG to storage areas (L3).
Table 3. Average distances used for logistics and transport modeling.
Two situations of multifunctionality were identified in the product systems under analysis. The first one occurs during oil extraction, in which, in addition to that active ingredient, soap stock and soy lecithin are also produced in average mass ratios [1000:23:20] []. The second multifunctional situation occurs in the HVO plant between green diesel and bioLPG. According to Hopwood et al., for the average operating conditions of that process, for each processed ton of green diesel, 50 kg of bioLPG are simultaneously obtained []. Taking these indicators into account, both situations of multifunctionality were treated by allocation based on mass criteria.
The Life Cycle Impact Assessment (LCIA) was conducted from different perspectives. First, we considered the environmental impacts of Greenhouse Gas (GHG) emissions on the atmosphere. This analysis was performed in terms of the Global Warming Potential of each arrangement from the method proposed by the Intergovernmental Panel on Climate Change (IPCC) 2013–for 100 years []. The option to consider GWP among the impact categories evaluated by the study is because it is a major contemporary environmental problem. After that, we considered the Primary Energy Demand of each scenario. The estimates conducted in this environmental dimension were based on the Cumulative Energy Demand (CED) method–v1.11, which arranges the contributions between renewable and non-renewable energy sources []. Finally, the LCIA was also developed considering the environmental impacts associated with Fine Particulate Matter Formation (PMF), Terrestrial Acidification (TA), Terrestrial Ecotoxicity (TET) and direct Land Use Change (dLUC), all of them based on the method ReCiPe 2016 Midpoint (H) V1.04/World (2010) H [].
The energy efficiency of the bioLPG was also estimated by the Energy Return On Investment (EROI), a widely adopted indicator to gauge the energy performance of biofuels. The index is defined as the ratio of energy delivered by the fuel and the energy invested in its obtaining [,]. For this study, the EROI of each scenario was calculated as the ratio between its Lower Heating Value (LHV = 46.35 MJ/Kg []) and the PED obtained for each system.
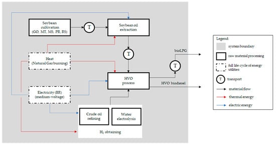
Figure 2 depicts the boundaries (light gray surface) with the Product System environment set to perform each analysis. The white background blocks with complete lines indicate the unit processes with all the environmental loads (consumption and emissions) associated with the life cycle necessary to produce the raw materials (soybeans, oil, and H2) consumed throughout the process. In addition, all life cycles of energy utilities (thermal energy and electricity) were represented by dotted blocks. Finally, the two options for obtaining H2 that were considered by the study (steam reforming of hydrocarbons in oil refinery and water electrolysis) are highlighted in the Product System scheme.
Figure 2. Product system defined to carry out the environmental analysis of bioLPG production.
The calculations for preparing the Life Cycle Inventories and determining the diagnosis of environmental impacts were performed with the software SimaPro v 9.1 from PreSustainability® []. SimaPro performs such estimates by applying the multiplication of matrices. First, the matrix that describes environmental loads associated with a particular life cycle stage is multiplied by the transposed matrix of technical coefficients to adjust them to the RF defined for the study to generate the Life Cycle Inventory (LCI) of each scenario. Then, during the LCIA step, the matrix describing the LCI is multiplied by the transposed matrix of equivalence factors from the impact categories selected for the study [].

2.5. Life Cycle Inventory (LCI)

As noted before, the consolidated LCI for each scenario was prepared based on secondary data adapted to represent the conditions available in Brazil for the operation of these systems. The same procedure has been applied to raw materials (soybean oil and hydrogen) and inputs (thermal energy and electricity). The original data are part of the Ecoinvent database collection, as the following datasets: (1) soybean production: Soybean {BR-GO}|soybean production|APOS, U; Soybean {BR-MS}|soybean production|APOS, U; Soybean {BR-MT}|soybean production|APOS, U; Soybean {BR-PR}|soybean production|APOS, U; and, Soybean {BR-RS}|soybean production|APOS, U; (2) oil extraction and refining: Soybean oil, crude {BR}|soybean meal and crude oil production|APOS, U, and Refined soybean oil (solvent), at processing/BR Mass; and (3) Hydrogen (H2) processing: Hydrogen, gaseous {BR}|hydrogen production, gaseous, petroleum refinery operation|APOS, U*; and Hydrogen, liquid {RER}|chlor-alkali electrolysis, membrane cell|APOS, U.
The life cycle of natural gas was modeled following a similar strategy, with the activities of extraction (onshore and offshore), refining, and distribution of the finished product, gathered from the dataset: Natural gas, at production/RER. The Brazilian electricity network (BR network) was edited according to the average share of sources available in 2020 []. At that time, most of the electricity generated in the country came from hydroelectric plants (65%), followed by thermoelectric processes operated with biomass, particularly sugarcane bagasse (9.1%), and natural gas (8.3%), and by wind power (8.8%). In addition, road transport was modeled from the Transport, truck > 20 t, EURO4, 100% LF, empty return/GLO Mass inventory.
Finally, the inventory of environmental loads associated with LPG fossil processing was structured from the dataset: Liquefied petroleum gas {RER}|liquefied petroleum gas production, petroleum refinery operation|APOS, U, also available on Ecoinvent base. As with other LCIs, this record was treated by customization procedures so that it could adequately and consistently describe the operating conditions practiced in Brazil. To this end, data collected in [,,] were incorporated into the dataset, followed by applying material and energy balances to promote the harmonization of its consumption and emissions.

3. Results and Discussion

Table 4 presents the environmental performance diagnoses and the EROI calculated for all bioLPG processing scenarios evaluated in this study. The results show that scenario n.4 (S4), which combines oil extracted from soybeans grown in Paraná (PR), and H2 obtained by electrolysis in the proportion of [1:30] mol/mol, obtained the best results for Global Warming Potential, Fine Particulate Matter Formation, and Terrestrial Ecotoxicity. Furthermore, the best performances in terms of Terrestrial Acidification and direct Land Use Change were achieved when the SO consumed by HVO technology proceeded from Mato Grosso do Sul (MS) as occurs in S2. On the other hand, bioLPG production from the reaction between oil extracted in Mato Grosso (MT) and hydrogen processed in an oil refinery [1:50] mol/mol (S18) provided the most significant environmental impacts from the entire series for any of the impact categories analyzed.
Table 4. Environmental performance of HVO bioLPG in different production scenarios.
Now, from another perspective, the comparison between bioLPG and fossil LPG exposes weaknesses in biofuel processing in how it was conceived. The main one is in terms of Global Warming Potential, a category for which none of the scenarios under analysis could surpass the performance achieved by the LPG fossil. Although petroleum distillation and thermal and catalytic fluid cracking are energy-intensive processes, their accumulated CO2 emissions (321 g/RF) are much lower than those associated with soybean oil processing (383 g/RF), the production per se of bioLPG (426 g/RF), and the transport operations. In addition, fossil LPG has always been less aggressive than its partially renewable counterpart in Terrestrial Ecotoxicity, as it does not cause emissions of fertilizers and agrochemicals to the soil. Likewise, non-renewable fuel has a low contribution to direct Land Use Change, as crude oil extraction in Brazil is predominantly offshore [].
bioLPG was superior to fossil LPG in terms of Terrestrial Acidification in most of the proposed scenarios. The exceptions were the arrangements involving soybean oil processed in MS (S3, S8, S13, and S18), for which the displacement of this asset to the HVO plant takes place along a path L2 of 1825 km when they are issued expressive amounts of SOx and NOx. The same occurs with S16 and S20, which register the lowest agricultural productivity among the soybean-growing regions. Therefore, GO and RS report high NOx and SOx emissions, given moving diesel-operated agricultural machinery. As for Fine Particulate Matter Formation, the results in Table 5 show that only bioLPG processed with oil extracted in PR or MT, which are places of high agricultural productivity and provide moderate displacement distances, could outperform fossil LPG.
Table 5. Different soybean oil supply arrangements.
The association between the agricultural productivity achieved in each soybean cultivation zone (Table 1) and the distance traveled by the oil to the bioLPG production plant (Table 3) conditioned the Global Warming Potential and Primary Energy Demand results for all the scenarios. Therefore, arrangements involving soybean grown in PR state (S4, S9, S14, and S19)—where the average productivity is 3.30 ton/ha–obtained better results in both categories than their congeners for cases in which the hydrogen origin or the [SO/H2] ratio was the same.
Soybean cultivation in Brazil follows relatively standardized practices []. Thus, agricultural productivity is influenced by natural factors such as soil type, regional rainfall, and relief characteristics. These conditions make PR achieve technical performances from 5.8% to 22% higher than those recorded by other locations and, therefore, outperform its competitors in terms of specific impact (/kg of soybean produced) in the agricultural stage of the product system. The performance was decisive in offsetting the consumption of diesel (and, consequently, the extraction of crude oil associated with it), as well as the emissions of CO2 (primary precursor of Global Warming Potential), NOx, and SOx (causing agents of Particulate Matter Formation and Terrestrial Acidification) generated during the transportation of soybean oil from the extraction unit to the bioLPG processing. Even with a displacement L2 for 920 km (Table 3), the product systems referring to the PR (S4, S9, S14, and S19) recorded lower environmental impacts than those achieved by the arrangements involving GO (S1, S6, S11, and S16) in which L2 extends for 825 km.
Productivity also influences the impacts of Terrestrial Ecotoxicity, as losses from pesticides and fertilizers (mainly in the forms of phosphate and potassium derivatives) to the soil vary directly with the amount of soybean produced in each region. However, in the case of direct Land Use Change, the effect of that parameter is dampened because of the intervention of two other components: (1) the growth rate of soybean crops in each state and (2) the type of anthropic enterprise this crop replaces. For example, while in Paraná, soybean replaces only other crops (beans and coffee). Mato Grosso advances over corn and cotton crops and settles in areas occupied by pastures, whose management significantly impacts the soil. Thus, the expansion of soybeans in MT provides direct Land Use Change effects equivalent to those achieved in PR, even with the disparity in productivity.
The origin of hydrogen appears as the second most influential factor in the environmental behavior of process variants for bioLPG production. From this perspective, the H2 obtained from water hydrolysis was always less aggressive to the surroundings than the petrochemical route, despite this being an energy-intensive process. Comparing the S1–S5 subgroup scenarios with their S11–S15 counterparts–in which hydrogen is obtained during oil refining–for a ratio [SO/H2] = 1:30 reveals gains of 260 g CO2 eq/FR for Global Warming Potential and 29.4 MJ/RF for Primary Energy Demand just because of this modification. Similar behaviors were observed for Fine Particulate Matter Formation (220 g PM 2.5 eq/FR), Terrestrial Acidification (640 g SO2 eq/FR), and Terrestrial Ecotoxicity (290 g 1,4-DB eq/FR). When comparing the series for the ratio [SO/H2] = 1:50 (S6–S10 vs. S16–S20), the benefits of electrolysis on the petrochemical process were even more significant, providing reductions of 420 g CO2 eq, 48.6 MJ, 370 g PM 2.5 eq, 1.06 kg SO2 eq and 490 g 1,4-DB eq, respectively. These findings only confirm the need to obtain hydrogen from alternative routes, which should also be less impactful.
The benefits of electrolysis are directly related to the characteristics of the Brazilian electricity matrix, which in 2020 comprised, on average, about 85% of renewable energy provided by sources of hydraulic (65%), biomass (9.1%), wind (8.8%) and solar (1.7%) []. Therefore, the locations of the HVO plants to be installed in the country must consider the characteristics of the local energy grid if water electrolysis is viewed as a source of H2 supply, even if the national electrical system is interconnected. The gains in bioLPG production achieved with the intensification of H2 dosage, when [SO/H2] rises from 1:30 to 1:50, were nullified by the added impacts provided by this action. For hydrogen produced by electrolysis (S1–S5 vs. S6–S10), we noted only slight increases in the contributions of Global Warming Potential (which varied between 1.1 and 4.9%), Primary Energy Demand (2.4–4.9%), Fine Particulate Matter Formation (0.58–5.6%) and Terrestrial Acidification (2.3–6.4%). On the other hand, by feeding more hydrogen in the FBR when it was obtained from steam reforming (S11–S15 vs. S16–S20), the effects were potentiated, resulting in much more expressive variations for the same impact categories: Global Warming Potential: 3.9–13%, Primary Energy Demand: 20–31%; Fine Particulate Matter Formation: 2.3–18%; and Terrestrial Acidification: 8.5–19%. While these findings are consistent and conclusive, the exact extent of the influence of H2 application on the overall environmental performance of bioLPG production via HVO technology deserves to be examined in greater depth. For this, the global conversion rates of the process, as well as the environmental impacts generated by it in each situation, must be determined considering other parameters of the process (e.g., temperature and pressure in the reactor and the fractionation tower, type of catalyst, or degree of H2 recovery in the gas scrubber) in addition to the oil-hydrogen ratio.
As it could not be otherwise, the energy performance estimates made from the EROI index only ratified the profile indicated by the impacts of the Primary Energy Demand. However, two aspects should be highlighted in this verification. Initially, only S2, S4–S7, S9, and S10 scenarios surpassed the value of producing propane from a fossil route. For this to occur, soybean oil had to be extracted from crops installed only in the states of PR, RS, and MT, and its hydrotreatment must be conducted with H2 obtained by electrolysis. Furthermore, the [SO/H2] ratio seems to have only a secondary influence on this performance. For bioGLP to be considered effective in terms of energy balance (EROI > 1.0), conditions become even more restrictive, making it mandatory that [SO/H2] = 1:30 and that soybean oil only come from PR or MT.
This exploratory study fulfilled its original objective of verifying the environmental performance of obtaining bioLPG from the HVO route for conditions available in Brazil. However, the initial expectations that fuel from renewable sources would generate lesser impacts than its fossil counterpart were not confirmed, even for the arrangements that obtained the best results among the analyzed options. The reasons for this have been exposed and discussed in detail in this section. Yet, there are technically robust alternatives (or pathways), which, when implemented at different stages of the bioGLP production chain, could reduce adverse effects on the environment and thus make it more environmentally sustainable and eco-friendly.
An example of conduct within this line of the approach consists of replacing natural gas with bioLPG as a source of heat generation in the oil extraction units (during the pressing of the grains) and in the HVO plant, which could even be designed from of the concept of energy integration (EI). These actions aim to reduce system contributions to Global Warming Potential and Primary Energy Demand.
Another cause of impacts for the same categories lies in the origin of the hydrogen. Although the electrolysis technology has proved to be more suitable than the steam reforming of hydrocarbons for the generation of this asset, the production of H2 can still be less aggressive. According to the Energy Research Company (EPE), electrolysis can be conducted with an electrical grid consisting only of wind and photovoltaic sources, thus giving rise to the so-called ‘green H2’ []. The same source also suggested ways to reduce the impacts of Global Warming Potential and Primary Energy Demand, the manufacture of H2 via steam reforming of natural gas, with EI and coupled to a Carbon Capture Usage and Storage (CCUS) system (‘blue H2’), and the thermal cracking of methane, also with EI + CCUS (‘turquoise H2’).
The selection of the most suitable location for implementing the HVO unit is another management procedure that tends to yield environmental benefits. In addition to the proximity to fuel consumption centers located in the Southeast region of Brazil, this choice must take into account the sources of production of raw materials, which in the case of soybeans, are concentrated in the Midwest and South of the country. The H2 production technology will also influence this process since the electrolysis should be installed on the coast. At the same time, the logic based on the treatment of natural gas, methane, or hydrocarbons should be close to (or perhaps even inside) refineries. The location of the process units will focus on transport logistics, which in addition to contributing to GWP and PED, emits precursors for Terrestrial Acidification and Fine Particulate Matter Formation. An even longer-term measure would be to explore substituting road for rail for the transportation of soybean grains or oil.
The performance of the process in terms of Terrestrial Ecotoxicity necessarily involves the reduction of losses of fertilizers (phosphate and nitrogen) and agrochemicals. For this to occur, it is suggested to implement intercrops between soybean and corn, or even rotational crops, soybean-corn for hot and dry regions (MT, MS, and GO) and soybean-oats, wheat, or barley, for cold areas (PR and RS). In addition to reducing the primary macronutrient needs of crops, these alternatives curb losses and distribute environmental loads (and therefore impacts) among agricultural products []. In addition, in long-term measures, it would be worth investing in genetic research to generate more pest-resistant strains of soybeans. Finally, effects resulting from direct Land Use Change could be attenuated if soybean crops were installed where pasture areas, as is already occurring in Mato Grosso, or degraded areas []. Another possibility, which would also influence the contributions to TE, would be to seek (or develop) management practices capable of increasing agricultural productivity at the regional level.

Impact of Soybean Oil Supply from Different Regions

The obtained results point to the state of Paraná as the origin of soybean oil with the less environmental impact on bioLPG in all categories analyzed by the study. On the other hand, the concentration of this supply in just one region can lead to commercial problems (e.g., price inflation, formation of speculation stocks, and creation of cartels) and logistical difficulties (delay or discontinuation of supply, waste of material resources or labor, and generation of unnecessary costs) capable of jeopardizing the fuel processing. Therefore, to make the deterministic character of the previously analyzed scenarios more flexible and to increase the model’s degree of reality, this study stage evaluated the environmental performance of bioLPG production using soybean oil mixtures from different centers.
Soybean cultivation and oil extraction origins were matched in pairs following the scheme shown in Table 5, and according to variable relative shares: [100:0]; [80:20]; [60:40]; [40:60]; [20:80]; [0:100]. The process modeling considered hydrogen derived from electrolysis and [SO: H2] ratio = 1:30, as these conditions surpass their counterparts in generating impacts. The LCA was applied to similar conditions to those adopted in the previous stage of this investigation, with the environmental performance of each component of the fuel mixture being described by a Single-Score Indicator (SSI).
The SSI is calculated by dividing the results of the impact categories of each analyzed scenario by their homologous obtained for a reference scenario. In this study, we chose S4 (which involved the state of Paraná) as the default because of its satisfactory performance. The values generated from this normalization are dimensionless and, therefore, can be added to compose the SSI. Such conduct is methodologically acceptable, as ISO 14044 describes it as a non-mandatory procedure in the LCA method’s Life Cycle Impact Assessment stage []. The formulation of single impact indicators has been successfully applied to compare the environmental performance of different human activities. Some examples of this practice for Brazilian conditions are the studies conducted by Florindo et al. to reduce the carbon footprint of the cattle meat processing chain [] and Morita et al., who sought to reduce the impacts of jeans manufacturing []. The same occurred with Sakamoto et al. by designing a closed water loop for an oil refinery that would minimally affect the environment [].
Table 6 presents SSI values for bioLPG processing with soybean oil from different origins, and Figure 3a,b describe the results of the weightings between the analyzed arrangements. According to Figure 3a, a mixture of bioLPG from soybean grown and processed in Mato Grosso and Goiás (MT/GO) has an environmental behavior similar to that achieved by the binomial MT/RS. The same occurs between the MT/MS and MT/PR pairings.
Table 6. Normalized impacts and SSI for bioLPG production with soybean oil from different origins.
Figure 3. (a) Single-Score Indicators for MT/GO (blue); MT/RS (red); MT/MS (green) and MT/PR (orange); (b) Single-Score Indicators for GO/RS (blue); GO/MS (black); GO/PR (red); RS/MS (brown); RS/PR (green) and MS/PR (orange).
These findings suggest that carrying out a decision-making process to identify the most suitable arrangement between A1 and A2, or between A3 and A4, would not need to consider environmental performance as a selection criterion. In addition, and as expected, the adverse effects of the participation of MT in those arrangements (SSIMT = 21.3) would be more easily mitigated if the integration occurs with MS or PR, as they register satisfactory collective performances (SSIPR = 6.00 and SSIMS = 6.20).
Let us observe the same context under a theoretical management perspective, according to which the maximum acceptable environmental impact for bioLPG blends was set at SSImáx = 15.0. Considering the performances shown in Figure 3a, this condition would be met by arrangements A1 and A2, only for compositions in which the shares of soybean oil produced in MT were, respectively, 40% and 38%. Conversely, when the weighting occurs with soybeans from MS (A3) or PR (A4), the input of MT increases, reaching up to 57%. If the required environmental performance reached SSImáx = 10.0, only A3 and A4 could meet the restriction, limiting the share of MT to no more than 26%.
The graphs depicted in Figure 3b are smoother than the previous ones because the global performances of the parameters involved in these cases are less heterogeneous (6.00 < SSI < 11.1) than those registered in Figure 3a. On the other hand, the same circumstance leads to performance overlaps as occurs among A6–A8 and with A9–A10, and profile parallels, such as between A5 and A9–A10. The juxtaposition of the curves means that the bioLPG blends would have equivalent environmental performances, even if the soybean oils used in these processes came from GO/MS, GO/PR, or RS/MS.
Parallelism occurs between pairs whose SSI of the components are close enough that the effect caused by the weighting is not noticeable. Therefore, strictly speaking, in these situations the origin of the soybean oil is no longer relevant for the purpose of applying the environmental variable to manage the process.

4. Conclusions

This study applied the Life Cycle Assessment (LCA) technique to investigate environmental effects, measured in terms of Global Warming Potential (GWP) and Primary Energy Demand (PED), derived from variation in origins and sources of raw materials and process parameters associated with obtaining bioLPG from the hydrotreatment of vegetable oils (HVO) route for conditions practiced in Brazil.
To this end, 20 scenarios were established, considering aspects such as the origin of soybean and its derived oil, source of hydrogen supply, and [SO/H2] ratio administered to the process reactor. The study was conducted via LCA application in the attributional modality, for a scope from cradle-to-gate and having as Reference Flow ‘producing 1.0 kg bioLPG’.
The analysis revealed that the bioLPG produced with SO from soybean grown and processed in Paraná, using H2 obtained from electrolysis and with an [SO/H2] ratio of 1:30, produced the best results for LPG and PED of all the series. In this context, the agricultural productivity of soybean cultivation and the distance ‘farm–oil extraction unit–HVO unit’ conditioned those environmental performances. In addition, the fact that bioLPG is a renewable source provided significant reductions in the impact of GWP (which was negative), as Brazilian soybeans have a high capacity for absorbing CO2 from the air.
The use of H2 derived from water electrolysis proved to be much less impactful than crude oil refining. However, this finding was influenced by the fact that the Brazilian grid is mostly made up of renewable sources. The technical efficiency gain provided by the introduction of more hydrogen in the reactor per unit of soybean oil was not accompanied by the improvement in the overall environmental performance of the process. In any case, this analysis bias would deserve an in-depth study, in which a larger list of reasons [SO/H2] would be evaluated. Finally, for bioLPG produced in Brazil to have a positive energy balance, it must be obtained using soybean oil only from PR or MT, hydrogen from electrolysis, and a ratio [SO/H2] of 1:30.
Although the environmental results are conclusive and encouraging, the consolidation of bioLPG as a renewable alternative to fossil LPG must be endorsed by satisfactory performances in other segments. This is the case of the economic dimension, whose characterization in terms of production scale projections and costs could not be conducted due to the unavailability of consistent official data. We hope to fill this gap once the country’s first biodiesel and bioLPG–HVO production plants are in operation. With these data in hand, we intend to carry out an Eco-efficiency Analysis of the bioLPG production chain, taking into account different processing contexts, to investigate possible synergistic and harmful effects on the environmental and economic domains provided by those situations and circumstances. In addition to this aspect, the research should also evaluate the effects originated by other sources of inputs (e.g., triglyceride materials and hydrogen) and logistical constraints to be potentially considered by the same production arrangement on their technical, environmental, and economic performance.

Author Contributions

Conceptualization, M.T.d.S. and L.K.; methodology, I.L.C.C. and L.K.; software, N.d.A.M.; validation, I.L.C.C., M.T.d.S., and L.K.; formal analysis, N.d.A.M. and L.K.; investigation, N.d.A.M. and I.L.C.C.; data curation, N.d.A.M. and I.L.C.C.; writing—original draft preparation, N.d.A.M. and I.L.C.C.; writing—review and editing, M.T.d.S. and L.K.; supervision, M.T.d.S. and L.K.; project administration, L.K.; funding acquisition, M.T.d.S. All authors have read and agreed to the published version of the manuscript.

Funding

This study was financed in part by the Coordenação de Aperfeiçoamento de Pessoal de Nível Superior-Brazil (CAPES)-Finance Code 001.

Institutional Review Board Statement

Not applicable.

Data Availability Statement

Not applicable.

Acknowledgments

We gratefully acknowledge the support of Coordenação de Aperfeiçoamento de Pessoal de Nível Superior Brazil (CAPES) Finance Code 001 that was essential for this study to be brought to a conclusion.

Conflicts of Interest

The authors declare no conflict of interest.

Nomenclature

Al2O3Aluminum oxide
CEDAccumulated Energy Demand
CO2Carbon dioxide
CoMoS2Cobalt molybdenum disulfide
dLUCdirect Land Use Change
EROIEnergy Return on Investment
GOGoiás
GHGGreen House Gas
GWPGlobal Warming Potential
H2Hydrogen
HVOHydrotreatment of vegetable oils/Hydrotreated vegetable oil
IPCCIntergovernmental Panel on Climate Change
ISOInternational Organization for Standardization
LCALife Cycle Assessment
LCILife Cycle Inventory
LCIALife Cycle Impact Assessment
LHVLower heating value
LPGLiquefied Petroleum Gas
MSMato Grosso do Sul
MTMato Grosso
NiNickel
NiMoS2Nickel molybdenum disulfide
NiWS2Nickel tungsten disulfide
O2Oxygen
PEDPrimary Energy Demand
PFADPalm oil fatty acid distillate
PdPalladium
PMFFine Particulate Matter Formation
PRParaná
PtPlatinum
RhRhodium
RSRio Grande do Sul
SOSoybean oil
SPSão Paulo
TATerrestrial Acidification
TETTerrestrial Ecotoxicity
UCOUsed cooking oil

References

  1. ANP—Brazilian National Agency for Petroleum, Natural Gas and Biofuels. Resolution 825. 2020. Available online: https://www.in.gov.br/en/web/dou/-/resolucao-n-825-de-28-de-agosto-de-2020-274891354 (accessed on 8 August 2022).
  2. Lorenzi, G.; Baptista, P.; Venezia, B.; Silva, C.; Santarelli, M. Use of waste vegetable oil for hydrotreated vegetable oil production with high-temperature electrolysis as hydrogen source. Fuel 2020, 278, 117991. [Google Scholar] [CrossRef]
  3. D’Ambrosio, S.; Mancarella, A.; Manelli, A. Utilization of Hydrotreated Vegetable Oil (HVO) in a Euro 6 Dual-Loop EGR Diesel Engine: Behavior as a Drop-In Fuel and Potentialities along Calibration Parameter Sweeps. Energies 2022, 15, 7202. [Google Scholar] [CrossRef]
  4. Arvidsson, R.; Persson, S.; Fröling, M.; Svanström, M. Life cycle assessment of hydrotreated vegetable oil from rape, oil palm and Jatropha. J. Clean. Prod. 2011, 19, 129–137. [Google Scholar] [CrossRef]
  5. Moore, C.C.S.; Kulay, L. Effect of the implementation of carbon capture systems on the environmental, energy and economic performance of the Brazilian electricity matrix. Energies 2019, 12, 331. [Google Scholar] [CrossRef]
  6. Rattenmaier, N.; Köppen, S.; Gärtner, S.; Reinhardt, G. Screening Life Cycle Assessment for Hydrotreated Jatropha Oil. Institute for Energy and Environmental Research Heidelberg, 2008. Available online: https://www.ifeu.org/landwirtschaft/pdf/IFEUJatropha%20biofuels%20reportHVO121208.pdf (accessed on 28 August 2022).
  7. Garraín, D.; Herrera, I.; Lechón, Y.; Lago, C. Well-to-Tank environmental analysis of a renewable diesel fuel from vegetable oil through co-processing in a hydrotreatment unit. Biomass Bioenergy 2014, 63, 239–249. [Google Scholar] [CrossRef]
  8. Johnson, E. A carbon footprint of HVO biopropane, Biofuels. Bioprod. Biorefining 2017, 11, 887–896. [Google Scholar] [CrossRef]
  9. FAO. World Food and Agriculture–Statistical Yearbook; FAO—Food & Agriculture Organization of the United Nation: Rome, Italy, 2020. [Google Scholar] [CrossRef]
  10. Furlan, F.F.; Tonon, R.; Pinto, F.H.P.B.; Costa, C.B.B.; Cruz, A.J.G.; Giordano, R.L.C.; Giordano, R.C. Bioelectricity versus bioethanol from sugarcane bagasse: Is it worth being flexible? Biotechnol. Biofuels 2013, 6, 142. [Google Scholar] [CrossRef]
  11. Oliveira, C.M.; Cruz, A.J.G.; Costa, C.B.B. Comparison among Proposals for Energy Integration of Processes for 1G/2G Ethanol and Bioelectricity Production. In Computer Aided Chemical Engineering; Elsevier: Amsterdam, The Netherlands, 2014; Volume 33, pp. 1585–1590. [Google Scholar]
  12. Oliveira, C.M.; Cruz, A.J.G.; Costa, C.B.B. Improving second generation bioethanol production in sugarcane biorefineries through energy integration. Appl. Therm. Eng. 2016, 109, 819–827. [Google Scholar] [CrossRef]
  13. Joppert, C.L.; Santos, M.M.; Costa, H.K.M.; Pereira, A.S.; Coelho, S.T. Bioenergy integration in ethanol plants: An alternative end use for biogas to enable 2G ethanol production. In Proceedings of the 25th European Biomass International Conference, Stockholm, Sweden, 12–15 June 2017; pp. 1883–1889. [Google Scholar]
  14. Guerra, J.P.; Cardoso, F.H.; Nogueira, A.; Kulay, L. Thermodynamic and environmental analysis of scaling up cogeneration units driven by sugarcane biomass to enhance power exports. Energies 2018, 11, 73. [Google Scholar] [CrossRef]
  15. Coutinho, D.J.G.; Barbosa, M.O.; de Souza, R.J.C.; da Silva, A.S.; da Silva, S.I.; de Oliveira, A.F.M. Comparative Study of the Physicochemical Properties of FAME from Seed Oils of Some Native Species of Brazilian Atlantic Forest. J. Am. Chem. Soc. 2016, 93, 1519–1528. [Google Scholar] [CrossRef]
  16. Altamirano, C.A.A.; Yokoyama, L.; de Medeiros, J.L.; Araujo, O.D.F. Ethylic or methylic route to soybean biodiesel? Tracking environmental answers through life cycle assessment. Appl. Energy 2016, 184, 1246–1263. [Google Scholar] [CrossRef]
  17. Kunh, S.S.; Kugelmeier, C.L.; Mantovan, F.D.; Lenz, G.F.; Sattolo, N.M.S.; Milinsk, M.C.; Alves, H.J. Valorization of poultry slaughterhouse sludge oil: A strategy to reduce Brazil’s dependency on soybean oil in the biodiesel industry. Environ. Technol. 2021, 43, 2177–2189. [Google Scholar] [CrossRef] [PubMed]
  18. Julio, A.A.V.; Milessi, T.S.; Maya, D.M.Y.; Lora, E.S.; Palacio, J.C.E. Assessment of the sustainability and economic potential of hydrotreated vegetable oils to complement diesel and biodiesel blends in Brazil. Biofuel Bioprod. Biorefin. 2022. [Google Scholar] [CrossRef]
  19. ANP—Brazilian National Agency for Petroleum, Natural Gas and Biofuels. Resolution 842. 2021. Available online: https://atosoficiais.com.br/anp/resolucao-n-842-2021-estabelece-a-especificacao-do-diesel-verde-bem-como-as-obrigacoes-quanto-ao-controle-da-qualidade-a-serem-atendidas-pelos-agentes-economicos-que-o-comercializem-em-territorio-nacional (accessed on 26 October 2022). (In Portuguese).
  20. MME—Ministry of Mines and Energy; EPE—Energy Research Office. Ten-Year Energy Expansion Plan. 2021. Available online: https://www.epe.gov.br/sites-en/publicacoes-dados-abertos/publicacoes/Paginas/PDE-2031---English-Version.aspx (accessed on 25 October 2022). (In Portuguese)
  21. MME—Ministry of Mines and Energy; EPE—Energy Research Office. RenovaBio: Biocombustíveis 2030—Nota Técnica 3: Novos Biocombustíveis. 2017. Available online: https://www.epe.gov.br/sites-pt/publicacoes-dados-abertos/publicacoes/PublicacoesArquivos/publicacao-155/EPE%20-%20NT3%20-%20NOVOS%20BIOCOMBUST%C3%8DVEIS%20-%20ARQUIVO%203.pdf (accessed on 26 October 2022). (In Portuguese)
  22. Huo, H.; Wang, M.; Bloyd, C.; Putsche, V. Life-Cycle Assessment of Energy and Greenhouse gas effects of soybean-derived biodiesel and renewable fuels. In Argonne National Laboratory Report ANL/ ESD/08-2; U.S. Department of Energy: Washington, DC, USA, 2008. [Google Scholar]
  23. Kalnes, T.; Marker, T.; Shonnard, D.R.; Koers, K.P. Green diesel production by hydrorefining renewable feedstocks. Biofuels Technol. 2008, 7–11. Available online: https://scholar.google.com.br/scholar?q=Green+diesel+production+by+hydrorefining+renewable+feedstocks.+Biofuels+Technol.+2008+,+7%E2%80%9311.&hl=pt-BR&as_sdt=0&as_vis=1&oi=scholart (accessed on 28 August 2022).
  24. Su, J.; van Dyk, S.; Saddler, J. Repurposing oil refineries to “stand-alone units” that refine lipids/ oleochemicals to produce low-carbon intensive, drop-in biofuels. J. Clean. Prod. 2022, 376, 134335. [Google Scholar] [CrossRef]
  25. Sonthalia, A.; Kumar, N. Hydro processed vegetable oil as a fuel for transportation sector—A review. J. Energy Inst. 2019, 92, 1–17. [Google Scholar] [CrossRef]
  26. Hilbers, T.J.; Sprakel, L.M.J.; van den Enk, L.B.J.; Zaalberg, B.; van den Berg, H.; van der Ham, L.G.J. Green Diesel from Hydrotreated Vegetable Oil Process Design Study. Chem. Eng. Technol. 2015, 38, 651–657. [Google Scholar] [CrossRef]
  27. Amin, A. Review of diesel production from renewable resources: Catalysis, process kinetics and technologies. Ain Shams Eng. J. 2019, 10, 821–839. [Google Scholar] [CrossRef]
  28. Tirado, A.; Ancheyta, J. Defining appropriate reaction scheme for hydrotreating of vegetable oil through proper calculation of kinetic parameters. Fuel 2019, 242, 167–173. [Google Scholar] [CrossRef]
  29. Di Gruttola, F.; Borello, D. Analysis of the EU secondary biomass availability and conversion processes to produce advanced biofuels: Use of existing databases for assessing a metric evaluation for the 2025 perspective. Sustainability 2021, 13, 7882. [Google Scholar] [CrossRef]
  30. CONAB—National Supply Company. 12 Inventory—Data Chart: Production and Grain Supply and Demand Balance, Crop-Year 2020/2021. 2021. Available online: https://www.conab.gov.br/info-agro/safras/graos/boletim-da-safra-de-graos (accessed on 11 April 2022). (In Portuguese)
  31. ABIOVE—Brazilian Association of Vegetable Oil Industries. Monthly Surveys 2020. Available online: https://abiove.org.br/en/statistics/ (accessed on 11 April 2022). (In Portuguese).
  32. Dimitriadis, A.; Bezergianni, S. Co-hydroprocessing gas-oil with residual lipids: Effect of residence time and H2/Oil ratio. J. Clean Prod. 2016, 131, 321–326. [Google Scholar] [CrossRef]
  33. Vásquez, M.C.; Silva, E.E.; Castillo, E.F. Hydrotreatment of vegetable oils: A review of the technologies and its developments for jet biofuel production. Biomass Bioenergy 2017, 105, 197–2016. [Google Scholar] [CrossRef]
  34. Johnson, E. Process Technologies and Projects for BioLPG. Energies 2019, 12, 250. [Google Scholar] [CrossRef]
  35. Hopwood, L.; Mitchell, E.; Sourmelis, S. Biopropane: Feedstocks, Feasibility and Our Future Pathway; The Bioeconomy Consultants NNFCC, Prepared for Liquid Gas UK: Heslington, UK, 2019; 69p. [Google Scholar]
  36. Fernández-Villamil, J.M.; Paniagua, A.H.M. Preliminary Design of the Green Diesel Production Process by Hydrotreatment of Vegetable Oil 2018. Available online: https://www.chemeng.uliege.be/upload/docs/application/pdf/2020-01/eurecha2018_mainreport_1stprize.pdf (accessed on 16 August 2022).
  37. Rathore, V.; Newalkar, B.L.; Badoni, R.P. Processing of vegetable oil for biofuel production through conventional and non-conventional routes. Energy Sustain. Dev. 2016, 31, 24–49. [Google Scholar] [CrossRef]
  38. ANP—National Agency of Petroleum, Natural Gas and Biofuels. Resource Bulletin and Oil Reserves and Natural Gas 2021; ANP: Brasília, Brazil, 2022. (In Portuguese) [Google Scholar]
  39. Thomas, J.E. Fundamentos de Engenharia de Petróleo, 2nd ed.; Editora Interciência: Rio de Janeiro, Brazil, 2004. (In Portuguese) [Google Scholar]
  40. Gauto, M.A.; Apoluceno, D.M.; Amaral, M.C.; Auriquio, P.C.; Pinto, V.R. (Org), Petróleo e Gás—Princípios de Exploração, Produção e Refino, 1st ed.; Bookman: Porto Alegre, Brazil, 2016. (In Portuguese) [Google Scholar]
  41. EPE—Energy Research Company. Baseline to Support the Brazilian Hydrogen Strategy; EPE: Brasília, Brazil, 2021. (In Portuguese) [Google Scholar]
  42. EPE—Energy Research Company. Brazilian Energy Balance 2021—Base Year 2020; EPE: Rio de Janeiro, Brazil, 2021. (In Portuguese) [Google Scholar]
  43. ISO 14044:2006; Environmental Management e Life Cycle Assessment—Requirements and Guidelines. ISO—International Organization for Standardization: Geneva, Switzerland, 2006.
  44. Schneider, L.; Finkbeiner, M. Life Cycle Assessment of EU Oilseed Crushing and Vegetal Oil Refining. Commissioned by EU Vegetable Oil and Protein Meal Industry association—FEDIOL. Available online: https://www.fediol.eu/data/1521124882Full%20FEDIOL%20LCA%20report_05062013_CR%20statement.pdf (accessed on 19 September 2022).
  45. Myhre, G.; Shindell, D.; Qin, D.; Plattner, G.-K.; Tignor, M.; Allen, S.K.; Boschung, J.; Nauels, A.; Xia, Y.; Bex, V. (Eds.) The Physical Science Basis. Contribution of Working Group I to the 5th Assessment Report of the Intergovernmental Panel on Climate Change; Cambridge University Press: Cambridge, UK, 2013; Chapter 8. [Google Scholar]
  46. Frischknecht, R.; Jungbluth, N.; Althaus, H.-J.; Bauer, C.; Doka, G.; Dones, R.; Hischier, R.; Hellweg, S.; Humbert, S.; Köllner, T.; et al. Implementation of Life Cycle Impact Assessment Methods: Data v 2.0; Ecoinvent Final Report n. 3; Swiss Centre for Life Cycle Inventories: Dübendorf, Switzerland, 2007. [Google Scholar]
  47. Huijbregts, M.; Steinmann, Z.; Elshout, P.; Stam, G.; Verones, F.; Vieira, M.; Zijp, M.; Hollander, A.; Zelm, R. ReCiPe2016: A harmonized life cycle impact assessment method at midpoint and endpoint level. Int. J. Life Cycle Assess. 2017, 22, 138–147. [Google Scholar] [CrossRef]
  48. Donke, A.; Nogueira, A.; Matai, P.; Kulay, L. Environmental and Energy Performance of Ethanol Production from the Integration of Sugarcane, Corn, and Grain Sorghum in a Multipurpose Plant. Resources 2016, 6, 1. [Google Scholar] [CrossRef]
  49. Gomiero, T. Are Biofuels an Effective and Viable Energy Strategy for Industrialized Societies? A reasoned overview of Potentials and Limits. Sustainability 2015, 7, 8491–8521. [Google Scholar] [CrossRef]
  50. Sandler, S. Chemical, Biochemical and Engineering Thermodynamics, Appendix, 5th ed.; A.V: Heats of Combustion; Wiley: New York, NY, USA, 2016. [Google Scholar]
  51. Oele, M.; Dolfing, R. SimaPro 9.1.1|Full Update Instructions; PRé Sustainability, B.V.: Amersfoort, The Netherlands, 2020; Available online: https://simapro.com/wp-content/uploads/2020/10/FullUpdateInstructionsToSimaPro911.pdf (accessed on 31 August 2022).
  52. Weidema, B.P.; Bauer, C.; Hischier, R.; Mutel, C.; Nemecek, T.; Reinhard, J.; Vadenbo, C.O.; Wernet, G. Overview and Methodology. Data Quality Guideline for the Ecoinvent Database Version 3; Ecoinvent Report 1(v3); The Ecoinvent Centre: St Gallen, Switzerland, 2013. [Google Scholar]
  53. ANP—National Agency of Petroleum. Natural Gas and Biofuels. In Annual Operational Safety Report of Oil and Natural Gas Exploration and Production Activities—2021; ANP: Brasília, Brazil, 2022. (In Portuguese) [Google Scholar]
  54. Borghi, E.; Karam, D.; Foloni, J.S.S.; Magalhães, P.C.; Garcia, R.A. Aspectos Agronômicos da Cultura da Soja a Serem Considerados na Implantação do Cultivo Intercalar Antecipado—Antecipe. Empresa Brasileira de Pesquisa Agropecuária—Embrapa Comunicado Técnico n. 251. , 2021. Available online: https://ainfo.cnptia.embrapa.br/digital/bitstream/item/226752/1/COT-251-Aspectos-agronomicos-da-cultura-da-soja-no-Antecipe-Emerson-Borghi.pdf (accessed on 29 October 2022). (In Portuguese).
  55. Florindo, T.J.; Florindo, G.I.B.D.M.; Talamini, E.; Pinto, A.T. Ruviaro, Application of the multiple criteria decision-making (MCDM) approach in the identification of Carbon Footprint reduction actions in the Brazilian beef production chain. J. Clean. Prod. 2018, 196, 1379–1389. [Google Scholar] [CrossRef]
  56. Morita, A.M.; Moore, C.C.S.; Nogueira, A.R.; Kulay, L.; Ravagnani, M.A.D.S.S. Assessment of potential alternatives for improving environmental trouser jeans manufacturing performance in Brazil. J. Clean. Prod. 2020, 247, 119156. [Google Scholar] [CrossRef]
  57. Sakamoto, H.; Ronquim, F.M.; Seckler, M.M.; Kulay, L. Environmental performance of effluent conditioning systems for reuse in oil refining plants: A case study in Brazil. Energies 2019, 12, 326. [Google Scholar] [CrossRef]
Publisher’s Note: MDPI stays neutral with regard to jurisdictional claims in published maps and institutional affiliations.

Article Metrics

Citations

Article Access Statistics

Multiple requests from the same IP address are counted as one view.