Abstract
With regard to water supply constraints, water reuse has already become an indispensable water resource. In many regions of southern Africa, so-called waste stabilisation ponds (WSP) represent a widespread method of sewage disposal. Since capacity bottlenecks lead to overflowing ponds and contamination, a concept was designed and piloted in order to upgrade a plant and reuse water in agriculture. Using a social–ecological impact assessment (SEIA), the aim of this study was to identify and evaluate intended and unintended impacts of the upgrading of an existing WSP to reuse water for livestock fodder production. For this purpose, semistructured expert interviews were conducted. In addition, a scenario analysis was carried out regarding a sustainable operation of the water reuse system. The evaluation of the impacts has shown that intended positive impacts clearly outweigh the unintended ones. The scenario analysis revealed the consequences of an inadequate management of the system and low fodder demand. Furthermore, the analysis showed that good management of such a system is of fundamental importance in order to operate the facility, protect nature and assist people. This allows subsequent studies to minimize negative impacts and replicate the concept in regions with similar conditions.
1. Introduction
During the last decades, climate change has proven that water is a scarce resource in many regions of the world, especially in semiarid and arid countries, both now and in the future. Moreover, the Intergovernmental Panel on Climate Change (IPCC) assumes that climate change will increase the hazard of extreme events such as droughts and heavy rainfall even further [1]. However, according to the IPCC, climate change in Africa will have a modest overall impact on future water scarcity compared to other factors such as population growth, urbanisation, agricultural growth and land-use change [1]. Because of these drivers, particularly in developing countries, the pressure on water resources has enormously increased, resulting in limitations of water supply [2]. In these regions, pastoralism has traditionally been of great importance in order to secure the people’s livelihood and generate income [3]. Along with the increased water demand, water and fodder for livestock has become rare and of high cost, leading to emergency slaughters during long-term droughts [4].
In order to augment water supply in water-scarce regions, water reuse has created a suitable alternative. By connecting disposal of wastewater, improving hygiene and generating treated water, the multibenefit of water reuse is obvious. Depending on the treatment technology used and the water quality produced, the range of water applications is quite wide [5]. In many developing countries characterised by semiarid climate, so-called waste stabilisation ponds (WSP) or oxidation ponds provide wastewater disposal and treatment by collecting municipal wastewater in a series of ponds [6,7,8]. WSPs provide several advantages [9,10] and are also used in agriculture [11,12] and industry [13]. Biodegradation processes and sedimentation lead to a reduction in organic matter. Owing to abundant solar radiation, the wastewater discharged finally evaporates into the atmosphere. Associated with low costs, high efficiency and little effort for operation and maintenance, WSPs are therefore a common method of sewage disposal in sub-Saharan Africa [6,14]. In many of these developing countries, the treated water from WSPs has not only been disposed of but also reused for aquaculture and irrigation purposes [6,15,16]. However, in order to reuse the water, certain water quality standards must be met, which can be achieved with different treatment processes [6]. Unfortunately, these plants are often not in good condition due to poor operation and maintenance along with a lack of knowledge and management, representing a high risk for contamination by overflowing, especially during the rainy season. Furthermore, population growth increases the volume of wastewater. At the same time, the lack of financial investments and expertise limit the ponds’ capacities.
In central northern Namibia, a transdisciplinary research project established a water reuse system [17,18,19]. Core idea was to upgrade WSPs for irrigation purposes. Therefore, the pilot project examined different treatment options to reuse municipal wastewater for livestock fodder production in the town of Outapi [20]. By doing so, the project contributed to the Sustainable Development Goals (SDGs) [21], in particular to achieve goal six, namely ensuring clean water and sanitation to all. However, the impacts of such a water reuse system on society and nature have not yet been adequately studied.
Since the 1970s, various types of impact assessments (IA) have been developed as a result of the debate on the impact of human intervention in ecosystems [22]. The most commonly used impact assessment is the environmental impact assessment (EIA) originally developed in the United States in 1970 and based on the US National Environmental Policy Act of 1969 (NEPA). The initial theoretical foundation and application has been widely debated among experts [23,24,25]. According to the United Nations Environment Programme (UNEP), the EIA considers possible impacts of projects in advance, in order to be able to adapt the planning and design of the projects [26]. The focus on individual projects is in line with the understanding of EIA by the Namibian Ministry of Environment and Tourism, according to which the EIA plays a decisive role in every phase of a project [27]. On the contrary, the strategic environmental assessment (SEA) focuses on the environmental impacts of policies, plans, programmes and other strategic initiatives [26]. This view is closely linked to the definition of IA by the European Commission, which describes IA as a process to suggest to policymakers the advantages and disadvantages of possible policies by assessing their impacts [28]. Technology assessment (TA) carries out scientific and technological forecasts and evaluation processes, thus it is contributing to the public and political debate [29].
The Environmental and Social Impact Assessment (ESIA) was carried out in the early 2000s and is essentially an extension of the EIA. In some cases, the boundaries between these different types of IA are not clear. The European Bank for Reconstruction and Development (EBRD), for example, uses the terms EIA and ESIA as an equivalent [30]. The ESIA emerged from the combination of EIA and Social Impact Assessment (SIA), which was developed within the debate to include a social component [31,32,33]. The most commonly used definition of ESIA was established in 2012 by the International Finance Corporation (IFC) [34]. According to the IFC policy, an ESIA is a comprehensive document of a project’s potential environmental and social risks and impacts. An ESIA is usually prepared for greenfield developments or large expansions with specifically identified physical elements, aspects and facilities that are likely to generate significant environmental or social impacts [35]. Although the ESIA has been well received by multilateral donors, international authorities and private institutions (i.e., WB, AfDB, EU, GIZ), it is rarely used in science, and relatively few scientific articles have been published to date [36,37]. The European Bank for Reconstruction and Development has commissioned several ESIAs, mainly in European countries considering social environmental topics including wastewater treatment plants.
Compared to ESIA, the social–ecological impact assessment (SEIA) addresses a broader regional and overarching context [38]. Furthermore, different starting and future conditions of the region (climate, economy, urbanisation and seasonal migration, sociocultural changes, etc.) can be considered in the analysis. An early example of a SEIA considered rainwater harvesting, sanitation and water reuse, groundwater desalination and subsurface water storage [39]. However, this study is limited to the effects on the water cycle, ecological impacts and land-use changes by using existing empirical data. Brymer et al. [40] conducted a participatory SEIA evaluating the impact of land management in Idaho, USA. Jones and Morrisson-Sanders [41] emphasize that stakeholders must be included in such participatory processes to ensure a long-term success of corresponding interventions. Recent scientific papers focus on the success of societal impacts of transdisciplinary sustainability research [42,43,44].
The aim of this study is a SEIA of the analysed water reuse system for fodder production in Outapi. This comprises the identification of impacts on society and nature together with an evaluation of these effects by collecting data through expert interviews. A further objective is to identify both positive (intended) and negative (unintended) impacts of the approach by classifying them into ecological, social and economic categories. Based on this, a scenario analysis is carried out to identify success factors and hazards. This contributes to mitigate negative impacts and to assess the transferability of the water reuse concept to other locations in southern Africa. Especially in Namibia, the approach can potentially be transferred to many other towns with WSPs to increase the efficiency of water reuse systems.
2. Materials and Methods
2.1. Namibian Case Study
The location of the studied water reuse system is in the town of Outapi in central northern Namibia (Figure 1). Because of its arid climate, Namibia has no permanently water-bearing rivers except for its border rivers in the south (Oranje) and north (Kunene, Okavango, Linyanti and Zambesi) [45]. Central northern Namibia is characterised by the Etosha pan, a drainless pan measuring 120 × 50 km. This salty pan is accompanied by the so-called Oshana system in the north, also known as the Cuvelai system. Oshanas describe a complex of shallow, north–south valleys that gradually fill with water during the rainy season depending on the amount of precipitation in northern Namibia and neighbouring Angola [46,47]. After heavy rainfall, these ephemeral systems can turn into a torrential stream in a few minutes, which then only carries water for a few hours or at best a few days. In contrast, due to the extremely low gradient, the water in the Cuvelai system drains off very slowly and in years of high precipitation there are repeated large-scale floods [48].
Figure 1.
Map of central northern Namibia (map by J. Röhrig, 2013, modified).
Namibia possesses groundwater resources that are characterised by a high salt content, especially in the north, so that they cannot be used without treatment. The lack of freshwater resources has an impact on the water supply, especially during dry seasons, which is why there is a risk of excessive utilisation. This process is worsening by population growth and livestock farming, which have traditionally played a major role in Namibia [45,49].
Between 1970 and 1990 in particular, the population in Namibia more than doubled. The country’s current growth rate is 2.1% describing a low negative trend over time [50]. The majority of the population is concentrated in the central north due to the high agricultural potential. Approximately 40% of the Namibians live in the regions of Omusati, Oshana, Ohangwena and Oshikoto, reaching population density rates between 4.7 and 22 people per km2 [51]. In Outapi, the population increased from 2600 to 6500 inhabitants between the last censuses of 2001 and 2011, indicating an annual growth rate of more than 9% [52,53].
Owing to salty groundwater, the water supply is mainly managed with surface water that exists only seasonally depending on the rainy season or in limited accessibility such as the border river Kunene [54]. Hence, in the 1950s, the government of Namibia started an initiative to improve the situation of water supply in the central north by establishing a network of pipelines. Since the 1960s, the so called Calueque–Oshakati Water Supply Scheme has been established by constructing an open canal from Ruacana to Oshakati, several water treatment plants and pipelines to ensure water supply in the north [55].
According to the Outapi Town Council (OTC), 85% of Outapi residents have access to sanitation facilities. Regarding this number, it is not clear whether all informal settlements are included in this specification. Similar to Oshakati and Ongwediva and many other places in northern Namibia, Outapi has WSPs built by Namibian authorities in 2004. The complex consists of two lines with four ponds each that finally lead into an evaporation pond. Each line includes a larger facultative pond, followed by three smaller maturation ponds (total water surface area: 40,000 m2; total volume: 55,000 m3), discharging into the evaporation pond (surface area: 41,000 m2; volume: 20,000 m3), where the water is supposed to evaporate completely [17,18]. The average total inflow was 753 m3/d in 2018 [17,18]. The ponds are located about 1.5 km southwest of Outapi’s town borders, surrounded by grasslands and Oshanas. The locals use these water areas for fishing purposes and as a source of drinking water for their cattle. Because of urbanisation, people living next to the ponds have been relocated into the town in order to avoid emerging conflicts.
Continuing population growth significantly increased the volume of sewage. This results in the fact that the current capacity of the ponds is not sufficient. Hence, especially during the rainy season, when additional storm water enters the ponds, untreated water breaks through the embankments of the final pond, which leads to contamination and health risks in the Oshanas. Furthermore, inadequate management results in bad discharge qualities due to a lack of knowledge about sustainable operation and maintenance of the WSP. The lack of awareness leads to methane emissions and excessive algae in the ponds. Missing precautions during drainage and drying of the sludge coupled with careless disposal of the sludge cause contaminations [20]. Because of lacking information on the consequences, some locals damage the surrounding fence to allow their cattle to graze and drink in the complex. All these aspects underline the insufficient management and the poor condition of the WSP.
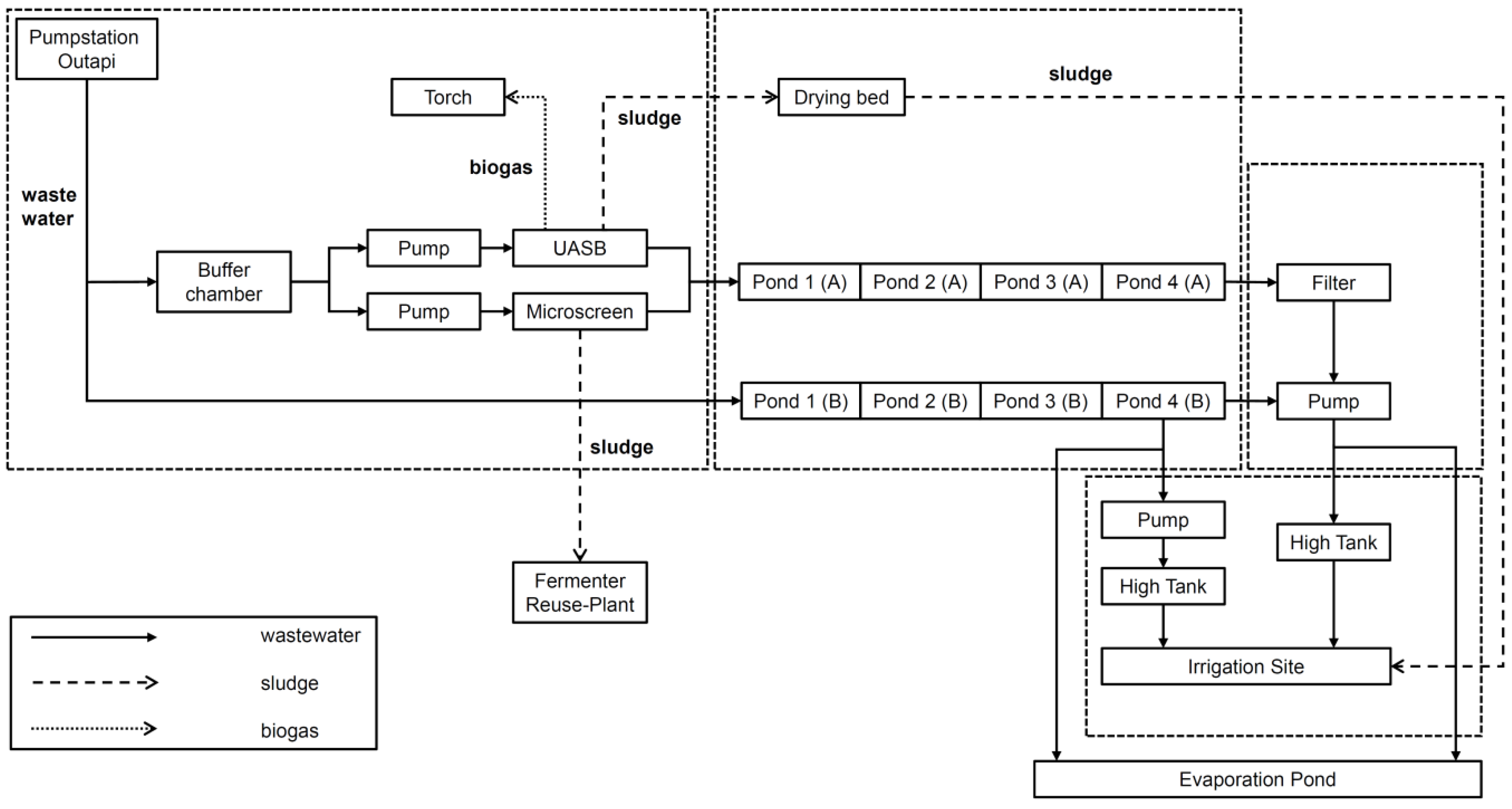
The research project’s technical measures to upgrade the WSP can be divided into three parts, namely sludge treatment, pretreatment and post-treatment. The plant consists of two separate lines of ponds (A and B), which can be loaded at the same time (Figure 2). However, only line A is being upgraded, so that line B can ensure the current wastewater disposal. In pretreatment, organic, predominantly suspended constituents (so-called primary sludge) are removed from the raw wastewater to relieve the pollution of the ponds [17,19]. This minimises the chemical oxygen demand and reduces sludge deposits in the ponds. Two separate systems, an upflow anaerobic sludge blanket reactor (UASB) and a microscreen were tested for pretreatment. In the UASB reactor, anaerobic degradation takes place through sedimentation inside the tank, resulting in biogas formation. The deposited sludge of the UASB tank is pumped into the nearby drying bed. To avoid disposal issues of the dried and stabilised sludge, the organic material is used as fertiliser for the nutrient-poor agricultural fields in order to enrich the soil with organic substances. Parallel to this, raw wastewater is pumped to the microscreen, which has a mesh size of 250 μm and can separate approximately 70% of the suspended substances [17,19].
Figure 2.
Scheme of upgrading measures (adjusted based on [17]).
The pretreated water flows into pond A1 where installed guide walls control the water flow. This results in an extended retention time in the pond and improved treatment performance. The post-treatment at the end of line A additionally cleans the water by a submerged stone filter. This low-tech approach also reduces filterable substances, in particular, microalgae, which could, for instance, clog the pipes of the drip irrigation system. Pre- and post-treatment lead to a 4.29 log unit reduction in E. coli (3.32 log units for enterococci) and concentrations of E. coli in the effluent of 6.9 × 102 ± 1.0 × 103 MPN/100 mL [18]. This does not guarantee drinking-water quality, but agriculture irrigation can use the nutrients in the treated water. In addition, Namibian legislation does not require irrigation water for fodder production to be of drinking-water quality [27,56,57].
The cultivation site for fodder production is located close to the WSP. The test phase included various irrigation systems such as drip, furrow and subsurface irrigation. Considering the local conditions, the focus is on robust low-pressure systems that supply the area via stationary main and overhead lines in order to minimise water losses through evaporation and infiltration while avoiding soil salinisation [20].
Capacity development for sustainable management, operation and maintenance of the system and the establishment of a wastewater treatment plant partnership (WWTPP) support the technical measures. The WWTPP forms a regional network of various operators of wastewater treatment plants and ponds. The purpose of the partnership is to share knowledge and experience regarding sustainable wastewater management and water reuse [58].
2.2. Social–Ecological Impact Assessment (SEIA)
The overall approach to assessing the impacts in this study is the SEIA, which is a relatively new form of impact assessment. Liehr [38] defines the SEIA as a process of evaluating likely impacts of interventions on social ecological systems [59] with regard to consequences for the environment and the people’s livelihood. SEIA is therefore able to adequately capture the impacts of a measure on society and nature. By analysing possible impacts, both positive and negative, the SEIA particularly identifies vulnerabilities and risks that must be carefully examined in the future. This results in recommendations for a sustainable adaptation of interventions or further alternatives [38]. By doing so, the SEIA can compensate for the disadvantages of EIA, SEA and TA.
The IFC developed a concept describing the social and environmental impact assessment (S&EA) process [35]. The S&EA and SEIA variants can be regarded as equivalent. The process is described in eight steps. Steps three to five represent the core of the assessment process, which is accompanied by pre- and post-actions. The first two steps comprise the screening and scoping phase that determines the appropriate spatial and temporal system boundaries. After that, baseline studies must be carried out to show the environmental and sociocultural conditions considering the status quo and associated factors (step three). The core of the assessment is the prediction and evaluation of impacts, which requires analysing the impacts identified during scoping and baseline studies in terms of their nature, temporal scale and spatial scale, among other factors (step four). The last step within the actual assessment process is the mitigation (step five), which aims at minimising or even eliminating negative impacts on nature and society. Step seven and eight comprise the social and environmental management plan together with the environmental impact statement.
The SEIA in this study focuses on step four, i.e., identifying impacts and evaluating the operation of the analysed water reuse system. The main criterion regarding the identified impacts refers to the direction of an impact, which can be positive or negative. The SEIA uses the terms intended and unintended impacts to highlight the advantages and disadvantages of the intervention. Other criteria comprise the spatial and temporal extent of an impact. In terms of spatial extent, a distinction can be made between site-specific, small, medium and large. The term site-specific in this context includes the WSP and the cropland used for fodder production. The temporal extent, which describes the duration of the impact, can be divided into temporary, short-term, medium-term, long-term and permanent. Owing to the qualitative data collection method, quantitative criteria such as intensity, probability of occurrence, or significance are not considered.
2.3. Semistructured Interviews
To identify the impacts and be able to transfer the water reuse concept to comparable locations, opinions and views of different stakeholders had to be captured through empirical social research [60,61,62]. The semistructured interview technique, also called guided interview, represents the most appropriate option in this specific case. This method is based on an interview guide, consisting of a catalogue of open questions allowing the interviewees to freely respond, which increases the chance of receiving new and unexpected information. Questions and ranking are predetermined, but the interviewer can customize both by changing the ranking and even skipping or omitting questions. This form is often referred to as a semistandardised interview guide, which means predefining questions or topics without giving answer options [60]. In semistructured interviews, expert interviews are mostly conducted to obtain expertise of specialists, who have a separate view of certain project components. Expert knowledge refers on the one hand to structural expertise that is easily accessible, but also to practical and action knowledge [60]. In the end, 21 expert interviews were conducted. To facilitate the selection of appropriate interviewees, several stakeholder groups were considered, including science (8 interviews), governmental institutions (5), private sector (4), development cooperation (3) and pastoralists (1). The number of interviews is comparable to similar studies [63,64,65] and proved to be sufficient, as saturation occurred in terms of statements and identified impacts; i.e., no further impacts could be identified in the course of the field phase.
Concerning the evaluation method, qualitative content analysis was suitable, which aimed to systematically extract the content from qualitative text material by forming categories and, if necessary, to quantify it. The qualitative content analysis thus occupies an intermediate position between qualitative and quantitative research and is often combined in research practice with quantitative content analysis [66]. In contrast to the usual qualitative analysis approach, categorisation was done first and then coding, because an intensive thematic analysis was already carried out during the preparation of the interview guide, from which the themes emerged. These topics or thematic categories comprised (i) the collection and treatment of wastewater, (ii) the reuse of water for fodder production, (iii) alternative water applications, (iv) success factors and hazards and (v) transferability. Within the first two topics, subordinate groups (ecological, social and economic impacts) were developed, which in turn were examined for two characteristics, namely, intended and unintended impacts.
2.4. Scenario Analysis
A scenario analysis was carried out to illustrate possible future developments of the water reuse system. Corresponding to a period of about 10 years, 2030 was chosen as an appropriate time horizon. Storylines were created to describe the circumstances and developments of the water reuse system [66]. In contrast to exploratory scenarios, normative ones allow the formulation of desirable futures (e.g., sustainable operation of the water reuse system) [67,68,69]. Backcasting can be used to identify measures and pathways to achieve the desirable scenarios. The scenario analysis was divided into four steps [70], including (1) the definition of the problem and the delimitation of the subject, (2) the identification of the most important influencing factors and their development potential, (3) the formation of scenarios and (4) the evaluation of these scenarios.
The factors or uncertainties with the most significant influence on the research object were, on the one hand, the management of the plant and fodder production and, on the other hand, the demand for fodder. This is due to the fact that management is a prerequisite for the operation of the system. Management here refers to the operation and maintenance of the water reuse system, the provision of treated water, the production of fodder and its marketing. In the case of future management, a distinction was made between good management on the one hand and inadequate management on the other, depending on the operator’s sense of responsibility. Regarding the demand for fodder affecting the yields of the operating farmers, two variants of low and high demand were assumed. Fodder demand is determined by the need for fodder and the willingness to pay for it. The need for fodder, in turn, depends on the number of animals and the available feeding place.
Finally, four individual scenarios could be derived, namely A1, A2, B1 and B2 (Figure 3). In the best-case scenario (A1), it is assumed that there is a high demand for fodder in the region and, in addition, the operators of the water reuse plant and the cultivation site pursue a very good management. Scenario A2 describes a situation characterised by high demand for fodder and an inadequate management of the treatment and reuse system. The combination of low demand for fodder and good management is assumed in scenario B1. In the worst-case scenario B2, there is both low demand for fodder and inadequate management of the system.
Figure 3.
Four scenarios related to the driving forces management and fodder demand: A1 (good management and high fodder demand), A2 (bad management and high fodder demand), B1 (good management and low fodder demand) and B2 (bad management and low fodder demand).
The assessment of the different scenarios took place on a qualitative level by creating a causal loop diagram (CLD). A CLD represents a form of a causal diagram and visually depicts the relations between different variables in a social–ecological system (SES). This type of causal diagram consists of a set of nodes and edges, whereby nodes represent variables and edges the links forming a connection or a relation between two variables [71,72,73].
3. Results and Discussion
3.1. Ecological Impacts
3.1.1. Intended Impacts
Concerning the intended impacts, improving the effluent quality of treated water is of crucial importance and provides the basis for several of the subsequent aspects (Interviewee UW/H 2018). First, improved water quality represents a lower source of pollution, which reduces the risk of contamination with the surrounding Oshanas in the event of overflowing (cf. [18]). Secondly, the water quality ensures fewer emissions from the WSP, especially methane gas, which is extremely climate-damaging (34 times CO2 for a period of 100 years; cf. [17]). In this context, the project-related measures contribute to climate change mitigation. At the same time, a method of adaptation to climate change is created by reclaiming municipal wastewater and thus developing a new water resource against the background of water scarcity.
One of the potentially intended impacts is groundwater recharge and groundwater dilution due to irrigation beyond demand (Interviewee TUD I 2018; Interviewee ISOE 2018). Since the dominant soil in the study area is quite sandy, the soils are characterised by a low water storage capacity and a low useable field capacity, i.e., the water would infiltrate quickly contributing to a leaching of salts and also an enrichment of groundwater (cf. [74]). To a large extent, the groundwater in central northern Namibia is very salty (cf. [75]). The additional water from irrigation could therefore help dilute the groundwater and possibly enable groundwater use. Under certain conditions, agricultural irrigation with treated water primarily enhances the value of the soil. Because of the plant growth (e.g., agroforestry) new ecosystems can develop and lead to small isles of biodiversity. Since the intended area of agriculture is withered land, not only the flora benefits, but also the fauna gains access to new habitats through the cultivation (Interviewee ISOE 2018). According to Interviewee HGU I (2018), reuse of dried sludge from the WSP as fertiliser on arable land means that artificial fertilisers might no longer be necessary (cf. [19]). This eliminates the need to produce or import additional fertiliser, reduces emissions and introduces less harmful components into the soil. Furthermore, the reclaimed water contains nutrients, such as nitrogen, phosphorus and potassium. However, by treating the water within the different treatment stages for fodder production, the risk of product contamination cannot be excluded but it can be significantly minimised (Interviewee HGU I 2018).
Concerning the issue of overgrazing, a positive side-effect of fodder production could be the relief and conservation of natural pasture land by providing fodder (Interviewee TUD I 2018). Thus, the illustrated ‘transformation of agriculture’ in the form of water reuse and fodder production results in the relief of resources of both water resources and grass lands (Interviewee ISOE 2018).
3.1.2. Unintended Impacts
In the case of very intensive, long-lasting rainfall, especially at the transition between the rainy and dry seasons, an overflow of the evaporation pond, which serves as a buffer, cannot be excluded. Owing to the improved water quality and the mixing with rainwater, this would not take on the ecological and social dimensions of an overflow prior to the upgrading, but would have some impacts on nature and society (Interviewee ISOE 2018).
Concerning the soil of the irrigation site, an unintended consequence would be the pollution by organic substances, heavy metals and pharmaceutical residues from the water, and above all, by the use of sludge. Especially heavy metals, which are deposited in the biological phase in the sewage sludge, do not decompose and can therefore potentially enter the cultivation field (Interviewee UW/H 2018; Interviewee HGU I 2018).
Leaching is a potential consequence of excessive irrigation. Besides the leaching of salts, also pollutants from the sludge can be transported into the groundwater. In this context, it must be taken into account that the different soil layers also perform a filtering effect and thus only a part of the pollutants reach groundwater. Shallow groundwater is found at depths of 0 to 20 m, the Ohangwena I aquifer at a depth of 50 to 140 m and the Ohangwena II aquifer at a depth of 220 to 300 m [2].
When managing salts, the risk of salinisation by irrigation must be considered (cf. [76]). As a result of excessive irrigation, salt is dissolved in the soil and rises to the top where it accumulates in the upper soil layer. According to the experts interviewed, the risk of salinisation can be assumed as rather low, as the irrigation is adapted to the plants and additionally during rainy season salts will be washed out (Interviewee TUD I 2018; Interviewee ISOE 2018).
If supplementary fodder is made available to pastoralists, the number of livestock in the surrounding region could increase, leading to overgrazing of natural pastures. As explained above, pastoralists will prefer the natural pasture to the purchase of fodder, so the increase in livestock would accelerate overgrazing. While Interviewee ISOE (2018) and Interviewee UNAM (2018) believe that the volume of fodder production is too small to have an effect, other experts such as Interviewee UW/H (2018), Interviewee KfW II (2018), Interviewee OTC II (2018) and Interviewee MAWF (2018) could imagine that the increase in livestock affects natural pasture.
3.2. Social Impacts
3.2.1. Intended Impacts
By upgrading the WSP system, the hygienic conditions in Outapi have generally improved (cf. [58]). This is partly due to the avoidance of backwater within the sewer system but also to the reduced risk of overflowing ponds and thus contaminating the surrounding Oshanas. Especially fishermen who fish in the Oshana depressions are no longer exposed to the risk of contamination (Interviewee TUD I 2018). Moreover, the fencing of the site, its control and the resulting prevention of human and animal contact with the pond water and their spread of pathogens also contribute to a reduction in health risks. Through the welfare created and improved health conditions, this also gives people back a piece of their dignity, especially in poorly developed regions. This, in turn, strengthens people’s work force, which benefits the whole community (Interviewee ISOE 2018).
Almost every expert mentioned job creation and income. This starts with the management in the OTC, continues with the plant’s maintenance and safety and ends with the farmer growing fodder and the sellers distributing the products (Interviewee ISOE 2018). Thence, the work of employees could also trigger increased interest in society and thus create awareness for this issue (Interviewee OLBMC 2018). By knowledge sharing in terms of technical and operational solutions within the WWTPP, a large number of municipalities and their inhabitants benefit, too (Interviewee UW/H 2018).
Regarding agricultural production, the availability of fodder can generally be guaranteed at local level throughout the year, making long trips to natural grazing sites avoidable (Interviewee TUD I 2018). As a side-effect, pastoralists can save high costs during droughts for supplementary fodder that has to be provided from distant regions. Moreover, by providing fodder, emergency slaughtering due to the lack of grass can be avoided (Interviewee UW/H 2018). As a further socioeconomic intended impact, the provision of fodder functions as an increase in the yield potential if concentrated fodder is additionally fed before an animal is slaughtered. Since the nutrition in Namibia is very meat-heavy, the sale of meat, and also the additional sources of income in general, can contribute to food security, welfare and rural development (Interviewee TUD I 2018, Interviewee ISOE 2018). If the quality of the treated wastewater would allow the irrigation of vegetables, this could help to achieve a more balanced diet for the population (Interviewee HGU I 2018).
A somewhat broader aspect beyond fodder production is the cultivation of trees with treated water, similar to nurseries. One effect refers to an improved urban atmosphere through trees and parks that provide shade, improve air quality and protect against wind erosion (Interviewee ISOE 2018).
3.2.2. Unintended Impacts
The acceptance of fodder produced with reused water within society is a frequently contested aspect. On the one hand, Interviewee UNAM (2018) believes that there is indeed a lack of acceptance regarding irrigated products due to negative connotations of wastewater. On the other hand, many experts such as Interviewee ISOE (2018), Interviewee NamWater (2018) and Interviewee KfW II (2018) are convinced of the opposite. This is based on the fact that even before the upgrading, sewage of the ponds was drunk by livestock. Furthermore, the quality of the water in the Calueque–Oshakati canal from which the animals drink is of bad quality, because pollutants are introduced when cars are washed at the canal or even some animal carcasses are floating inside the canal (Interviewee MAWF 2018).
If the harmlessness of the products can be ensured by controls, awareness campaigns must be started as already initiated within the project in order to inform about the benefits of the system (Interviewee HGU II 2018; Interviewee GOPA 2018). The dissemination of information would lead to unequal access to information. For example, it matters whether livestock farmers have been informed about the existence of supplementary fodder and how it is marketed so that no stakeholder suffers a disadvantage (Interviewee HGU I 2018).
The displacement of traditional farmers was invalidated by the interviewees. In principle, it would have been possible that farmers specialising in the production of fodder could not have been competitive to the new source of fodder. This effect has been allayed as there is virtually no commercial fodder production in northern Namibia and traditional farmers, in particular, are pursuing subsistence farming (Interviewee TUD I 2018; Interviewee ISOE 2018). However, if there has not been any fodder production so far, a certain dependency on these products can develop and in the event of crop failures, pastoralists dependent on fodder would be severely affected.
Because of the fencing of the plant and the cultivation site, the grazing area will become smaller. In addition, the increase in number of livestock and the associated increase in competition for natural grazing land could have an unintended impact on pastoralists who cannot afford fodder. These pastoralists would have to extend the range where they look for fodder for their livestock and thus take on further distances and additional strains (Interviewee MAWF 2018). The increasing commercialisation of agriculture, pastoralism and marketing could also result in the loss of cultural heritage in the sense of traditional farming and pastoralism methods. Moreover, these effects can contribute to a further widening of the social gap between rich and poor (Interviewee GIZ 2018; Interviewee HGU I 2018). According to the Gini index [50], Namibia is already one of the countries with the greatest disparities between rich and poor, a fact that could worsen due to mismanagement.
Because of the fence around the WSP and its monitoring, it is no longer possible for pastoralists to enter the facility and water their livestock there (Interviewee TUD II 2018; Interviewee UW/H 2018; Interviewee HGU II 2018). In addition, the water volume of the surrounding Oshanas is reduced in order to avoid an overflow of pond water. That change significantly limits fishing during the dry season. This would be an initial negative impact for previous beneficiaries. Yet, the risk of contamination for humans and animals is significantly reduced at the same time. However, the absolute purity of the produced fodder cannot be fully guaranteed, depending on the ingredients of the irrigated water and the sludge applied. This might allow pathogens to spread via contaminated fodder products, which could also have an impact on animal health and thence on meat or milk quality (Interviewee HGU I 2018). In addition to the health consequences, this would also result in financial losses for the animal owners and sellers. Nevertheless, if the water reuse system is well run, there are very low health risks (Interviewee HGU I 2018). Health hazards such as contaminants of emerging concern were not mentioned by the interviewees [8].
Emerging envy, conflicts or even hostilities could arise between farmers. This could take the form of illegally leaving livestock on arable land to feed or maliciously destroying or burning crops (Interviewee KfW II 2018). Out of necessity, pastoralists could also illegally enter the area with their livestock in order to graze or use the ponds as a drinking trough. This in turn could lead to the spread of pathogens by livestock. Envy can also take place at a higher level, for example, between municipalities that feel disadvantaged compared to Outapi (Interviewee NamWater 2018). In extreme cases, this could entail moving residents from a neighbouring town to Outapi, as the conditions in Outapi are more favourable for them. On a larger scale, the town affected by emigration would suffer considerable economic losses and setbacks.
As pastoralism in Namibia is traditionally in the hands of men, women benefit only to a very limited extent or indirectly from fodder production (Interviewee GIZ 2018). When the meat is sold, women are involved again, typically at open markets. Depending on the business model of irrigated fodder production, people already selling fodder could be displaced as well. If the sale of this supplementary fodder is in the hand of the farmers themselves, the traders and vendors in the central north, who procure fodder from distant regions, would be negatively affected and could in the worst case lose their source of income (Interviewee NGO 2018).
Additional fodder could result in an increase in the number of livestock. By purchasing supplementary fodder, selling meat with better quality will be more lucrative, resulting in increased meat consumption (Interviewee HGU I 2018). Depending on whether people can afford to eat more meat and whether they own their livestock, this in turn is associated with an unbalanced nutrition and thus health consequences for humans.
Conflicts could arise regarding the question of how to use the treated water (Interviewee TUD I 2018). For example, farmers could prefer to use the water for the purpose of irrigating vegetables, since the yields to be achieved through this are significantly higher than with another purpose. If water quality does not permit the cultivation of food, this could have drastic consequences on the quality of food and in particular for human health. In this instance the OTC as operator would have to intervene. The responsibility for the plant and its management could also be a burden for the operator, which could lead to a lack of maintenance and thus poorer quality of water (Interviewee ISOE 2018). This is a circumstance that can also be observed in other countries in southern Africa [7].
3.3. Economic Impacts
3.3.1. Intended Impacts
A key economic impact is the relief of the entire WSP system and the reduction in sewage system failures (backwater) due to the technical upgrading (Interviewee TUD I 2018). The increased capacity and thus improved efficiency of the WSP can save costs, which would have been incurred for repair work or an expansion of the plant with additional ponds (Interviewee UW/H 2018). Furthermore, improved management of the plant and the coordination with irrigation contributes to increased efficiency. By providing the treated water and depending on the business model, also the production and sale of fodder, the operator (OTC) generates income to cover the costs incurred for the operation and maintenance of the plant. In addition, the WWTPP contributes to reducing costs significantly by sharing knowledge and experiences among the participating municipalities (Interviewees TUD 2018; Interviewee HGU 2018; cf. [58]). The importance of cost-effective technologies can also be observed in other African countries [77].
Another impact is the creation of value since ‘waste’ is transformed from a harmful substance into a valuable resource (Interviewee ISOE 2018). On the one hand, this concept illustrates a possibility of sewage disposal that was previously managed via evaporation. On the other hand, a new water resource is created, which can be used for irrigation and fodder production, respectively. In addition, the water contains nutrients such as phosphorus, nitrogen and potassium, which have an added value in agriculture as fertilisers (Interviewee UW/H 2018). At the same time, improved agricultural production and product quality is achieved by using sludge and treated water, which is reflected in rising revenues for farmers and pastoralists (Interviewee UW/H 2018; Interviewee HGU II 2018). A further side effect is that the sewage sludge separated from the wastewater through a microscreen is transported to another plant north of Outapi (Oswin O. Namakalu Sanitation and Reuse Facility), where biogas and electricity can be produced by a fermenter (Interviewees TUD 2018; Interviewee UW/H 2018; cf. [75]).
The evaporation pond serves as an additional buffer to prevent overflowing during the rainy season and to compensate for the lack of precipitation in dry season (Interviewee TUD I 2018). The possibility of year-round cultivation creates economic benefits for farmers and indirectly also for buyers and/or consumers (Interviewee TUD I 2018; Interviewee HGU 2018).
Project-related fodder production can contribute to building a regional market for fodder, which could lead to a strengthening of trade, a development of commercial breeding farms and a general economic upturn in the region (Interviewee TUD I 2018). The Namibian economy also benefited from technical improvements at the WSP that were carried out by Namibian companies, among others. If the water reuse concept is replicated, an economic branch in Namibia focusing on corresponding measures could be established, which may reduce Namibia’s dependency on imports (Interviewee HGU 2018; Interviewee NGO 2018).
3.3.2. Unintended Impacts
A question regarding unintended impacts is whether there will be people willing to buy the treated water at all. If the illegal withdrawal of water from the canal is left out, the treated water should not be more expensive than tap water; otherwise, the farmers would not buy it (Interviewee KfW 2018; Interviewee UNAM 2018). Another aspect could be the lack of demand for water during the rainy season due to natural rainfall (Interviewee UNAM 2018). This is invalidated by the buffering function of the evaporation pond since water supply is only provided during dry season when water demand is high. In the case of a tenant farmer, the business model would then have to be designed in such a way that the farmers pay amounts to the operator all year round, such as in the case of a lease.
Furthermore, pipe clogging of the irrigation system by particles could occur, assuming some kind of drip irrigation is applied (Interviewee HGU I 2018; cf. [78]). This would limit plant growth but would also entail repair costs. A significantly greater damage would result for the farmers if livestock entered the field and destroyed the harvest or damaged the irrigation system (Interviewee TUD I 2018).
A major problem associated with the fodder production is the possible lack of fodder demand due to multiple reasons. On the one hand, a reason could be the origin of the treated water (sewage), which could deter buyers (Interviewee OLBMC 2018). On the other hand, the lack of demand could result from high fodder prices due to irrigation, which pastoralists cannot afford. The price of the fodder produced should therefore not be higher than the market price (Interviewee UNAM 2018). Fodder prices that can be charged are likely to be low especially at the beginning of the dry season, which affects the farmers’ income (Interviewee ISOE 2018; Interviewee UNAM 2018).
Assuming the tenant model, the conditions described result in a mutual dependency between the operator and the farmer. The farmers rely on treated water, especially in the dry season, and the operator in turn depends on the yields of the farmers in order to cover their running costs and plant maintenance (Interviewee OLBMC 2018). Events such as crop failures could therefore lead to financial losses for farmers and thus move the equilibrium point of the system into another state.
3.4. Success Factors and Hazards for Sustainable Operation
3.4.1. Success Factors
The focus regarding success factors is on the underlying business model of the water reuse system, in particular on management and maintenance (Table 1) (Interviewee KfW 2018; Interviewee UW/H 2018). A prerequisite for good management is that the operators develop an awareness of the system and a willingness to carry out the work involved (Interviewee UW/H 2018). Clear responsibilities, monitoring and control structures must be established within the operator [75,79]. In this context, qualified personnel with a certain sense for responsibility is crucial, e.g., to anticipate possible weaknesses in the system (Interviewee HGU I 2018; Interviewee TUD II 2018). The training of workers is indispensable not only in relation to the WSP system, but also in agriculture related to cultivation and the use of irrigation systems (Interviewee HGU II 2018; Interviewee MAWF 2018). In order to facilitate the maintenance of the plant, it is advantageous to pursue low-tech approaches that simplify the procurement of spare parts and repair (Interviewee UW/H 2018). The WWTPP contributes to this (Interviewee TUD I 2018; Interviewee HGU I 2018).
Table 1.
Success factors and hazards for sustainable operation of the water reuse system.
A further success factor involves communication between the various stakeholders, primarily between the plant operator and the farmers, in order to coordinate and simplify work steps, but also among local authorities, associations, urban planners and environmentalists to increase acceptance in society through public participation (Interviewee NGO 2018). By overcoming prejudices regarding treatment of sewage and ensuring product safety, it must be proven and demonstrated that the product is harmless to humans (Interviewee HGU I 2018; Interviewee TUD II 2018).
Functioning supply chains are essential for the business model. This refers to the provision of water, the production of fodder and its purchase. When generating income, care must be taken to ensure a fair distribution to avoid conflicts (Interviewee TUD I 2018; Interviewee UNAM I 2018).
3.4.2. Hazards
Hazards to sustainable operation comprise vandalism (Interviewee HGU II 2018), clogging of irrigation pipes, salinisation (Interviewee TUD II 2018), lack of demand for water and fodder (Interviewee ISOE 2018), and water usage competitions (Interviewee ISOE 2018). Further hazards relate to the success factors, such as awareness problems (Interviewee UNAM II 2018) and therefore lack of maintenance, in particular, missing spare parts and controls (Interviewee UNAM II 2018), resulting in decreased water quality that would in turn affect the farmers and consumers (Interviewee TUD II 2018). Another hazard is the lack of specific education (curricula) (Interviewee HGU I 2018) and thus poorly qualified farmers, which leads to incorrect irrigation practices and impairment of societal health. In particular, health risks for both livestock and humans pose a risk, which in the event of incidents would fuel the negative image of water reuse and cause sales to collapse (Interviewee UW/H 2018).
One hazard not previously considered is the extreme population growth in the town, resulting again in capacity bottlenecks of the WSP (Interviewee UNAM I 2018; cf. [53,80]). Given the current population trends in the study area, planning for the upgrade is for a period of approximately 10 to 15 years (Interviewee ISOE 2018; Interviewee UW/H 2018). Natural hazards can occur in form of flooding of cultivated areas due to heavy rainfall, which in turn can lead to soil erosion. This would only affect a very small area of land and due to the low gradient, soil erosion would not be very significant (Interviewee ISOE 2018; Interviewee HGU II 2018). Going along with the burden of operation and associated investments, in the worst case, the operator could switch off pretreatment and return to the original condition before upgrading (Interviewee TUD I 2018). In addition, as part of the brain drain, the operator’s employees may leave their current jobs because working conditions are better elsewhere (Interviewee TUD II 2018; Interviewee HGU I 2018).
A hazard that would affect not only the sanitation and water reuse system in the study area but also northern Namibia entirely would be a deterioration in bilateral relations with Angola, which, in the worst case, could lead to no more water provided for the canal. However, owing to good bilateral relations, this can be considered relatively unlikely at present (Interviewee TUD I 2018).
3.5. Significance of Management and Operation
Based on the success factors and hazards, it becomes clear how important management is for sustainable operation of the water reuse system. To illustrate the changes associated with the mode of operation, the following summary tables show intended and unintended impacts, taking into account good and poor management. To assign the impacts to the different groups and perspectives, a subdivision into stakeholders or spheres of influence was made, which include operators of the system, society, economy, ecosystem and ecosystem services. Table 2 shows the intended impacts occurring in terms of poor operation (only black) and good operation (additionally blue). Table 3 shows the unintended impacts that occur with good operation (black) and poor operation (additionally red).
Table 2.
Intended impacts of the upgrading process related to poor (black) and good (blue) operation, allocated to spheres of influences.
Table 3.
Unintended impacts of the upgrading process related to good (black) and poor (red) operation, allocated to spheres of influences.
3.6. Scenario Analysis
As described above, the two main drivers of the water reuse system comprise management and fodder demand. Figure 4 shows a causal loop diagram of the various system components linked with the identified drivers. The diagram combines the three categories, ecology, society and economy, with the system of water reuse for fodder production. The causal links between the variables are represented by arrows with a positive or negative polarity indicating the type of influence. Furthermore, the diagram shows reinforcing (R) and balancing feedbacks (B), feedbacks consisting of at least two variables forming a loop.
Figure 4.
Causal loop diagram of the different system components linked with the main driving forces, management and fodder demand (highlighted). Two strokes on a causal link symbolize a time delay between the current and perceived state of a process. Blue circles containing either an R or a B represent reinforcing or balancing feedbacks.
The most important reinforcing feedback consists, among others, of the variables management and water quality, which are connected by a positive causal link. Water quality, in turn, indicates a positive causal link with the quality of the fodder, which generates income. As a result of the yields achieved from the sale of fodder, the management is again strengthened, which completes the reinforcing effect (R1). Another reinforcing feedback arises from the causal links of the management to pond overflowing and from there to the contamination. Contamination is linked to the soil quality and therefore to the fodder. Similar to R1, fodder generates income, which in turn leads to initial management. Since this loop comprises two negative causal links, a reinforcing feedback is formed (R2). Additional reinforcing feedback concerns income, since income from fodder creates an increase in assets in all their facets. Therefore, the willingness to pay for fodder and also fodder demand rises due to the positive causal links, resulting in initial income (R3). Besides the willingness to pay, the fodder demand depends on the need for fodder, which in turn relies on the number of livestock and natural pastures. These two variables also form a balancing feedback as they are directly connected to two causal links of different polarity (B). The same applies to the variables asset and number of livestock, but due to the two positive causal links there is a reinforcing feedback here (R4). By combining R3 and R4 with the need for fodder, a new reinforcing feedback is created (R5). Furthermore, different existing loops can be merged, e.g., the combination of R1 and R5 with health risks and population leads to the reinforcing feedback R6.
By identifying the feedbacks, the complexity of the water reuse system in relation to the driving forces becomes clear. The diagram facilitates the assessment of the four identified scenarios A1 (good management and high fodder demand), A2 (bad management and high fodder demand), B1 (good management and low fodder demand) and B2 (bad management and low fodder demand). Since a scenario analysis similar to the CLD model developed would be difficult to cope with and numerous overlaps occur in the content of the scenarios, the focus of the evaluation is on highlighting the differences in order to avoid repetition of impacts.
Figure 5 shows the intended and unintended impacts of the upgrading and assigns them to the four scenarios. If effects only apply to one single scenario, they are located in one of the four corners. In addition, there are four fields in which two scenarios demonstrate the same characteristics of a single driving force, for example, a high fodder demand in the upper middle. The ninth and last field in the middle contains impacts that can occur in all four scenarios.
Figure 5.
Ecological (green), social (orange) and economic impacts (blue) of the upgrading process associated with the four identified scenarios; corner fields represent impacts that occur only for the specific scenario; middle outer fields symbolise overlaps between two adjacent scenarios with the same driving force, and the field at the centre overlaps of all four scenarios.
Effects that occur in all four scenarios include only unintended impacts, namely, the displacement of wildlife, the risk of ponds overflowing during heavy rainfall, a possible burden on the operator and the fact that women do not benefit from fodder production and pastoralism. In addition, overgrazing is already widespread in northern Namibia. On the one hand, additional fodder could relieve the strain on natural resources. On the other hand, pastoralists would prefer free grass to produced fodder. Another effect that can always occur independently of the driving forces is brain drain, especially if there are wage payment bottlenecks.
Irrespective of the fodder demand, good management leads to relief of the WSP and less repair work for the plant. Furthermore, reusing water relieves the strain on natural resources. With good management, the effluent is characterised by a good water quality, which benefits fodder production with nutrients and a minimised risk of contamination, thereby improving soil fertility. Good management also reduces the risk of ponds overflowing, and in the event of heavy rain, the strain on the surrounding Oshanas is significantly lower than before the upgrade. Society also benefits from the management through improved hygiene and income associated with employment. Additionally, good management reduces emissions and odour nuisance.
In contrast, bad management leads to maintenance issues and thus a lower quality of water. Therefore, an increased risk of land contamination is present, in particular by heavy metals, resulting in lower product quality and health risks for consumers. In addition, the lower water quality and the particles contained in the water lead to pipe blockages and damage to the pipes. With an insufficient management, the risk of ponds overflowing and therefore the risk of contaminating the Oshanas also increases. Concerning society, information inequalities can widen the social divide. In addition, a disregard for the involvement and education of the population can lead to a lack of acceptance.
Assuming that fodder production is guaranteed regardless of the management style, high fodder demand is associated with revenues for the operators. The consideration of a high demand for fodder shows that the number of livestock will increase due to the avoidance of emergency slaughtering. As a result, the increased number of animals will lead to increased methane emissions and overgrazing of natural pastures.
Less fodder demand, however, results in issues with revenues and thus the maintenance of the system. In addition, benefits from marketing and trade are missing out. A low fodder demand based on a lack of willingness to pay or financial resources does not change the state of emergency slaughtering, resulting in losses for pastoralists. Furthermore, a lack of yield by farmers can lead them to reconsider their cultivation system and possibly generate higher margin products that do not meet water quality standards. Otherwise, a complete reorientation towards water reuse alternatives could be initiated.
Concerning the scenario-related impacts, it is noticeable that the number of such effects is relatively small. A dominant factor is the generated yields for fodder and the associated revenues for the operator, which vary from scenario to scenario. In the worst-case scenario (B2), inadequate management coupled with low demand for fodder will generate the lowest yields. In this case, the operation of the underlying system consisting of water treatment and fodder production would not make sense. In terms of yields, this is similar in scenario B1, where there is good management and thus good water quality, but low fodder demand is the basis. If these circumstances do not change in the near future, it would be advisable to rethink this kind of water reuse, as the efforts extend beyond the benefits.
The situation is different in the case of inadequate management combined with high demand for fodder (A2), where income is generated from the yields. However, due to the lower product quality coupled with possible crop losses, the yields to be achieved are lower. Here, more conscious management could significantly increase yields and thus incomes. Optimal conditions are given in scenario A1, where good management meets high fodder demand. This is where the highest yields are achieved, which benefits the operators themselves and the maintenance of the system. As a prestige object, this would enhance the reputation of the operator and the town. At the same time, in terms of transferability, the concept thus represents a prime example for other regions.
4. Conclusions
Against the background of the current problems in managing WSP systems and water supply constraints in central northern Namibia, this study demonstrated that water reuse based on an upgrade of WSPs represents an extremely sensible and sustainable concept. The impact assessment has shown that intended positive impacts clearly outweigh the unintended ones. Wastewater is not only disposed, but is seen as a new water resource. Thus, a polluting liquid is transformed into a value benefitting the population and the ecosystem. In addition, the concept reveals a new opportunity for water reuse and constitutes a major advantage for water supply and relief regarding limited water resources. The relatively new approach of the SEIA has proven useful and insightful in assessing the social–ecological impacts of the water reuse system and the corresponding success factors and hazards of the transformation process. In this way, insights for a long-term enhancement of living and ecosystem conditions could be achieved.
Following conclusions can be drawn:
- Water reuse systems based on WSPs have great transfer potential due to the large number of WSPs in northern Namibia, but also generally in southern Africa. Most WSPs are facing capacity problems with numerous ecological and social consequences, which is an argument in favour of upgrading WSPs.
- The success of a transfer depends on a number of factors rooted in local conditions. These factors comprise, for instance, the local availability of water, the amount of wastewater collected through a sewage system, potential agricultural areas close to the ponds, demand for fodder, the willingness to pay for it and capacities to manage, operate and maintain the system.
- A major problem that arises with replication is the financing of the initial investment, which cannot be refinanced by the income from fodder production alone. Therefore, external investors or donors must be found, although public funds may also be considered, such as subsidies from responsible ministries.
- Limitations of the study lie in the purely qualitative nature of the results, which means that quantitative aspects were hardly taken into account. Future research could consider approaches such as Baysian belief networks (BBN) to provide both qualitative and quantitative analysis of the research topic.
- From a more general point of view, alternatives for upgrading WSPs, e.g., activated sludge plants, might have to be considered in future research as well. It remains to be seen whether such an option would involve significantly greater transformation efforts, given that WSPs are already available and both investment and operating costs are assumed to be higher.
- With the increasing global water and food crises, the reuse of water from WSPs will become much more widespread since water reuse in agriculture gains importance in all parts of the world. In this way, water reuse based on WSPs also contributes to global food security.
Author Contributions
M.Z. and F.N. conceived and designed the study; F.N. conducted and analyzed the interviews and wrote large parts of the paper; M.Z. wrote additional parts of the paper and made the final edits; M.Z. contributed to the acquisition of funds, administered and supervised the project. All authors have read and agreed to the published version of the manuscript.
Funding
The project was funded by the German Federal Ministry of Education and Research (BMBF) under the funding measure WavE (funding code 02WAV1401B). Open access fees were covered by the BMBF Post Grant Fund (funding code 16PGF0371).
Institutional Review Board Statement
The study was conducted in accordance with the Declaration of Helsinki, and approved by the Ethics Commission of the ISOE–Institute for Social-Ecological Research, Frankfurt am Main, Germany (2022).
Informed Consent Statement
Informed consent was obtained from all subjects involved in the study.
Acknowledgments
The authors would like to thank all Namibian and German interview partners together with the German project partners, in particular, the institute IWAR of the Technical University in Darmstadt. The article was written as part of the project ‘EPoNa—Upgrading wastewater pond systems to generate irrigation water for animal fodder production using the example of Outapi, Namibia’.
Conflicts of Interest
The authors declare no conflict of interest.
References
- Niang, I.; Ruppel, O.C.; Abdrabo, M.A.; Essel, A.; Lennard, C.; Padgham, J.; Urquhart, P. Climate Change 2014: Impacts, Adaptation, and Vulnerability. Part B: Regional Aspects. Contribution of Working Group II to the Fifth Assessment Report of the Intergovernmental Panel of Climate Change; Barros, V.R., Field, C.B., Dokken, D.J., Mastrandrea, M.D., Mach, K.J., Bilir, T.E., Chatterjee, M., Ebi, K.L., Estrada, Y.O., Genova, R.C., et al., Eds.; Cambridge University Press: Cambridge, UK; New York, NY, USA, 2014; pp. 1199–1265. [Google Scholar]
- Himmelsbach, T. Tiefe, semi-fossile Grundwasserleiter im südlichen Afrika: Hydrogeologische Untersuchungen im Norden von Namibia. GMIT–Geowiss. Mitt. 2017, 67, 8–18. [Google Scholar]
- Dabasso, B.H.; Wasonga, O.V.; Irungu, P.; Kaufmann, B. Emerging pastoralist practices for fulfilling market requirements under stratified cattle production systems in Kenya’s drylands. Anim. Prod. Sci. 2021, 61, 12–24. [Google Scholar] [CrossRef]
- Luetkemeier, R.; Stein, L.; Drees, L.; Liehr, S. Blended Drought Index: Integrated Drought Hazard Assessment in the Cuvelai-Basin. Climate 2017, 5, 51. [Google Scholar] [CrossRef] [Green Version]
- Asano, T. (Ed.) Wastewater Reclamation and Reuse: Water Quality Management Library; CRC Press: Boca Raton, FL, USA; London, UK; New York, NY, USA; Washington, DC, USA, 1998. [Google Scholar]
- Sinn, J.; Agrawal, S.; Orschler, L.; Lackner, S. Characterization and evaluation of waste stabilization pond systems in Namibia. H2Open J. 2022, 5, 365–378. [Google Scholar] [CrossRef]
- Edokpayi, J.N.; Odiyo, J.O.; Popoola, O.E.; Msagati, T.A.M. Evaluation of contaminants removal by waste stabilization ponds: A case study of Siloam WSPs in Vhembe District, South Africa. Heliyon 2021, 7, e06207. [Google Scholar] [CrossRef]
- K’oreje, K.O.; Okoth, M.; van Langenhove, H.; Demeestere, K. Occurrence and treatment of contaminants of emerging concern in the African aquatic environment: Literature review and a look ahead. J. Environ. Manag. 2020, 254, 109752. [Google Scholar] [CrossRef]
- Mungray, A.K.; Kumar, P. Occurrence of anionic surfactants in treated sewage: Risk assessment to aquatic environment. J. Hazard. Mater. 2008, 160, 362–370. [Google Scholar] [CrossRef] [PubMed]
- Mara, D.D. Waste stabilization ponds: Past, present and future. Desalination Water Treat. 2009, 4, 85–88. [Google Scholar] [CrossRef] [Green Version]
- Craggs, R.; Sukias, J.; Tanner, C.; Davies-Colley, R. Advanced pond system for dairy-farm effluent treatment. N. Zealand J. Agric. Res. 2004, 47, 449–460. [Google Scholar] [CrossRef]
- Gumisiriza, R.; Mshandete, A.; Rubindamayugi, M.; Kansiime, F.; Kivaisi, A. Enhancement of anaerobic digestion of Nile perch fish processing wastewater. Afr. J. Biotechnol. 2008, 8, 362–370. [Google Scholar]
- Veeresh, M.; Veeresh, A.V.; Huddar, B.D.; Hosetti, B.B. Dynamics of industrial waste stabilization pond treatment process. Env. Monit Assess 2010, 169, 55–65. [Google Scholar] [CrossRef] [PubMed]
- Mara, D.; Pearson, H.W. Design Manual for Waste Stabilization Ponds in Mediterranean Countries; Lagoon Techn. Internat: Leeds, UK, 1998; ISBN 0951986929. [Google Scholar]
- Ho, L.T.; van Echelpoel, W.; Goethals, P.L.M. Design of waste stabilization pond systems: A review. Water Res. 2017, 123, 236–248. [Google Scholar] [CrossRef] [PubMed]
- Lado, M.; Ben-Hur, M. Effects of irrigation with different effluents on saturated hydraulic conductivity of arid and semiarid soils. Soil Sci. Soc. Am. J. 2010, 74, 23–32. [Google Scholar] [CrossRef]
- Sinn, J.; Cornel, P.; Lackner, S. Waste stabilization ponds with pre-treatment provide irrigation water—A case study in Namibia. In IWA Water Reuse 2019: 12th IWA International Conference on Water Reclamation and Reuse, Book of Abstracts; DECHEMA–Gesellschaft für Chemische Technik und Biotechnologie e.V: Frankfurt am Main, Germany, 2019; pp. 10–17. [Google Scholar]
- Mohr, M.; Dockhorn, T.; Drewes, J.E.; Karwat, S.; Lackner, S.; Lotz, B.; Nahrstedt, A.; Nocker, A.; Schramm, E.; Zimmermann, M. Assuring water quality along multi-barrier treatment systems for agricultural water reuse. J. Water Reuse Desalination 2020, 10, 332–346. [Google Scholar] [CrossRef]
- Lackner, S.; Sinn, J.; Zimmermann, M.; Max, J.; Rudolph, K.-U.; Gerlach, M.; Nunner, C. Upgrading waste water treatment ponds to produce irrigation water in Namibia. Watersolutions 2017, 2017, 82–85. [Google Scholar]
- Cornel, P.; Engelhart, M. Ertüchtigung von Abwasser-Ponds zur Erzeugung von Bewässerungswasser am Beispiel des Cuvelai-Etosha-Basins in Namibia (EPoNa); Technische Universität Darmstadt: Darmstadt, Germany, 2016. [Google Scholar]
- United Nations. Transforming Our World: The 2030 Agenda for Sustainable Development: Draft Resolution Referred to the United Nations Summit for the Adoption of the Post-2015 Development Agenda by the General Assembly; United Nations: New York, NY, USA, 2015. [Google Scholar]
- Dendena, B.; Corsi, S. The Environmental and Social Impact Assessment: A further step towards an integrated assessment process. J. Clean. Prod. 2015, 108, 965–977. [Google Scholar] [CrossRef]
- Bond, A.J.; Viegas, C.V.; de Souza Reinisch Coelho, C.C.; Selig, P.M. Informal knowledge processes: The underpinning for sustainability outcomes in EIA? J. Clean. Prod. 2010, 18, 6–13. [Google Scholar] [CrossRef]
- Jay, S.; Jones, C.; Slinn, P.; Wood, C. Environmental impact assessment: Retrospect and prospect. Environ. Impact Assess. Rev. 2007, 27, 287–300. [Google Scholar] [CrossRef]
- Ortolano, L.; Shepherd, A. Environmental Impact Assessment: Challenges and Opportunities. Impact Assess. 1995, 13, 3–30. [Google Scholar] [CrossRef]
- Abaza, H.; Bisset, R.; Sadler, B. Environmental Impact Assessment and Strategic Environmental Assessment: Towards an Integrated Approach, 1st ed.; UNEP: Geneva, Switzerland, 2004; ISBN 9789280724295. [Google Scholar]
- DEA. Procedures and Guidelines for Environmental Impact Assessment (EIA) and Environmental Management Plans (EMP); DEA: Windhoek, Namibia, 2008. [Google Scholar]
- European Commission. Impact Assessment Guidelines–Technical Report SEC No. 92; European Commission: Brussels, Belgium, 2009. [Google Scholar]
- Grunwald, A. Technikfolgenabschätzung-Eine Einführung, Zweite, Grundlegend überarbeitete und Wesentlich Erweiterte Auflage (Gesellschaft-Technik-Umwelt, 1, Band 1); Sigma: Berlin, Germany, 2010. [Google Scholar]
- European Bank for Reconstruction and Development. Finance of Investment Projects/Environmental and Social Impact Assessments (ESIA) and Public Consultation; European Bank for Reconstruction and Development: London, UK, n.d. [Google Scholar]
- Burdge, R.J. Benefiting from the practice of social impact assessment. Impact Assess. Proj. Apprais. 2003, 21, 225–229. [Google Scholar] [CrossRef]
- Esteves, A.M.; Franks, D.; Vanclay, F. Social impact assessment: The state of the art. Impact Assess. Proj. Apprais. 2012, 30, 34–42. [Google Scholar] [CrossRef]
- Pope, J.; Bond, A.; Morrison-Saunders, A.; Retief, F. Advancing the theory and practice of impact assessment: Setting the research agenda. Environ. Impact Assess. Rev. 2013, 41, 1–9. [Google Scholar] [CrossRef] [Green Version]
- Corsi, S.; Oppio, A.; Dendena, B. ESIA (environmental and social impact assessment): A tool to minimize territorial conflicts. Chem. Eng. Trans. 2015, 43, 2215–2220. [Google Scholar] [CrossRef]
- IFC. IFC Performance Standards on Environmental and Social Sustainability; IFC: Washington, DC, USA, 2012. [Google Scholar]
- Rosa, J.C.; Sánchez, L. Is the ecosystem service concept improving impact assessment? Evidence from recent international practice. Environ. Impact Assess. Rev. 2015, 50, 134–142. [Google Scholar] [CrossRef]
- African Development Bank Group. Sustainable Development of Abu Rawash Wastewater Treatment System. Egypt. Summary of the Environmental and Social Impact Assessment; African Development Bank Group: Abidjan, Côte d’Ivoire, 2017. [Google Scholar]
- Liehr, S. Social-Ecological Impact Assessment (SEIA): Concept and Terms of Reference; CuveWaters Project Report; ISOE–Institute for Social-Ecological Research: Frankfurt am Main, Germany, 2012. [Google Scholar]
- Klintenberg, P.; Wanke, H.; Hipondonka, M. Social-Ecological Impact Assessment of the Rainwater Harvesting, Groundwater Desalination, Sanitation and Water Reuse, and Sub-Surface Water Storage in the Cuvelai Water Basin: Thematic Study on Ecology, Land Use, Hydrogeological Cycle and Eco-Hydrology; CuveWaters; ISOE–Institute for Social-Ecological Research: Frankfurt am Main, Germany, 2012. [Google Scholar]
- Brymer, A.B.; Holbrook, J.D.; Niemeyer, R.; Suazo, A.; Wulfhorst, J.; Vierling, K.; Newingham, B.; Link, T.; Rachlow, J. A social-ecological impact assessment for public lands management: Application of a conceptual and methodological framework. Ecol. Soc. 2016, 21, 9. [Google Scholar] [CrossRef] [Green Version]
- Jones, M.; Morrison-Saunders, A. Understanding the long-term influence of EIA on organisational learning and transformation. Environ. Impact Assess. Rev. 2017, 64, 131–138. [Google Scholar] [CrossRef] [Green Version]
- Lux, A.; Schäfer, M.; Bergmann, M.; Jahn, T.; Marg, O.; Nagy, E.; Ransiek, A.-C.; Theiler, L. Societal effects of transdisciplinary sustainability research—How can they be strengthened during the research process? Environ. Sci. Policy 2019, 101, 183–191. [Google Scholar] [CrossRef]
- Tribaldos, T.; Oberlack, C.; Schneider, F. Impact through participatory research approaches: An archetype analysis. Ecol. Soc. 2020, 25, 15. [Google Scholar] [CrossRef]
- Schäfer, M.; Bergmann, M.; Theiler, L. Systematizing societal effects of transdisciplinary research. Res. Eval. 2021, 30, 484–499. [Google Scholar] [CrossRef]
- Mendelsohn, J.M.; Jarvis, A.; Roberts, C.; Robertson, T. Atlas of Namibia: A Portrait of the Land and Its People; David Philip Publishers: Cape Town, South Africa, 2002. [Google Scholar]
- Woltersdorf, L.; Jokisch, A.; Kluge, T. Benefits of rainwater harvesting for gardening and implications for future policy in Namibia. Water Policy 2014, 16, 124–143. [Google Scholar] [CrossRef]
- Kluge, T.; Liehr, S.; Bischofberger, J.; Deffner, J.; Felmeden, J.; Kramm, J.; Krug von Nidda, A.; Schulz, O.; Stibitz, V.; Woltersdorf, L.; et al. IWRM-Verbundprojekt CuveWaters: Integriertes Wasserressourcen-Management im zentralen Norden Namibias (Cuvelai Basin) und in der SADC-Region. Phase III: Transfer eines Multi-Ressourcen-Mix, Teilprojekt 1: Schlussbericht: Projektlaufzeit: 01.10.2013–31.12.2015; ISOE–Institute for Social-Ecological Research: Frankfurt am Main, Germany, 2016. [Google Scholar]
- Mendelsohn, J.; Jarvis, A.; Robertson, T. A Profile and Atlas of the Cuvelai-Etosha Basin; RAISON & Gondwana Collection: Windhoek, Namibia, 2013; ISBN 9789991678078. [Google Scholar]
- UNESCO. Managing Water under Uncertainty and Risk: The Challenges; UNESCO: Paris, France, 2012. [Google Scholar]
- World Bank Group. GINI Index (World Bank Estimate). Available online: https://data.worldbank.org/indicator/si.pov.gini (accessed on 24 August 2018).
- National Planning Commission. Namibia 2011 Population and Housing Census: Preliminary Results; Namibia Statistics Agency: Windhoek, Namibia, 2012. [Google Scholar]
- Ministry of Agriculture, Water and Forestry. The Augmentation of a Water Supply to the Central Area of Namibia and the: CuvelaiPart II: Cuvelai Area of Namibia; Ministry of Agriculture, Water and Forestry: Windhoek, Namibia, 2016. [Google Scholar]
- Namibia Statistics Agency. Namibia 2011 Population and Housing: Census Indicators; Namibia Statistics Agency: Windhoek, Namibia, 2012. [Google Scholar]
- Zimmermann, M. The coexistence of traditional and large-scale water supply systems in central northern Namibia. J. Namib. Stud. 2010, 7, 55–84. [Google Scholar]
- Kluge, T.; Liehr, S.; Lux, A.; Moser, P.; Niemann, S.; Umlauf, N.; Urban, W. IWRM Concept for the Cuvelai Basin in Northern Namibia. J. Phys. Chem. Earth 2008, 33, 48–55. [Google Scholar] [CrossRef]
- Republic of Namibia. Namibia Vision 2030: Policy Framework for Long-Term National Development; Republic of Namibia: Windhoek, Namibia, 2004. [Google Scholar]
- Röhrig, J.; Werner, W. Policy Framework for Small-Scale Gardening; CuveWaters Papers No. 8; ISOE–Institute for Social-Ecological Research: Frankfurt am Main, Germany, 2011. [Google Scholar]
- Frick-Trzebitzky, F.; Kluge, T.; Stegemann, S.; Zimmermann, M. Capacity Development for Wastewater Management and Water Reuse in In-formal Partnerships in Northern Namibia. Front. Water 2022, 30, 115. [Google Scholar]
- Hummel, D.; Jahn, T.; Keil, F.; Liehr, S.; Stieß, I. Social Ecology as Critical, Transdisciplinary Science—Conceptualizing, Analyzing and Shaping Societal Relations to Nature. Sustainability 2017, 9, 1050. [Google Scholar] [CrossRef] [Green Version]
- Döring, N.; Bortz, J.; Pöschl-Günther, S. Forschungsmethoden und Evaluation in den Sozial-und Humanwissenschaften: Mit 194 Abbildungen und 167 Tabellen, 5., Vollständig überarbeitete, Aktualisierte und Erweiterte Auflage; Springer: Berlin/Heidelberg, Germany, 2016; ISBN 978-3-642-41088-8. [Google Scholar]
- Mattissek, A.; Pfaffenbach, C.; Reuber, P. Methoden der Empirischen Humangeographie; Westermann: Braunschweig, Germany, 2013. [Google Scholar]
- Mayring, P. Einführung in die Qualitative Sozialforschung: Eine Anleitung zu qualitativem Denken, 6. Auflage; Beltz: Basel, Switzerland, 2016. [Google Scholar]
- Galvin, R. How many interviews are enough? Do qualitative interviews in building energy consumption research produce reliable knowledge? J. Build. Eng. 2015, 1, 2–12. [Google Scholar] [CrossRef]
- Sattlegger, L. Negotiating attachments to plastic. Soc. Stud. Sci. 2021, 51, 820–845. [Google Scholar] [CrossRef]
- Kerber, H.; Kramm, J. From laissez-faire to action? Exploring perceptions of plastic pollution and impetus for action. Insights from Phu Quoc Island. Mar. Policy 2022, 137, 104924. [Google Scholar] [CrossRef]
- Kosow, H.; Gaßner, R. Methods of Future and Scenario Analysis: Overview, Assessment, and Selection Criteria; German Development Institute/Deutsches Institut für Entwicklungspolitik (DIE): Bonn, Germany, 2008. [Google Scholar]
- Kok, K.; van Vliet, M.; Bärlund, I.; Dubel, A.; Sendzimir, J. Combining participative backcasting and exploratory scenario development: Experiences from the SCENES project. Technol. Forecast. Soc. Chang. 2011, 78, 835–851. [Google Scholar] [CrossRef]
- Quist, J.; Thissen, W.; Vergragt, P.J. The impact and spin-off of participatory backcasting: From vision to niche. Technol. Forecast. Soc. Chang. 2011, 78, 883–897. [Google Scholar] [CrossRef]
- Carlsson-Kanyama, A.; Dreborg, K.H.; Moll, H.C.; Padovan, D. Participative backcasting: A tool for involving stakeholders in local sustainability planning. Futures 2008, 40, 34–46. [Google Scholar] [CrossRef]
- Döll, P.; Hauschild, M.; Fuhr, D. Scenario Development as a Tool for Integrated Analysis and Regional Planning. In Neotropical Ecosystems. Proceedings of the German Brazilian Workshop Hamburg 2000; Lieberei, R., Bianchi, H.-K., Boehm, V., Reisdorff, C., Eds.; GKSS-Forschungszentrum Geesthacht: Geesthacht, Germany, 2000; pp. 817–822. [Google Scholar]
- Delgado-Maciel, J.; Cortés-Robles, G.; Alor-Hernández, G.; García Alcaraz, J.L.; Négny, S. A comparison between the Functional Analysis and the Causal-Loop Diagram to model inventive problems. Procedia CIRP 2018, 70, 259–264. [Google Scholar] [CrossRef]
- Kirkwood, C.W. System Dynamics Methods: A Quick Introduction; Arizona State University: Phoenix, AZ, USA, 1998. [Google Scholar]
- Senaras, A.E. Causal Loop Diagrams and Feedbacks: A Case Study in Flexible Manufacturing System. Yönetim Ekon. Ve Pazarlama Araştırmaları Derg. 2017, 1, 1–12. [Google Scholar]
- Zimmermann, M.; Woltersdorf, L.; Felmeden, J.; Müller, K. Water reuse for agricultural irrigation. In Integrated Water Resources Management in Water-Scarce Regions: Water Harvesting, Groundwater Desalination and Water Reuse in Namibia; Liehr, S., Kramm, J., Jokisch, A., Müller, K., Eds.; IWA Publishing: London, UK, 2018; pp. 42–51. [Google Scholar]
- Liehr, S.; Kramm, J.; Jokisch, A.; Müller, K. (Eds.) Integrated Water Resources Management in Water-Scarce Regions: Water Harvesting, Groundwater Desalination and Water Reuse in Namibia. IWA Publishing: London, UK, 2018. [Google Scholar]
- Ghassemi, F.; Jakeman, A.J.; Nix, H.A. Salinisation of Land and Water Resources: Human Causes, Extent, Management and Case Studies; University of New South Wales Press: Sydney, Australia, 1995; ISBN 0-86840-198-6. [Google Scholar]
- Janeiro, C.N.; Arsénio, A.M.; Brito, R.; van Lier, J.B. Use of (partially) treated municipal wastewater in irrigated agriculture; potentials and constraints for sub-Saharan Africa. J. Phys. Chem. Earth 2020, 118–119, 102906. [Google Scholar] [CrossRef]
- Zimmermann, M.; Boysen, B.; Ebrahimi, E.; Fischer, M.; Henzen, E.; Hilsdorf, J.; Kleber, J.; Lackner, S.; Parsa, A.; Rudolph, K.-U.; et al. Replication Guideline for Water Reuse in Agricultural Irrigation: Upgrading Wastewater Pond Systems to Generate Irrigation Water for Animal Fodder Production Using the Example of Outapi, Namibia; ISOE-Materialien Soziale Ökologie No. 63; ISOE–Institute for Social-Ecological Research: Frankfurt am Main, Germany, 2021. [Google Scholar]
- Zimmermann, M.; Deffner, J.; Müller, K.; Kramm, J.; Papangelou, A.; Cornel, P. Sanitation and Water Reuse—Implementation Concept; ISOE–Institute for Social-Ecological Research: Frankfurt am Main, Germany, 2015. [Google Scholar]
- Zacharia, A.; Ahmada, W.; Outwater, A.H.; Ngasala, B.; van Deun, R. Evaluation of Occurrence, Concentration, and Removal of Pathogenic Parasites and Fecal Coliforms in Three Waste Stabilization Pond Systems in Tanzania. Sci. World J. 2019, 2019, 3415617. [Google Scholar] [CrossRef] [PubMed]
Publisher’s Note: MDPI stays neutral with regard to jurisdictional claims in published maps and institutional affiliations. |
© 2022 by the authors. Licensee MDPI, Basel, Switzerland. This article is an open access article distributed under the terms and conditions of the Creative Commons Attribution (CC BY) license (https://creativecommons.org/licenses/by/4.0/).




