Abstract
Recovery is one of the most important metallurgical parameters in designing and evaluating flotation circuits. The present study used the recovery arrangement for two and three stage circuits to evaluate the effect of stage recovery on the overall circuit recovery and flotation circuit configuration. The results showed that mainly the highest recovery value should be assigned to the rougher stage in order to achieve the maximum overall circuit recovery. Countercurrent rougher-cleaner and rougher-scavenger circuits, in which recycling streams step back one stage at a time, follow a general rule for the assignment of recovery. Finally, a flotation plant containing six flotation banks was examined as a case study. A program for calculating total circuit recovery, for all possible combinations of recovery was developed in MATLAB software. 720 recovery combinations were evaluated. The results showed that optimal recovery allocation in stages could be effective in achieving overall circuit recovery. It was shown that the use of a large number of stages in some of the flotation circuits leads to the loss of equipment and additional costs. The proposed approach can be employed as an effective tool for designing and optimizing various flotation circuits and their operational parameters.
1. Introduction
Froth flotation is a process used for selective separation of hydrophobic materials from hydrophilic. Over the years, various criteria have been introduced for evaluating flotation circuits. Technically, grade and recovery are the most common indicators for evaluation of a flotation circuit performance. If a flotation circuit meets the acceptable grade for a concentrate, achieving the highest recovery of the circuit plays an important role in the desirability of the flotation plant [1]. In such a situation, knowing the effect of stage recovery on the overall circuit recovery and identifying the most effective stage in the circuit is essential. The recovery of a cell or bank depends on the operational and design parameters. Some of the main factors affecting the efficiency of the flotation circuit are the pulp chemical conditions (chemical reagent concentration, pH, aeration), physical conditions in the cell (mixing, supply and distribution of air, pulp level), and arrangement (size of the cells in each bank, the connection between banks) [2]. Previous studies in the field of simulation and optimization of flotation circuits have investigated some of these factors and their effect on the flotation process [3,4]. Most of the existing flotation models are empirical [5], and they are not capable of predicting circuit behavior based on operating conditions and circuit configuration. In other words, accurate first-order models are difficult to use in flotation circuit design using optimization [6]. Even the use of a first order kinetic model can be a challenge when many separation stages or abundant species are considered. The computational cost for this type of optimization is very high. First-order models with a limited number of species have been widely used in the design of flotation circuits that are based on optimization [7]. In these studies, identical flotation rate constant for the specific species in each cell is assumed. This assumption may be very simplistic, but is commonly used in industrial operations [8].
Despite extensive researches had been done on the effect of design and operational parameters on the efficiency of flotation circuits, very few publications can be found in the literature that discusses the role of stage recovery on the overall circuit recovery and the effect of circuit configuration on the stage recovery [6,7,9,10]. Some previous studies have evaluated the circuit configuration with circuit analysis method assuming the same recovery in various flotation stages [7,11,12]. Some industrial studies have also used the identical stage recovery in separation circuits, along with separation sharpness as an index for assessing the separation circuit configuration [13,14,15]. Assuming identical recovery in all stages was criticized because of its simplicity and inadequate ability in distinguishing the circuits with the same separation sharpness [16]. The present study is going to compare and evaluate the configuration of flotation circuits, assuming that an identical recovery in stages is an acceptable assumption and the results are valid for non-identical stage recovery. Recently, the effect of stage recovery on the overall circuit recovery has been investigated from two aspects of sensitivity and uncertainty analyses [6,7,9,17,18]. These studies have shown that the flotation circuit configuration is not very sensitive to stage recovery [9,19]. The overall output suggests that choosing the best flotation circuit is not sensitive to the stage recovery, and as a result, only approximate values of the recovery can be used to select the optimal flotation circuit [6,9,20].
This paper using simple numerical examples shows that the assumption of circuit configuration insensitivity to the stage recovery is not correct in all cases. The aim of this paper is to indicate that stage recovery is an essential parameter in the design of flotation circuits and in some cases is strongly influenced by the structure of the circuit. The remainder of the paper is organized into four sections. After the introduction, application of recovery as a transfer function (Section 2) is described, Section 3 analyzed recovery arrangement in simple circuits and its application is shown by an industrial example (Section 4). Section 5 summarizes the results.
2. Methodology
2.1. Transfer Function
Transfer function is a mathematical expression that links a conserved quantity or component, j, entering a stage to the output of that stage in a steady state condition [7,21]. With respect to Figure 1, for the jth component of the input to a separation stage (Fj), the conservation relation is written as follows:
Figure 1.
The mass conservation component j in a single unit.
- Rj = Recovery of the component j
- Cj = mass flowrate of the component j into the concentrate
- Tj = mass flowrate of component j into the tail
The flotation process uses a variety of empirical, probabilistic and kinetic transfer functions to evaluate the mass ratio of output to input [22]. The empirical transfer function is obtained from the curve fitting to the recovery data in a steady state [23]. These curves do not attempt to establish logical relations or calculate the mass transfer function. The shape of these functions depends on the properties of the ore and on the structure of the circuit. Probabilistic transfer functions suggested that flotation is a sequence of events that must occur before the particle is collected [24]. As a result, probabilistic transfer functions are based on theoretical considerations of flotation sub-process occurrences. The probability transfer function correlates the particle recovery in flotation with the probability of floatation success, Px, for a specific size:
- Pc = probability of collision
- Pa = probability of attachment
- F = froth stability factor
If the flotation probability function in a single cell is considered to be Rj, then the recovery of bank of cells with the same flotation probabilities Rj is equal to [25]:
In Equation (3), R depends on factors, such as the probability of particle coating with the collector; the probability of the particle entering the bubble-particle collision region in the cell; the probability of a bubble-particle collision in the bubble-particle collision zone; the probability of attaching the bubble-particle after collision with each other; and, the probability of bubble-particle attachment report to the concentrate. In the case of flotation cells in plants for different stages of the flotation circuit, it is better to use cells of the same size and only different in numbers (e.g., rougher, cleaner, scavenger) [2]. This, in addition to providing the residence time, also provides the possibility of creating the same R. Kinetic transfer functions provide mineral recovery on a time basis. Usually, the first order kinetic is used to obtain the transfer function of a single cell [4]. When considering the assumption of perfect mixing for flotation cells, the recovery of a j species with a constant rate kj is related to the average residence time τj:
In which:
- Rj = the steady state transfer function of the mineral species j
- kj = constant flotation rate of the mineral species j, min−1
- τj = residence time for species j in the flotation cell, min
- n = number of flotation cells in the bank
By placing the following equation in the probability transfer function,
The kinetic transfer function is obtained by calculating the recovery of species j in a flotation bank:
After obtaining the optimal arrangement of recovery at different stages of a flotation circuit, one can use a variety of transfer functions to calculate the optimal design and operational parameters.
2.2. Circuit Function Calculation
In mineral processing engineering, the circuit function can be directly used in optimizing the separation circuit. Establishing functional relationships between operational parameters, such as pulp density and the transfer function of a single unit, can easily be accomplished through empirical operations. Obtaining the recovery function for mineral separation circuits can lead to the simplification of complex flowsheets. When considering the recovery as a transfer function for each stage/bank (Ra and Rb), it is possible to calculate the transfer function of the circuit while using the manual method [26]. In Figure 2, a closed rougher-scavenger circuit, analytical solution can be obtained while using algebraic expressions.
Figure 2.
Example of rougher-scavenger circuit for circuit function calculation.
Manual calculations:
Here, a method for finding circuit function with any number of stages by writing the equations between the inputs and outputs of each bank/mixing point based on stage recovery is developed. The input and output equations for Figure 2 and the corresponding matrix are expressed, as follows, in which the last column is related to the input stream:
These equations can be considered as linear systems AX = b, in which A is an m × n matrix. By solving the above equations, the transfer function is obtained for each stream:
- w2/w1 = 1/k,
- w3/w1 = Ra/k,
- w4/w1 = −(Ra − 1)/k,
- w5/w1 = −(Rb × (Ra − 1))/k,
- w6/w1 = ((Ra − 1) × (Rb − 1))/k,
in which:
k = (Ra × Rb − Rb + 1)
w is the name of the stream. If w is considered as the mass of a given mineral in a particular stream, by determining the transfer function of each of the streams, it is possible to do mass balance for the whole circuit. In this study, all of the calculations were carried out in MATLAB.
3. Results and Discussion
Recovery in Simple Circuits
Flotation circuit uses various stages of the rougher, scavenger, cleaner and cleaner-scavenger units. The overall circuit recovery can be obtained through the recovery of these units. In order to illustrate the effect of stage recovery on the overall circuit recovery, typical circuits of two and three stages have been investigated. Figure 3 schematically shows the typical or basic types of configuration for two and three stage flotation circuits. Assuming 0.4, 0.5, and 0.6 as available recovery values for a particular mineral species, all stage recovery combinations to obtain overall circuit recovery were evaluated. Here, analysing the circuit recovery is for one valuable component, but it can be developed to multi-components that increase the potential circuit stage recovery combinations. In this case, powerful search algorithms, like genetic algorithm, can be used to handle the optimization problem [27].
Figure 3.
Simple circuit structures and their recovery function.
The signs of F, C, and T show the mass of particles with a specific property in feed, concentrate and tailings. R, C, and S, respectively, represent the rougher, cleaner, and scavenger stages. For all configurations, the numbering of the stages is started from the left to have the calculated recovery function in a specific order. Table 1 shows all possible recovery combinations in stages, six possible states, and the total recovery achieved with that circuit. Due to the structure of some circuits, their transfer function is in such a way that it does not matter how the recovery arrangement is in the stages. In these circuits, the overall circuit recovery will be the same in any way that the recovery is distributed in stages (S2, S3, S6, and S12 circuits). By increasing the amount of recovery in each of the stages of these circuits, the total recovery also increased. The S6 and S12 circuits have the highest and lowest overall recovery in the 33 circuits under investigation (0.88 and 0.26, respectively). By examining the circuits of Figure 3 and Table 1, it can be seen that all R-C-C type circuits show lower recovery than the single rougher stage. By adding a cleaner-scavenger unit to these circuits and creating R-C-CS circuits, the circuit recovery increases, but even in this situation, the overall circuit recovery is less than that of a single rougher unit.
Table 1.
Recovery of the circuit with respect to different recovery in the stages (bold numbers are the highest recovery in the circuit).
Table 1 shows that most of the two and three stage circuits containing the scavenger unit have a recovery of more than 0.50. In terms of the cost of equipment (cell, pump, etc.), the scavenger unit needs more equipment than cleaner units in flotation circuit. As a result, achieving the required overall circuit recovery while using the minimum number of scavenger units can be economically desirable. For example, according to available recoveries, overall circuit recovery in the two stage S3 and S5 circuits is much more than the three stage R-S-SC and R-S-C circuits. Choosing these circuits will simplify and reduce the cost of the circuit design if the grade requirements are met. Generally, in circuits with a rougher-cleaner or rougher-scavenger structure that the middling stream step back one stage at a time, the optimal combination of the recovery in stages for maximizing the total circuit recovery, regardless of the number of stages in the circuit, follows a particular trend. In these types of circuits, the recovery from the rougher stage to the last cleaner or scavenger in the circuit is descending. As a result, the quantity and quality of the equipment used in this type of circuits also follow this trend. In a recent study, analysing 35 simple circuit designs showed that cleaning circuits and scavenging circuits have opposed behavior in level of recovery uncertainty [7]. The first type of circuits increases the level of recovery uncertainty in valuable particles, while they reduce the uncertainty in the recovery of gangue particles. The second types behave in an opposite fashion. These findings are in accordance with the result of this study that overall circuit recovery is sensitive to the circuit configuration and stage recovery. Although, the cleaning circuit increase the recovery uncertainty, but are desirable, since the scavenger unit needs more equipment and higher cost than cleaner units in flotation circuit. In Figure 4, countercurrent rougher-cleaner and rougher-scavenger circuit with five stages having one step back recycling streams are shown. The hypothetical recoveries are considered to be 0.30, 0.40, 0.50, 0.60, and 0.70 for different stages. In this case, there are 120 possible combinations for recoveries in stages.
Figure 4.
5 stage countercurrent rougher-cleaner and rougher-scavenger circuits.
The overall circuit recovery for all possible combinations was calculated according to the recovery of the stages. The highest total recovery for the five stage rougher-cleaner and rougher-scavenger circuits is presented in Table 2. As can be seen, increasing the number of stages lead to increase the overall circuit recovery in the rougher-scavenger systems and decrease in the rougher-cleaner systems. As an overall result, allocating recovery to different stages in these circuits follow a specific rule.
Table 2.
Optimal recovery arrangement for five stage circuits.
By making some changes to the arrangement of these circuits, for example, sending the scavenger concentrate to the final concentrate or the cleaner tail to the final tail or the return of the flows more than one step back, the process of allocating the recovery will change slightly. In the resulting circuits, however, the highest recovery in most cases is assigned to the rougher stage. Nevertheless, S6, S12, and S13 circuits do not follow this rule. The transfer function of the S6 and S12 circuits is such that the allocation of recovery in the stages is not important.
By creating cleaner-scavenger or scavenger-cleaner units, or using simultaneously the scavenger and cleaner units in a flotation circuit, the rule of recovery arrangement will no longer be the same as before. Although, in some of these configurations, the maximum total recovery of the circuit is achieved by the allocation of the highest recovery to the rougher stage, there are other cases that make it difficult to obtain a general rule. It was observed that the recycling of middling flows in the rougher-cleaner circuits would increase the recovery and in the rougher-scavenger circuits lead to reduce the recovery value. For example, S4 circuit in which cleaner tail is returned to the rougher stage, in comparison with the S2 circuit, the total circuit recovery increases by 30%, while in the S5 circuit, which returns the scavenger froth to the rougher stage as compared to circuit 3, the overall circuit recovery decreases by 6%. The analysis of Table 1 shows that in most circuit configurations sending the scavenger stage concentrate to the final circuit concentrate increases overall circuit recovery. Using this solution in order to achieve higher recovery would be beneficial when the desired grade is met. The S6 circuit, in which the concentrates produced from the scavenger stage is reported to the final circuit concentrate, the highest overall circuit recovery, 88%, is achieved. The opposite of this approach is to conduct the cleaner tail to the final tailing. In this case, although a high quality product will be obtained, the recovery loss will be tangible.
As mentioned in the introduction, one of the criticisms of the circuit analysis method is the assumption of the identical recovery in the stages to evaluate the circuit configuration. Considering an identical recovery of 0.50 for the two and three stages circuits, the overall circuit recovery of all 33 circuits was calculated. The maximum total recovery of the circuits for the cases of identical and non-identical stage recovery is illustrated in Figure 5. Although there is a little difference between the overall recovery of the corresponding circuits, the general trend of overall recovery of the circuits is the same. As a result, the assumption of the identical recovery in the stages to evaluate and comparison of the circuit configuration alternatives and then generalize it to non-identical recovery in stages can be considered as an acceptable assumption.
Figure 5.
Comparison of the overall circuit recovery for two and three stages circuits in the case of identical and non-identical stage recovery.
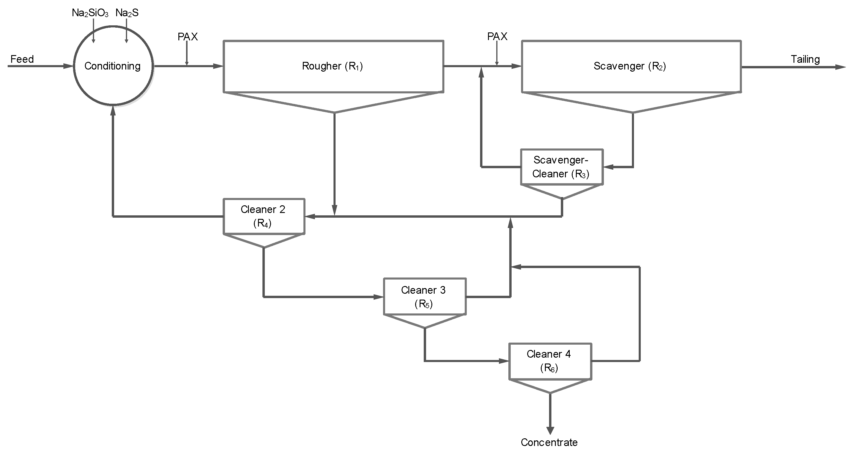
4. Industrial Example
The circuit under investigation has six flotation stages, as shown in Figure 6. Valuable minerals in the plant feed include galena and cerussite. Sodium sulfide is used for the sulfidation of oxidized lead ore. Other chemical reagents are potassium amyl xanthate and sodium silicate, which are added to the circuit at various points in the plant. The dosage and points of addition are presented in Table 3. The flotation stages include rougher, scavenger, scavenger-cleaner, cleaner 1, cleaner 2, and cleaner 3, which have respectively 8, 10, 3, 3, 2, and 2 cells each with a volume of 1.1 cubic meters.
Figure 6.
Lead flotation circuit.
Table 3.
Reagents dosage and addition points.
Grade and recovery of the flotation plant in 150 days of operation are shown in Figure 7. By sampling the input and output of each stage and calculating the recovery based on the two-product formula, the recovery values in the stages were 0.55, 0.70, 0.52, 0.61, 0.75, and 0.65, respectively. With regard to the evaluations that were carried out in the previous section, the first point that could be noted is the low recovery of the rougher stage in relation to the other stages. The transfer function of the circuit in Figure 6 is as follows:
Figure 7.
Daily grade and recovery data for lead flotation plant.
Regarding to recovery of each stage and the circuit transfer function, overall circuit recovery is 0.63. While considering Figure 6, for each stage recovery, there are 120 combinations of 720 possible combinations for the circuit with six stage. In Figure 8, all combinations and related recoveries are provided. A division based on the allocation of recovery to the first stage (rougher stage) has been created. From 120 to 240 and 480 to 600 the circuit recovery is higher than other combinations. These two parts belong to 0.70 and 0.75 recoveries for the rougher stage.
Figure 8.
Overall circuit recovery for 720 possible combinations of stage recoveries.
Table 4 indicates the 12 recovery combinations that lead to the highest circuit recovery. The highest recovery was obtained when 0.75 is assigned to the first stage. In Section 3, it was shown that with a few number of stages it is possible to achieve high recoveries. This is especially important in the design phase of flotation circuits. Because the goal of flotation circuit design is to achieve optimum recovery at minimum acceptable grade and optimization with minimal capital and operating costs. After calculating the optimal recovery of the stages, design and operational parameters, such as the number of cells and residence time, can be determined. For example, given the optimal allocation of recovery in Figure 6, the required number of cells in the stages using the probability transfer function could be calculated. The probability of flotation of valuable and gangue minerals in each cell was analyzed and is considered as 0.20 and 0.01, respectively. The calculated required cell number are 6, 4, 3, 5, 5, and 4, respectively, in the rougher, scavenger, cleaner-scavenger, cleaner 1, cleaner 2, and cleaner 3. The kinetic transfer function can also be used to calculate the residence time in each cell/bank according to the kinetic constant measured from the industrial data.
Table 4.
Maximum circuit recovery with regard to stage recoveries.
The overall circuit recovery can also be evaluated according to the circuit configuration or the removal and addition of a stage within the circuit. Because of the low grade of cleaner-scavenger tailing, close to the final tailing, this stream changed and conducted to the final tail (Figure 9). Sampling of the banks input and output after the change showed little variation in stage recoveries as 0.55, 0.73, 0.50, 0.65, 0.75, and 0.60, respectively. The final concentrate grade increased 4%.
Figure 9.
Alternative configuration, sending cleaner-scavenger tail to the final tail.
Nevertheless, the circuit recovery became 0.53 that drastically reduce when compared to the original circuit. If in this circuit the correct allocation of recovery in stages have used, they would be equal to 0.75, 0.65, 0.60, 0.73, 0.52, and 0.55. In this case, the total recovery of the circuit is 0.70. As another alternative, if the scavenger-cleaner stage is removed from the circuit (Figure 10) and the stage recoveries stay as the original circuit, the optimal allocation of recovery in the stages would be 0.75, 0.70, 0.65, 0.55, and 0.61. In this case, although the grade decreased by 2%, the total recovery of the circuit is increased to 0.83. As a result, most of the time, increasing the number of stages in a flotation circuit not only does not improve the circuit conditions, it can also lead to a loss of circuit efficiency. If it is possible to achieve optimal circuit recovery through three stages, while using a large number of stages in addition to imposing capital and operating costs will cause a loss of performance and reduce circuit recovery. Further stages can be taken to achieve the desired grade. As shown in the lead flotation circuit, by removing the scavenger-cleaner unit, it is possible to increase the total recovery of the circuit in the optimal allocation of recoveries in the stages from 0.62 to 0.83.
Figure 10.
Elimination of cleaner-scavenger stage from the original circuit.
5. Conclusions
Circuit configuration plays an important role in the way of recovery arrangement for flotation stages. The present study utilized simple numerical examples to indicate various applications of stage recoveries to evaluate the flotation circuit. Observations show that:
- (1)
- Stage recovery in some cases is strongly influenced by the structure of the circuit.
- (2)
- In the countercurrent rougher-cleaner and rougher-scavenger circuits, the arrangement of recovery in stages always follows a particular rule.
- (3)
- The assumption of the identical recovery in the stages is acceptable for the comparison and ranking of the circuit configurations to find the circuit with maximum recovery.
- (4)
- Using many numbers of stages does not necessarily increase the circuit performance, and, in some cases, it may impose additional costs and cause the circuit inefficiencies.
- (5)
- Based on the optimal recovery allocation for flotation stages, the design and operational parameters in the flotation circuit would be determined.
Author Contributions
V.R. and S.Z.S. designed the study; this paper was based on V.R.’s Ph.D. thesis; S.Z.S. directed the Ph.D. thesis, M.N. co-directed and H.A. consulted the Ph.D. thesis.
Funding
This research received no external funding.
Acknowledgments
The authors acknowledge support from the University of Tehran.
Conflicts of Interest
The authors declare no conflict of interest.
References
- Mendez, D.A.; Gálvez, E.D.; Cisternas, L.A. State of the art in the conceptual design of flotation circuits. Int. J. Miner. Process. 2009, 90, 1–15. [Google Scholar] [CrossRef]
- Sutherland, D.N. A study on the optimization of the arrangement of flotation circuits. Int. J. Miner. Process. 1981, 7, 319–346. [Google Scholar] [CrossRef]
- Pirouzan, D.; Yahyaei, M.; Banisi, S. Pareto based optimization of flotation cells configuration using an oriented genetic algorithm. Int. J. Miner. Process. 2014, 126, 107–116. [Google Scholar] [CrossRef]
- Guria, C.; Verma, M.; Mehrotra, S.P.; Gupta, S.K. Multi-objective optimal synthesis and design of froth flotation circuits for mineral processing, using the jumping gene adaptation of genetic algorithm. Ind. Eng. Chem. Res. 2005, 44, 2621–2633. [Google Scholar] [CrossRef]
- Gharai, M.; Venugopal, R. Modeling of flotation process—An overview of different approaches. Miner. Process. Extr. Metall. Rev. 2016, 37, 120–133. [Google Scholar] [CrossRef]
- Montenegro, M.R.; Gálvez, E.D.; Cisternas, L.A. The effects of stage recovery uncertainty in the performance of concentration circuits. Int. J. Miner. Process. 2015, 143, 12–17. [Google Scholar] [CrossRef]
- Amini, S.H.; Noble, A. Application of linear circuit analysis in evaluation of mineral processing circuit design under uncertainty. Miner. Eng. 2017, 102, 18–29. [Google Scholar] [CrossRef]
- Maldonado, M.; Araya, R.; Finch, J. Optimizing flotation bank performance by recovery profiling. Miner. Eng. 2011, 24, 939–943. [Google Scholar] [CrossRef]
- Jamett, N.; Cisternas, L.A.; Vielma, J.P. Solution strategies to the stochastic design of mineral flotation plants. Chem. Eng. Sci. 2015, 134, 850–860. [Google Scholar] [CrossRef]
- Montenegro, M.R.; Sepúlveda, F.D.; Gálvez, E.D.; Cisternas, L.A. Methodology for process analysis and design with multiple objectives under uncertainty: Application to flotation circuits. Int. J. Miner. Process. 2013, 118, 15–27. [Google Scholar] [CrossRef]
- Noble, A.; Luttrell, G.H. The matrix reduction algorithm for solving separation circuits. Miner. Eng. 2014, 64, 97–108. [Google Scholar] [CrossRef]
- Williams, M.C.; Meloy, T.P. On the definition and separation of fundamental process functions. Int. J. Miner. Process. 1989, 26, 65–72. [Google Scholar] [CrossRef]
- McKeon, T.J.; Luttrell, G.H. Optimization of multistage circuits for gravity concentration of heavy mineral sands. Miner. Metall. Process. 2012, 29, 1–5. [Google Scholar]
- Luttrell, G.H.; Kohmuench, J.N.; Stanley, F.L.; Trump, G.D. An evaluation of multi-stage spiral circuits. In Proceedings of the 16th International Coal Preparation Conference, Lexington, KY, USA, 27–29 April 1999; pp. 79–88. [Google Scholar]
- Luttrell, G.H.; Kohmuench, J.N.; Mankosa, M.J. Optimization of magnetic separator circuit configurations. Trans. Min. Metall. Explor. Inc. 2004, 316, 153. [Google Scholar]
- Gálvez, E.D. A shortcut procedure for the design of mineral separation circuits. Miner. Eng. 1998, 11, 113–123. [Google Scholar] [CrossRef]
- Sepúlveda, F.D.; Cisternas, L.A.; Gálvez, E.D. The use of global sensitivity analysis for improving processes: Applications to mineral processing. Comput. Chem. Eng. 2014, 66, 221–232. [Google Scholar] [CrossRef]
- Lucay, F.; Mellado, M.E.; Cisternas, L.A.; Gálvez, E.D. Sensitivity analysis of separation circuits. Int. J. Miner. Process. 2012, 110, 30–45. [Google Scholar] [CrossRef]
- Calisaya, D.A.; López-Valdivieso, A.; Marcos, H.; Gálvez, E.E.; Cisternas, L.A. A strategy for the identification of optimal flotation circuits. Miner. Eng. 2016, 96, 157–167. [Google Scholar] [CrossRef]
- Cisternas, L.A.; Jamett, N.; Gálvez, E.D. Approximate recovery values for each stage are sufficient to select the concentration circuit structures. Miner. Eng. 2015, 83, 175–184. [Google Scholar] [CrossRef]
- Williams, M.; Meloy, T. Feasible designs for separation networks: A selection technique. Int. J. Miner. Process. 1991, 32, 161–174. [Google Scholar] [CrossRef]
- Lynch, A.J.; Johnson, N.W.; Manlapig, E.V.; Thorne, C.G. Mineral and Coal Flotation Circuits-Their Simulation and Control; Developments in Mineral Processing No. 3; Elsevier Science Ltd.: New York, NY, USA, 1981. [Google Scholar]
- Savassi, O.N.; Alexander, D.J.; Franzidis, J.P.; Manlapig, E.V. An empirical model for entrainment in industrial flotation plants. Miner. Eng. 1998, 11, 243–256. [Google Scholar] [CrossRef]
- Kelsall, D.F. Application of probability in the assessment of flotation systems. Trans. Inst. Mining Metall. 1961, 70, 191–204. [Google Scholar]
- Davis, W.J.N. The development of a mathematical model of the lead flotation circuit at the Zinc Corporation Ltd. AIMM Trans. 1964, 212, 61–89. [Google Scholar]
- Meloy, T. Analysis and optimization of mineral processing and coal-cleaning circuits—Circuit analysis. Int. J. Miner. Process. 1983, 10, 61–80. [Google Scholar] [CrossRef]
- Hu, W.; Hadler, K.; Neethling, S.J.; Cilliers, J.J. Determining flotation circuit layout using genetic algorithms with pulp and froth models. Chem. Eng. Sci. 2013, 102, 32–41. [Google Scholar] [CrossRef]
© 2018 by the authors. Licensee MDPI, Basel, Switzerland. This article is an open access article distributed under the terms and conditions of the Creative Commons Attribution (CC BY) license (http://creativecommons.org/licenses/by/4.0/).









