Seismic Performance of Embedded Connections for Precast Hybrid Coupled Wall Systems: Experimental Study and Theoretical Analysis
Abstract
1. Introduction
2. Specimen Design and Fabrication
2.1. Prototype Structure
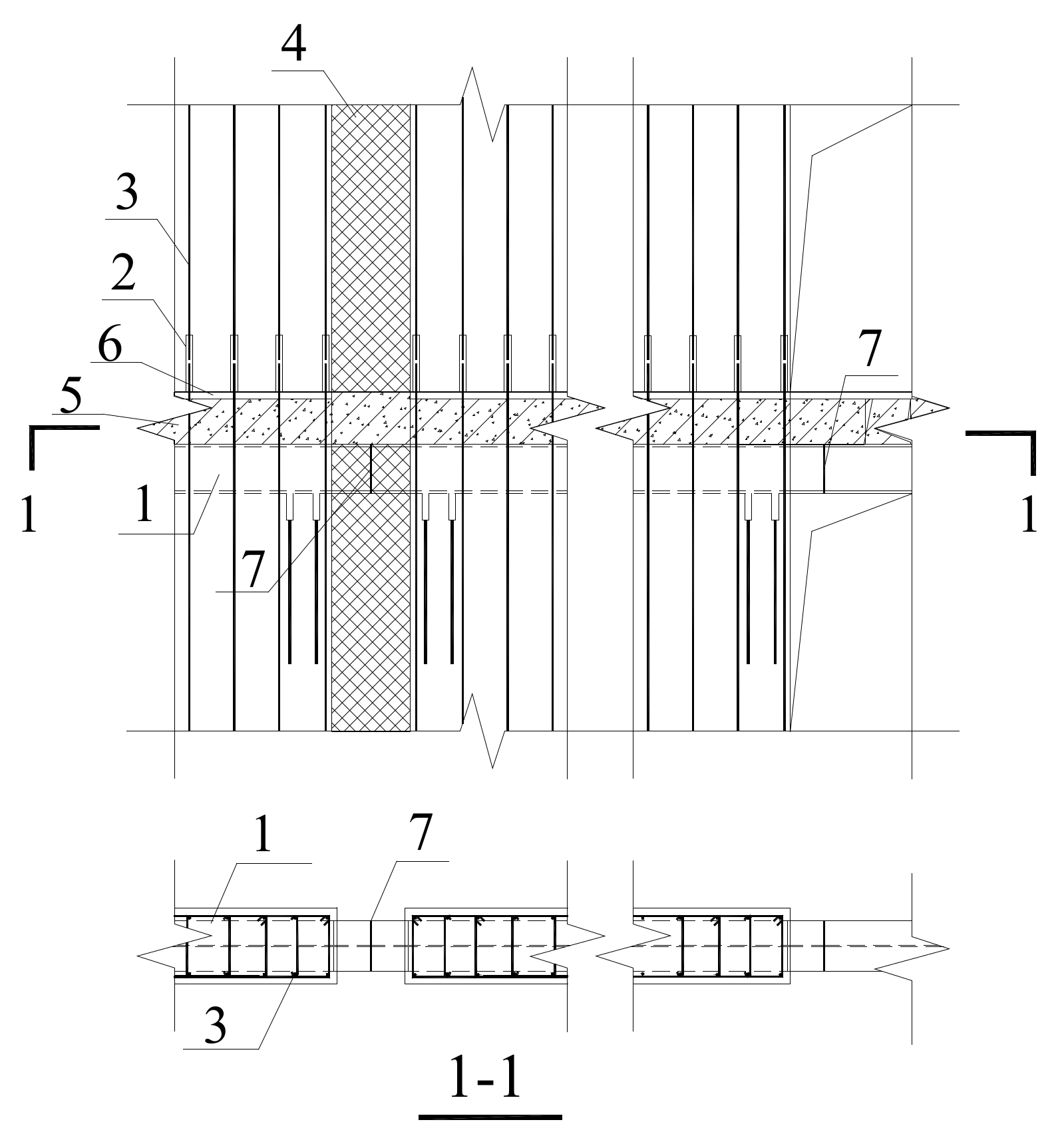
2.2. Specimens Design
2.3. Manufacturing Process
2.4. Measured Material Properties
3. Experimental Procedure
4. Experimental Results
4.1. Crack Pattern and Damage
4.2. Hysteresis Response
4.3. Stiffness Characteristics
4.4. Strain Distribution
5. Mechanics Models
5.1. Comparison of Current Mechanical Models and Experimental Results
5.2. Proposed Mechanical Model
6. Design Proposals
7. Conclusions
Author Contributions
Funding
Data Availability Statement
Acknowledgments
Conflicts of Interest
References
- Wihardja, T.; Imran, I. Seismic Behavior of Hybrid Coupled Wall System. IPTEK J. Proc. Ser. 2017, 345–358. [Google Scholar] [CrossRef][Green Version]
- Shahrooz, B.M.; Remmetter, M.E.; Qin, F. Seismic Design and Performance of Composite Coupled Walls. J. Struct. Eng. 1993, 119, 3291–3309. [Google Scholar] [CrossRef]
- Li, T.; Wang, H.; Niu, S.; Jin, X.; Ye, Y.; Qian, H.; Cui, J.; Fan, F. Study of replaceable and static properties of assembled steel coupling beams with different connection modes. J. Build. Eng. 2023, 65, 105594. [Google Scholar] [CrossRef]
- Harries, K.A.; Mitchell, D.; Cook, W.D.; Redwood, R.G. Seismic Response of Steel Beams Coupling Concrete Walls. J. Struct. Eng. 1993, 119, 3611–3629. [Google Scholar] [CrossRef]
- Ei-Tawil, S.; Kuenzli, C.M.; Hassan, M. Pushover of hybrid coupled walls. I: Design and modeling. J. Struct. Eng. 2002, 128, 1272–1281. [Google Scholar] [CrossRef]
- Ei-Tawil, S.; Kuenzli, C.M. Pushover of hybrid coupled walls. II: Analysis and behavior. J. Struct. Eng. 2002, 128, 1282–1289. [Google Scholar] [CrossRef]
- Zhou, Q.; Su, M.; Shi, Y.; Guan, L.; Lian, M.; Jiang, L.; Yang, Y.; Zhang, L. Hysteretic behavior of the hybrid coupled partially encased composite wall system. Structures 2021, 34, 4216–4236. [Google Scholar] [CrossRef]
- Morelli, F.; Natali, A.; Poggi, G. Seismic behavior and nonlinear analysis of Hybrid Coupled Shear Walls. Procedia Struct. Integr. 2023, 44, 574–581. [Google Scholar] [CrossRef]
- Hu, H.F.; Liu, J.P.; Cheng, G.Z.; Li, J.; Chen, Y.F. Seismic behavior of hybrid coupled wall system with replaceable endplate-steel coupling beam. J. Constr. Steel Res. 2021, 187, 14. [Google Scholar] [CrossRef]
- Jafari, A.; Beheshti, M.; Shahmansouri, A.A.; Bengar, H.A. Cyclic response and damage status of coupled and hybrid-coupled shear walls. Structures 2024, 61, 106010. [Google Scholar] [CrossRef]
- Ei-Tawil, S. Recommendations for Seismic Design of Hybrid Coupled Wall Systems; American Society of Civil Engineers: Reston, VA, USA, 2010. [Google Scholar]
- AISC 341-162016; Seismic Provisions for Structural Steel Buildings. Construction AIoS: Phoenix, AZ, USA, 2016.
- Lu, H.L.; Su, M.Z. Research Progress of Joints of Reinforced Concrete Walls Connected with Embedded Coupling Steel Beam. Ind. Constr. 2019, 49, 147–156+136. [Google Scholar] [CrossRef]
- Lu, H.L.; Xiao, X.W. The Construction Method for Precast Hybrid Coupled Wall Structure with Pre-Embedded Steel Beam. China Patent CN106401015B, 26 October 2018. [Google Scholar]
- Lu, H.L.; Su, M.Z. The Construction Method for Precast Hybrid Coupled Wall Structure. China Patent CN104032860B, 22 June 2016. [Google Scholar]
- Mattock, A.H.; Gaafar, G.H. Strength of Embedded Steel Sections as Brackets. J. Am. Concr. Inst. 1982, 79, 83–93. [Google Scholar]
- JGJ 1-20142014; Technical Specification for Precast Concrete Structures. Press CCI: Maple Grove, MN, USA, 2014.
- Yu, Q.; Xu, J.L.; Zhao, X.Z. Mechanical Property Analysis on Joints of Steel Secondary Beam Inserted in Reinforced Concrete Frame Girder. Appl. Mech. Mater. 2012, 166–169, 3087–3094. [Google Scholar] [CrossRef]
- Kriz, L.B.; Raths, C.H. Connections in Precast Concrete Structures—Bearing Strength of Column Heads. PCI J. 1963, 8, 45–75. [Google Scholar] [CrossRef]
- ACI 318-142014; Building Code Requirements for Reinforced Concrete. Institute AC: Indianapolis, IN, USA, 2014.
- ASCE Task Committee on Design Criteria for Composite Structures in Steel and Concrete. Guidelines for design of joints between steel beams and reinforced-concrete columns. J. Struct. Eng. 1994, 120, 2330–2357. [Google Scholar] [CrossRef]
















| Specimen Name | Beam Section h × b × tw × tf (mm) | a (mm) | le (mm) | t (mm) | t/b | fc (MPa) | fyw (MPa) | fyf (MPa) | Inverted U-Shaped Rebar |
|---|---|---|---|---|---|---|---|---|---|
| JF-S1 | 350 × 100 × 14 × 16 | 450 | 435 | 250 | 2.50 | 26.6 | 235 | 345 | YES |
| JF-S2 | 350 × 120 × 14 × 16 | 2.08 | YES | ||||||
| JF-S3 | 350 × 140 × 14 × 16 | 1.79 | YES | ||||||
| JFS3-NU | 350 × 140 × 14 × 16 | 1.79 | NONE |
| Specimen Name | Compressive Strength/MPa | Tensile Strength/ MPa | Elastic Modulus/ MPa | Pour Batch |
|---|---|---|---|---|
| C1 | 30.2 | 3.00 | 32,554 | Foundation and top beam |
| C2 | 33.0 | 3.14 | 33,338 | Wall |
| C3 | 29.0 | 2.93 | 32,171 | Horizontal seam |
| Specimen Name | Compressive Strength/ MPa | Flexural Strength/ MPa |
|---|---|---|
| CG1 | 107.3 | 11.5 |
| Specimen Name | Thickness/ mm | Yield Strength/ MPa | Ultimate Strength/ MPa | Strength to Yield Ratio | Elongation/% | The Tested Place |
|---|---|---|---|---|---|---|
| P1 | 8 | 326 | 469 | 1.44 | 33 | Web |
| P2 | 10 | 325 | 458 | 1.41 | 35 | Stiffeners |
| P3 | 12 | 320 | 449 | 1.40 | 36 | Stiffener |
| P4 | 14 | 284 | 442 | 1.56 | 38 | Web |
| P5 | 16 | 269 | 436 | 1.62 | 37 | Stiffeners |
| P6 | 16 | 382 | 589 | 1.54 | 31 | Flange |
| P7 | 20 | 261 | 419 | 1.60 | 43 | Stiffeners |
| Specimen Name | Diameter/ mm | Yield Strength/MPa | Ultimate Strength/MPa | Strength to Yield Ratio | Elongation/ % |
|---|---|---|---|---|---|
| B1 | 6 | 501 | 632 | 1.44 | 17 |
| B2 | 8 | 532 | 654 | 1.23 | 24 |
| B3 | 10 | 451 | 601 | 1.33 | 27 |
| B4 | 12 | 513 | 684 | 1.33 | 26 |
| B5 | 16 | 452 | 634 | 1.40 | 34 |
| B6 | 18 | 476 | 654 | 1.37 | 26 |
| B7 | 20 | 489 | 687 | 1.40 | 22 |
| Specimen Name | Loading Direction | Cracking Value | Yield Value | Ultimate Value | Vp | Vcr/Vu | Vy/Vu | Vu/Vp | |||
|---|---|---|---|---|---|---|---|---|---|---|---|
| Δcr/mm | Vcr/ kN | Δy/ mm | Vy/ kN | Δu/ mm | Vu/ kN | ||||||
| JF-S1 | Positive | — | — | 6.7 | 544.5 | 11.6 | 619.1 | 298.9 | — | 0.88 | 2.08 |
| Negative | −1.8 | −275.5 | −6.7 | −531.9 | −11.9 | −625.6 | 0.44 | 0.85 | |||
| JF-S2 | Positive | — | — | 8.3 | 608.4 | 14.9 | 708.7 | 318.0 | — | 0.86 | 2.22 |
| Negative | −2.5 | −316.5 | −7.9 | −590.2 | −14.6 | −701.1 | 0.45 | 0.84 | |||
| JF-S3 | Positive | — | — | 7.3 | 620.0 | 17.8 | 728.3 | 335.1 | — | 0.85 | 2.15 |
| Negative | −2.2 | −357.8 | −8.6 | −623.2 | −14.7 | −712.9 | 0.50 | 0.87 | |||
| JFS3-NU | Positive | — | — | 6.9 | 630.2 | 14.8 | 729.3 | 335.1 | — | 0.86 | 2.15 |
| Negative | −2.3 | −357.3 | −6.9 | −606.5 | −14.7 | −709.1 | 0.50 | 0.86 | |||
| Specimen Name | JF-S1 | JF-S2 | JF-S3 | JFS3-NU |
|---|---|---|---|---|
| bi/mm | 86 | 106 | 126 | 126 |
| b/mm | 100 | 120 | 140 | 140 |
| Vu/kN | 622.4 | 704.9 | 720.6 | 719.2 |
| Vp(PCI) | 287.4 | 316.2 | 316.2 | 316.2 |
| Vu/Vn(PCI) | 2.17 | 2.23 | 2.28 | 2.27 |
| Vp(Marcakis)/kN | 377.3 | 377.3 | 377.3 | 377.3 |
| Vu/Vp(Marcakis) | 1.65 | 1.87 | 1.91 | 1.91 |
| Vp(Mattock)/kN | 323.6 | 353.4 | 372.4 | 372.4 |
| Vu/Vp(Mattock) | 1.92 | 2.05 | 1.99 | 1.98 |
| Vp(Minami)/kN | 416.1 | 499.0 | 582.6 | 582.6 |
| Vu/Vp(Minami) | 1.50 | 1.41 | 1.24 | 1.23 |
| Vp(Park)/kN | 283.7 | 329.4 | 350.4 | 350.4 |
| Vu/Vp(Park) | 2.19 | 2.14 | 2.06 | 2.05 |
| Vn(theory)/kN | 320.9 | 389.9 | 458.9 | 458.9 |
| Vu/Vn(theory) | 1.94 | 1.81 | 1.57 | 1.57 |
| Vn(calc.)/kN | 629.0 | 672.7 | 710.8 | 710.8 |
| Vu/Vn(calc.) | 0.99 | 1.05 | 1.01 | 1.01 |
| Vn(proposed)/kN | 627.8 | 671.4 | 709.4 | 709.4 |
| Vu/Vn(proposed) | 0.99 | 1.05 | 1.02 | 1.01 |
| a/le | c/le | |||||
|---|---|---|---|---|---|---|
| fc = 27.6 MPa (4000 psi) | fc = 34.5 MPa (5000 psi) | fc = 41.4 MPa (6000 psi) | fc = 48.3 MPa (7000 psi) | fc = 55.2 MPa (8000 psi) | Average | |
| 0.2 | 0.649 | 0.661 | 0.674 | 0.678 | 0.700 | 0.643 |
| 0.4 | 0.624 | 0.636 | 0.648 | 0.661 | 0.674 | |
| 0.6 | 0.607 | 0.618 | 0.631 | 0.643 | 0.656 | |
| 0.8 | 0.594 | 0.606 | 0.618 | 0.630 | 0.643 | |
| 1.0 | 0.584 | 0.596 | 0.608 | 0.621 | 0.633 | 0.594 |
| 1.2 | 0.576 | 0.588 | 0.600 | 0.613 | 0.626 | |
| 1.4 | 0.570 | 0.582 | 0.594 | 0.607 | 0.620 | |
| 1.6 | 0.565 | 0.577 | 0.589 | 0.602 | 0.615 | |
| 1.8 | 0.560 | 0.573 | 0.585 | 0.598 | 0.610 | |
| 2.0 | 0.557 | 0.569 | 0.581 | 0.594 | 0.607 | |
Disclaimer/Publisher’s Note: The statements, opinions and data contained in all publications are solely those of the individual author(s) and contributor(s) and not of MDPI and/or the editor(s). MDPI and/or the editor(s) disclaim responsibility for any injury to people or property resulting from any ideas, methods, instructions or products referred to in the content. |
© 2024 by the authors. Licensee MDPI, Basel, Switzerland. This article is an open access article distributed under the terms and conditions of the Creative Commons Attribution (CC BY) license (https://creativecommons.org/licenses/by/4.0/).
Share and Cite
Lu, H.; Su, M.; Wang, Y.; Zhou, Y.; Shen, S. Seismic Performance of Embedded Connections for Precast Hybrid Coupled Wall Systems: Experimental Study and Theoretical Analysis. Buildings 2024, 14, 2503. https://doi.org/10.3390/buildings14082503
Lu H, Su M, Wang Y, Zhou Y, Shen S. Seismic Performance of Embedded Connections for Precast Hybrid Coupled Wall Systems: Experimental Study and Theoretical Analysis. Buildings. 2024; 14(8):2503. https://doi.org/10.3390/buildings14082503
Chicago/Turabian StyleLu, Hailu, Mingzhou Su, Yadong Wang, Yubo Zhou, and Shihao Shen. 2024. "Seismic Performance of Embedded Connections for Precast Hybrid Coupled Wall Systems: Experimental Study and Theoretical Analysis" Buildings 14, no. 8: 2503. https://doi.org/10.3390/buildings14082503
APA StyleLu, H., Su, M., Wang, Y., Zhou, Y., & Shen, S. (2024). Seismic Performance of Embedded Connections for Precast Hybrid Coupled Wall Systems: Experimental Study and Theoretical Analysis. Buildings, 14(8), 2503. https://doi.org/10.3390/buildings14082503
