Proposal of Damage Index Ratio for Low- to Mid-Rise Reinforced Concrete Moment-Resisting Frame with Setback Subjected to Uniaxial Seismic Loading
Abstract
:1. Introduction
1.1. Background
1.2. Park and Ang Damage Index
1.2.1. Definition
- um: Maximum displacement response of structure element due to earthquake,
- uu: Ultimate displacement capacity under a monotonic loading,
- Eh: Hysteretic energy dissipated by the structural element,
- Fy: Yield force,
- β: Non-negative parameter based on repeated loading effect.
1.2.2. Determination of uu
- uu: Ultimate displacement under monotonic loading,
- µu: Ultimate ductility factor,
- uy: Yield displacement.
1.2.3. Determination of β
- l/d: Shear span ratio (= 1.7 if l/d less than 1.7),
- n0: Normalized axial stress (= 0.2 if n0 less than 0.2),
- pt: Longitudinal bars ratio, in percentage (= 0.75% if pt less than 0.75%),
- pw: Transversal bars ratio,
- N: Axial load,
- fc: Concrete compressive strength,
- b: Width of cross section,
- d: Effective height of cross section.
1.2.4. Damage Index of Building Component
- i: number of element member, starting at 1,
- j: number of story, starting at 1,
- nk: total number of building’s story,
- nm: total element member (beams and columns) in the reviewed story,
- DIi,component: Damage index for each component such as beam and column,
- DIStory: Damage index for each story,
- DIoverall: Overall damage index,
- λi,component: Weighting factor of each component,
- λj,story: Weighting factor of each story.
1.3. Setback Indices
- ns: Number of stories of the frame,
- nb: Number of the bays of the first story of the frames,
- Hi: Height of each bay from base to roof,
- Li: Total width of each story.
2. Simulation of Setback RC Buildings Tested by Shaking Table
2.1. Simulation Method of RC Frame Analysis
- θ: the total rotation at the element joint,
- : is the element deformation at direction x,
- : is the elastic element rotation,
- : is the nonlinear element rotation due to bending, and
- : is the nonlinear element rotation due to shear.
2.2. Simulation of Experimental Test of Towered Setback Structure
2.2.1. Specimen Description
2.2.2. Input Data
2.2.3. Results of Comparison
2.3. Simulation of Experimental Test of Stepped Setback Structure
2.3.1. Specimen Description
2.3.2. Input Data
2.3.3. Results of Comparison
3. Parametric Study of Generated Setback Frames
4. Proposal of Tower-Base Damage Index Ratio
5. Validation of Proposed Damage Index Ratio
6. Conclusions
Author Contributions
Funding
Institutional Review Board Statement
Informed Consent Statement
Data Availability Statement
Acknowledgments
Conflicts of Interest
References
- Soni, D.P.; Mistry, B.B. Qualitative review of seismic response of vertically irregular building frames. ISET J. Earthq. Technol. 2006, 43, 121–132. [Google Scholar]
- Mwafy, A.; Khalifa, S. Effect of vertical structural irregularity on seismic design of tall buildings. Struct. Des. Tall. Spec. Build. 2017, 26, 1–22. [Google Scholar] [CrossRef]
- Shahrooz, B.M.; Moehle, J.P. Seismic response and design of setback buildings. J. Struct. Eng. 1990, 116, 1423–1439. [Google Scholar] [CrossRef]
- Duan, X.N.; Chandler, A.M. Seismic torsional response and design procedures for a class of setback frame buildings. Earthq. Eng. Struct. Dyn. 1995, 24, 761–777. [Google Scholar] [CrossRef]
- Dutta, S.C.; Das, P.K.; Sengupta, P. Seismic behaviour of irregular structures. Struct. Eng. Int. 2017, 27, 526–545. [Google Scholar] [CrossRef]
- Shakib, H.; Pirizadeh, M. Probabilistic seismic performance assessment of setback buildings under bidirectional excitation. J. Struct. Eng. 2014, 140, 04013061. [Google Scholar] [CrossRef]
- Lin, J.-L.; Tsaur, C.-C.; Tsai, K.-C. Two-degree-of-freedom modal response history analysis of buildings with specific vertical irregularities. Eng. Struct. 2019, 184, 505–523. [Google Scholar] [CrossRef]
- Georgoussis, G.K.; Mamou, A. Mitigating mass eccentricity effects on the rotational response of setbacks structures: An analytical solution for linear systems. Structures 2020, 28, 1539–1556. [Google Scholar] [CrossRef]
- Georgoussis, G.K. An approach for minimum rotational response of medium-rise asymmetric structures under seismic excitations. Adv. Struct. Eng. 2016, 19, 420–436. [Google Scholar] [CrossRef]
- Habibi, A.; Asadi, K. Development of drift-based damage index for reinforced concrete moment resisting frames with setback. Int. J. Civ. Eng. 2017, 15, 487–498. [Google Scholar] [CrossRef]
- Park, Y.-J.; Ang, A.H.-S. Mechanistic seismic damage model for reinforced concrete. J. Struct. Eng. 1985, 111, 722–739. [Google Scholar] [CrossRef]
- Park, Y.-J.; Ang, A.H.-S.; Wen, Y.K. Seismic damage analysis of reinforced concrete buildings. J. Struct. Eng. 1985, 111, 740–757. [Google Scholar] [CrossRef]
- Karavasilis, T.L.; Bazeos, N.; Beskos, D.E. Seismic response of plane steel MRF with setbacks: Estimation of inelastic deformation demands. J. Constr. Steel Res. 2008, 64, 644–654. [Google Scholar] [CrossRef]
- Varadharajan, S.; Sehgal, V.K.; Saini, B. Determination of inelastic seismic demands of RC moment resisting setback frames. Arch. Civ. Mech. Eng. 2013, 13, 370–393. [Google Scholar] [CrossRef]
- Varadharajan, S.; Sehgal, V.K.; Saini, B. Seismic behavior of multistory RC building frames with vertical setback irregularity. Struct. Des. Tall. Spec. Build. 2014, 23, 1345–1380. [Google Scholar] [CrossRef]
- Hait, P.; Sil, A.; Choudhury, S. Damage assessment of low to mid rise reinforced concrete buildings considering planner irregularities. Int. J. Comput. Methods Eng. Sci. Mech. 2020, 22, 150–168. [Google Scholar]
- Hait, P.; Sil, A.; Choudhury, S. Seismic damage assessment and prediction using artificial neural network of RC building considering irregularities. Int. J. Struct. Integr. Maint. 2020, 5, 51–69. [Google Scholar] [CrossRef]
- Wood, S.L. Experiments to Study the Earthquake Response of Reinforced Concrete Frames with Setbacks. Ph.D. Thesis, University of Illinois at Urbana-Champaign, Champaign, IL, USA, 1985. [Google Scholar]
- Shahrooz, B.M.; Moehle, J.P. Experimental Study of Seismic Response of RC Setback Buildings; National Science Foundation Report; UCB: Berkeley, CA, USA, 1987. [Google Scholar]
- Belkacem, M.A.; Bechtoula, H.; Bourahla, N.; Belkacem, A.A. Damage index for reinforced concrete columns. Građevinar 2020, 72, 139–149. [Google Scholar]
- Mazzolani, F.; Piluso, V. Theory and Design of Seismic Resistant Steel Frames; E & FN Spon: London, UK, 1996. [Google Scholar]
- Shahrooz, B.M.; Moehle, J.P. Experimental Study of Seismic Response of Reinforced Concrete Setback Buildings. Available online: https://datacenterhub.org/deedsdv/publications/view/293 (accessed on 1 October 2020).
- Wood, S.L.; Sozen, M. Experiments to Study the Earthquake Response of Reinforced Concrete Frames with Setbacks (NEES-2011-1068). Available online: https://datacenterhub.org/deedsdv/publications/view/285 (accessed on 1 October 2020).
- Saito, T. Structural Earthquake Response Analysis, STERA_3D Version 10.8. Available online: http://www.rc.ace.tut.ac.jp/saito/software-e.html (accessed on 1 October 2020).
- Newmark, N.M. A method for computation of structural dynamics. J. Eng. Mech. Div. 1959, 85, 67–94. [Google Scholar] [CrossRef]
- PEER (Pacific Earthquake Engineering Center). Ground Motion Database. Available online: https://peer.berkeley.edu/ (accessed on 4 July 2021).
- COSMOS (The Consortium of Organizations for Strong-Motion Observation Systems). Virtual Data Center. Available online: www.strongmotioncenter.org (accessed on 4 July 2021).



















| Damage Degree | Damage Index | Physical Appearance | 
|---|---|---|
| Collapse | DI > 1.0 | Collapse state | 
| Severe | 0.4 < DI < 1.0 | Extensive crushing of concrete, disclosure of buckled reinforcement. | 
| Moderate | 0.25 < DI < 0.4 | Extensive large cracks, spalling of concrete in weaker elements. | 
| Minor | 0.1 < DI < 0.25 | Minor damage, light cracking throughout. | 
| Slight | DI < 0.1 | No damage or localized minor cracking | 
| No | Year | Event, Station | Component | Max. Acc. (cm/s2) | Abbreviation | Input Direction | 
|---|---|---|---|---|---|---|
| 1 | 1940 | scaled Imperial Valley, El Centro | NS | 382.89 | EC382.8L | Longitudinal | 
| No | Year | Event, Station | Component | Max. Acc. (cm/s2) | Abbreviation | Input Direction | 
|---|---|---|---|---|---|---|
| 1 | 1940 | scaled Imperial Valley, El Centro | NS | 76.10 | EC7.7L | Longitudinal | 
| 2 | 163.00 | EC16.6L | ||||
| 3 | 484.00 | EC49.3L | 
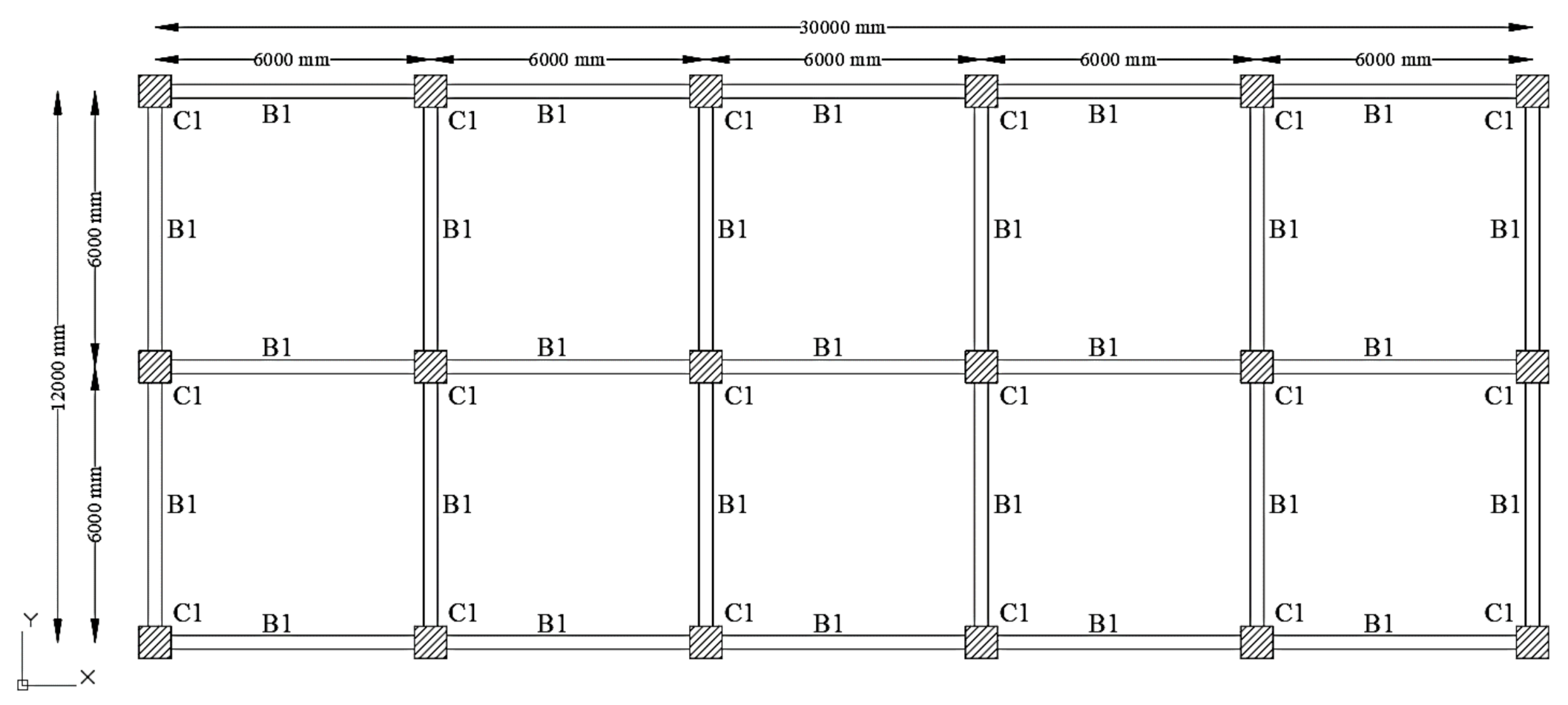
| No | Element | Code | Story Level | Depth (mm) | Width (mm) | Longitudinal Rebars | Transversal Rebars | 
|---|---|---|---|---|---|---|---|
| 1 | Column | C1 | 1–6 | 700 | 700 | 8 D-35 | 2 D-13 @ 10 cm | 
| 2 | Beam | B1 | 1–6 | 600 | 300 | 3 D-35 on top and 3 D-35 on bottom | 2 D-13 @ 15 cm | 
| No | Event | Year | Station | Component | Original Max. Acc. (cm/s2) | Scaled Max. Acc. (cm/s2) | 
|---|---|---|---|---|---|---|
| 1 | Imperial Valley | 1940 | El Centro | NS | 341.69 | 510.70 | 
| 2 | Kern County | 1952 | Taft | EW | 152.69 | 496.50 | 
| 3 | Chi-chi | 1999 | CHY080 | 360 DEG | 836.84 | 434.04 | 
| 4 | Northridge | 1994 | Arleta-Nordhoff Ave Fire Station | 90 DEG | 337.32 | 417.87 | 
| 5 | Loma Prieta | 1989 | Saratoga-Aloha Ave | 0 DEG | 494.45 | 597.96 | 
| 6 | Valparaiso, Chile | 1985 | Vina del Mar | 200 DEG | 355.50 | 578.31 | 
| 7 | Villita, Mexico | 1985 | Guerrero Array Stn VIL | N00W | 125.37 | 318.36 | 
| 8 | Cape Mendocino | 1992 | Petrolia | 0 DEG | 578.14 | 598.43 | 
| 9 | Cape Mendocino | 1992 | Rio Dell-101/Painter St. Overpass | 270 DEG | 378.27 | 422.98 | 
| 10 | Kobe | 1995 | JMA | NS | 817.80 | 449.80 | 
| Publisher’s Note: MDPI stays neutral with regard to jurisdictional claims in published maps and institutional affiliations. | 
© 2021 by the authors. Licensee MDPI, Basel, Switzerland. This article is an open access article distributed under the terms and conditions of the Creative Commons Attribution (CC BY) license (https://creativecommons.org/licenses/by/4.0/).
Share and Cite
Maulana, T.I.; Enkhtengis, B.; Saito, T. Proposal of Damage Index Ratio for Low- to Mid-Rise Reinforced Concrete Moment-Resisting Frame with Setback Subjected to Uniaxial Seismic Loading. Appl. Sci. 2021, 11, 6754. https://doi.org/10.3390/app11156754
Maulana TI, Enkhtengis B, Saito T. Proposal of Damage Index Ratio for Low- to Mid-Rise Reinforced Concrete Moment-Resisting Frame with Setback Subjected to Uniaxial Seismic Loading. Applied Sciences. 2021; 11(15):6754. https://doi.org/10.3390/app11156754
Chicago/Turabian StyleMaulana, Taufiq Ilham, Badamkhand Enkhtengis, and Taiki Saito. 2021. "Proposal of Damage Index Ratio for Low- to Mid-Rise Reinforced Concrete Moment-Resisting Frame with Setback Subjected to Uniaxial Seismic Loading" Applied Sciences 11, no. 15: 6754. https://doi.org/10.3390/app11156754
APA StyleMaulana, T. I., Enkhtengis, B., & Saito, T. (2021). Proposal of Damage Index Ratio for Low- to Mid-Rise Reinforced Concrete Moment-Resisting Frame with Setback Subjected to Uniaxial Seismic Loading. Applied Sciences, 11(15), 6754. https://doi.org/10.3390/app11156754
 
         
                                                

 
       