Experimental Study on the Efficiency of Dynamic Marine Thermal Energy Generator Based on Phase Change Compensation
Abstract
1. Introduction
2. Some of the Problems That Device Miniaturization Can Solve
2.1. Self-Sinking/Floating Problem
2.2. Device Connection and Power Supply Issues
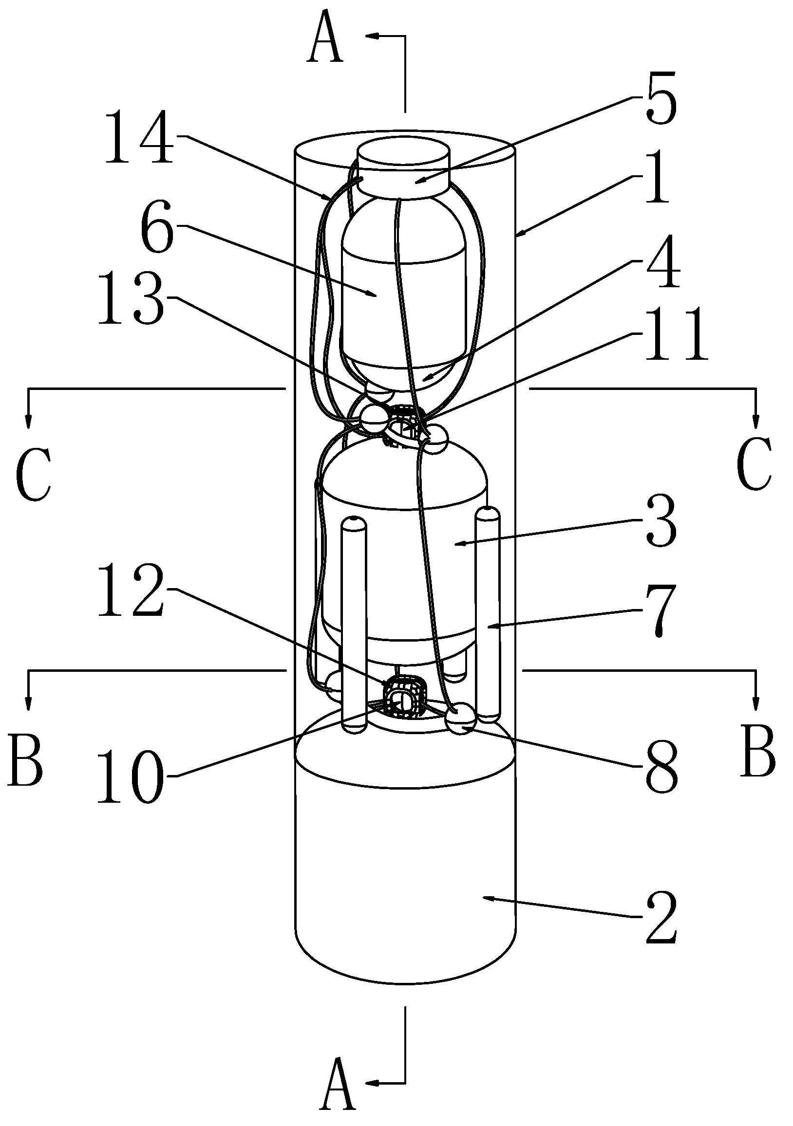
3. The Principle of the Device
3.1. Principles
3.2. Solutions
4. Device Characteristics Analysis
4.1. Effect of Ammonia Gas Mass Pressure on Power Generation Units
4.2. Characteristics and Layout of Power Generation Fans
4.3. Data Comparisons
4.4. Compensation Gain of Phase Change Materials
5. Discussion and Conclusions
- The principle prototype, not the complete device, was used in the experiments, and the strength of the principle prototype cannot be adapted to the natural working environment in the South China Sea, such as the pressure found 2000 m underwater.
- The experiment was not conducted following the idea of making the device move in hot and cold seawater. However, we fixed the device in a pool to simulate the working environment of the device by changing the water temperature.
- When measuring the physical quantities, such as the power generation and power of the device, the values were uniformly taken to three decimal places. Overall, the research on the effectiveness of dynamic ocean temperature difference energy generation devices based on phase change compensation is of great significance regarding the provision of a power supply for ocean observation devices and the extension of the endurance of detection devices.
Author Contributions
Funding
Institutional Review Board Statement
Informed Consent Statement
Data Availability Statement
Conflicts of Interest
References
- Melikoglu, M. Current status and future of ocean energy sources: A global review. Ocean Eng. 2018, 148, 563–573. [Google Scholar] [CrossRef]
- Rhinefrank, K.; Agamloh, E.; von Jouanne, A.; Wallace, A.; Prudell, J.; Kimble, K.; Aills, J.; Schmidt, E.; Chan, P.; Sweeny, B.; et al. Novel ocean energy permanent magnet linear generator buoy. Renew. Energy 2006, 31, 1279–1298. [Google Scholar] [CrossRef]
- Rehman, S.; Alhems, L.M.; Alam, M.M.; Wang, L.; Toor, Z. A review of energy extraction from wind and ocean: Technologies, merits, efficiencies, and cost. Ocean Eng. 2023, 267, 113192. [Google Scholar] [CrossRef]
- Silva, R.N.; Nunes, M.M.; Oliveira, F.L.; Oliveira, T.F.; Junior, A.B.; Pinto, M.S.S. Dynamical analysis of a novel hybrid oceanic tidal-wave energy converter system. Energy 2023, 263, 125933. [Google Scholar] [CrossRef]
- Liu, L.; Meng, X.; Miao, Z.; Zhou, S. Design of a novel thermoelectric module based on application stability and power generation. Case Stud. Therm. Eng. 2022, 31, 101836. [Google Scholar] [CrossRef]
- Lu, H.; Wang, D.; Li, Y.; Li, J.; Li, X.; Kim, H.; Serikawa, S.; Humar, I. CONet: A Cognitive Ocean Network. IEEE Wirel. Commun. 2019, 26, 90–96. [Google Scholar] [CrossRef]
- Hossain, A.; Azhim, A.; Jaafar, A.B.; Musa, M.N.; Zaki, S.A.; Fazreen, D.N. Ocean thermal energy conversion: The promise of a clean future. In Proceedings of the 2013 IEEE Conference on Clean Energy and Technology (CEAT), Langkawi, Malaysia, 8–20 November 2013; pp. 23–26. [Google Scholar]
- Geng, D.; Gao, X. Thermodynamic and exergoeconomic optimization of a novel cooling, desalination and power multigeneration system based on ocean thermal energy. Renew. Energy 2023, 202, 17–39. [Google Scholar] [CrossRef]
- Heydt, G.T. An assessment of ocean thermal energy conversion as an advanced electric generation methodology. Proc. IEEE 1993, 81, 409–418. [Google Scholar] [CrossRef]
- Kalina, A.I. Generation of Energy by Means of a Working Fluid, and Regeneration of a Working Fluid. United States Patent 4346561, 31 August 1982. [Google Scholar]
- Kalina, A.I. Combined Cycle and Waste Heat Recovery Power Systems Based on a Novel Thermodynamic Energy Cycle Utilizing Low-Temperature Heat for Power Generation; American Society of Mechanical Engineers: New York, NY, USA, 1983; Paper No. 83-JPGC-GT-3; pp. 1–5. [Google Scholar]
- Kalina, A.I. Combined-cycle system with novel bottoming cycle. ASME J. Eng. Gas Turbines Power 1984, 106, 737–742. [Google Scholar] [CrossRef]
- Tiktas, A.; Gunerhan, H.; Hepbasli, A. Single and multigeneration Rankine cycles with aspects of thermodynamical modeling, energy and exergy analyses and optimization: A key review along with novel system description figures. Energy Convers. Manag. X 2022, 14, 100199. [Google Scholar] [CrossRef]
- Herrera, J.; Sierra, S.; Ibeas, A. Ocean Thermal Energy Conversion and Other Uses of Deep Sea Water: A Review. J. Mar. Sci. Eng. 2021, 9, 356. [Google Scholar] [CrossRef]
- Zhang, H.; Ma, X.; Yang, Y. An External Ocean Thermal Energy Power Generation Modular Device for Powering Smart Float. Energies 2022, 15, 3747. [Google Scholar] [CrossRef]
- Soto, R.; Vergara, J. Thermal power plant efficiency enhancement with Ocean Thermal Energy Conversion. Appl. Therm. Eng. 2014, 62, 105–112. [Google Scholar] [CrossRef]
- Chen, F.; Liu, L.; Peng, J.; Ge, Y.; Wu, H.; Liu, W. Theoretical and experimental research on the thermal performance of ocean thermal energy conversion system using the rankine cycle mode. Energy 2019, 183, 497–503. [Google Scholar] [CrossRef]
- Ikegami, Y.; Yasunaga, T.; Morisaki, T. Ocean Thermal Energy Conversion Using Double-Stage Rankine Cycle. J. Mar. Sci. Eng. 2018, 6, 21. [Google Scholar] [CrossRef]
- Kai, W.; Yue, F. Numerical study on the formation of the South China Sea Warm Current I. Barotropic case. Chin. J. Oceanol. Limnol. 2001, 19, 1–9. [Google Scholar] [CrossRef]
- Thirugnana, S.T.; Jaafar, A.B.; Yasunaga, T.; Nakaoka, T.; Ikegami, Y.; Su, S. Estimation of ocean thermal energy conversion resources in the east of Malaysia. J. Mar. Sci. Eng. 2021, 9, 22. [Google Scholar] [CrossRef]
- Xie, N.; Huang, Z.; Luo, Z.; Gao, X.; Fang, Y.; Zhang, Z. Inorganic salt hydrate for thermal energy storage. Appl. Sci. 2017, 7, 1317. [Google Scholar] [CrossRef]
- Peng, S.; Huang, J.; Wang, T.; Zhu, P. Effect of fumed silica additive on supercooling, thermal reliability and thermal stability of Na2HPO4·12H2O as inorganic PCM. Thermochim. Acta 2019, 675, 1–8. [Google Scholar] [CrossRef]










| Gas Chamber Number | Cylinder Volume | Ellipsoid Volume | Gas Chamber Volume |
|---|---|---|---|
| Gas chamber 1 | 41.89 L | 13.96 L | 55.85 L |
| Gas chamber 2 | 17.67 L | 7.85 L | 25.52 L |
| Gas chamber 3 | 5.89 L | 3.49 L | 9.38 L |
| Rotor Number | Turbine 1 | Turbine 2 | Turbine 3 |
|---|---|---|---|
| Single rotor | 3.420 W | 2.390 W | 1.940 W |
| Dual rotor | 6.760 W | 4.630 W | 3.150 W |
| Three rotors | 9.340 W | 6.090 W | 4.540 W |
| Four rotors | 10.400 W | 7.040 W | 5.170 W |
| Rotor Number | Turbine 1 | Turbine 2 | Turbine 3 |
|---|---|---|---|
| Single rotor | 3.600 W | 3.560 W | 2.360 W |
| Dual rotor | 7.090 W | 6.730 W | 3.780 W |
| Three rotors | 9.800 W | 9.240 W | 4.710 W |
| Four rotors | 11.010 W | 9.840 W | 5.440 W |
Disclaimer/Publisher’s Note: The statements, opinions and data contained in all publications are solely those of the individual author(s) and contributor(s) and not of MDPI and/or the editor(s). MDPI and/or the editor(s) disclaim responsibility for any injury to people or property resulting from any ideas, methods, instructions or products referred to in the content. |
© 2023 by the authors. Licensee MDPI, Basel, Switzerland. This article is an open access article distributed under the terms and conditions of the Creative Commons Attribution (CC BY) license (https://creativecommons.org/licenses/by/4.0/).
Share and Cite
Dong, R.; Lin, X.; Liu, J.; Hu, M.; Liu, Z.; Yang, J.; Du, L. Experimental Study on the Efficiency of Dynamic Marine Thermal Energy Generator Based on Phase Change Compensation. J. Mar. Sci. Eng. 2023, 11, 988. https://doi.org/10.3390/jmse11050988
Dong R, Lin X, Liu J, Hu M, Liu Z, Yang J, Du L. Experimental Study on the Efficiency of Dynamic Marine Thermal Energy Generator Based on Phase Change Compensation. Journal of Marine Science and Engineering. 2023; 11(5):988. https://doi.org/10.3390/jmse11050988
Chicago/Turabian StyleDong, Ruichun, Xu Lin, Jie Liu, Mengqi Hu, Zezheng Liu, Jingze Yang, and Libin Du. 2023. "Experimental Study on the Efficiency of Dynamic Marine Thermal Energy Generator Based on Phase Change Compensation" Journal of Marine Science and Engineering 11, no. 5: 988. https://doi.org/10.3390/jmse11050988
APA StyleDong, R., Lin, X., Liu, J., Hu, M., Liu, Z., Yang, J., & Du, L. (2023). Experimental Study on the Efficiency of Dynamic Marine Thermal Energy Generator Based on Phase Change Compensation. Journal of Marine Science and Engineering, 11(5), 988. https://doi.org/10.3390/jmse11050988

