Abstract
In the realm of the emergence and spread of infectious diseases with pandemic potential throughout the history, plenty of pandemics (and epidemics), from the plague to AIDS (1981) and SARS (in 2003) to the bunch of COVID variants, have tormented mankind. Though plenty of technological innovations are overwhelmingly progressing to curb them—a significant number of such pandemics astounded the world, impacting billions of lives and posing uncovered challenges to healthcare organizations and clinical pathologists globally. In view of addressing these limitations, a critically exhaustive review is performed to signify the prospective role of technological advancements and highlight the implicit problems associated with rendering best quality lifesaving treatments to the patient community. The proposed review work is conducted in two parts. Part 1 is essentially focused upon discussion of advanced technologies akin to artificial intelligence, Big Data, block chain technology, open-source technology, cloud computing, etc. Research works governing applicability of these technologies in solving many uncovered healthcare issues prominently faced by doctors and surgeons in the fields of cardiology, medicine, neurology, orthopaedics, paediatrics, gynaecology, psychiatry, plastic surgery, etc., as well as their role in curtailing the spread of numerous infectious, pathological, neurotic maladies is thrown light off. Boundary conditions and implicitly associated challenges substantiated by remedies coupled with future directions are presented at the end.
1. Introduction
Technology is astounding; it is completely surrounding every aspect of the 21st century human lives—indeed it is really an exciting time for healthcare and information technology (IT).
From the past few decades and centuries, different types of pulmonary (viral), bacterial, and inflammatory diseases have continuously posed challenges to clinical pathologists and technocrats—evidently exposing the limitations of existing public health practices [1]. Characteristically, the above mentioned viral diseases are an outcome of the different genetic substances (viruses) found in air, water, soil, etc.—causing diversified infectious diseases from the flu and cold to the deadly COVID-19 pandemic and its variants. On the other hand, pandemics affect the internal human immunity system, liver, and other organs, gradually damaging the healthy cells, thereby enhancing morbidity and mortality rates [2] and generating social and economic turbulences [3]. Typically, pandemics are so tricky, in that sometimes they start with meek illness and slowly affect the respiratory tract, targeting the internal immunity system and ultimately leading to multi-organ failures in most patients, ultimately followed by cardiac arrests and deaths [4,5,6,7,8,9]. The sudden outburst of the COVID-19 pandemic uncovered the deficiencies of global healthcare systems in preparing to handle emergency public-health situations—in addition to the existing uncovered maladies in clinical microbiology, medical education, preoperative surgical planning, spine medicine, tuberculosis diagnosis, mastectomy surgical planning, orthopaedic surgery, laparoscopic surgery, surgical training, robotic surgeries, anxiety (and depression treatments), hospital navigations, etc. Therefore, the need for addressing the gaps and deficits associated with rendering best quality preventive life-saving emergency treatments to the patient community, as well as uncovering the variant number of unspoken medical issues (disorders) and ailments that serve as major hindrances in saving lives of people, has motivated authors to conduct this review work to decipher the contribution of innovative technological advancements governing healthcare applications. The proposed review work was conducted in two parts, such that contribution of technologies, such as artificial intelligence (and its subsets—machine learning and deep learning), Big Data analytics, block-chain technology, open source technologies, and cloud computing are discussed in the current PART-I manuscript, while technologies such as robotics, drones, 3D printing, IoT (Internet of things), virtual/augmented/mixed reality, and their roles played in uncovering many healthcare issues specifically targeting the manifold healthcare domain and its allied segments to mimic various healthcare trends [10] are left for discussion in Part II of the manuscript.
As many healthcare organizations are maintaining the critical patient health data in various heterogeneous systems, it is exceptionally difficult for healthcare providers to deliver superior quality healthcare services to the patients. Keeping in view all these limitations, artificial intelligence (AI) systems are deployed to ensure life-saving timely decisions [11,12] and heart failure prediction using different data modalities [13], machine learning (ML) classifiers and deep learning(DL) algorithms to interpret medical findings akin to epilepsy [14,15], nerve and muscle diseases [16,17], heart rhythms [18,19], cancer predictions [20], ill effects of virus diseases [21], and biomedical studies of other healthcare segments [22], an ML approach survey on bone-segmentation techniques in knee osteoarthritis [23], DL techniques for estimation of articular cartilage loss rate [24], 3D CNN deployment for more accurate diagnosis of knee osteoarthritis [25,26], and the prediction of knee joint kinematics from wearable sensor data [27], and radiologists deployed advanced DL algorithms and Big Data in healthcare sectors [28] to signify the prominent role of Big Data in hospital management and medical waste reduction [29]. Since AI-based DL algorithms are limited by the computing power requirements and implicit complexity levels, advancements in Big Data-based shallow network-enabled computing systems to react faster than humans in different complex situations have been exploring the role of Big Data in modeling the viral activities globally [30]. The government of France formed a worldwide AI system (Well-being Data Hub) to ensure collaborative working environment between scientists and specialists of society to provide outstanding clinical information for the society.
Today, Chatbot and virtual patient care technologies decide the order of treatment for patients (or casualties), while AI and supercomputing performances are focused upon accelerated research works to uncover the inhabitancy of pre-diagnostic requirements and surgical hindrances (and viruses and bacterial infections) occasionally challenging the clinical pathologists, surgeons, and doctors were developing therapeutics. On the other hand, investigations are under progression to innovate hypersensitive technological gadgets for assisting clinical specialists, thereby helping governments to safeguard health and lives of patient community. The rest of the manuscript is organized as follows—in Section 2-survey and review works pertaining to applicability of AI, Big Data, block chain, open-source and cloud computing technologies to healthcare applications is discussed. Section 3 provides an overview of advanced technologies with an elaborative discussion on investigative healthcare frameworks and their applicability. Further the implicit pros and cons associated with unspoken challenges with wide scope for future explorations are presented in Section 4. Section 5 brings out the concluding remarks.
2. Overview of Technological Contributions to Healthcare Sector
The past few decades witnessed multiple research works to determine the best possible ways of subjecting technological advancements to revamp the healthcare domain by continuously providing solutions to nature-thrown viruses, pandemics, and clinical issues, as well as diagnostic procedures relevant to cardiology, neurology, orthopaedics, dentistry, oncology. etc. This section of the manuscript is aimed at highlighting the survey and review works pertaining to applicability of AI, Big Data, block chain, open-source and cloud computing technologies to various healthcare issues. There are AI-based healthcare apps to measure patient health conditions, provide medication warnings, products (IBM Watson) to assist clinical pathologists in oncology, breast cancer colorectal cancer, rectal cancer, lung cancer, etc., typically highlighting the potential of AI to improve the therapeutic accuracy and clinical treatment process.
On the other hand, large amounts of clinical and patient data (Big Data) are generated at an unprecedented speed for documenting electronic health records, with many novel investigations and discoveries being published time-to-time ensuring the efficient management and interpretation of Big Data opening new avenues for modern healthcare. Now, healthcare is at an arena where regularly evolving use cases are handled by different healthcare organizations and industries through the adoption of block chain technology, such that members of the research community and practitioners typically grasping novel block chain-based healthcare applications targeting them. Rapidly developing innovations depicting the applicability of IoT technology, coupled with the variant types of sensors connecting smart devices, promoted the seamless requirement of data analysis and data storage platforms, such as cloud computing. The gradual and systematic transformation in healthcare systems to ensure highly efficient and flexible healthcare services to the patient community can be attributed to multiple investigations taken place over past few decades.
Table 1 summarizes the research findings extracted from various survey papers and review papers depicting the applicability of technologies such as AI, Big Data, block chain, and open-source and cloud computing technologies to solve clinical and healthcare issues. In the current manuscript, the authors have pooled research data pertaining to all the above five technologies, enabling readers to make them abreast of technological know-how’s (relevant to healthcare sector) and providing a direction for future investigations to be carried out, thus paving way for multi-disciplinary collaborative research works.
Table 1.
Past review highlights of various technologies for healthcare applications.
3. Emerging Technologies
“Technological Advancement—a boon to Patients and Healthcare Providers”
Technological advancements deeply penetrated and significantly impacted clinical care and the healthcare industry, to such an extent that the immersion of encroaching technologies into healthcare sector witnessed exponential expansions, in conjunction with societal advancements, specifically (since last 20 years) enabling clinicians and doctors to ensure better patient care and treatments. A few breakthrough technological inventions, such as infusion pumps, haemodialysis, heart pressure monitoring valves, and MRI scanners, etc., continuously redefined the routine medicinal approaches of treatments. Keeping in view the emerging population rise and pressing demands to provide lifesaving medical treatments at higher success rates—technological advancements are diverted towards clinical research, diagnosis, treatments, surgeries, etc, thanks to the advancements of information technology (IT) resources for providing a number of online communication platforms (healthcare websites) enabling round the clock interaction of patients with medical professionals (Figure 1).
Figure 1.
Digital Health Technologies.
There are many data mining and data warehousing tools at the open discretion of hospitals and healthcare organizations to manage the gigantically complex crunches of patient’s data, helping to accomplish storage resiliency in the healthcare sector because data mining in healthcare provides information on the symptoms, causes, and courses of actions under certain conditions. One cannot shrug off the impacting role of emerging technological advancements in the healthcare sector—as they lowered the mortality rate and enhanced average life expectancy levels because “With technology early diagnosis always ensures better prognosis”.
In today’s scenario, the majority of the human community is resorting to self-medication and healing techniques, thanks to the internet—now patients are able to comfortably communicate with a nurse or doctor instantly over many healthcare websites, without even moving an inch, and they are at the disclosure of talking to likely affected symptomatic people through plenty of online social interaction forums lead by specialized doctors and medical professionals. Today, telemedicine and tele-health facilities are making use of emerging technological advancements to deliver life-giving healthcare services to people inhabiting remote areas. On the other hand, today’s healthcare system is greatly driven by the promoted utility of wearable technology gadgets, coupled with personalized treatments to aid mankind unendingly. On the contrary, social media apps, such as Facebook, Twitter, Snapchat, Instagram, etc., are greatly serving to ensure effective communication between clinicians and patients. The digitization of health records in many countries provides the ample benefits of reduced healthcare expenses, pandemics prediction, prevention of sudden deaths, development of new therapeutics (novel drugs), devising best healthcare services, etc.
In the words of the famous plastic surgeon Dr. Charlie Chen, “Technology and Medicine are handy to either—in performing various activities like Pre-operative planning, surgical planning and post-operative planning etc., to monitor the outcomes”.
3.1. Artificial Intelligence
AI is a booming technology that has impressively penetrated into healthcare domain and its allied fields, including other sectors, such as banking, agriculture, automobiles (self-driven cars), gaming consoles, business administration, marketing management (forecasting), sales management, crime detection, cyber security aspects, etc. The demand for deploying artificial intelligence (AI) in healthcare domain existed for many years, and it presumed to top level in 2018 - with wide-spread range of applications. Typically, the artificial intelligence-based ML and DL architectures comprising the 2D convolution neural network structures (CNN), recurrent neural network structures (RNN), auto encoders (AEs), DNN(deep neural networks), LSTM(linear short-term memory), AlexNet, VGG (visual geometry group) network, SqueezeNet, Inception Res-Net, CapsNet, GoogleNet, DenseNet, XceptionNet, MobileNet, GANs (generative adversarial networks), etc.,have deep grassroots in many specialized areas of healthcare, ranging from clinical diagnosis, treatments, telemedicine, endoscopy, laparoscopy, dentistry, neurology, orthopaedics, gastroenterology, paediatrics, gynaecology, radiology including disastrous COVID pandemic, the latest monkey pox virus, and many other infectious (pulmonary) diseases. Additionally multiple numbers of Hybrid DL Network architectures (CNN-RNN/AE) and cross-coupled advanced technology specimens (architectures) are deployed for utility in healthcare applications. Few such architectures include:
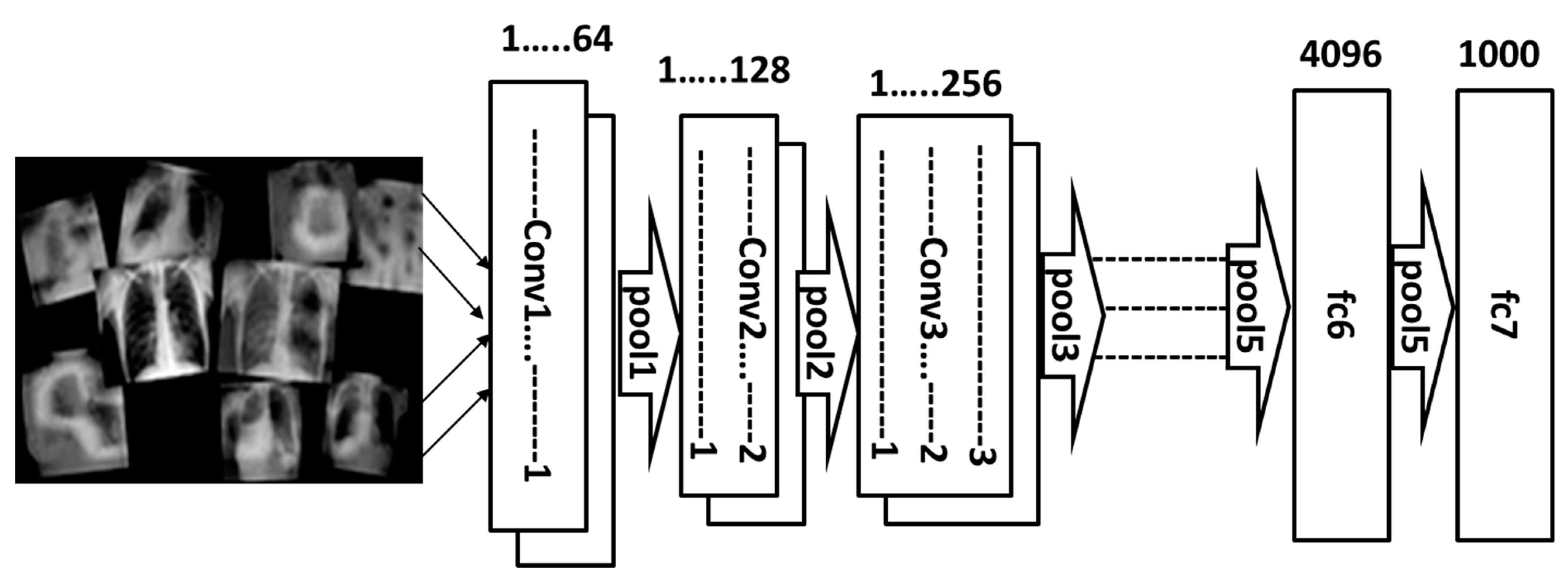
Standard 2D-CNN—Typical CNN architectures are comprised of convolutional layers, pooling layers, fully connected layers, and their combinations with their outputs forward propagated to the fully connected layers. CNNs are a form of deep learning models commonly employed for better outcomes to analyze visual imagery, typically CNNs and the k-nearest neighbor (KNN) ML algorithm are used for the accurate prediction of diseases, especially when deployed for early stage prediction and medical diagnosis during COVID-19 using chest X-ray and CT(computed tomography) images. Techniques such as dropout and batch normalization of networks ensure the achievement of better learning in CNNs. However, the problem of over fitting in training can be overcome with convolutional layers, while a differentiable function can also be utilized to transform the volume of conversions among different layers because of the structurally arranged sequence of layers (Figure 2).
Figure 2.
Standard CNN.
VGGNET—Typically VGGNET is a deep CNN architecture with multiple layers that include the optimum number of convolutional layers utilizing the ReLU activation function and the softmax classifier in the final layer, with variant filter sizes and strides among the convolutional layers. VGGNET possesses around 11, 16, and 19 layers and few other variants, respectively (Figure 3). However, most of the VGGNET variant architectures are comprised of three fully connected layers at the end, while the number of convolution layers count is different. VGGNET is one among the popular object recognition architectures.
Figure 3.
VGG NET.
GoogleNET–Typically, the GoogleNET Architecture is a 22-layer deep-convolutional neural network intended for computer vision tasks such as face recognition and detection etc. It is trained on over a million images to classify them into around 1000 categories of objects. The architecture is comprised of more than 60 million parameters, involving 650,000 neurons, such that any pre-trained GoogleNET may be loaded to ensure the classification of images into more than 100 object categories. However, the number of parameters in the GoogleNET architecture is less, in comparison to the VGGNET and/or AlexNet architectures [49,50,51].
On the other hand, GoogleNET (Figure 4) can be deployed as a pre-trained network, predominantly for imaging applications favoring the healthcare domain and allied sectors, thus aiding the appropriate diagnosis of patient data from X-rays, CT scan reports, MRI scan reports, and data from various towers, as well.
Figure 4.
Google NET.
RESNET—A RESNET, or residual network, is a deep learning CNN model that is predominantly employed for many computer vision tasks and designed to support variants of 34, 50, 152, and 1202 layers. While the ResNet18 architecture is comprised of 11 million trainable parameters, with only two pooling layers, one at the beginning and the other at the end of the network, on the other hand, the popular ResNet50 is a 50-layer deep CNN architecture comprising 49 convolution layers and 1 fully connected layer at the end, such that a pre-trained version of ResNet50 trained on more than a million images can be loaded to classify images into around 1000 categories.
RESNET architectures are almost similar to the VGG architectures comprising 3 × 3 filters, while the pre-trained RESNET models can also be deployed in various realistic clinical applications (Figure 5). Investigations depicting utility of hybrid ML and DL architectures for addressing the healthcare issues and challenges encountered by clinical pathologists and doctors are discussed here. Alakus et al [52], Ali Narin et al. [53], Zhang et al. [54], Alqudah et al. [55], and Medhi et al. [56] explored the utility of ResNet DL models based on KNN (k-nearest neighbor), SVM (support vector machine) algorithms, etc. Afshar et al. [57] developed a deep neural network (DNN) framework training different NN models, such as CNN, RNN, long short-term memory (LSTM), hybrid CNN-LSTM, and CNN-RNN, etc., to biomedical and healthcare applications covering various segments of health sectors. The authors in [58,59,60] applied machine learning techniques, decision trees, SVM classifiers, etc., to predict the clinical severity and spread of viruses, and Lalaantika Sharma [61] et al., developed a tool for heart diseases, deploying machine learning algorithms. In recent years, we have seen the applications of AI in medicine to diagnose brain tumors and multiple brain disorders from MR images [62,63,64,65], as well as breast cancer from mammographic images [66,67,68,69]. Deep learning has changed the applicability of AI in Big Data processing by mimicking the feelings of human beings, as well [70,71].
Figure 5.
RESNET.
Long short-term memory (LSTM) DL networks [72,73,74,75,76] are proven to be highly advantageous for learning sequences and increased utility in robotic control, speech recognition, human action recognition, etc. Recurrent neural networks(RNN) [77,78] present promising results in various ML-based computer vision tasks [79,80,81], on the other hand, a special type of neural network—GANs (generative adversarial networks)—are deployed in a wide field of medical image computing [82,83,84,85] to perform predictive diagnostic analysis. The authors in [86,87,88,89,90,91,92,93] employed deep convolutional neural systems, ResNet-101 and Inception-v4, AlexNet, VGGNET, Google tools, etc., for clinical rescue operations and medical applications. The roles of advanced technologies such as block chain, Big Data, drones, and the Internet of Things (IoT), cannot be side-lined, especially in the prediction of pandemics [94,95,96,97,98,99,100] and other healthcare issues troubling the clinical pathologists. DNN algorithms, LSTM models, auto-encoder algorithms, SVM, hidden Markov chain model (HMM), etc., variants serve various diagnostic cardio-thoracic healthcare applications. A few such exploratory works are tabulated below (Table 2).
Table 2.
Review of AI in Healthcare.
3.2. Big Data
“Bigdata for health-care domain is an economically feasible life saver to enhance the operational efficiency of medical systems”.
Today’s healthcare industry has traversed a long way, surpassing decades of hurdles, toward the current trends of deploying Big Data in vast number of healthcare applications (Figure 6), such as the maintenance of generic patient databases, medical imaging applications, electronic health records of patients in authorized databases(portals) and government agencies, clinical employees pay records, pharma-technological inventions, search engines data, data pertaining to generic databases, smart phones and wearable gadgets, virtual tele-medical facilities, robotics deployment in medical healthcare applications, etc.
Figure 6.
Big Data Applications.
The swift development of IoT technologies keep on generating tonnes of medical data from ubiquitously variant number of sensors and wearable devices [18], and these exceptionally unparalleled volumes of data associated with data analytics of AI generate in massive volumes of Big Data from wide number of mobile devices (smart phones), IoT gadgets [143,144], etc., to predict online complaining behavior in hospital industry—substantially applying big-data analytics to perform online reviews [145]. Establishments relevant to handling such ubiquitous volumes of Big Data from various applications shall be attributed to the explorative investigations and innovations synchronizing the frameworks and mechanisms contributed by the wide scope of works by the research community. Few such applications relevant to healthcare are tabulated (Table 3) for an elaborative understanding of their findings.
Table 3.
Review of Big data in Healthcare.
According to a forecast by software giant CISCO, it was predicted that the highly diversified and heterogeneous volumes of data generated from clinicians, IoT devices/wearables, healthcare organizations, etc., are anticipated to reach a toll of around 930 exabytes (from terabytes) from 2022—the processing of this diversified text and video formatted Big Data with conventional databases is highly constrainable, compelling Big Data analysts to significantly manage, analyze, and leverage Big Data in order to merge them. Despite these challenges and limitations, plenty of progressive technological innovations continuously transform healthcare Big Data into useful and actionable information by appropriately leveraging suitable software tools, which opens doors to remarkably predictable conclusions and contributions, thus transforming every aspect of healthcare to be more economically feasible.
With the affluence of sourcing healthcare data from various resources—clinical pathologists are able to checkout optimally better medical and financial decisions well ahead of dangers, providing gifted life-saving quality care to the patient community and ensuring overwhelming professional satisfaction to the clinical community, as well as the family members of the patient community. Irrespective of the vastly applicable subjective areas of Big Data in the healthcare sector—the fullest adoption of Big Data analytics into healthcare was still lagging behind other industries, which is attributed to the associated challenges, such as privacy of healthcare information, data security concerns, budget constraints, etc. A demonstration of the Big Data analytics approach for providing aggravated patient care in hospitals and clinical arenas is summarized below:
- (A)
- Prediction of staffing requirements in hospitals, based on patient count.
- (B)
- Patients’ electronic health records (EHRs) maintenance, warning them of pending lab tests in synchronization with doctor’s instructions.
- (C)
- Provision of on-the-spot real-time medical data analysis to healthcare practitioners by continuously gathering patient’s health data and pumping the same to the cloud instantly.
- (D)
- Enhance patient’s self-health monitoring engagement using smart devices, for example, counting steps walked upon, monitoring heart beats, blood pressure levels, sugar levels, sleeping habits, etc., connecting them to physicians as, and when, required.
- (E)
- Promoting patients to opt for advanced medical treatments based on factors that are really discouraging them from taking up treatments.
- (F)
- In cancer, curing enables medical researchers to examine tumor samples and predict the interaction of certain mutations based on patient treatment records (in bio-banks) to chalk out the highest rates of recovery and success in cancer patients.
- (G)
- It is helpful in sequencing cancer samples genetically and deploying them to a cancer database and the global researcher’s community.
- (H)
- Predictive analytics help doctors to arrive at life-saving conclusive treatments, in the case of patients suffering from complex ailments and disorders.
- (I)
- Big Data analytics promote telemedicine services to prevent the further worsening of patient’s health conditions in remote areas.
- (J)
- Integration of Big Data analytics into medical imaging for healthcare drastically saves the time incurred by radiologists by quickly finalizing the clinical procedures to be adopted for every patient.
- (K)
- Big Data analytics helps healthcare institutions in preventing suicide deaths and self-harm (as globally, around eight lakhs people expiring every year due to suicides).
- (L)
- Big Data analytics provides end-to-end effective supply chain management solutions to hospitals and healthcare institutions by leveraging the analytics tools to arrive at accurate decisions.
- (M)
- Big Data analytics play a pivotal role in developing ground-breaking new drugs and forward-thinking therapies, based on gene cloning information analysis and intransigent patient predictions.
It can be compellingly said that, in the present-century healthcare scenario, Big Data is implicitly embedded with intelligent AI tools for building complex simulation monitoring mechanism models that aid clinical pathologists in various healthcare-relevant fields, in order to save the lives of the patient community (Figure 7).
Figure 7.
Big Data for Healthcare Applications.
3.3. Block Chain Technology
Block chain technology in the healthcare ecosystem typically addresses various operational compatibility challenges to conserve and swap the overall patient diagnostic information with hospitals, clinical laboratories, pharmacy industries, physicians, surgeons, etc. This technology enables a reliable, trustworthy data switch-over and workflow beyond limitations, with totally decentralized and disseminated ledger technology paving the path to novel healthcare information exchange application models. The members of the block chain technology-dispersed network are comprised of clinicians, pathologists, hospitals, laboratories, pharmaceutical companies (optional), government medical agencies, authorized healthcare and distribution companies, etc. This network enables storing all kinds of digital transactions into a pooled (shared) ledger, with each of the members having access to an identical copy preserved in the ledger, such that any modifications to the pooled ledger stands reflected over all the copies and no single member of the network holds any power to alter or modify the data, while keeping other in abeyance. Contrary to the conventional healthcare data storage-preserving mechanism of physical data, this technology provides a barter system model of healthcare information exchanges, comprising health records, documents, or images in a data repository known as a data lake, such that they are highly scalable and capable of storing wide varieties of data in various formats ranging from text, documents, and visuals, to images, etc. To ensure the confidentiality and legitimacy of the information, the entire data are preserved in the data lake after encryption, and they are digitally authenticated (signed) by the healthcare provider, i.e., whoever incorporates a medical record in the data lake.
Block chain technology is typically based on open-source software, commodity hardware, and open APIs that runs on a peer-to-peer internet-connected network of computers—all maintaining an identical copy of transaction ledger—and it offers many advantages to healthcare IT, while potentially addressing interoperability challenges with built-in fault tolerability, adversity revival mechanisms embedded with data encryption, and cryptography features throughout. It serves as a replacement to the conventional client/server distributed database management systems comprising Structured Query Language or relational inputs.
A block chain network offers vast advantages to the healthcare sector by incorporating personalized and secured real-time data accessibility permissions at the granular level and ensuring continuous accessibility to real-time data generated from wearable sensors and mobile devices, thereby enhancing the critical clinical care (CCC) and coordination among doctors in emergency situations (Figure 8). This rapidly evolving field provides fertile ground for experimentation, investment, and verification testing, henceforth paving the way for developing a new breed of SMART applications, thus aiding healthcare providers and surgeons. Research works and experimental evolutions critically elaborating the prominently applicable role of block chain technology to the medical sector and allied segments of healthcare applications are highlighted.
Figure 8.
Block chain Technology for Healthcare Applications.
An innumerable number of innovations contributing to the applicability of block chain technology for healthcare applicable segments is under progression to elaborately educate the healthcare institutions and medical community. Not all, but few, are briefed for creating awareness among the future research community anticipators. Kumar and Tripathi [156] et.al, created a block chain consortium network to validate virus-related scan reports, block chain technology applications in managing electronic medical records (EMR), patient consent management [157,158,159], health insurance dispensation [160,161,162], artificial intelligence data transfer model development [163], genomics, logistics management for medical supplies, transportable healthcare and IoT [164,165], shared keys utility in the case of patient (key-holder) expiry [166], secure cloud-based EMRs [167], AI-based medical research collaboration with legitimacy [168,169], hybrid block chain solutions with medical IoT for remote patient monitoring [170], i.e., cardiac monitoring, sleep apnoea testing, etc., safety concerns of patients and medical personnel [171,172,173,174,175], and block chain technology-based retrieval of medical information through linking of hospitals [176,177,178].The hybrid utility of cloud and block chain technology (IBM’s medical-block chain; Al Omar et al., 2019)deployed large-size electronic health records on block chain. Though all the investigative works cannot be discussed elaborately, few such are tabulated (Table 4) to make the readers more aware of the happenings.
Table 4.
Review of Block Chain Technology in healthcare.
3.4. Open-Source Technologies
Over the past few decades, healthcare IT journeyed through multiple transformations from the then existing administrative perspective mechanism to the current day’s constructive critical care mechanism, offering life-saving superior quality treatments to patients today, with the help of emerging technologies, such as AI, Big Data, block chain, cloud computing and IoT, amicably saving the lives of the patient community through timely healthcare facilities. This entire process of materialization shall be attributed only through the exchange of medical data across hospitals, medical institutions, patients, doctors, connected wearable(and smart) devices, electronic health (and medical) records, back-end administrative processing staff, and front-end clinical staff effectively utilizing the open-source software (Figure 9)—that leaves operational flexibility for healthcare institutions and medical centers to perform an analysis of real-time medical data, with the help of many visualization tools, thus ensuring better and timely life-giving care treatments to the patient community.
Figure 9.
OST for Healthcare Applications.
The penetration of open-source tools and software into the healthcare sector is offering numerous benefits of ethical advantages, such as license-free utility, inter-operability, safe integration, etc., and promotes innovations akin to the publication of research and methods. Explorative research works that typically signify the applicability and utility of open-source software in the healthcare scenario-based segments of medication, surgeries, and treatments in various allied sectors are briefly highlighted for feasible studies and continuous evolutions by the research community. In 1990, Open GALEN (a non-profit organization) was formed to provide an open-source route for disseminating the academic research results of medical terminology and tools for future development [189]. Health information technology (IT) has its own history for adopting open-source technologies. The U.S Veterans Health Information Systems and Technology Architecture (VistA) and Mirth (an open-source software) were distributed as free source code [190,191]. In view of the easily available open software tools, healthcare IT practitioners have the flexibility to choose from licensed vendor tools, open-source tools, hybrid software environment (or in-house) tools, etc., to suit their requirements, since most of the open-source technologies are built upon the collaborative utility concepts of providing freely accessible code to all healthcare practitioners. Large open-source projects, such as Apache, Eclipse, and Mozilla, demonstrated the role of open-source technology (OST) adoption in facilitating a matured healthcare ecosystem [192]. The National Health Service (NHS) in England supported an initiative called Code4Health—an open-source platform [193,194,195].Open-source health information technologies (OS-HIT) [196] are used to curb viral diseases, such as Ebola and other pandemics [197]. Open-source software publicizes bugs, allowing sophisticated users to fix them, thereby regularly updating the codes to enhance the applicability of reusing proven code and benefitting the patient’s safety. Care2X is an open-source hospital information system [198], and Open Receipt Computer Advanced is another OSS in Japan [199] that aids the patient community and clinicians.
As we are aware that proprietary vendors always insist upon standardization only, healthcare IT practitioners (and doctors being ethical) shall insist upon OST (open-source technology) to drive standardization, though they are aware of the fact that most of the open-source software runs on shared source code; hence, they are tweaked to work in synchronization with the proprietary software. Therefore, they shall trade off whether to go for stand-alone open-source programs or adopt a mix of either, in order to counter the administrative challenges. On the other hand, the flexibilities associated with open-source software users ability to adopt any desired open-source support vendor enables them to create diverse and global communities on the internet, with a motto of helping others desiring to use them [200,201,202,203,204,205], thereby helping the clinical and healthcare community as a whole.
3.5. Cloud Computing for Healthcare
Cloud healthcare is a cloud computing service for healthcare providers with internet-connected remote servers deployed for storing, maintaining, and processing personal healthcare-related patient data (PHRPD). This setup of cloud computing healthcare is in disparity, with an on-site datacenter and server mechanism of the conventional system [206]. Cloud storage healthcare mechanisms offer large volumes of secured data storage space at rescue—of course maintained by tech savvy IT professionals. Specifically, the Microsoft Azure cloud computing system provides on-demand simple access to healthcare applications and data.
Typical healthcare cloud service scenarios under utilization (Figure 10) and the associated benefits of cloud healthcare are briefly discussed, as follows:
Figure 10.
Healthcare cloud services.
- A.
- An efficient electronic medical health record (EMHR) ensures hospitals and healthcare institutions facilitate the storage of the entire patient health history, in order to provide enhanced medical services with the fullest security and privacy of data.
- B.
- Cloud storage machinery for the EMHR of patients paved the way for a collaborative patient caring mechanism, ensuring the easy sharing of patient’s medical records with other physicians and surgeons, in order to formulate the treatment methodologies to be adopted for every patient, thereby preventing over-prescribed medications and repeated tests for the patients.
- C.
- Since cloud-based healthcare service providers alone handle the maintenance of cloud services, healthcare providers need not worry about the initial expenditures and can focus more upon rendering the best services to patients, except to arrange provisions for their own storage space and hardware setups.
- D.
- With the EMHR mechanism, healthcare providers can maintain an onsite data storage system, with IT staff totally waiving having reams of patient data physically, which is prone to theft/damage or being affected by natural disasters etc.
- E.
- Truly speaking, cloud healthcare paved the way for Big Data applications because the EMHR mechanism today enables physicians and doctors to predict effective treatment options for patients, based on subtle correlations in patients past medical data using, many complex computer algorithms.
- F.
- Cloud healthcare provides long-term financial benefits to organizations because it ensures fully scalable healthcare solutions, with provisions for the in-line expansion of the business.
- G.
- The cloud healthcare EMHR-based data storage mechanism promotes researchers to derive more benefits from digitized healthcare information and open access to massive, previously inaccessible data sets.
- H.
- Cloud healthcare provides an interoperability platform to facilitate rapid data transfer between IoT-enabled devices that can interface freely, such that organizations with cloud computing capabilities can acclimatize to the changing scenario of the healthcare landscape in the future [207].
A typical, realistic deployment of a cloud computing scenario for healthcare applications, visualizing the healthcare data information flow between cloud computing servers, patients, doctors, surgeons, health institutions, medical centers, clinical pathologists, laboratories, ambulances, and back-end data processing personnel, is depicted (Figure 11) to develop a clear, analytic view of the cloud computing-based healthcare scenario.
Figure 11.
Cloud computing servers for Healthcare.
In India, the government of Delhi devised an integrated patient healthcare data managing system between the hospitals, with around 13.9 billion ($18.9 million) rupees associated with IT providers (NEC Corporation, India). It is expected that the global cloud healthcare market is going to hit 35 billion Canadian dollar by 2024, with a predicted annual growth rate of 11.6%, despite the fact that around 69% of the respondents confirmed that the majority of hospitals have no plans to port their existing data centres to cloud storage.
4. Future Scope and Challenges
Though the deployment of technological advancements to the healthcare sector is no doubt a boon, there are plenty of implicit challenges associated with their practical utility for addressing many healthcare issues. Therefore, the future scope governing the deployment of technologies such as AI, Big Data, block chain, open-source software, and cloud computing, substantiated by the limitations(or challenges) adhering to practicality, are herewith outlined, inviting innovative solutions by the research community.
- Though artificial intelligence penetrated into chat bots, CAD (computer-aided detection) systems for diagnosis, and surgeries leveraging analytics, human surveillance cannot be avoided in surgeries because surgical robots can operate logically, but not empathetically - on the other hand AI applications and relevant data are not totally free from (i.e., they are susceptible to) cyber-attacks.
- With the healthcare organizations adopting Big Data in large numbers, multiple sources of Big Data include data from hospital records, patients’ health records, the results of medical examinations, wearable devices, the Internet of Things (IoT), etc., and the challenges associated with handling Big Data demands adequate infrastructure to systematically analyze Big Data. On the other hand, incompetent and incompatible data systems render the interfacing of big data sets difficult, thereby posing problems to ensuring the confidentiality of patient’s data.
- Though fullest deployment of block chain technology bears a potential to revolutionize healthcare sector by ensuring medical records to be well-organized and secured. Storage of patient EHR (electronic health records) on block chain is not economically viable for implementation (especially in the developing and middle-eastern countries). Further it is difficult to query data with block chain technology; data redundancy, data privacy infringement, data ownership, etc., are the additional challenges associated left for being addressed by research community.
- Though open-source technologies (OST) hold the potential to bring various healthcare service providers together, i.e., pharmaceutical vendors, medical institutions, patient communities, and researchers, and by slashing down the IT infrastructure costs, they remain agile to adopt novel IT solutions, while the shared availability of OST elevates the risk of hacking and data breaches, as well as the lack of standardization in utility, when compared with software’s provided by the standard vendors.
- Cloud computing transformed the healthcare sector by hastening the migration of workloads from data centers to the cloud, significantly changing the way information systems are deployed, operated, and maintained inside a sole informative system. Cloud computing data in the healthcare sector is prone to data breaches and security issues, thereby raising concerns in protecting the privacy of real-time data; henceforth, the types and levels of security issues are left open to be taken care of.
5. Conclusions
The proposed review work outlined the prominent role of AI, Big Data, block chain technology, open-source, and cloud computing technologies in solving various healthcare ailments, from general medicine, dentistry, cardiology, neurology, orthopaedics, paediatrics, gynaecology, and psychiatry to plastic surgery, as well as curbing the different neurotic maladies, infectious pandemics, etc. Though these technologies have superseded the role of doctors (clinical pathologists) by relentlessly addressing many interoperability and platform integrity (confidentiality) issues, there exist many unspoken practical and technical liabilities governing their implementation in the healthcare sector. It was observed that AI cannot fully replace surgeons, contrary to the probability of defective/incorrect diagnosis by robots—on the other hand, multiple data handling across multiple data systems raises concerns regarding security firewalls and confidentiality issues, stressing the need to develop a predictive analysis-based online reporting software(typically, an open-source software will do). The storage of large-scale medical data using block chain still seems inferior to the distributed database management systems (DBMS) and not economically viable. In view of these concerns, cloud chain or distributed storage options with cloud computing storage are preferred. Ultimately, open-source technologies are serving to improve the patient care manifold, with due consideration to the cyber security measures. Therefore, it is essentially required for the healthcare community to leverage the open-source technologies gaining momentum across healthcare sectors in-line with the three main goals of healthcare, i.e., accessibility, accountability, and affordability.
Author Contributions
Conceptualization, S.S.; methodology, S.S.; software, S.S. and N.K.D.; validation, N.K.D., A.C., B.S. and A.V.P.; formal analysis, N.K.D., A.C., B.S. and A.V.P.; investigation, S.S.; resources, N.K.D. and A.C.; data curation, S.S., N.K.D., A.C. and B.S.; writing—original draft preparation, S.S. and N.K.D.; writing—review and editing, N.K.D., A.C., B.S. and A.V.P.; visualization, N.K.D. and A.C.; supervision, N.K.D., B.S. and A.V.P.; project administration, N.K.D., B.S. and A.V.P.; funding acquisition, N.K.D. and A.C. All authors have read and agreed to the published version of the manuscript.
Funding
This research received no external funding.
Data Availability Statement
Not applicable.
Acknowledgments
The authors would like to acknowledge the timely cooperation and full support extended by the management of Lendi IET (A) in conducting this review work, with effective utilization of the Central R&D Laboratory facilities at Lendi IET (A).
Conflicts of Interest
The authors declare no conflict of interest.
References
- Salehi, A.W.; Baglat, P.; Gupta, G. Review on machine and deep learning models for the detection and prediction of Coronavirus. Mater. Today Proc. 2020, 33, 3896–3901. [Google Scholar] [CrossRef]
- Wilson, D.; Falush, D.; McVean, G. Germs, genomes and genealogies. Trends Ecol. Evol. 2005, 20, 39–45. [Google Scholar] [CrossRef]
- Jamshidi, M.B.; Lalbakhsh, A.; Talla, J.; Peroutka, Z.; Hadjilooei, F.; Lalbakhsh, P.; Jamshidi, M.; La Spada, L.; Mirmozafari, M.; Dehghani, M.; et al. Artificial Intelligence and COVID-19: Deep Learning Approaches for Diagnosis and Treatment. IEEE Access 2020, 8, 109581–109595. [Google Scholar] [CrossRef]
- Huang, C.; Wang, Y.; Li, X.; Ren, L.; Zhao, J.; Hu, Y.; Zhang, L.; Fan, G.; Xu, J.; Gu, X.; et al. Clinical features of patients infected with 2019 novel coronavirus in Wuhan, China. Lancet 2020, 395, 497–506. [Google Scholar] [CrossRef]
- Chen, N.; Zhou, M.; Dong, X.; Qu, J.; Gong, F.; Han, Y.; Qiu, Y.; Wang, J.; Liu, Y.; Wei, Y.; et al. Epidemiological and clinical characteristics of 99 cases of 2019 novel coronavirus pneumonia in Wuhan, China: A descriptive study. Lancet 2020, 395, 507–513. [Google Scholar] [CrossRef]
- Wang, D.; Hu, B.; Hu, C.; Zhu, F.; Liu, X.; Zhang, J.; Wang, B.; Xiang, H.; Cheng, Z.; Xiong, Y.; et al. Clinical Characteristics of 138 Hospitalized Patients With 2019 Novel Coronavirus—Infected Pneumonia in Wuhan, China. JAMA 2020, 323, 1061–1069. [Google Scholar] [CrossRef]
- Liu, K.; Fang, Y.-Y.; Deng, Y.; Liu, W.; Wang, M.-F.; Ma, J.-P.; Xiao, W.; Wang, Y.-N.; Zhong, M.-H.; Li, C.-H.; et al. Clinical characteristics of novel coronavirus cases in tertiary hospitals in Hubei Province. Chin. Med. J. 2020, 133, 1025–1031. [Google Scholar] [CrossRef]
- Manolis, A.S.; Manolis, T.A. Cardiovascular Complications of the Coronavirus (COVID-19) Infection: COVID-19 and the Heart. Rhythmos 2020, 15, 23–28. [Google Scholar]
- McCloskey, B.; Dar, O.; Zumla, A.; Heymann, D.L. Emerging infectious diseases, and pandemic potential: Status quo and reducing risk of global spread. Lancet Infect. Dis. 2014, 14, 1001–1010. [Google Scholar] [CrossRef]
- Wang, Z.; Tang, K. Combating COVID-19: Health equity matters. Nat. Med. 2020, 26, 2019–2021. [Google Scholar] [CrossRef]
- Jiang, F.; Jiang, Y.; Zhi, H.; Dong, Y.; Li, H.; Ma, S.; Wang, Y.; Dong, Q.; Shen, H.; Wang, Y. Artificial intelligence in healthcare: Past, present and future. Stroke Vasc. Neurol. 2017, 2, 230–243. [Google Scholar] [CrossRef]
- Daveport, T.; Karakota, R. The potential for artificial intelligence in health-care. Future Health-Care J. 2019, 6, 92–98. [Google Scholar] [CrossRef]
- Javeed, A.; Khan, S.U.; Ali, L.; Ali, S.; Imrana, Y.; Rahman, A. Machine Learning-Based Automated Diagnostic Systems Developed for Heart Failure Prediction Using Different Types of Data Modalities: A Systematic Review and Future Directions. Comput. Math. Methods Med. 2022, 2022, 9288452. [Google Scholar] [CrossRef]
- Alaus, T.B.; Turkoglu, I. Detection of pre-epileptic seizure by using wavelet packet decomposition and artificial neural networks. In Proceedings of the 10th International Conference on Electrical and Electronic Engineering, Bursa, Turkey, 30 November–2 December 2017; pp. 511–515. [Google Scholar]
- Memarian, N.; Kim, S.; Dewar, S.; Engel, J.; Staba, R.J. Multimodal data and machine learning for surgery outcome prediction in complicated cases of mesial temporal lobe epilepsy. Comput. Biol. Med. 2015, 64, 67–78. [Google Scholar] [CrossRef]
- Yousefi, J.; Hamilton-Wright, A. Characterizing EMG data using machine-learning tools. Comput. Biol. Med. 2014, 51, 1–13. [Google Scholar] [CrossRef]
- Karthick, P.; Ghosh, D.M.; Ramakrishnan, S. Surface electromyography based muscle fatigue detection using high-resolution time-frequency methods and machine learning algorithms. Comput. Methods Programs Biomed. 2018, 154, 45–56. [Google Scholar] [CrossRef]
- Alfaras, M.; Soriano, M.C.; Ortín, S. A Fast Machine Learning Model for ECG-Based Heartbeat Classification and Arrhythmia Detection. Front. Phys. 2019, 7, 103. [Google Scholar] [CrossRef]
- Ledezma, C.A.; Zhou, X.; Rodríguez, B.; Tan, P.J.; Díaz-Zuccarini, V. A modeling and machine learning approach to ECG feature engineering for the detection of ischemia using pseudo-ECG. PLoS ONE 2019, 14, e0220294. [Google Scholar] [CrossRef]
- Munir, K.; Elahi, H.; Ayub, A.; Frezza, F.; Rizzi, A. Cancer Diagnosis Using Deep Learning: A Bibliographic Review. Cancers 2019, 11, 1235. [Google Scholar] [CrossRef]
- Andriasyan, V.; Yakimovich, A.; Georgi, F.; Petkidis, A.; Witte, R.; Puntener, D.; Greber, U.F. Deep learning of virus infections reveals mechanics of lytic cells. bioRxiv 2019. [Google Scholar] [CrossRef]
- Senior, A.W.; Evans, R.; Jumper, J.; Kirkpatrick, J.; Sifre, L.; Green, T.; Qin, C.; Žídek, A.; Nelson, A.W.R.; Bridgland, A.; et al. Improved protein structure prediction using potentials from deep learning. Nature 2020, 577, 706–710. [Google Scholar] [CrossRef]
- Nelson, A.E. A machine learning approach to knee osteoarthritis phenol typing: Data from the FNIH Biomarkers Consortium. Osteoarthr. Cartil. 2019, 27, 994.e1001. [Google Scholar] [CrossRef] [PubMed]
- Ahmed, S.M.; Mstafa, R.J. A Comprehensive Survey on Bone Segmentation Techniques in Knee Osteoarthritis Research: From Conventional Methods to Deep Learning. Diagnostics 2022, 12, 611. [Google Scholar] [CrossRef] [PubMed]
- Yeoh, P.S.Q.; Lai, K.W.; Goh, S.L.; Hasikin, K.; Hum, Y.C.; Tee, Y.K.; Dhanalakshmi, S. Emergence of Deep Learning in Knee Osteoarthritis Diagnosis. Comput. Intell. Neurosci. 2021, 2021, 4931437. [Google Scholar] [CrossRef] [PubMed]
- Panfilov, E. Deep learning-based segmentation of knee MRI for fully automatic sub-regional morphological assessment of cartilage tissues: Data from the Osteoarthritis Initiative. J. Orthop. Res. 2022, 40, 1113–1124. [Google Scholar] [CrossRef]
- Tan, J.-S.; Tippaya, S.; Binnie, T.; Davey, P.; Napier, K.; Caneiro, J.P.; Kent, P.; Smith, A.; O’Sullivan, P.; Campbell, A. Predicting Knee Joint Kinematics from Wearable Sensor Data in People with Knee Osteoarthritis and Clinical Considerations for Future Machine Learning Models. Sensors 2022, 22, 446. [Google Scholar] [CrossRef]
- Zhao, H.; Li, G.; Feng, W. Research on application of artificial intelligence in medical education. In Proceedings of the 2018 International Conference on Engineering Simulation and Intelligent Control, Changsha, China, 10–11 August 2018; pp. 340–342. [Google Scholar]
- Al-Turjman, F.; Nawaz, M.H.; Ulusar, U.D. Intelligence in the Internet of Medical Things era: A systematic review of current and future trends. Comput. Commun. 2020, 150, 644–660. [Google Scholar] [CrossRef]
- Chan, Y.-K.; Chen, Y.-F.; Pham, T.; Chang, W.; Hsieh, M.-Y. Artificial Intelligence in Medical Applications. J. Health Eng. 2018, 2018, 4827875. [Google Scholar] [CrossRef]
- Longo, U.; De Salvatore, S.; Candela, V.; Zollo, G.; Calabrese, G.; Fioravanti, S.; Giannone, L.; Marchetti, A.; De Marinis, M.; Denaro, V. Augmented Reality, Virtual Reality and Artificial Intelligence in Orthopedic Surgery: A Systematic Review. Appl. Sci. 2021, 11, 3253. [Google Scholar] [CrossRef]
- Bragazzi, N.L.; Dai, H.; Damiani, G.; Behzadifar, M.; Martini, M.; Wu, J. How Big Data and Artificial Intelligence Can Help Better Manage the COVID-19 Pandemic. Int. J. Environ. Res. Public Health 2020, 17, 3176. [Google Scholar] [CrossRef]
- Tran, B.X.; Vu, G.T.; Ha, G.H.; Vuong, Q.-H.; Ho, M.-T.; Vuong, T.-T.; La, V.-P.; Nghiem, K.-C.P.; Nguyen, H.L.T.; Latkin, C.A.; et al. Global Evolution of Research in Artificial Intelligence in Health and Medicine: A Bibliometric Study. J. Clin. Med. 2019, 8, 360. [Google Scholar] [CrossRef] [PubMed]
- Cabitza, F.; Locoro, A.; Banfi, G. Machine Learning in Orthopedics: A Literature Review. Front. Bioeng. Biotechnol. 2018, 6, 75. [Google Scholar] [CrossRef] [PubMed]
- Soma shekhar, S.; Kumar, R.; Kumar, A.; Patil, P.; Rauthan, A. Validation Study to Assess performance of IBM Cognitive Computing System Watson for Oncology with Manipal Multidisciplinary Tumour Board for 1000 Consecutive Cases: An Indian Experience. Ann. Oncol. 2016, 27, 1–2. [Google Scholar]
- Ramesh, A.; Kambhampati, C.; Monson, J.; Drew, P. Artificial Intelligence in Medicine. Ann. R. Coll. Surg. Engl. 2004, 86, 334–338. [Google Scholar] [CrossRef] [PubMed]
- Luo, J.; Wu, M.; Gopukumar, D.; Zhao, Y. Big Data Application in Biomedical Research and Health Care: A Literature Review. Biomed. Inform. Insights 2016, 8, 1–10. [Google Scholar] [CrossRef]
- Lin, W.; Dou, W.; Zhou, Z.; Liu, C. A cloud-based framework for Home-diagnosis service over big medical data. J. Syst. Softw. 2015, 102, 192–206. [Google Scholar] [CrossRef]
- Wang, W.; Krishnan, E. Big Data and Clinicians: A Review on the State of the Science. JMIR Med. Inform. 2014, 2, e1. [Google Scholar] [CrossRef]
- Qiu, J.; Wu, Q.; Ding, G.; Xu, Y.; Feng, S. A survey of machine learning for big data processing. EURASIP J. Adv. Signal Process. 2016, 2016, 67. [Google Scholar] [CrossRef]
- Krichen, M.; Ammi, M.; Mihoub, A.; Almutiq, M. Blockchain for Modern Applications: A Survey. Sensors 2022, 22, 5274. [Google Scholar] [CrossRef]
- Iftikhar, Z.; Javed, Y.; Zaidi, S.; Shah, M.; Khan, Z.I.; Mussadiq, S.; Abbasi, K. Privacy Preservation in Resource-Constrained IoT Devices Using Blockchain—A Survey. Electronics 2021, 10, 1732. [Google Scholar] [CrossRef]
- Imran, M. Comprehensive Survey of IoT, Machine Learning, and Block Chain for Health Care Applications: A Topical Assessment for Pandemic Preparedness, Challenges, and Solutions. Electronics 2021, 10, 2501. [Google Scholar] [CrossRef]
- Shi, S.; He, D.; Li, L.; Kumar, N.; Khan, M.K.; Choo, K.K. Applications of blockchain in ensuring the security and privacy of electronic health record systems: A survey. Comput. Secur. 2020, 97, 101966. [Google Scholar] [CrossRef] [PubMed]
- Ratta, P.; Kaur, A.; Sharma, S.; Shabaz, M.; Dhiman, G. Application of Blockchain and Internet of Things in Healthcare and Medical Sector: Applications, Challenges, and Future Perspectives. Hindawi J. Food Qual. 2021, 2021, 7608296. [Google Scholar] [CrossRef]
- Jahantigh, M.N. Integration of Internet of Things and cloud computing: A systematic survey. IET Commun. 2020, 14, 165–176. [Google Scholar] [CrossRef]
- Chenthara, S.; Ahmed, K.; Wang, H.; Whittaker, F. Security and Privacy-Preserving Challenges of e-Health Solutions in Cloud Computing. IEEE Access 2019, 7, 74361–74382. [Google Scholar] [CrossRef]
- Dang, L.M.; Piran, J.; Han, D.; Min, K.; Moon, H. A Survey on Internet of Things and Cloud Computing for Healthcare. Electronics 2019, 8, 768. [Google Scholar] [CrossRef]
- Selvaraju, R.R.; Cogswell, M.; Das, A.; Vedantam, R.; Parikh, D.; Batra, D. Grad-cam: Visual explanations from deep networks via gradient-based localization. In Proceedings of the International Conference on Computer Vision (ICCV), Venice, Italy, 22–29 October 2017; IEEE: Piscataway, NJ, USA, 2017; pp. 618–626. [Google Scholar]
- Armato, S.G.; McLennan, G.; Bidaut, L.; McNitt-Gray, M.F.; Meyer, C.R.; Reeves, A.P.; Zhao, B.; Aberle, D.R.; Henschke, C.I.; Hoffman, E.A.; et al. The Lung Image Database Consortium (LIDC) and Image Database Resource Initiative (IDRI): A Completed Reference Database of Lung Nodules on CT Scans. Med. Phys. 2011, 38, 915–931. [Google Scholar] [CrossRef]
- Jiang, X.; Coffee, M.; Bari, A.; Wang, J.; Jiang, X.; Huang, J.; Shi, J.; Dai, J.; Cai, J.; Zhang, T.; et al. Towards an Artificial Intelligence Framework for Data-Driven Prediction of Coronavirus Clinical Severity. Comput. Mater. Contin. 2020, 62, 537–551. [Google Scholar] [CrossRef]
- Alakus, T.B.; Turkoglu, I. Comparison of deep learning approaches to predict COVID-19 infection. Chaos Solitons Fractals 2020, 140, 110120. [Google Scholar] [CrossRef]
- Narin, A.; Kaya, C.; Pamuk, Z. Automatic detection of coronavirus disease (COVID-19) using X-ray images and deep convolutional neural networks. Pattern Anal. Appl. 2021, 24, 1207–1220. [Google Scholar] [CrossRef]
- Zhang, J.; Xie, Y.; Li, Y.; Shen, C.; Xia, Y. COVID-19 Screening on Chest X-ray Images Using Deep Learning based Anomaly Detection. arXiv 2020, arXiv:2003.12338v1. [Google Scholar]
- Alqudah, A.M.; Qazan, S.; Alqudah, A. Automated Systems for Detection of COVID-19 Using Chest X-ray Images and Lightweight Convolutional Neural Networks. Available online: https://assets.researchsquare.com/files/rs-24305/v1/2eaad4f3-e08b-4726-ab8c-0298a586d83a.pdf?c=1631833615 (accessed on 25 March 2022).
- Jamil, M.; Hussain, I. Automatic Detection of COVID-19 Infection from Chest X-ray using Deep Learning. medRxiv 2020. [Google Scholar] [CrossRef]
- Afshar, P.; Heidarian, S.; Naderkhani, F.; Oikonomou, A.; Plataniotis, K.N.; Mohammadi, A. COVID-CAPS: A Capsule Network-based Framework for Identification of COVID-19 cases from X-ray Images. arXiv 2020, arXiv:2004.02696v2. [Google Scholar] [CrossRef]
- de Moraes Batista, A.F.; Miraglia, J.L.; Rizzi Donato, T.H.; Porto Chiavegatto Filho, A.D. COVID-19 diagnosis prediction in emergency care patients: A machine learning approach. bioRxiv 2020. [Google Scholar] [CrossRef]
- Schwab, P.; Schütte, A.D.; Dietz, B.; Bauer, S. Pred COVID-19: A systematic study of clinical predictive models for coronavirus disease 2019. arXiv 2020, arXiv:2005.08302. [Google Scholar]
- Kumar, P.; Kumari, S. Detection of Coronavirus Disease (COVID-19) Based on Deep Features. 2020, p. 9. Available online: https://www.Preprints.Org/Manuscript/202003.0300/V1 (accessed on 25 March 2022).
- Sharma, L.; Gupta, G.; Jaiswal, V. Classification and development of tool for heart diseases (MRI images) using machine learning. In Proceedings of the 2016 Fourth International Conference on Parallel, Distributed and Grid Computing (PDGC), Waknaghat, India, 22–24 December 2016; IEEE: Piscataway, NJ, USA, 2016; pp. 219–224. [Google Scholar]
- Ghassemi, N.; Shoeibi, A.; Rouhani, M. Deep neural network with generative adversarial networks pre-training for brain tumor classification based on MR images. Biomed. Signal Process. Control. 2020, 57, 101678. [Google Scholar] [CrossRef]
- MTalo, M.; Yildirim, O.; Baloglu, U.B.; Aydin, G.; Acharya, U.R. Convolutional neural networks for multi-class brain disease detection using MRI images. Comput. Med. Imaging Graph. 2019, 78, 101673. [Google Scholar]
- Ghassemi, N.; Shoeibi, A.; Rouhani, M.; Hosseini-Nejad, H. Epileptic seizures detection in eeg signals using tqwt and ensemble learning. In Proceedings of the 2019 9th International Conference on Computer and Knowledge Engineering (ICCKE), Mashhad, Iran, 24–25 October 2019; IEEE: Piscataway, NJ, USA, 2019; pp. 403–408. [Google Scholar]
- Acharya, U.R.; Oh, S.L.; Hagiwara, Y.; Tan, J.H.; Adeli, H. Deep convolutional neural network for the automated detection and diagnosis of seizure using EEG signals. Comput. Biol. Med. 2018, 100, 270–278. [Google Scholar] [CrossRef]
- Mohammadpoor, M.; Shoeibi, A.; Zare, H.; Shojaee, H. A hierarchical classification method for breast tumor detection. Iran. J. Med. Phys. 2016, 13, 261–268. [Google Scholar]
- Arefan, D.; Mohamed, A.A.; Berg, W.A.; Zuley, M.L.; Sumkin, J.H.; Wu, S. Deep learning modeling using normal mammograms for predicting breast cancer risk. Med. Phys. 2020, 47, 110–118. [Google Scholar] [CrossRef]
- Khuzani, A.Z.; Heidari, M.; Shariati, S.A. COVID-classifier: An automated machine learning model to assist in the diagnosis of COVID-19 infection in chest X-ray images. medRxiv 2020. [Google Scholar]
- Mei, X.; Lee, H.-C.; Diao, K.-Y.; Huang, M.; Lin, B.; Liu, C.; Xie, Z.; Ma, Y.; Robson, P.M.; Chung, M.; et al. Artificial intelligence–enabled rapid diagnosis of patients with COVID-19. Nat. Med. 2020, 26, 1224–1228. [Google Scholar] [CrossRef] [PubMed]
- Esteva, A.; Kuprel, B.; Novoa, R.A.; Ko, J.; Swetter, S.M.; Blau, H.M.; Thrun, S. Dermatologist-level classification of skin cancer with deep neural networks. Nature 2017, 542, 115–118. [Google Scholar] [CrossRef] [PubMed]
- Mazurowski, M.A.; Buda, M.; Saha, A.; Bashir, M.R. Deep learning in radiology: An overview of the concepts and a survey of the state of the art with focus on MRI. J. Magn. Reson. Imaging 2019, 49, 939–954. [Google Scholar] [CrossRef]
- Malhotra, P.; Vig, L.; Shroff, G.; Agarwal, P. Long Short Term Memory Networks for Anomaly Detection in Time Series. In Proceedings of the ESANN 2015, Bruges, Belgium, 22–24 April 2014; Presses University de Louvain: Louvain-la-Neuve, Belgium, 2015. [Google Scholar]
- Hochreiter, S.; Schmidhuber, J. Long short-term memory. Neural Comput. 1997, 9, 1735–1780. [Google Scholar] [CrossRef]
- Ma, X.; Tao, Z.; Wang, Y.; Yu, H.; Wang, Y. Long short-term memory neural network for traffic speed prediction using remote microwave sensor data. Transp. Res. Part C Emerg. Technol. 2015, 54, 187–197. [Google Scholar] [CrossRef]
- Cai, M.; Liu, J. Maxout neurons for deep convolutional and LSTM neural networks in speech recognition. Speech Commun. 2016, 77, 53–64. [Google Scholar] [CrossRef]
- Farzad, A.; Mashayekhi, H.; Hassanpour, H. A comparative performance analysis of different activation functions in LSTM networks for classification. Neural Comput. Appl. 2019, 31, 2507–2521. [Google Scholar] [CrossRef]
- Kawakami, K. Supervised Sequence Labelling with Recurrent Neural Networks. Ph.D. Dissertation, Carnegie Mellon University, Pittsburgh, PA, USA, 2008. [Google Scholar]
- Mou, L.; Ghamisi, P.; Zhu, X.X. Deep Recurrent Neural Networks for Hyperspectral Image Classification. IEEE Trans. Geosci. Remote Sens. 2017, 55, 3639–3655. [Google Scholar] [CrossRef]
- Rao, A.; Spasojevic, N. Actionable and political text classification using word embeddings and LSTM. arXiv 2016, arXiv:1607.02501. Available online: http://arxiv.org/abs/1607.02501 (accessed on 30 March 2022).
- Yuan, M.; Wu, Y.; Lin, L. Fault diagnosis and remaining useful life estimation of aero engine using LSTM neural network. In Proceedings of the 2016 IEEE International Conference on Aircraft Utility Systems (AUS), Beijing, China, 10–12 October 2016; pp. 135–140. [Google Scholar]
- Yang, J.; Guo, Y.; Zhao, W. Long short-term memory neural network based fault detection and isolation for electro-mechanical actuators. Neuro Comput. 2019, 360, 85–96. [Google Scholar] [CrossRef]
- Yi, X.; Walia, E.; Babyn, P. Generative adversarial network in medical imaging: A review. Med. Image Anal. 2019, 58, 101552. [Google Scholar] [CrossRef] [PubMed]
- Wolterink, J.M.; Leiner, T.; Viergever, M.A.; Isgum, I. Generative Adversarial Networks for Noise Reduction in Low-Dose CT. IEEE Trans. Med. Imaging 2017, 36, 2536–2545. [Google Scholar] [CrossRef] [PubMed]
- Kohl, S.; Bonekamp, D.; Schlemmer, H.-P.; Yaqubi, K.; Hohenfellner, M.; Hadaschik, B.; Radtke, J.-P.; Maier-Hein, K. Adversarial networks for the detection of aggressive prostate cancer. arXiv 2017, arXiv:1702.08014. Available online: http://arxiv.org/abs/1702.08014 (accessed on 30 March 2022).
- Haarburger, C.; Horst, N.; Truhn, D.; Broeckmann, M.; Schrading, S.; Kuhl, C.; Merhof, D.D. Multiparametric magnetic resonance image synthesis using generative adversarial networks. In Proceedings of the Eurographics Workshop on Visual Computing for Biology and Medicine, Brno, Czech Republic, 26 December 2019. [Google Scholar]
- Greenhalgh, T.; Koh, G.C.H.; Car, J. COVID-19: A remote assessment in primary care. BMJ 2020, 368, m1182. [Google Scholar] [CrossRef]
- Liu, X.; Guo, S.; Yang, B.; Ma, S.; Zhang, H.; Li, J.; Sun, C.; Jin, L.; Li, X.; Yang, Q.; et al. Automatic Organ Segmentation for CT Scans Based on Super-Pixel and Convolutional Neural Networks. J. Digit. Imaging 2018, 31, 748–760. [Google Scholar] [CrossRef]
- Gharbi, M.; Chen, J.; Barron, J.T.; Hasinoff, S.W.; Durand, F. Deep bilateral learning for real-time image enhancement. ACM Trans. Graph. 2017, 36, 118. [Google Scholar] [CrossRef]
- Bouhassoune, I.; Chaibi, H.; Saadane, R.; Chehri, A. Performance of On-Skin RFID Miniaturized Dual Loop Tag for Body-Centric Applications. In Human Centred Intelligent Systems. KES-HCIS 2021. Smart Innovation, Systems and Technologies; Zimmermann, A., Howlett, R.J., Jain, L.C., Schmidt, R., Eds.; Springer: Singapore, 2021; Volume 244. [Google Scholar] [CrossRef]
- Wu, J.T.; Leung, K.; Leung, G.M. Nowcasting and forecasting the potential domestic and international spread of the 2019-nCoV outbreak originating in Wuhan, China: A modelling study. Lancet 2020, 26, 506–510. [Google Scholar] [CrossRef]
- TNyíri, T.; Kiss, A. Novel Ensembling Methods for Dermatological Image Classification. In Proceedings of the International Conference on Theory and Practice of Natural Computing, Dublin, Ireland, 12–14 December 2018; Springer: Cham, Switzerland, 2018; pp. 438–448. [Google Scholar]
- Ahmed, I.; Chehri, A.; Jeon, G. A Sustainable Deep Learning-Based Framework for Automated Segmentation of COVID-19 Infected Regions: Using U-Net with an Attention Mechanism and Boundary Loss Function. Electronics 2022, 11, 2296. [Google Scholar] [CrossRef]
- Bi, L.; Kim, J.; Ahn, E.; Feng, D. Automatic skin lesion analysis using large-scale dermoscopy images and deep residual networks. arXiv 2017, arXiv:1703.04197. Available online: https://arxiv.org/abs/1703.04197 (accessed on 5 April 2022).
- Ravi, D.; Wong, C.; Deligianni, F.; Berthelot, M.; Andreu-Perez, J.; Lo, B.; Yang, G.-Z. Deep Learning for Health Informatics. IEEE J. Biomed. Health Inform. 2017, 21, 4–21. [Google Scholar] [CrossRef] [PubMed]
- Chamola, V.; Hassija, V.; Gupta, V.; Guizani, M. A Comprehensive Review of the COVID-19 Pandemic and the Role of IoT, Drones, AI, Blockchain, and 5G in Managing its Impact. IEEE Access 2020, 8, 90225–90265. [Google Scholar] [CrossRef]
- Mohamadou, Y.; Halidou, A.; Kapen, P.T. A review of mathematical modeling, artificial intelligence and datasets used in the study, prediction and management of COVID-19. Appl. Intell. 2020, 50, 3913–3925. [Google Scholar] [CrossRef] [PubMed]
- Sufian, A.; Ghosh, A.; Sadiq, A.S.; Smarandache, F. A Survey on Deep Transfer Learning to Edge Computing for Mitigating the COVID-19 Pandemic. J. Syst. Arch. 2020, 108, 101830. [Google Scholar] [CrossRef]
- Deshpande, G.; Schuller, B. An overview on audio, signal, speech, & language processing for COVID-19. arXiv 2020, arXiv:2005.08579. [Google Scholar]
- Lalmuanawma, S.; Hussain, J.; Chhakchhuak, L. Applications of machine learning and artificial intelligence for COVID-19 (SARS-CoV-2) pandemic: A review. Chaos Solitons Fractals 2020, 139, 110059. [Google Scholar] [CrossRef]
- Naudé, W. Artificial intelligence vs COVID-19: Limitations, constraints and pitfalls. AI Soc. 2020, 35, 761–765. [Google Scholar] [CrossRef]
- Mohammed, H.A.; Abdulkareem, A.A.; Zardawi, F.M.; Gul, S.S. Determination of the Accuracy of Salivary Biomarkers for Periodontal Diagnosis. Diagnostics 2022, 12, 2485. [Google Scholar] [CrossRef]
- Sedik, A. Deploying Machine and Deep Learning Models for Efficient Data-Augmented Detection of COVID-19 Infections. Viruses 2020, 12, 769. [Google Scholar] [CrossRef]
- Liu, Z.; Shi, Y.; Yang, B. Open Innovation in Times of Crisis: An Overview of the Healthcare Sector in Response to the COVID-19 Pandemic. J. Open Innov. Technol. Mark. Complex. 2022, 8, 21. [Google Scholar] [CrossRef]
- Su, R.; Obrenovic, B.; Du, J.; Godinic, D.; Khudaykulov, A. COVID-19 Pandemic Implications for Corporate Sustainability and Society: A Literature Review. Int. J. Environ.Res. Public Health 2022, 19, 1592. [Google Scholar] [CrossRef] [PubMed]
- Hassan, R.; Ismail, W.N.; Chowdhury, A.; Hossain, S.; Huda, S.; Hassan, M.M. A framework of genetic algorithm-based CNN on multi-access edge computing for automated detection of COVID-19. J. Supercomput. 2022, 78, 10250–10274. [Google Scholar] [CrossRef] [PubMed]
- Sridhar, S.; Amutharaj, J.; Valsalan, P.; Arthi, B.; Ramkumar, S.; Mathupriya, S.; Rajendran, T.; Waji, Y.A. A Torn ACL Mapping in Knee MRI Images Using Deep Convolution Neural Network with Inception-v3. J. Health Eng. 2022, 2022, 7872500. [Google Scholar] [CrossRef] [PubMed]
- Lee, J.; Chung, S.W. Deep Learning for Orthopedic Disease Based on Medical Image Analysis: Present and Future. Appl. Sci. 2022, 12, 681. [Google Scholar] [CrossRef]
- Shin, H. Development of convolutional neural network model for diagnosing tear of anterior cruciate ligament using only one knee magnetic resonance image. Medicine 2022, 101, 44. [Google Scholar] [CrossRef] [PubMed]
- Joshi, K.; Suganthi, K. Anterior Cruciate Ligament Tear Detection Based on Deep Convolutional Neural Network. Diagnostics 2022, 12, 2314. [Google Scholar] [CrossRef]
- Rahim, M.J. Automated Knee MR Images Segmentation of Anterior Cruciate Ligament Tears. Sensors 2022, 22, 1552. [Google Scholar] [CrossRef]
- Abdul razzaq, A.A.; Al-Douri, A.T.; Hamad, A.A.; Jaber, M.M.; Meraf, Z. Assessing Deep Learning Techniques for the Recognition of Tropical Disease in Images from Parasitological Exams. Bioinorg. Chem. Appl. 2022, 2022, 2682287. [Google Scholar] [CrossRef]
- Liu, Z.Y.-C.; Chamberlin, A.J.; Tallam, K.; Jones, I.J.; Lamore, L.L.; Bauer, J.; Bresciani, M.; Wolfe, C.M.; Casagrandi, R.; Mari, L.; et al. Deep Learning Segmentation of Satellite Imagery Identifies Aquatic Vegetation Associated with Snail Intermediate Hosts of Schistosomiasis in Senegal, Africa. Remote Sens. 2022, 14, 1345. [Google Scholar] [CrossRef]
- Van der Schaar, M.; Alaa, A. How artificial intelligence and machine learning can help health-care systems respond to COVID-19. Mach. Learn. 2021, 110, 1–14. [Google Scholar] [CrossRef]
- Ahmad, I.; Wang, X.; Zhu, M.; Wang, C.; Pi, Y.; Khan, J.A.; Li, G. EEG-based epileptic seizure detection via machine/deep learning approaches: A Systematic Review. Comput. Intell. Neurosci. 2022, 2020, 6486570. [Google Scholar] [CrossRef] [PubMed]
- Abbas, A.; Abdelsamea, M.M.; Gaber, M.M. Classification of COVID-19 in chest X-ray images using DeTraC deep convolutional neural network. arXiv 2020, arXiv:2003.13815. [Google Scholar] [CrossRef] [PubMed]
- Hu, Z.; Ge, Q.; Li, S.; Boerwincle, E.; Jin, L.; Xiong, M. Forecasting and evaluating intervention of COVID-19 in the World. arXiv 2020, arXiv:2003.09800. [Google Scholar]
- Chen, Y.; Li, C.; Wang, H. Big Data and Predictive Analytics for Business Intelligence: A Bibliographic Study (2000–2021). Forecasting 2022, 4, 767–786. [Google Scholar] [CrossRef]
- Gozes, O.; Frid-Adar, M.; Greenspan, H.; Browning, P.D.; Zhang, H.; Ji, W.; Bernheim, A.; Siegel, E. Rapid AI Development Cycle for the Coronavirus (COVID-19) Pandemic: Initial Results for Automated Detection & Patient Monitoring using Deep Learning CT Image Analysis. arXiv 2020, arXiv:2003.05037. [Google Scholar]
- Pinter, G.; Felde, I.; Mosavi, A.; Ghamisi, P.; Gloaguen, R. COVID-19 Pandemic Prediction for Hungary;A Hybrid Machine Learning Approach. Mathematics 2020, 8, 890. [Google Scholar] [CrossRef]
- Saleem, F.; AL-Ghamdi, A.S.A.-M.; Alassafi, M.O.; AlGhamdi, S.A. Machine Learning, Deep Learning, and Mathematical Models to Analyze Forecasting and Epidemiology of COVID-19: A Systematic Literature Review. Int. J.Environ. Res. Public Health 2022, 19, 5099. [Google Scholar] [CrossRef]
- Chenthamarakshan, V.; Das, P.; Padhi, I.; Strobelt, H.; Lim, K.W.; Hoover, B.; Hoffman, S.C.; Mojsilovic, A. Target-specific and selective drug design for COVID-19 using deep generative models. arXiv 2020, arXiv:2004.01215. [Google Scholar]
- McKinney, S.M.; Sieniek, M.; Godbole, V.; Godwin, J.; Antropova, N.; Ashrafian, H.; Back, T.; Chesus, M.; Corrado, G.S.; Darzi, A.; et al. International evaluation of an AI system for breast cancer screening. Nature 2020, 577, 89–94. [Google Scholar] [CrossRef]
- Patel, T.A.; Puppala, M.; Ogunti, R.O.; Ensor, J.E.; He, T.; Shewale, J.B.; Ankerst, D.P.; Kaklamani, V.G.; Rodriguez, A.A.; Wong, S.T.C.; et al. Correlating mammographic and pathologic findings in clinical decision support using natural language processing and data mining methods. Cancer 2017, 123, 114–121. [Google Scholar] [CrossRef]
- Chambers, D.; Cantrell, A.J.; Johnson, M.; Preston, L.; Baxter, S.K.; Booth, A.; Turner, J. Digital and online symptom checkers and health assessment/triage services for urgent health problems: Systematic review. BMJ Open 2019, 9, e027743. [Google Scholar] [CrossRef]
- Sensely: An Integrated Payer/Provider Wanted to Intervene in a Timelier Manner with Its Chronic Heart Failure (CHF) Patients. 11 October 2019. Available online: https://www.sensely.com/wp-content/uploads/2019/10/SenselyCHFCaseStudy.pdf (accessed on 19 May 2022).
- Haddad, T.C.; Helgeson, J.; Pomerleau, K.; Makey, M.; Lombardo, P.; Coverdill, S.; Urman, A.; Rammage, M.; Goetz, M.P.; LaRusso, N. Impact of a cognitive computing clinical trial matching system in an ambulatory oncology practice. J. Clin. Oncol. 2018, 36, 6550. [Google Scholar] [CrossRef]
- Corcoran, C.M.; Carrillo, F.; Fernández-Slezak, D.; Bedi, G.; Klim, C.; Javitt, D.C.; Bearden, C.E.; Cecchi, G.A. Prediction of psychosis across protocols and risk cohorts using automated language analysis. World Psychiatry 2018, 17, 67–75. [Google Scholar] [CrossRef] [PubMed]
- De Fauw, J.; Ledsam, J.R.; Romera-Paredes, B.; Nikolov, S.; Tomasev, N.; Blackwell, S.; Askham, H.; Glorot, X.; O’Donoghue, B.; Visentin, D.; et al. Clinically applicable deep learning for diagnosis and referral in retinal disease. Nat. Med. 2018, 24, 1342–1350. [Google Scholar] [CrossRef] [PubMed]
- Kristensen, S.E.; Mosgaard, B.J.; Rosendahl, M.; Dalsgaard, T.; Bjørn, S.F.; Frøding, L.P.; Kehlet, H.; Høgdall, C.K.; Lajer, H. Robot-assisted surgery in gynecological oncology: Current status and controversies on patient benefits, cost and surgeon conditions—A systematic review. Acta Obstet. Gynecol. Scand. 2017, 96, 274–285. [Google Scholar] [CrossRef]
- Labovitz, D.L.; Shafner, L.; Gil, M.R.; Virmani, D.; Hanina, A.; Holt, T.A.; Dalton, A.; Marshall, T.; Fay, M.; Qureshi, N.; et al. Using Artificial Intelligence to Reduce the Risk of Nonadherence in Patients on Anticoagulation Therapy. Stroke 2017, 48, 1416–1419. [Google Scholar] [CrossRef] [PubMed]
- Bain, E.E.; Shafner, L.; Walling, D.P.; Othman, A.A.; Chuang-Stein, C.; Hinkle, J.; Hanina, A. Use of a Novel Artificial Intelligence Platform on Mobile Devices to Assess Dosing Compliance in a Phase 2 Clinical Trial in Subjects With Schizophrenia. JMIR mHealth uHealth 2017, 5, e18. [Google Scholar] [CrossRef] [PubMed]
- Christiansen, M.P.; Garg, S.K.; Brazg, R.; Bode, B.W.; Bailey, T.S.; Slover, R.H.; Sullivan, A.; Huang, S.; Shin, J.; Lee, S.W.; et al. Accuracy of a Fourth-Generation Subcutaneous Continuous Glucose Sensor. Diabetes Technol. Ther. 2017, 19, 446–456. [Google Scholar] [CrossRef]
- Lakhani, P.; Sundaram, B. Deep Learning at Chest Radiography: Automated Classification of Pulmonary Tuberculosis by Using Convolutional Neural Networks. Radiology 2017, 284, 574–582. [Google Scholar] [CrossRef]
- Qidwai, U.; Chaudhry, J.; Jabbar, S.; Zeeshan HM, A.; Janjua, N.; Khalid, S. Using casual reasoning for anomaly detection among ECG live data streams in ubiquitous healthcare monitoring systems. J. Ambient. Intell. Humaniz. Comput. 2019, 10, 4085–4097. [Google Scholar] [CrossRef]
- Guidi, G.; Iadanza, E.; Pettenati, M.C.; Milli, M.; Pavone, F.; Gentili, G.B. Heart failure artificial intelligence-based computer aided diagnosis telecare system. In Proceedings of the International Conference on Smart Homes and Health Telematics, Artimino, Italy, 13–15 June 2012; Springer: Berlin/Heidelberg, Germany, 2012; pp. 278–281. [Google Scholar]
- Pham, Q.V.; Nguyen, D.C.; Huynh-The, T.; Hwang, W.J.; Pathirana, P.N. Artificial intelligence (ai) and Bigdata for coronavirus (COVID-19) pandemic: A survey on the state of-the-arts. IEEE Access 2020, 8, 130820. [Google Scholar] [CrossRef] [PubMed]
- Naude, W. Artificial Intelligence versus COVID-19 in Developing Countries. Available online: https://www.wider.unu.edu/sites/default/files/Publications/Background-note/PDF/bn2020-4-ai-vs-covid-19-developing-%20countries.pdf (accessed on 5 April 2022).
- Unberath, M.; Ghobadi, K.; Levin, S.; Hinson, J.; Hager, G.D. Artificial intelligence-based clinical decision support for COVID-19—Where art thou? arXiv 2020, arXiv:2006.03434. [Google Scholar] [CrossRef]
- Ulhaq, A.; Khan, A.; Gomes, D.; Paul, M. Computer vision for COVID-19 control: A survey. arXiv 2020, arXiv:2004.09420. [Google Scholar] [CrossRef] [PubMed]
- Shaikh, F.; Andersen, M.B.; Sohail, M.R.; Mulero, F.; Awan, O.; Dupont-Roettger, D.; Kubassova, O.; Bisdas, S. Current landscape of imaging and the potential role for artificial intelligencein the management of COVID-19. Curr. Probl. Indiagn. Radiol. 2021, 50, 430–435. [Google Scholar] [CrossRef] [PubMed]
- Sipior, J.C. Considerations for development and use of AI in response to COVID-19. Int. J. Inf. Manag. 2020, 55, 102170. [Google Scholar] [CrossRef] [PubMed]
- Lee, D.; Yoon, S.N. Application of Artificial Intelligence-Based Technologies in the Healthcare Industry: Opportunities and Challenges. Int. J. Environ. Res. Public Health 2021, 18, 271. [Google Scholar] [CrossRef] [PubMed]
- Vinaya kumar, R.; Alazab, M.; Srinivasan, S.; Pham, Q.-V.; Padannayil, S.K.; Simran, K. A Visualized Botnet Detection System Based Deep Learning for the Internet of Things Networks of Smart Cities. IEEE Trans. Ind. Appl. 2020, 56, 4436–4456. [Google Scholar] [CrossRef]
- Tsai, C.-W.; Lai, C.-F.; Chao, H.-C.; Vasilakos, A.V. Bigdata analytics: A survey. J. Bigdata 2015, 2, 21. [Google Scholar]
- Sann, R.; Lai, P.-C.; Liaw, S.-Y.; Chen, C.-T. Predicting Online Complaining Behavior in the Hospitality Industry: Applicationof Big Data Analytics to Online Reviews. Sustainability 2022, 14, 1800. [Google Scholar] [CrossRef]
- Mehta, N.; Shukla, S. Pandemic Analytics: How Countries are Leveraging Big Data Analytics and Artificial Intelligence to Fight COVID-19? SN Comput. Sci. 2022, 3, 54. [Google Scholar] [CrossRef]
- Castorina, P.; Iorio, A.; Lanteri, D. Data analysis on corona virus spreading by macroscopic growth laws. arXiv 2020, arXiv:2003.00507. [Google Scholar]
- Peng, L.; Yang, W.; Zhang, D.; Zhuge, C.; Hong, L. Epidemic analysis of COVID-19 in China by dynamical modeling. arXiv 2020, arXiv:2002.06563. [Google Scholar]
- Özdemir, V.; Hekim, N. Birth of industry 5.0: Making sense of big data with artificial intelligence, “the internet ofthings” and next- generation technology policy. OMICS A J. Integr. Biol. 2018, 22, 65–76. [Google Scholar] [CrossRef] [PubMed]
- Chae, S.; Kwon, S.; Lee, D. Predicting infectious disease using deep learning and Bigdata. Int. J. Environ. Res. Public Health 2018, 15, 1596. [Google Scholar] [CrossRef]
- Bansal, S.; Chowell, G.; Simonsen, L.; Vespignani, A.; Viboud, C. Bigdata for infectious disease surveillance and modeling. J. Infect. Dis. 2016, 214 (Suppl. S4), S375–S379. [Google Scholar] [CrossRef]
- Eisenstein, M. Infection forecasts powered by Bigdata. Nature 2018, 555, 7695. [Google Scholar] [CrossRef]
- Buckee, C. Improving epidemic surveillance and response: Bigdata is dead, long live Bigdata. Lancet Digit. Health 2020, 2, e218–e220. [Google Scholar] [CrossRef]
- Chehri, A.; Moutah, H.T. Survivable and Scalable Wireless Solution for E-health and E-emergency Applications. EICS4Med. 2011, 727, 25–29. [Google Scholar]
- Sarkar, B.K. Big data for secure healthcare system: A conceptual design. Complex Intell. Syst. 2017, 3, 133–151. [Google Scholar] [CrossRef]
- Kumar, R.; Tripathi, R. Scalable and secure access control policy for health-care system using Blockchain and enhanced Bell–LaPadula model. J. Ambient. Intell. Humaniz. Comput. 2021, 12, 2321–2338. [Google Scholar] [CrossRef]
- Sun, Y.; Zhang, R.; Wang, X.; Gao, K.; Liu, L. A decentralizing attribute-based signature for healthcare blockchain. In Proceedings of the 2018 27th International Conference on Computer Communication and Networks (ICCCN), Hangzhou, China, 30 July 2018–2 August 2018; IEEE: Piscataway, NJ, USA, 2018; pp. 1–9. [Google Scholar]
- Hylock, R.H.; Zeng, X. A blockchain framework for patient-centered health records and exchange (HealthChain): Evaluation and proof-of-concept study. J. Med. Internet Res. 2019, 21, e13592. [Google Scholar] [CrossRef] [PubMed]
- Chehri, A.; Mouftah, H.T. Internet of Things—Integrated IR-UWB technology for healthcare applications. Concurr. Comput. Pr. Exper. 2020, 32, e5454. [Google Scholar] [CrossRef]
- Zhuang, Y.; Sheets, L.R.; Shae, Z.; Chen, Y.W.; Tsai, J.J.P.; Shyu, C.R. Applying blockchain technology to enhance clinical trial recruitment. AMIA Annu. Proc. 2020, 2019, 1276–1285. [Google Scholar]
- Zhuang, Y.; Sheets, L.; Shae, Z.; Tsai, J.J.P.; Shyu, C.R. Applying blockchain technology for health information exchange and persistent monitoring for clinical trials. AMIA Annu. Symp. 2018, 2018, 1167–1175. [Google Scholar]
- Zhou, L.; Wang, L.; Sun, Y. Mistore: A blockchain-based medical insurance storage system. J. Med. Syst. 2018, 42, 149. [Google Scholar] [CrossRef] [PubMed]
- Tan, T.-E.; Anees, A.; Chen, C.; Li, S.; Xu, X.; Li, Z.; Xiao, Z.; Yang, Y.; Lei, X.; Ang, M.; et al. Retinal photograph-based deep learning algorithms for myopia and a blockchain platform to facilitate artificial intelligence medical research: A retrospective multicohort study. Lancet Digit. Health 2021, 3, e317–e329. [Google Scholar] [CrossRef]
- Kuo, T.T.; Gabriel, R.A.; Cidambi, K.R.; Ohno-Machado, L. Expectation Propagation Logistic Regression on permissioned block chain (Explorer Chain): Decentralized online health-care/genomics predictive model learning. J. Am. Med. Inform. Assoc. 2020, 27, 747–756. [Google Scholar] [CrossRef]
- Jin, X.L.; Zhang, M.; Zhou, Z.; Yu, X. Application of a blockchain platform to manage and secure personal genomic data: A case study of LifeCODE.ai in China. J. Med. Internet Res. 2019, 21, e13587. [Google Scholar] [CrossRef]
- Tseng, J.-H.; Liao, Y.-C.; Chong, B.; Liao, S.-W. Governance on the Drug Supply Chain via Gcoin Blockchain. Int. J. Environ. Res. Public Health 2018, 15, 1055. [Google Scholar] [CrossRef]
- Lazrag, H.; Chehri, A.; Saadane, R.; Rahmani, M.D. A Blockchain-Based Approach for Optimal and Secure Routing in Wireless Sensor Networks and IoT. In Proceedings of the 2019 15th International Conference on Signal-Image Technology & Internet-Based Systems (SITIS), Sorrento, Italy, 26–29 November 2019; pp. 411–415. [Google Scholar] [CrossRef]
- Roehrs, A.; da Costa, C.A.; Righi, R.D.R. OmniPHR: A distributed architecture model to integrate personal health records. J. Biomed. Inform. 2017, 71, 70–81. [Google Scholar] [CrossRef]
- Tian, H.; He, J.; Ding, Y. Medical Data Management on Blockchain with Privacy. J. Med. Syst. 2019, 43, 26. [Google Scholar] [CrossRef] [PubMed]
- Rahman, M.A.; Hossain, M.S.; Islam, M.S.; Alrajeh, N.A.; Muhammad, G. Secure and Provenance Enhanced Internet of Health Things Framework: A Blockchain Managed Federated Learning Approach. IEEE Access 2020, 8, 205071–205087. [Google Scholar] [CrossRef] [PubMed]
- Połap, D.; Srivastava, G.; Yu, K. Agent architecture of an intelligent medical system based on federated learning and blockchain technology. J. Inf. Secur. Appl. 2021, 58, 102748. [Google Scholar] [CrossRef]
- Bouhassoune, I.; Chehri, A.; Saadane, R.; Minaoui, K. Optimization of UHF RFID Five-Slotted Patch Tag Design Using PSO Algorithm for Biomedical Sensing Systems. Int. J. Environ. Res. Public Health 2020, 17, 8593. [Google Scholar] [CrossRef] [PubMed]
- Dhillon, V.; Metcalf, D.; Hooper, M. Blockchain in Health-Care. In Blockchain Enabled Applications; Apress: Berkeley, CA, USA, 2021; pp. 201–220. [Google Scholar]
- Dimitrov, D.V. Blockchain applications for health-care data management. Health-Care Inform. Res. 2019, 25, 51. [Google Scholar] [CrossRef] [PubMed]
- Chehri, A.; Jeon, G.; Rivest, F.; Mouftah, H.T. Evolution and Trends in Artificial Intelligence of Things Security: When Good Enough is Not Good Enough! IEEE Internet Things Mag. 2022, 5, 62–66. [Google Scholar] [CrossRef]
- Clauson, K.; Breeden, E.; Davidson, C.; Mackey, T. Leveraging Blockchain technology to enhance supply chain management in health-care: An exploration of challenges and opportunities in the health supply chain. Blockchain Health-Care Today 2018, 1, 1–2. [Google Scholar]
- Pandey, P.; Litoriya, R. Securing and authenticating health-care records through blockchain technology. Cryptologia 2020, 44, 341–356. [Google Scholar] [CrossRef]
- Siyal, A.; Junejo, A.; Zawish, M.; Ahmed, K.; Khalil, A.; Soursou, G. Applications of blockchain technology in medicine and health-care: Challenges and future perspectives. Cryptography 2019, 3, 3. [Google Scholar] [CrossRef]
- Odeh, A.; Keshta, I.; Al-Haija, Q.A. Analysis of Blockchain in the Healthcare Sector: Application and Issues. Symmetry 2022, 14, 1760. [Google Scholar] [CrossRef]
- Bouhassoune, I.; Saadane, R.; Chehri, A. Wireless Body Area Network Based on RFID System for Healthcare Monitoring: Progress and Architectures. In Proceedings of the 2019 15th International Conference on Signal-Image Technology & Internet-Based Systems (SITIS), Sorrento, Italy, 26–29 November 2019; pp. 416–421. [Google Scholar] [CrossRef]
- Ejaz, M.; Kumar, T.; Kovacevic, I.; Ylianttila, M.; Harjula, E. Health-BlockEdge: Bloc kchain-edge framework for reliable low-latency digital healthcare applications. Sensors 2021, 21, 2502. [Google Scholar] [CrossRef] [PubMed]
- De Aguiar, E.J.; Faiçal, B.S.; Krishnamachari, B.; Ueyama, J. A Survey of Block chain-Based Strategies for Healthcare. ACM Comput. Surv. 2020, 53, 1–27. [Google Scholar] [CrossRef]
- Mackey, T.; Kuo, T.; Gummadi, B.; Clauson, K.; Church, G.; Grishin, D.; Obbad, K.; Barkovich, R.; Palombini, M. ‘Fit-for-purpose?’–challenges and opportunities for applications of block chain technology in the future of healthcare. BMC Med. 2019, 17, 68. [Google Scholar] [CrossRef] [PubMed]
- Khatoon, A. A blockchain-based innovative contract system for healthcare management. Electronics 2020, 9, 94. [Google Scholar] [CrossRef]
- Onik, M.; Aich, S.; Yang, J.; Kim, C.; Kim, H. Block chain in Healthcare: Challenges and Solutions. In Big Data Analytics for Intelligent Healthcare Management; Academic Press: Cambridge, MA, USA, 2019; pp. 197–226. [Google Scholar]
- Agbo, C.C.; Mahmoud, Q.H.; Eklund, J.M. Block chain Technology in Healthcare: A Systematic Review. Healthcare 2019, 7, 56. [Google Scholar] [CrossRef]
- Bhuiyan, M.; Zaman, A.; Wang, T.; Wang, G.; Tao, H.; Hassan, M. Blockchain and Bigdata to transform health-care. In Proceedings of the International Conference on Data Processing and Applications, Guangdong, China, 12–14 May 2018; pp. 62–68. [Google Scholar]
- Daniel, J.; Sargolzaei, A.; Abdelghani, M.; Sargolzaei, S.; Amaba, B. Blockchain technology, cognitive computing, and health-care innovations. J. Adv. Inf. Technol. 2017, 8, 194–198. [Google Scholar]
- Rector, A.L.; Rogers, J.E.; Zanstra, P.E.; Van Der Haring, E. OpenGALEN: Open Source Medical Terminology and Tools. 2011. Available online: https://www.ncbi.nlm.nih.gov/pmc/articles/PMC1480228/ (accessed on 29 April 2017).
- McDonald, C.J. Open Source software in medical informatics—Why, how and what. Int. J. Med. Inform. 2003, 69, 175–184. [Google Scholar] [CrossRef]
- Mirth Corporation. 2011. Available online: http://www.mirthcorp.com (accessed on 29 April 2017).
- Hope, J. Biobazaar: The Open Source Revolution and Biotechnology; Harvard University Press: Cambridge, MA, USA, 2008. [Google Scholar]
- NHS England. Code4Health. 2017. Available online: https://www.england.nhs.uk/digitaltechnology/info-revolution/code4healt (accessed on 29 April 2017).
- ProtecodeSCCa. Health-Care Driven by Open Source Software. 2015. Available online: http://rippleosi.org/wp-content/uploads/2015/06/e-HealthWhitepaper-SCC.pdf (accessed on 29 April 2017).
- Code4Health. Welcome to Code4Health™. 2017. Available online: https://code4health.org (accessed on 29 April 2017).
- Webster, P.C. The rise of open-source electronic health records. Lancet 2011, 377, 1641–1642. [Google Scholar] [CrossRef]
- Neiman, J. OpenMRS Ebola Case Study: OpenMRS. 2016. Available online: http://openmrs.org/2016/08/openmrs-ebolacase-study (accessed on 11 June 2017).
- Care2X. Available online: http://www.care2x.org (accessed on 12 August 2022).
- Chehri, A. Energy-efficient modified DCC-MAC protocol for IoT in e-health applications. Internet Things 2021, 14, 100119. [Google Scholar] [CrossRef]
- Apache HTTP Server Project. Available online: http://httpd.apache.org (accessed on 5 August 2022).
- Mozilla Firefox Web Browser. Available online: http://www.mozilla.org/en-US/firefox/new (accessed on 5 August 2022).
- MySQL. Available online: http://www.mysql.com (accessed on 5 August 2022).
- PHP. Available online: http://www.php.net (accessed on 10 August 2022).
- GIMP. The GNU Image Manipulation Program. Available online: http://www.gimp.org (accessed on 10 August 2022).
- Mozilla Thunderbird. Available online: http://www.mozilla.org/en-US/thunderbird (accessed on 12 August 2022).
- Cloud Computing in the Health Care Industry. Available online: https://medium.com/@alex.raif86/cloud-computing-in-the-health-care-industry-744580a07868 (accessed on 15 August 2022).
- Available online: https://www.researchgate.net/figure/High-level-illustration-of-healthcare-cloud_fig6_320093536 (accessed on 15 August 2022).
Disclaimer/Publisher’s Note: The statements, opinions and data contained in all publications are solely those of the individual author(s) and contributor(s) and not of MDPI and/or the editor(s). MDPI and/or the editor(s) disclaim responsibility for any injury to people or property resulting from any ideas, methods, instructions or products referred to in the content. |
© 2023 by the authors. Licensee MDPI, Basel, Switzerland. This article is an open access article distributed under the terms and conditions of the Creative Commons Attribution (CC BY) license (https://creativecommons.org/licenses/by/4.0/).










