Reversible Data Hiding in Encrypted Images Based on Two-Round Image Interpolation
Abstract
:1. Introduction
- We propose a novel VRAE RDHEI method that uses a parabolic interpolation algorithm and a variant bicubic interpolation algorithm for two rounds of data extraction and image recovery. This two-round interpolation mechanism can obtain both a high carrier pixel ratio and high prediction precision, improving the overall performance of RDHEI.
- The results prove that our method achieves higher capacity and image fidelity than existing methods due to the effectiveness of the two-round interpolation mechanism.
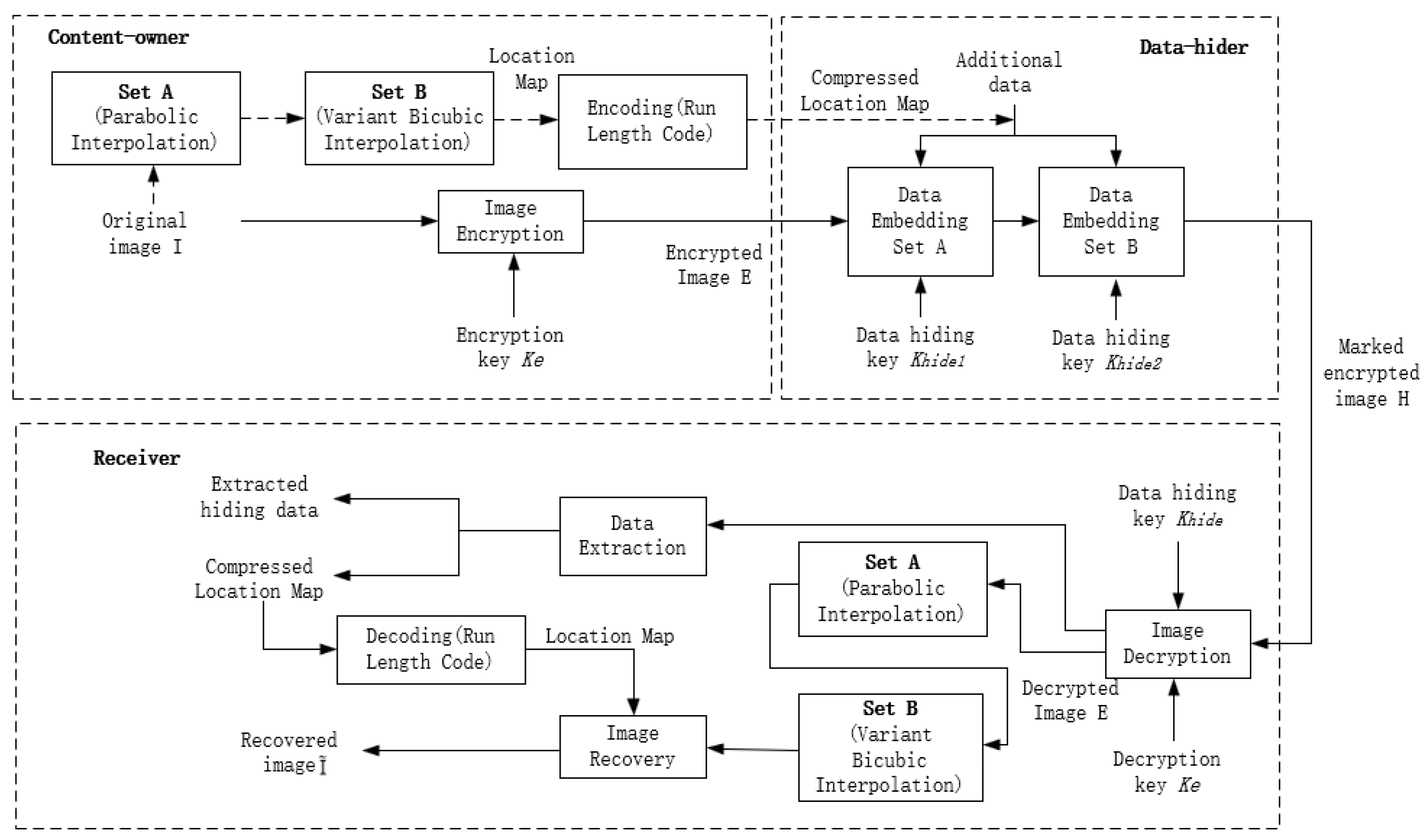
2. Proposed Method
2.1. Content Owner’s Work
2.2. Data Hider’s Work
2.3. Receiver’s Work
2.3.1. Basic Process of Data Extraction and Image Recovery
2.3.2. Prediction of Carrier Pixel Values Based on Pixel Interpolation Algorithm
- Carrier pixel prediction for Set A
- 2.
- Carrier pixel prediction for Set B
3. Separable Proposed Method
3.1. Content Owner’s Work
3.2. Data Hider’s Work
3.3. Receiver’s Work
4. Experimental Results and Analysis
4.1. Experimental Results and Comparison of Joint Proposed Method
4.2. Experimental Results and Comparison of Separable Proposed Method
5. Conclusions
Author Contributions
Funding
Data Availability Statement
Conflicts of Interest
References
- Yi, S.; Zhou, Y. Separable and Reversible Data Hiding in Encrypted Images Using Parametric Binary Tree Labeling. IEEE Trans. Multimed. 2019, 21, 51–64. [Google Scholar] [CrossRef]
- Zhang, X. Reversible Data Hiding in Encrypted Image. IEEE Signal Process. Lett. 2011, 18, 255–258. [Google Scholar] [CrossRef]
- Hong, W.; Chen, T.-S.; Wu, H.-Y. An improved reversible data hiding in encrypted images using side match. IEEE Signal Process. Lett. 2012, 19, 199–202. [Google Scholar] [CrossRef]
- Liao, X.; Shu, C. Reversible data hiding in encrypted images based on absolute mean difference of multiple neighboring pixels. J. Vis. Commun. Image Represent. 2015, 28, 21–27. [Google Scholar] [CrossRef]
- Qin, C.; Zhang, X. Effective reversible data hiding in encrypted image with privacy protection for image content. J. Vis. Commun. Image Represent. 2015, 31, 154–164. [Google Scholar] [CrossRef]
- Pan, Z.; Wang, L.; Hu, S.; Ma, X. Reversible data hiding in encrypted image using new embedding pattern and multiple judgments. Multimed. Tools Appl. 2015, 75, 8595–8607. [Google Scholar] [CrossRef]
- Zhou, J.; Sun, W.; Dong, L.; Liu, X.; Au, O.C.; Tang, Y.Y. Secure Reversible Image Data Hiding over Encrypted Domain via Key Modulation. IEEE Trans. Circuits Syst. Video Technol. 2016, 26, 441–452. [Google Scholar] [CrossRef]
- Qian, Z.; Dai, S.; Jiang, F.; Zhang, X. Improved joint reversible data hiding in encrypted images. J. Vis. Commun. Image Represent. 2016, 40, 732–738. [Google Scholar] [CrossRef]
- Bhardwaj, R.; Aggarwal, A. An improved block based joint reversible data hiding in encrypted images by symmetric cryptosystem. Pattern Recognit. Lett. 2020, 139, 60–68. [Google Scholar] [CrossRef]
- Wu, X.; Sun, W. High-capacity reversible data hiding in encrypted images by prediction error. Signal Process. 2014, 104, 387–400. [Google Scholar] [CrossRef]
- Dragoi, I.C.; Coanda, H.-G.; Coltuc, D. Improved reversible data hiding in encrypted images based on reserving room after encryption and pixel prediction. In Proceedings of the 2017 25th European Signal Processing Conference (EUSIPCO), Kos Island, Greece, 28 August–2 September 2017; pp. 2186–2190. [Google Scholar] [CrossRef]
- Dragoi, I.C.; Coltuc, D. Reversible data hiding in encrypted images based on reserving room after encryption and multiple predictors. In Proceedings of the 2018 IEEE International Conference on Acoustics, Speech and Signal Processing (ICASSP), Calgary, AB, Canada, 15–20 April 2018; pp. 2102–2105. [Google Scholar] [CrossRef]
- Zhang, X. Separable Reversible Data Hiding in Encrypted Image. IEEE Trans. Inf. Forensic Secur. 2012, 7, 826–832. [Google Scholar] [CrossRef]
- Qian, Z.; Zhang, X.; Feng, G. Reversible Data Hiding in Encrypted Images Based on Progressive Recovery. IEEE Signal Process. Lett. 2016, 23, 1672–1676. [Google Scholar] [CrossRef]
- Zhang, X.; Qian, Z.; Feng, G.; Ren, Y. Efficient reversible data hiding in encrypted images. J. Vis. Commun. Image Represent. 2014, 25, 322–328. [Google Scholar] [CrossRef]
- Qian, Z.; Zhang, X. Reversible Data Hiding in Encrypted Images with Distributed Source Encoding. IEEE Trans. Circuits Syst. Video Technol. 2016, 26, 636–646. [Google Scholar] [CrossRef]
- Yu, M.; Yao, H.; Qin, C. Reversible data hiding in encrypted images without additional information transmission. SPIC 2022, 105, 116696. [Google Scholar] [CrossRef]
- Ma, K.; Zhang, W.; Zhao, X.; Yu, N.; Li, F. Reversible Data Hiding in Encrypted Images by Reserving Room before Encryption. IEEE Trans. Inf. Forensic Secur. 2013, 8, 553–562. [Google Scholar] [CrossRef]
- Xiang, S.; Luo, X. Reversible Data Hiding in Homomorphic Encrypted Domain by Mirroring Ciphertext Group. IEEE Trans. Circuits Syst. Video Technol. 2018, 28, 3099–3110. [Google Scholar] [CrossRef]
- Puteaux, P.; Puech, W. An Efficient MSB Prediction-Based Method for High-Capacity Reversible Data Hiding in Encrypted Images. IEEE Trans. Inf. Forensic Secur. 2018, 13, 1670–1681. [Google Scholar] [CrossRef]
- Yin, Z.; Xiang, Y.; Zhang, X. Reversible Data Hiding in Encrypted Images Based on Multi-MSB Prediction and Huffman Coding. IEEE Trans. Multimed. 2020, 22, 874–884. [Google Scholar] [CrossRef]
- Mohammadi, A.; Nakhkash, M.; Akhaee, M.A. A High-Capacity Reversible Data Hiding in Encrypted Images Employing Local Difference Predictor. IEEE Trans. Circuits Syst. Video Technol. 2020, 30, 2366–2376. [Google Scholar] [CrossRef]
- Yi, S.; Zhou, Y. Binary-block embedding for reversible data hiding in encrypted images. Signal Process. 2017, 133, 40–51. [Google Scholar] [CrossRef]
- Chen, F.; Yuan, Y.; He, H.; Tian, M.; Tai, H.-M. Multi-MSB Compression Based Reversible Data Hiding Scheme in Encrypted Images. IEEE Trans. Circuits Syst. Video Technol. 2021, 31, 905–916. [Google Scholar] [CrossRef]
- Wu, X.; Qiao, T.; Xu, M.; Zheng, N. Secure Reversible Data Hiding in Encrypted Images Based on Adaptive Prediction-error Labeling. Signal Process. 2021, 188, 108200. [Google Scholar] [CrossRef]
- Yin, Z.; She, X.; Tang, J.; Luo, B. Reversible data hiding in encrypted images based on pixel prediction and multi-MSB planes rearrangement. Signal Process. 2021, 187, 108146. [Google Scholar] [CrossRef]
- Puteaux, P.; Puech, W. A recursive reversible data hid-ing in encrypted images method with a very high payload. IEEE Trans. Multimedia 2021, 23, 636–650. [Google Scholar] [CrossRef]
- Qiu, Y.; Qian, Z.; Zeng, H.; Lin, X.; Zhang, X. Reversible data hiding in encrypted images using adaptive reversible integer transformation. Signal Process. 2020, 167, 107288. [Google Scholar] [CrossRef]
- Wu, F.; Zhou, X.; Chen, Z.; Yang, B. A reversible data hiding scheme for encrypted images with pixel difference encoding. Knowl.-Based Syst. 2021, 234, 107583. [Google Scholar] [CrossRef]
- Kumar, R.; Sharma, A.K. Bit-Plane Based Reversible Data Hiding in Encrypted Images Using Multi-Level Blocking with Quad-Tree. IEEE Trans. Multimed. 2023, 1–14. [Google Scholar] [CrossRef]
- Xiao, D.; Xiang, Y.; Zheng, H.; Wang, Y. Separable reversible data hiding in encrypted image based on pixel value ordering and additive homomorphism. J. Vis. Commun. Image Represent. 2017, 45, 1–10. [Google Scholar] [CrossRef]
- Ge, H.; Chen, Y.; Qian, Z.; Wang, J. A High Capacity Multi-Level Approach for Reversible Data Hiding in Encrypted Images. IEEE Trans. Circuits Syst. Video Technol. 2019, 29, 2285–2295. [Google Scholar] [CrossRef]
- Xu, D.; Su, S. Reversible data hiding in encrypted images with separability and high embedding capacity. Signal Process. Image 2021, 95, 116274. [Google Scholar] [CrossRef]
- Li, X.; Li, B.; Yang, B.; Zeng, T. General framework to histogram-shifting-based reversible data hiding. IEEE Trans. Image Process. 2013, 22, 2181–2191. [Google Scholar] [CrossRef] [PubMed]
- Li, X.; Zhang, W.; Gui, X.; Yang, B. Efficient Reversible Data Hiding Based on Multiple Histograms Modification. IEEE Trans. Inf. Forensic Secur. 2015, 10, 2016–2027. [Google Scholar] [CrossRef]
- Li, M.; Xiao, D.; Zhang, Y.; Nan, H. Reversible Data Hiding in Encrypted Images Using Cross Division and Additive Homomorphism. Signal Process. Image 2015, 39, 234–248. [Google Scholar] [CrossRef]
- Yi, S.; Zhou, Y.; Hua, Z. Reversible data hiding in encrypted images using adaptive block-level prediction-error expansion. Signal Process. Image 2018, 64, 78–88. [Google Scholar] [CrossRef]
- Long, M.; Zhao, Y.; Zhang, X.; Peng, F. A separable reversible data hiding scheme for encrypted images based on Tromino scrambling and adaptive pixel value ordering. Signal Process. 2020, 176, 107703. [Google Scholar] [CrossRef]
- Qin, C.; He, Z.; Luo, X.; Dong, J. Reversible data hiding in encrypted image with separable capability and high embedding capacity. Inf. Sci. 2018, 465, 285–304. [Google Scholar] [CrossRef]
- Liu, Z.-L.; Pun, C.-M. Reversible Data Hiding in Encrypted Images using Chunk Encryption and Redundancy Matrix Representation. IEEE Trans. Depend. Secur. 2020, 19, 1382–1394. [Google Scholar] [CrossRef]
- Wang, Y.; He, W. High capacity reversible data hiding in encrypted image based on adaptive MSB prediction. IEEE Trans. Multimedia 2021, 24, 1288–1298. [Google Scholar] [CrossRef]
- Huang, D.; Wang, J. High-capacity reversible data hiding in encrypted image based on specific encryption process. Signal Process. Image 2020, 80, 115632. [Google Scholar] [CrossRef]
- Zhang, W.; Wang, H.; Hou, D.; Yu, N. Reversible Data Hiding in Encrypted Images by Reversible Image Transformation. IEEE Trans. Multimed. 2016, 18, 1469–1479. [Google Scholar] [CrossRef]
- Gao, G.; Tong, S.; Xia, Z.; Shi, Y. A universal reversible data hiding method in encrypted image based on MSB prediction and error embedding. IEEE Trans. Cloud Comput. 2022, 11, 1692–1706. [Google Scholar] [CrossRef]
- Chen, S.; Chang, C.-C. Reversible data hiding in encrypted images using block-based adaptive MSBs prediction. J. Inf. Secur. Appl. 2022, 69, 103297. [Google Scholar] [CrossRef]
- Zhang, X.; Sun, Z.; Tang, Z.; Yu, C.; Wang, X. High capacity data hiding based on interpolated image. Multimed. Tools Appl. 2016, 76, 9195–9218. [Google Scholar] [CrossRef]
- Hou, H.; Andrews, H. Cubic splines for image interpolation and digital filtering. IEEE Trans. Acoust. Speech Signal Process. 1978, 26, 508–517. [Google Scholar] [CrossRef]
- Malik, A.; Sikka, G.; Verma, H.K. A Reversible Data Hiding Scheme for Interpolated Images Based on Pixel Intensity Range. Multimed. Tools Appl. 2020, 79, 18005–18031. [Google Scholar] [CrossRef]









| Method | LSB Plane | Airplane | Baboon | Barbara | Lena | Man | Peppers |
|---|---|---|---|---|---|---|---|
| Proposed (joint) | 3rd | 0.0190 | 0.0015 | 0.0069 | 0.0112 | 0.0044 | 0.0063 |
| 4th | 0.0394 | 0.0048 | 0.0186 | 0.0354 | 0.0146 | 0.0218 | |
| 5th | 0.0677 | 0.0137 | 0.0324 | 0.0700 | 0.0374 | 0.0607 | |
| 6th | 0.1323 | 0.0319 | 0.0572 | 0.1322 | 0.0699 | 0.0974 | |
| Wu and Sun [10] | 3rd | 0.0113 | 0.0010 | 0.0042 | 0.0078 | 0.0030 | 0.0044 |
| 4th | 0.0237 | 0.0026 | 0.0102 | 0.0217 | 0.0094 | 0.0135 | |
| 5th | 0.0415 | 0.0083 | 0.0199 | 0.0415 | 0.0226 | 0.0332 | |
| 6th | 0.0711 | 0.0208 | 0.0332 | 0.0830 | 0.0415 | 0.0623 | |
| Dragoi et al. [11] | 3rd | 0.0143 | 0.0011 | 0.0045 | 0.0093 | 0.0034 | 0.0063 |
| 4th | 0.0298 | 0.0035 | 0.0114 | 0.0248 | 0.0090 | 0.0213 | |
| 5th | 0.0496 | 0.0106 | 0.0213 | 0.0496 | 0.0114 | 0.0532 | |
| 6th | 0.0827 | 0.0248 | 0.0372 | 0.0930 | 0.0677 | 0.0827 | |
| Liao and Shu [4] | 1st~3rd | 0.0044 | 0.0009 | 0.0008 | 0.0080 | 0.0030 | 0.0058 |
| Bhardwaj and Aggarwal [9] | 1st~3rd | 0.0050 | 0.0011 | 0.0011 | 0.0066 | 0.0037 | 0.0050 |
Disclaimer/Publisher’s Note: The statements, opinions and data contained in all publications are solely those of the individual author(s) and contributor(s) and not of MDPI and/or the editor(s). MDPI and/or the editor(s) disclaim responsibility for any injury to people or property resulting from any ideas, methods, instructions or products referred to in the content. |
© 2023 by the authors. Licensee MDPI, Basel, Switzerland. This article is an open access article distributed under the terms and conditions of the Creative Commons Attribution (CC BY) license (https://creativecommons.org/licenses/by/4.0/).
Share and Cite
Zhang, Q.; Chen, K. Reversible Data Hiding in Encrypted Images Based on Two-Round Image Interpolation. Mathematics 2024, 12, 32. https://doi.org/10.3390/math12010032
Zhang Q, Chen K. Reversible Data Hiding in Encrypted Images Based on Two-Round Image Interpolation. Mathematics. 2024; 12(1):32. https://doi.org/10.3390/math12010032
Chicago/Turabian StyleZhang, Qing, and Kaimeng Chen. 2024. "Reversible Data Hiding in Encrypted Images Based on Two-Round Image Interpolation" Mathematics 12, no. 1: 32. https://doi.org/10.3390/math12010032
APA StyleZhang, Q., & Chen, K. (2024). Reversible Data Hiding in Encrypted Images Based on Two-Round Image Interpolation. Mathematics, 12(1), 32. https://doi.org/10.3390/math12010032

