Non-Conventional Reinforced EPS and Its Numerical Examination
Abstract
1. Introduction
2. Mechanical Properties of Expanded and Extruded Polystyrene
2.1. EPS and Reinforced EPS
2.2. XPS
2.3. Comparison of EPS and XPS
3. Examination Possibilities
3.1. Laboratory Measurement Required for Simulation
3.2. Finite Element Simulation of EPS
- Material destruction (by modifying the MAT_ADD_EROSION command) to simulate the brittle destruction of the foam.
- Further development of the material model to avoid the negative volume error (exponential extension of the stress-strain curve).
- Application of internal contact.
4. Experiences of EPS with New Type of Additives
4.1. Technology of Producing Simple Pieces
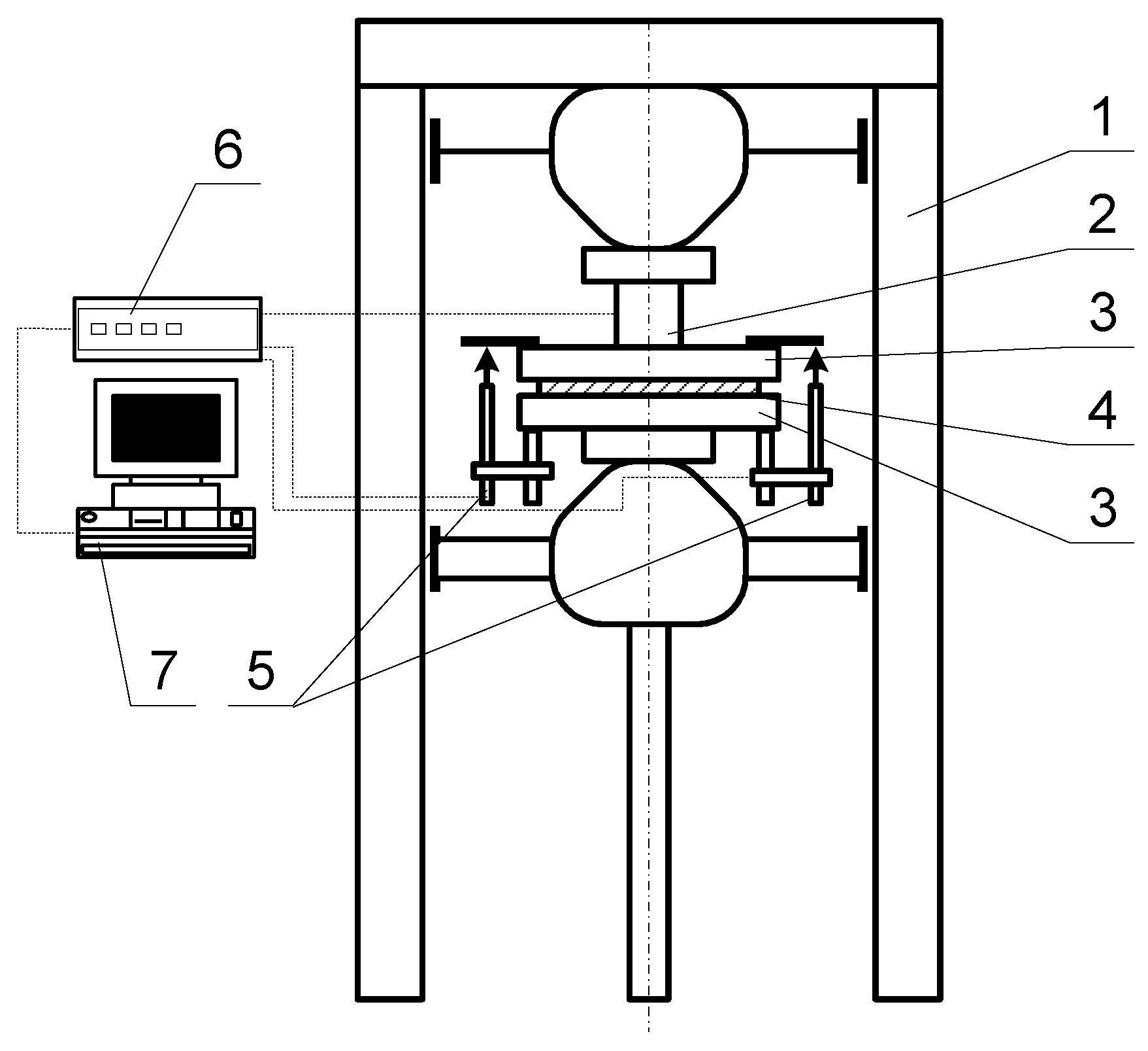
4.2. Mechanical Test
4.3. FEM Analysis
- the Young’s modulus is 8.1378 MPa,
- the yield strength is 0.321 MPa, and
- the tangent modulus is 0.6258 MPa.
4.4. CFD Analysis
- initial temperature of upper surface: 100 °C,
- initial temperature of lower surface: 20 °C,
- thermal conductivity of PS: 0.038 W/mK,
- stiffening material (LDPE) thermal conductivity: 0.33 W/mK,
- side walls assumed as adiabatic walls.
5. Summary
Author Contributions
Funding
Institutional Review Board Statement
Informed Consent Statement
Data Availability Statement
Conflicts of Interest
References
- Single-Use Plastics: New EU Rules to Reduce Marine Litter. Available online: https://ec.europa.eu/commission/presscorner/detail/en/IP_19_2631 (accessed on 29 September 2022).
- DIRECTIVE (EU) 2018/844 OF THE EUROPEAN PARLIAMENT AND OF THE COUNCIL of 30 May 2018 Amending Directive 2010/31/EU on the Energy Performance of Buildings and Directive 2012/27/EU on Energy Efficiency (Text with EEA Relevance). Available online: https://eur-lex.europa.eu/legal-content/HU/TXT/PDF/?uri=CELEX:32018L0844&from=ES (accessed on 29 September 2022).
- Directive 2010/31/EU of the European Parliament and of the Council of 19 May 2010 on the Energy Performance of Buildings. Available online: https://eur-lex.europa.eu/legal-content/EN/TXT/PDF/?uri=CELEX:32010L0031&from=HU (accessed on 29 September 2022).
- Almalkawi, A.T.; Soroushian, P.; Shrestha, S.S. Evaluation of the Energy-Efficiency of an Aerated Slurry-Infiltrated Mesh Building System with Biomass-Based Insulation. Renew. Energy 2019, 133, 797–806. [Google Scholar] [CrossRef]
- Rojas, C.; Cea, M.; Iriarte, A.; Valdés, G.; Navia, R.; Cárdenas-R, J.P. Thermal insulation materials based on agricultural residual wheat straw and corn husk biomass, for application in sustainable buildings. Sustain. Mater. Technol. 2019, 20, e00102. [Google Scholar] [CrossRef]
- Khalaj, O.; Siabil, S.M.A.G.; Tafreshi, S.N.M.; Kepka, M.; Kavalir, T.; Křížek, M.; Jeníček, Š. The experimental investigation of behaviour of expanded polystyrene (EPS). IOP Conf. Ser. Mater. Sci. Eng. 2020, 723, 012014. [Google Scholar] [CrossRef]
- Nikbin, I.M.; Golshekan, M. The effect of expanded polystyrene synthetic particles on the fracture parameters, brittleness and mechanical properties of concrete. Theor. Appl. Fract. Mech. 2018, 94, 160–172. [Google Scholar] [CrossRef]
- Miskinis, K.; Dikavicius, V.; Buska, A.; Banionis, K. Influence of EPS, mineral wool and plaster layers on sound and thermal insulation of a wall: A case study. Appl. Acoust. 2018, 137, 62–68. [Google Scholar] [CrossRef]
- Giuliani, F.; Autelitano, F.; Garilli, E.; Montepara, A. Expanded polystyrene (EPS) in road construction: Twenty years of Italian experiences. Transp. Res. Procedia 2020, 45, 410–417. [Google Scholar] [CrossRef]
- Lassen, C.; Warming, M.; Kjølholt, J.; Jakobsen, L.G.; Vrubliauskiene, N.; Novichkov, B. Survey of Polystyrene Foam (EPS and XPS) in the Baltic Sea: Final Report; Danish Fisheries Agency; Ministry of Environment and Food of Denmark: Copenhagen, Denmark, 2019.
- Woestman, J. Selecting Polystyrene Foam where Moisture Exposure Occurs. Available online: https://www.constructionspecifier.com/selecting-polystyrene-foam-where-moisture-exposure-occurs/ (accessed on 29 September 2022).
- Chen, W.; Hao, H.; Hughes, D.; Shi, Y.; Cui, J.; Li, Z.X. Static and dynamic mechanical properties of expanded polystyrene. Mater. Des. 2015, 69, 170–180. [Google Scholar] [CrossRef]
- Bertholf, D.; Karnes, C.H. Two-Dimensional Analysis of the Split Hopkinson Pressure Bar System? Pergamon Press: Oxford, UK, 1975. [Google Scholar]
- Shah, Q.H.; Topa, A. Modeling large deformation and failure of expanded polystyrene crushable foam using LS-DYNA. Model. Simul. Eng. 2014, 2014, 292647. [Google Scholar] [CrossRef]
- Krundaeva, A.; de Bruyne, G.; Gagliardi, F.; van Paepegem, W. Dynamic compressive strength and crushing properties of expanded polystyrene foam for different strain rates and different temperatures. Polym. Test. 2016, 55, 61–68. [Google Scholar] [CrossRef]
- Masso-Moreu, Y.; Mills, N.J. Impact compression of polystyrene foam pyramids. Int. J. Impact Eng. 2003, 28, 653–676. [Google Scholar] [CrossRef]
- Slik, G.; Vogel, G.; Chawda, V. Material Model Validation of a High Efficient Energy Absorbing Foam. In Proceedings of the 5th German LS-DYNA Forum ’06, Ulm, Germany, 12–13 October 2006. [Google Scholar]
- Ozturk, U.E.; Anlas, G. Finite element analysis of expanded polystyrene foam under multiple compressive loading and unloading. Mater. Des. 2011, 32, 773–780. [Google Scholar] [CrossRef]
- Coquard, R.; Baillis, D.; Quenard, D. Numerical and experimental study of the IR opacification of polystyrene foams for thermal insulation enhancement. Energy Build. 2019, 183, 54–63. [Google Scholar] [CrossRef]
- Sayadi, A.A.; Tapia, J.V.; Neitzert, T.R.; Clifton, G.C. Effects of expanded polystyrene (EPS) particles on fire resistance, thermal conductivity and compressive strength of foamed concrete. Constr. Build. Mater. 2016, 112, 716–724. [Google Scholar] [CrossRef]
- Cheng, J.; Pan, Y.; Yao, J.; Wang, X.; Pan, F.; Jiang, J. Mechanisms and kinetics studies on the thermal decomposition of micron Poly (methyl methacrylate) and polystyrene. J. Loss Prev. Process Ind. 2016, 40, 139–146. [Google Scholar] [CrossRef]


















| Properties | EPS70 | EPS100 | EPS150 | EPS200 |
|---|---|---|---|---|
| Density, kg/m3 | 13.5 | 18.0 | 23.0 | 28.0 |
| Initial elasticity modulus, MPa | 2.5 | 4.0 | 5.0 | 7.5 |
| Compressive strength at a 10% axial load, kPa | 70 | 110 | 135 | 200 |
| Thermal conductivity, W/mK | 0.039 | 0.037 | 0.035 | 0.033 |
| Physical Property | EPS70 | XPS |
|---|---|---|
| Density, kg/m3 | 13.5 | 50 |
| Thermal conductivity, W/mK | 0.039 | 0.03 |
| Moisture absorption capacity | 5 | 1 |
| R-value (appr. 24 °C, m2 K/W) | 4.1 | 5.0 |
| Pressure resistance, kPa | 70 | 100–690 |
| Specimen ID | Additive Material | Density (kg/m3) |
|---|---|---|
| Specimen 1 | none | 87.2 |
| Specimen 2 | 2 g natural wheat straw | 79.9 |
| Specimen 3 | none | 87.2 |
| Specimen 4 | 2 g natural wheat straw | 87.6 |
| Specimen 5 | 5 pieces Ø12 mm PE straw | 96.9 |
| Specimen 6 | 5 pieces Ø12 mm PE straw | 95.9 |
| Specimen 7 | 5 pieces Ø12 mm PE straw | 125.21 |
| Specimen 8 | 5 pieces Ø12 mm PE straw | 129.9 |
| Specimen 9 | 7 pieces Ø8 mm PE straw | 96.9 |
| Specimen 10 | 7 pieces Ø8 mm PE straw | 104.9 |
| Specimen 11 | 7 pieces Ø8 mm PE straw | 121.6 |
| Measured Data | Simulation Value | |
|---|---|---|
| Compression of unbraced specimen | 8.42 mm | 8.3 mm |
| Compression of stiffened specimen | 9.53 mm | 9.8 mm |
| SC/Tetra Reinforced | ANSYS Reinforced | Analytical Calc. Unreinforced Case | |
|---|---|---|---|
| Heat flow W/m2 | 44.8 | 44.9 | 43 |
Disclaimer/Publisher’s Note: The statements, opinions and data contained in all publications are solely those of the individual author(s) and contributor(s) and not of MDPI and/or the editor(s). MDPI and/or the editor(s) disclaim responsibility for any injury to people or property resulting from any ideas, methods, instructions or products referred to in the content. |
© 2022 by the authors. Licensee MDPI, Basel, Switzerland. This article is an open access article distributed under the terms and conditions of the Creative Commons Attribution (CC BY) license (https://creativecommons.org/licenses/by/4.0/).
Share and Cite
Voith, K.; Spisák, B.; Petrik, M.; Szamosi, Z.; Szepesi, G.L. Non-Conventional Reinforced EPS and Its Numerical Examination. Processes 2023, 11, 12. https://doi.org/10.3390/pr11010012
Voith K, Spisák B, Petrik M, Szamosi Z, Szepesi GL. Non-Conventional Reinforced EPS and Its Numerical Examination. Processes. 2023; 11(1):12. https://doi.org/10.3390/pr11010012
Chicago/Turabian StyleVoith, Katalin, Bernadett Spisák, Máté Petrik, Zoltán Szamosi, and Gábor L. Szepesi. 2023. "Non-Conventional Reinforced EPS and Its Numerical Examination" Processes 11, no. 1: 12. https://doi.org/10.3390/pr11010012
APA StyleVoith, K., Spisák, B., Petrik, M., Szamosi, Z., & Szepesi, G. L. (2023). Non-Conventional Reinforced EPS and Its Numerical Examination. Processes, 11(1), 12. https://doi.org/10.3390/pr11010012

