A Benchmarking of Commercial Small Fixed-Wing Electric UAVs and RGB Cameras for Photogrammetry Monitoring in Intertidal Multi-Regions
Abstract
:1. Introduction
2. Materials and Methods
2.1. Cameras
2.2. Commercial Small Fixed-Wing Electric UAVs
2.3. Detailed Work Scenario
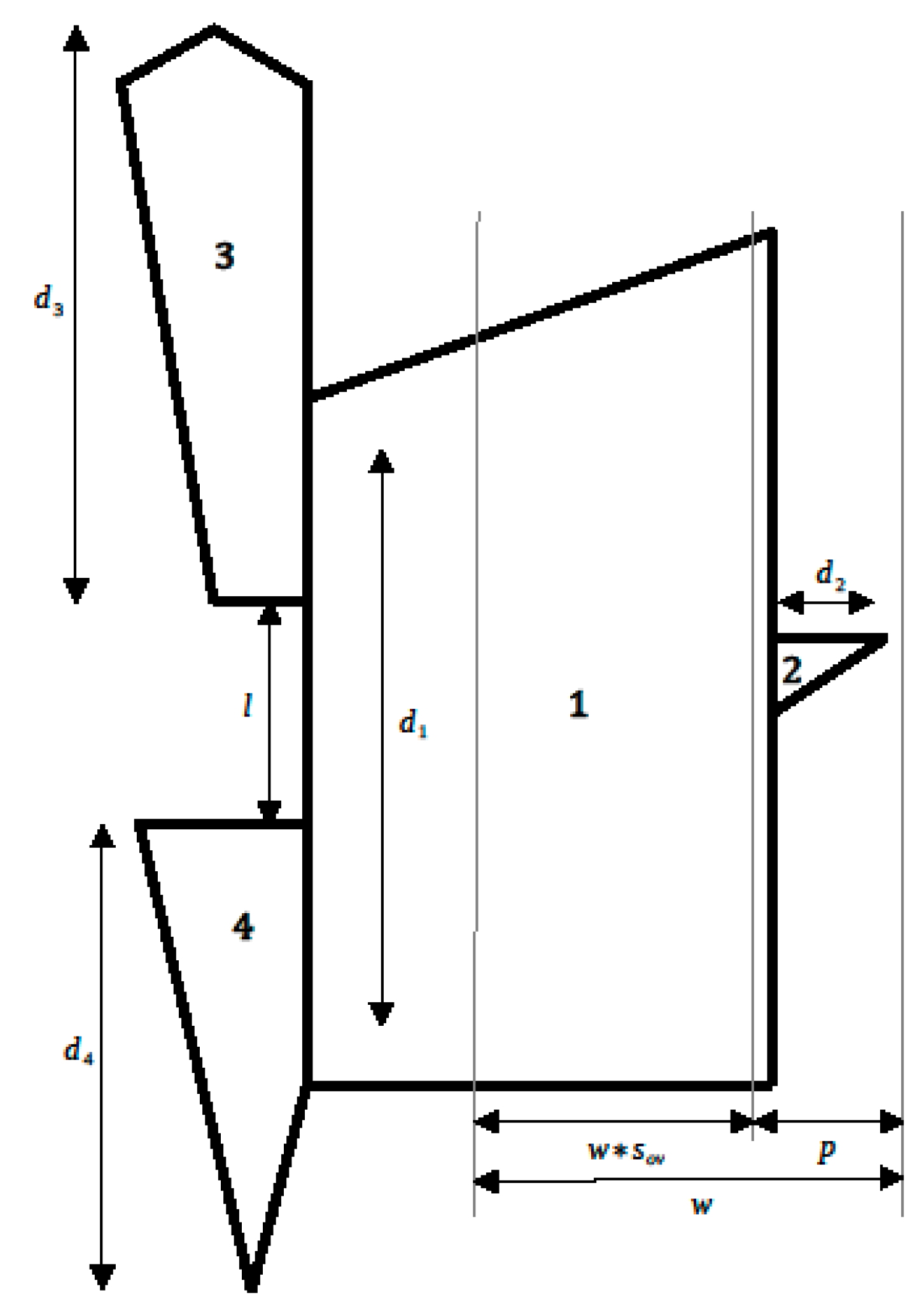
2.4. Coverage Path Planning (CPP) Algorithm
3. Results
4. Discussion
5. Conclusions
Author Contributions
Funding
Data Availability Statement
Acknowledgments
Conflicts of Interest
References
- Figueras, A. MYTILIDAE. Cultured Aquatic Species Information Programme. Available online: https://www.fao.org/fishery/en/culturedspecies/mytilus_galloprovincialis?lang=en (accessed on 2 August 2023).
- Figueiras, F.G.; Labarta, U.; Fernández Reiriz, M.J. Coastal Upwelling, Primary Production and Mussel Growth in the Rias Baixas of Galicia. Hydrobiologia 2002, 484, 121–131. [Google Scholar] [CrossRef]
- Pita, P.; Fernández-Márquez, D.; Antelo, M.; Macho, G.; Villasante, S. Socioecological Changes in Data-Poor S-Fisheries: A Hidden Shellfisheries Crisis in Galicia (NW Spain). Mar. Policy 2019, 101, 208–224. [Google Scholar] [CrossRef]
- Fraga-Corral, M.; Ronza, P.; Garcia-Oliveira, P.; Pereira, A.G.; Losada, A.P.; Prieto, M.A.; Quiroga, M.I.; Simal-Gandara, J. Aquaculture as a Circular Bio-Economy Model with Galicia as a Study Case: How to Transform Waste into Revalorized by-Products. Trends Food Sci. Technol. 2022, 119, 23–35. [Google Scholar] [CrossRef]
- Babarro, J.M.F.; Filgueira, R.; Padín, X.A.; Longa Portabales, M.A. A Novel Index of the Performance of Mytilus galloprovincialis to Improve Commercial Exploitation in Aquaculture. Front. Mar. Sci. 2020, 7, 719. [Google Scholar] [CrossRef]
- Brown, C. Seaglider Observations of Biogeochemical Variability in the Iberian Upwelling System. Ph.D. Thesis, University of East Anglia, Norwich, UK, 2013. [Google Scholar]
- Pérez-Camacho, A.; Labarta, U.; Vinseiro, V.; Fernández-Reiriz, M.J. Mussel Production Management: Raft Culture without Thinning-Out. Aquaculture 2013, 406–407, 172–179. [Google Scholar] [CrossRef]
- Sousa, A.; Jacinto, D.; Penteado, N.; Pereira, D.; Silva, T.; Castro, J.J.; Leandro, S.M.; Cruz, T. Temporal Variation of the Fishers’ Perception about the Stalked Barnacle (Pollicipes pollicipes) Fishery at the Berlengas Nature Reserve (Portugal). Reg. Stud. Mar. Sci. 2020, 38, 101378. [Google Scholar] [CrossRef]
- Gomes, I.; Peteiro, L.; Bueno-Pardo, J.; Albuquerque, R.; Pérez-Jorge, S.; Oliveira, E.R.; Alves, F.L.; Queiroga, H. What’s a Picture Really Worth? On the Use of Drone Aerial Imagery to Estimate Intertidal Rocky Shore Mussel Demographic Parameters. Estuar. Coast. Shelf Sci. 2018, 213, 185–198. [Google Scholar] [CrossRef]
- Molares, J.; Freire, J. Development and Perspectives for Community-Based Management of the Goose Barnacle (Pollicipes pollicipes) Fisheries in Galicia (NW Spain). Fish Res. 2003, 65, 485–492. [Google Scholar] [CrossRef]
- de Galicia, P. Plans de Percebe: Zonas de Reserva Para Semente de Mexillón. Available online: https://www.pescadegalicia.gal/gl/zonasreservamexilla_zonasexclusivaspercebe (accessed on 9 August 2023).
- Fiori, L.; Doshi, A.; Martinez, E.; Orams, M.B.; Bollard-Breen, B. The Use of Unmanned Aerial Systems in Marine Mammal Research. Remote Sens. 2017, 9, 543. [Google Scholar] [CrossRef]
- Reineman, B.D.; Lenain, L.; Melville, W.K. The Use of Ship-Launched Fixed-Wing UAVs for Measuring the Marine Atmospheric Boundary Layer and Ocean Surface Processes. J. Atmos. Ocean. Technol. 2016, 33, 2029–2052. [Google Scholar] [CrossRef]
- Seymour, A.C.; Ridge, J.T.; Rodriguez, A.B.; Newton, E.; Dale, J.; Johnston, D.W. Deploying Fixed Wing Unoccupied Aerial Systems (UAS) for Coastal Morphology Assessment and Management. J. Coast. Res. 2018, 34, 704. [Google Scholar] [CrossRef]
- Giles, A.B.; Ren, K.; Davies, J.E.; Abrego, D.; Kelaher, B. Combining Drones and Deep Learning to Automate Coral Reef Assessment with RGB Imagery. Remote Sens. 2023, 15, 2238. [Google Scholar] [CrossRef]
- Colefax, A.P.; Butcher, P.A.; Pagendam, D.E.; Kelaher, B.P. Reliability of Marine Faunal Detections in Drone-Based Monitoring. Ocean Coast. Manag. 2019, 174, 108–115. [Google Scholar] [CrossRef]
- Ventura, D.; Bonifazi, A.; Gravina, M.F.; Belluscio, A.; Ardizzone, G. Mapping and Classification of Ecologically Sensitive Marine Habitats Using Unmanned Aerial Vehicle (UAV) Imagery and Object-Based Image Analysis (OBIA). Remote Sens. 2018, 10, 1331. [Google Scholar] [CrossRef]
- Ventura, D.; Grosso, L.; Pensa, D.; Casoli, E.; Mancini, G.; Valente, T.; Scardi, M.; Rakaj, A. Coastal Benthic Habitat Mapping and Monitoring by Integrating Aerial and Water Surface Low-Cost Drones. Front. Mar. Sci. 2023, 9, 1096594. [Google Scholar] [CrossRef]
- Brunier, G.; Oiry, S.; Lachaussée, N.; Barillé, L.; Le Fouest, V.; Méléder, V. A Machine-Learning Approach to Intertidal Mudflat Mapping Combining Multispectral Reflectance and Geomorphology from UAV-Based Monitoring. Remote Sens. 2022, 14, 5857. [Google Scholar] [CrossRef]
- Barbosa, R.V.; Jaud, M.; Bacher, C.; Kerjean, Y.; Jean, F.; Ammann, J.; Thomas, Y. High-Resolution Drone Images Show That the Distribution of Mussels Depends on Microhabitat Features of Intertidal Rocky Shores. Remote Sens. 2022, 14, 5441. [Google Scholar] [CrossRef]
- Roca, M.; Dunbar, M.B.; Román, A.; Caballero, I.; Zoffoli, M.L.; Gernez, P.; Navarro, G. Monitoring the Marine Invasive Alien Species Rugulopteryx okamurae Using Unmanned Aerial Vehicles and Satellites. Front. Mar. Sci. 2022, 9, 1004012. [Google Scholar] [CrossRef]
- Román, A.; Tovar-Sánchez, A.; Olivé, I.; Navarro, G. Using a UAV-Mounted Multispectral Camera for the Monitoring of Marine Macrophytes. Front. Mar. Sci. 2021, 8, 722698. [Google Scholar] [CrossRef]
- Kellaris, A.; Gil, A.; Faria, J.; Amaral, R.; Moreu-Badia, I.; Neto, A.; Yesson, C. Using Low-cost Drones to Monitor Heterogeneous Submerged Seaweed Habitats: A Case Study in the Azores. Aquat. Conserv. Mar. Freshw. Ecosyst. 2019, 29, 1909–1922. [Google Scholar] [CrossRef]
- Instituto Geográfico Nacional. Longitud de La Línea de Costa Española Por Provincias. Available online: https://www.ign.es/web/ane-datos-geograficos/-/datos-geograficos/datosGenerales?tipoBusqueda=longCosta (accessed on 9 August 2023).
- Cabreira, T.; Brisolara, L.; Ferreira, P.R., Jr. Survey on Coverage Path Planning with Unmanned Aerial Vehicles. Drones 2019, 3, 4. [Google Scholar] [CrossRef]
- Yuan, J.; Liu, Z.; Lian, Y.; Chen, L.; An, Q.; Wang, L.; Ma, B. Global Optimization of UAV Area Coverage Path Planning Based on Good Point Set and Genetic Algorithm. Aerospace 2022, 9, 86. [Google Scholar] [CrossRef]
- Huang, J.; Fu, W.; Luo, S.; Wang, C.; Zhang, B.; Bai, Y. A Practical Interlacing-Based Coverage Path Planning Method for Fixed-Wing UAV Photogrammetry in Convex Polygon Regions. Aerospace 2022, 9, 521. [Google Scholar] [CrossRef]
- DELTAQUAD. Explore the DeltaQuad Pro VTOL UAV. Available online: https://www.deltaquad.com/?utm_term=deltaquad&utm_campaign=EN%20-%20Branded&utm_source=Google&utm_medium=cpc&hsa_acc=1674375646&hsa_cam=1983332835&hsa_grp=73742855449&hsa_ad=651564717761&hsa_src=g&hsa_tgt=kwd-665960707668&hsa_kw=deltaquad&hsa_mt=p&hsa_net=adwords&hsa_ver=3&gad=1&gclid=CjwKCAjw8symBhAqEiwAaTA__L4_UNNARYJD0d-vf7I4LkauM4jdSk89t2MIiBQqdxaaTkqRIeVkfhoCg7cQAvD_BwE (accessed on 9 August 2023).
- Delair DT46. Available online: https://delair.aero/delair-commercial-drones/dt46-long-range-made-easy/ (accessed on 9 August 2023).
- Xie, J.; Carrillo, L.R.G.; Jin, L. An Integrated Traveling Salesman and Coverage Path Planning Problem for Unmanned Aircraft Systems. IEEE Control Syst. Lett. 2019, 3, 67–72. [Google Scholar] [CrossRef]
- Khanam, Z.; McDonald-Maier, K.; Ehsan, S. Near-Optimal Coverage Path Planning of Distributed Regions for Aerial Robots with Energy Constraint. In Proceedings of the 2021 International Conference on Unmanned Aircraft Systems (ICUAS), Athens, Greece, 15 June 2021; pp. 1659–1664. [Google Scholar]
- Xie, J.; Chen, J. Multiregional Coverage Path Planning for Multiple Energy Constrained UAVs. IEEE Trans. Intell. Transp. Syst. 2022, 23, 17366–17381. [Google Scholar] [CrossRef]
- Nielsen, L.D.; Sung, I.; Nielsen, P. Convex Decomposition for a Coverage Path Planning for Autonomous Vehicles: Interior Extension of Edges. Sensors 2019, 19, 4165. [Google Scholar] [CrossRef]
- Gong, Y.; Chen, K.; Niu, T.; Liu, Y. Grid-Based Coverage Path Planning with NFZ Avoidance for UAV Using Parallel Self-Adaptive Ant Colony Optimization Algorithm in Cloud IoT. J. Cloud Comput. 2022, 11, 29. [Google Scholar] [CrossRef]
- Galceran, E.; Carreras, M. A Survey on Coverage Path Planning for Robotics. Robot. Auton. Syst. 2013, 61, 1258–1276. [Google Scholar] [CrossRef]
- Tang, G.; Tang, C.; Zhou, H.; Claramunt, C.; Men, S. R-DFS: A Coverage Path Planning Approach Based on Region Optimal Decomposition. Remote Sens. 2021, 13, 1525. [Google Scholar] [CrossRef]
- Xu, A.; Viriyasuthee, C.; Rekleitis, I. Efficient Complete Coverage of a Known Arbitrary Environment with Applications to Aerial Operations. Auton. Robot. 2014, 36, 365–381. [Google Scholar] [CrossRef]
- Xu, A.; Viriyasuthee, C.; Rekleitis, I. Optimal Complete Terrain Coverage Using an Unmanned Aerial Vehicle. In Proceedings of the 2011 IEEE International Conference on Robotics and Automation, Shanghai, China, 9–13 May 2011; pp. 2513–2519. [Google Scholar]
- Papaioannou, S.; Kolios, P.; Theocharides, T.; Panayiotou, C.G.; Polycarpou, M.M. Integrated Guidance and Gimbal Control for Coverage Planning With Visibility Constraints. IEEE Trans. Aerosp. Electron. Syst. 2022, 59, 1276–1291. [Google Scholar] [CrossRef]
- Choset, H. Coverage for Robotics—A Survey of Recent Results. Ann. Math. Artif. Intell. 2001, 31, 113–126. [Google Scholar] [CrossRef]
- Jimenez, P.A.; Shirinzadeh, B.; Nicholson, A. Gursel Alici Optimal Area Covering Using Genetic Algorithms. In Proceedings of the 2007 IEEE/ASME International Conference on Advanced Intelligent Mechatronics, Zurich, Switzerland, 4–7 September 2007; pp. 1–5. [Google Scholar]
- Mannadiar, R.; Rekleitis, I. Optimal Coverage of a Known Arbitrary Environment. In Proceedings of the 2010 IEEE International Conference on Robotics and Automation, Anchorage, Alaska, 3–8 May 2010; pp. 5525–5530. [Google Scholar]
- Li, Y.; Chen, H.; Joo Er, M.; Wang, X. Coverage Path Planning for UAVs Based on Enhanced Exact Cellular Decomposition Method. Mechatronics 2011, 21, 876–885. [Google Scholar] [CrossRef]
- Huang, W.H. Optimal Line-Sweep-Based Decompositions for Coverage Algorithms. In Proceedings of the 2001 ICRA. IEEE International Conference on Robotics and Automation (Cat. No.01CH37164), Seoul, Republic of Korea, 21–26 May 2001; pp. 27–32. [Google Scholar]
- Jiao, Y.-S.; Wang, X.-M.; Chen, H.; Yan, L. Research on the Coverage Path Planning of UAVs for Polygon Areas. In Proceedings of the 2010 5th IEEE Conference on Industrial Electronics and Applications, Taichung, Taiwan, 15–17 June 2010; pp. 1467–1472. [Google Scholar]
- Akshya, J.; Priyadarsini, P.L.K. Area Partitioning by Intelligent UAVs for Effective Path Planning Using Evolutionary Algorithms. In Proceedings of the 2021 International Conference on Computer Communication and Informatics (ICCCI), Coimbatore, India, 27 January 2021; pp. 1–6. [Google Scholar]
- Phung, M.D.; Quach, C.H.; Dinh, T.H.; Ha, Q. Enhanced Discrete Particle Swarm Optimization Path Planning for UAV Vision-Based Surface Inspection. Autom. Constr. 2017, 81, 25–33. [Google Scholar] [CrossRef]
- Bolourian, N.; Hammad, A. LiDAR-Equipped UAV Path Planning Considering Potential Locations of Defects for Bridge Inspection. Autom. Constr. 2020, 117, 103250. [Google Scholar] [CrossRef]
- Lim, K.K.; Ong, Y.-S.; Lim, M.H.; Chen, X.; Agarwal, A. Hybrid Ant Colony Algorithms for Path Planning in Sparse Graphs. Soft Comput. 2008, 12, 981–994. [Google Scholar] [CrossRef]
- Bera, A.; Misra, S.; Chatterjee, C.; Mao, S. CEDAN: Cost-Effective Data Aggregation for UAV-Enabled IoT Networks. IEEE Trans. Mob. Comput. 2022, 22, 5053–5063. [Google Scholar] [CrossRef]
- Ministerio Para la Transición Ecológica y el Reto Demográfico Criterios Para el Vuelo de Drones en ZEPA Marinas de Competencia Estatal. Available online: https://www.miteco.gob.es/es/biodiversidad/temas/biodiversidad-marina/espacios-marinos-protegidos/red-natura-2000-ambito-marino/bm_emprot_rednat2000_marino_vuelo_drones.html (accessed on 6 September 2023).
- Sony E-MOUNT FE 50mm F1.8. Available online: https://www.sony.co.uk/electronics/camera-lenses/sel50f18f (accessed on 11 August 2023).
- Sony A7R IV 35mm Full-Frame Camera with 61.0MP. Full Specifications & Features-7RM4. Available online: https://www.sony.co.uk/electronics/interchangeable-lens-cameras/ilce-7rm4/specifications (accessed on 11 August 2023).
- Sony RX1R II Professional Compact Camera with 35 mm Sensor. Available online: https://www.sony.com/za/electronics/cyber-shot-compact-cameras/dsc-rx1rm2#product_details_default (accessed on 11 August 2023).
- IMPERX T9040. Available online: https://www.imperx.com/ccd-cameras/t9040/ (accessed on 11 August 2023).
- Mastelic, T.; Lorincz, J.; Ivandic, I.; Boban, M. Aerial Imagery Based on Commercial Flights as Remote Sensing Platform. Sensors 2020, 20, 1658. [Google Scholar] [CrossRef]
- IXM-100|IXM-50 a Revolution in UAV and Drone Cameras. Available online: https://geospatial.phaseone.com/cameras/ixm-100/ (accessed on 11 August 2023).
- Contreras-de-Villar, F.; García, F.J.; Muñoz-Perez, J.J.; Contreras-de-Villar, A.; Ruiz-Ortiz, V.; Lopez, P.; Garcia-López, S.; Jigena, B. Beach Leveling Using a Remotely Piloted Aircraft System (RPAS): Problems and Solutions. J. Mar. Sci. Eng. 2020, 9, 19. [Google Scholar] [CrossRef]
- de Lima, R.S.; Lang, M.; Burnside, N.G.; Peciña, M.V.; Arumäe, T.; Laarmann, D.; Ward, R.D.; Vain, A.; Sepp, K. An Evaluation of the Effects of UAS Flight Parameters on Digital Aerial Photogrammetry Processing and Dense-Cloud Production Quality in a Scots Pine Forest. Remote Sens. 2021, 13, 1121. [Google Scholar] [CrossRef]
- DT26 Open Payload. Available online: https://delair.aero/delair-commercial-drones/dt26-open-payload/#package (accessed on 14 August 2023).
- DeltaQuad Pro #MAP Smart UAV Technology for Mapping & Surveying. Available online: https://www.deltaquad.com/vtol-drones/map/#specifications (accessed on 14 August 2023).
- TRINITY F90+ CAMERAS. Available online: https://quantum-systems.com/wp-content/uploads/2023/01/QS_Trinity_Overview_Cameras_V01_220711.pdf (accessed on 14 August 2023).
- TRINITY F90+ EVTOL. Fixed-Wing. Mapping UAS. Available online: https://quantum-systems.com/wp-content/uploads/2023/01/QS_TrinityF90_Overview_220912.pdf (accessed on 14 August 2023).
- HELIPLANE LRS. Long Endurance VTOL Drone. Available online: https://www.dronevolt.com/en/expert-solutions/heliplane/#features (accessed on 14 August 2023).
- C-ASTRAL Aerospace. Bramor PpX Survey Grade UAS. Available online: https://www.c-astral.com/en/unmanned-systems/bramor-ppx (accessed on 16 August 2023).
- AeroVironment. PUMA LE. Available online: https://www.avinc.com/uas/puma-le (accessed on 16 August 2023).
- QGIS.org QGIS Geographic Information System 2023. Available online: https://www.qgis.org/en/site/ (accessed on 16 August 2023).









| Camera | Resolution (MP) | Sensor Size (mm) | Focal Length (mm) | Minimum Continuous Shooting Rate (fps) | Weight 1 (kg) | Dimensions 2 (mm) |
|---|---|---|---|---|---|---|
| Sony Alpha 7R IV [52,53] | 61 | 35.7 × 23.8 | 50 | 3 | 0.833 | 129 × 96 × 78 |
| Sony RX1RII [54] | 42.4 | 35.9 × 24 | 35 | 2.5 | 0.507 | 113.3 × 65.4 × 72 |
| Imperx T9040 [55,56] | 50 | 46.3 × 21.6 | 35 | 3.5 | TBD 3 | 69.5 × 69.5 × 51.5 |
| PhaseOne iXM-100 [57] | 100 | 43.9 × 32.9 | 35 | 3 | 1.17 | 90 × 90 × 68 |
| Camera | Horizontal FOV, HFOV (m) | Vertical FOV, VFOV (m) | Flight Altitude (m) | Maximum UAV Speed That Guarantees Frontal Overlap 1 (m/s) |
|---|---|---|---|---|
| Sony Alpha 7R IV | 75.6 | 50.4 | 105.9 | 30.24 |
| Sony RX1RII | 63.4 | 42.3 | 62.2 | 21.15 |
| Imperx T9040 | 84.8 | 39.7 | 63.1 | 27.79 |
| PhaseOne iXM-100 | 91.2 | 68.4 | 74.4 | 41.04 |
| UAV | Flight Range (km) | Flight Time 1 (min) | Cruise Speed (m/s) | MTOW (kg) | Max. Payload (kg) | Camera Compatibilities |
|---|---|---|---|---|---|---|
| Delair DT26 Open Payload [60] | 135 | 135 | 16.67 | 18.5 | 3 | All |
| DELTAQUAD PRO #MAP [61] | 100; 110 | 110; 115 | 16; 17 | 6.2 | 1.2 | Sony Alpha 7R IV; Sony RX1RII |
| Trinity F90+ [62,63] | 90 | 90 | 17 | 5 | 0.8 | Sony RX1RII |
| Heliplane LRS340 PRO [64] | 180; 200 | 135; 150 | 22 | 18 | 3 | Sony Alpha 7R IV; Sony RX1RII |
| Bramor ppX [65] | 150 | 180 | 16 | 4.7 | TBD 2 | Sony RX1RII |
| Camera | Number of Photos | Number of Turns | Ideal Total Distance (km) |
|---|---|---|---|
| Sony Alpha 7R IV | 10.528 | 750 | 180.2 |
| Sony RX1RII | 18.817 | 910 | 198.5 |
| Imperx T9040 | 16.828 | 731 | 176.1 |
| PhaseOne iXM-100 | 9.709 | 651 | 167.9 |
| UAV + Camera | Operation Time (min) | Operation Distance (km) | Time per Day (min) | Distance per Day (km) | Battery Changes | Number of Days |
|---|---|---|---|---|---|---|
| D. DT26 + S-α 1 | 163.4 | 163.4 | 203.5 | 203.5 | 1 | 2 |
| D. DT26 + S-R 2 | 180 | 180 | 243.1 | 243.1 | 2 | 3 |
| D. DT26 + I. T9060 | 157.6 | 157.6 | 199.4 | 199.4 | 1 | 2 |
| D. DT26 + P. iXM-100 | 151.1 | 151.1 | 190.9 | 190.9 | 1 | 2 |
| D. PRO #MAP + S-α 1 | 170.1 | 163.2 | 234.5 | 225.1 | 2 | 3 |
| D. PRO #MAP + S-R 2 | 175.9 | 179.5 | 238.6 | 243.4 | 2 | 3 |
| T. F90+ + S-R 2 | 188.5 | 178.5 | 271.6 | 261.6 | 3 | 3 |
| H. LRS340 PRO + S-α 1 | 123.8 | 163.4 | 153.1 | 202.2 | 1 | 2 |
| H. LRS340 PRO + S-R 2 | 136 | 179.6 | 166.8 | 220.2 | 1 | 2 |
| B. ppX + S-R 2 | 186.7 | 179.3 | 229.5 | 220.4 | 1 | 2 |
| UAV + Camera | Flight Time (min) | Flight Distance (km) | Number of Pictures | Number of Turns |
|---|---|---|---|---|
| Delair DT26 Open Payload + PhaseOne iXM-100 | 190.9 | 190.9 | 9709 | 651 |
| Heliplane LRS 340 PRO + Sony Alpha 7R IV | 153.1 | 202.2 | 10,528 | 750 |
| Difference (%) | −19.8 | 5.9 | 8.4 | 15.2 |
Disclaimer/Publisher’s Note: The statements, opinions and data contained in all publications are solely those of the individual author(s) and contributor(s) and not of MDPI and/or the editor(s). MDPI and/or the editor(s) disclaim responsibility for any injury to people or property resulting from any ideas, methods, instructions or products referred to in the content. |
© 2023 by the authors. Licensee MDPI, Basel, Switzerland. This article is an open access article distributed under the terms and conditions of the Creative Commons Attribution (CC BY) license (https://creativecommons.org/licenses/by/4.0/).
Share and Cite
Fontenla-Carrera, G.; Aldao, E.; Veiga, F.; González-Jorge, H. A Benchmarking of Commercial Small Fixed-Wing Electric UAVs and RGB Cameras for Photogrammetry Monitoring in Intertidal Multi-Regions. Drones 2023, 7, 642. https://doi.org/10.3390/drones7100642
Fontenla-Carrera G, Aldao E, Veiga F, González-Jorge H. A Benchmarking of Commercial Small Fixed-Wing Electric UAVs and RGB Cameras for Photogrammetry Monitoring in Intertidal Multi-Regions. Drones. 2023; 7(10):642. https://doi.org/10.3390/drones7100642
Chicago/Turabian StyleFontenla-Carrera, Gabriel, Enrique Aldao, Fernando Veiga, and Higinio González-Jorge. 2023. "A Benchmarking of Commercial Small Fixed-Wing Electric UAVs and RGB Cameras for Photogrammetry Monitoring in Intertidal Multi-Regions" Drones 7, no. 10: 642. https://doi.org/10.3390/drones7100642
APA StyleFontenla-Carrera, G., Aldao, E., Veiga, F., & González-Jorge, H. (2023). A Benchmarking of Commercial Small Fixed-Wing Electric UAVs and RGB Cameras for Photogrammetry Monitoring in Intertidal Multi-Regions. Drones, 7(10), 642. https://doi.org/10.3390/drones7100642
