Development of a Decision Matrix for National Weather Service Red Flag Warnings
Abstract
1. Introduction
2. Materials and Methods
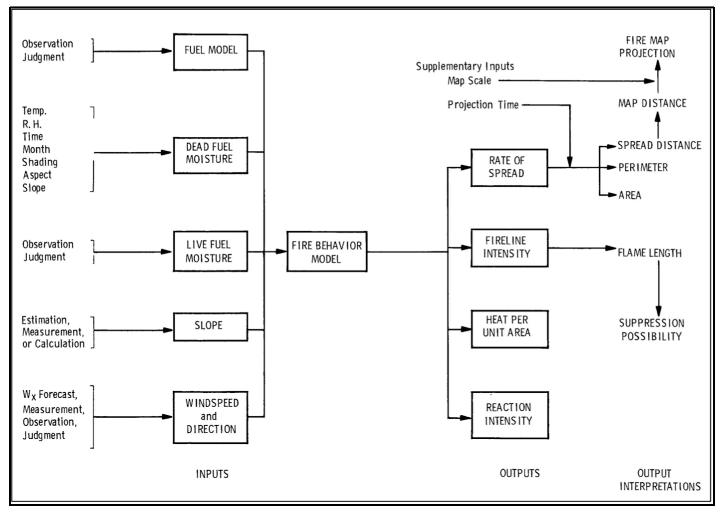
2.1. Fire Behavior and Gridded Meteorological Datasets
2.2. Scoring Historical Percentiles
2.3. Comparison to Observational Data
2.4. Application to Previously Issued Warnings
3. Results
3.1. Individual Parameter Scores from Large Fire Occurrence
3.2. Total Scores from Large Fire Occurrence
3.3. Introduction of a Two-Step Decision Matrix
3.4. Current RFW Criteria Scores Using Observational Data
3.5. Scoring of Previous RFWs
4. Discussion
4.1. Expanding Current Warning Messaging
4.2. The Inclusion of Uncertainty Information
4.3. Limitations
5. Conclusions
5.1. Summary of Results
- A standardized methodology was used to create a two-step decision matrix that condenses meteorological information into numerical thresholds demonstrated to correspond with higher likelihoods of extreme fire behavior.
- ERC, RH, and wind speed scores of 4 or greater consisted of 69%, 62%, and 51%, respectively, of all large fire occurrences where the maximum rate of spread exceeded the statewide breakpoint.
- More than two thirds (68%) of large fires produced a matrix score of 11 or higher.
- A total of 83% of RFWs issued in 2020 produced a matrix score of 11 or higher.
- As rate of spread increases, the likelihood of a higher matrix score also increases.
5.2. Summary of Recommendations
- NWS should nationally utilize a decision matrix approach for determining a RFW and FWW.
- Energy release component from NFDRS should be utilized as part of RFW criteria.
- NWS WFOs should base RFW criteria on historical percentiles of ERC, RH, and wind gust. These percentiles should be scored according to the categories depicted in Table 2. Days exceeding a score of ≥11 should be considered as having elevated potential for extreme fire behavior.
- Numerical percentile values for these three elements would have to be calculated from historical data for FWZs and made available in the operational environment. However, similar with other NWS watches/warnings, RWW/RFW should be issued based on polygon type boundaries versus FWZs.
- In the context of hazard simplification, it is recommended to continue use of a two-tiered (watch and warning with special provision for PDS) set of fire weather products for clarity.
- Descriptive information regarding historical and seasonal severity should be included with each FWW/RFW.
- WFOs should frequently and freely communicate with fire management in order to ascertain forecast effectiveness and discuss potential impacts of the forecast.
- This analysis focused exclusively on fire management as the intended audience. Since FWW/RFWs are also being used by the public in some cases, further work is necessary to determine appropriate messaging for public use.
Author Contributions
Funding
Data Availability Statement
Acknowledgments
Conflicts of Interest
References
- Moritz, M.A.; Batllori, E.; Bradstock, R.A.; Gill, A.M.; Handmer, J.; Hessburg, P.F.; Leonard, J.; McCaffrey, S.; Odion, D.C.; Schoennagel, T.; et al. Learning to coexist with wildfire. Nature 2014, 515, 58–66. [Google Scholar] [CrossRef]
- Brown, T.J.; Hall, B.L.; Westerling, A.L. The Impact of Twenty-First Century Climate Change on Wildland Fire Danger in the Western United States: An Applications Perspective. Clim. Chang. 2004, 62, 365–388. [Google Scholar] [CrossRef]
- Fried, J.; Torn, M.S.; Mills, E. The Impact of Climate Change on Wildfire Severity: A Regional Forecast for Northern California. Clim. Chang. 2004, 64, 169–191. [Google Scholar] [CrossRef]
- Parks, S.A.; Parisien, M.-A.; Miller, C.; Dobrowski, S. Fire Activity and Severity in the Western US Vary along Proxy Gradients Representing Fuel Amount and Fuel Moisture. PLoS ONE 2014, 9, e99699. [Google Scholar] [CrossRef] [PubMed]
- Williams, A.P.; Abatzoglou, J.T.; Gershunov, A.; Guzman-Morales, J.; Bishop, D.A.; Balch, J.K.; Lettenmaier, D.P. Observed Impacts of Anthropogenic Climate Change on Wildfire in California. Earth’s Futur. 2019, 7, 892–910. [Google Scholar] [CrossRef]
- Jolly, M.; Cochrane, M.A.; Freeborn, P.H.; Holden, Z.A.; Brown, T.J.; Williamson, G.J.; Bowman, D.M.J.S. Climate-induced variations in global wildfire danger from 1979 to 2013. Nat. Commun. 2015, 6, 7537. [Google Scholar] [CrossRef] [PubMed]
- National Weather Service (Ed.) National Weather Service Instruction 10-401. Fire Weather Services Product Specification; National Weather Service: Silver Spring, MD, USA, 2017.
- Hockenberry, H. Red Flag Warnings in the 21st Century. Fire Manag. Today 2017, 75, 25–27. [Google Scholar]
- National Wildfire Coordinating Group (Ed.) Incident Response Pocket Guide; National Wildfire Coordinating Group: Boise, ID, USA, 2018.
- Clark, J.; Abatzoglou, J.T.; Nauslar, N.J.; Smith, A.M. Verification of Red Flag Warnings across the Northwestern U.S. as Forecasts of Large Fire Occurrence. Fire 2020, 3, 60. [Google Scholar] [CrossRef]
- Office of the Federal Coordinator for Meteorological Services and Supporting Research. National Wildland Fire Weather: A Summary of User Needs and Issues; Office of the Federal Coordinator for Meteorological Services and Supporting Research: Silver Spring, MD, USA, 2007.
- Wall, T.; Brown, T. Red Flag Warning Criteria. In Proceedings of the NWS Red Flag Warning Workshop, Boise, ID, USA, 8 May 2018. [Google Scholar]
- Tedim, F.; Leone, V.; Amraoui, M.; Bouillon, C.; Coughlan, M.R.; Delogu, G.M.; Fernandes, P.M.; Ferreira, C.; McCaffrey, S.; McGee, T.K.; et al. Defining Extreme Wildfire Events: Difficulties, Challenges, and Impacts. Fire 2018, 1, 9. [Google Scholar] [CrossRef]
- National Wildfire Coordinating Group. NWCG Glossary of Wildland Fire, PMS 205. Available online: https://www.nwcg.gov/publications/pms205 (accessed on 18 March 2023).
- Abatzoglou, J.T.; Kolden, C.A. Relationships between climate and macroscale area burned in the western United States. Int. J. Wildland Fire 2013, 22, 1003–1020. [Google Scholar] [CrossRef]
- Freeborn, P.H.; Cochrane, M.A.; Jolly, W.M. Relationships between fire danger and the daily number and daily growth of active incidents burning in the northern Rocky Mountains, USA. Int. J. Wildland Fire 2015, 24, 900. [Google Scholar] [CrossRef]
- Fried, J.S.; Gilless, J.K.; Riley, W.J.; Moody, T.J.; de Blas, C.S.; Hayhoe, K.; Moritz, M.; Stephens, S.; Torn, M. Predicting the effect of climate change on wildfire behavior and initial attack success. Clim. Chang. 2008, 87, 251–264. [Google Scholar] [CrossRef]
- Riley, K.L.; Abatzoglou, J.; Grenfell, I.C.; Klene, A.E.; Heinsch, F.A. The relationship of large fire occurrence with drought and fire danger indices in the western USA, 1984–2008: The role of temporal scale. Int. J. Wildland Fire 2013, 22, 894–909. [Google Scholar] [CrossRef]
- Jolly, W.M.; Freeman, P.H.; Page, W.G.; Butler, B.W. Severe fire danger index: A forecastable metric to inform firefighter and community wildfire risk management. Fire 2019, 2, 47. [Google Scholar] [CrossRef]
- Stavros, E.N.; Abatzoglou, J.T.; McKenzie, D.; Larkin, N.K. Regional projections of the likelihood of very large wildland fires under a changing climate in the contiguous Western United States. Clim. Chang. 2014, 126, 455–468. [Google Scholar] [CrossRef]
- Rolinski, T.; Capps, S.B.; Fovell, R.G.; Cao, Y.; D’agostino, B.J.; Vanderburg, S. The Santa Ana Wildfire Threat Index: Methodology and Operational Implementation. Weather. Forecast. 2016, 31, 1881–1897. [Google Scholar] [CrossRef]
- Erickson, M.J.; Charney, J.J.; Colle, B.A. Development of a Fire Weather Index Using Meteorological Observations within the Northeast United States. J. Appl. Meteorol. Clim. 2016, 55, 389–402. [Google Scholar] [CrossRef]
- Srock, A.F.; Charney, J.J.; Potter, B.E.; Goodrick, S.L. The Hot-Dry-Windy Index: A New Fire Weather Index. Atmosphere 2018, 9, 279. [Google Scholar] [CrossRef]
- St. Denis, L.A.; Mietkiewicz, N.P.; Short, K.C.; Buckland, M.; Balch, J.K. All-hazards dataset mined from the US National Incident Management System 1999–2014. Sci. Data 2020, 7, 64. [Google Scholar] [CrossRef]
- Federal Emergency Management Association. Incident Status Summary (ICS 209). 2021. Available online: https://training.fema.gov/emiweb/is/icsresource/icsforms (accessed on 18 March 2023).
- Williams, J.T.; Hyde, A.C. The mega-fire phenomenon: Observations from a coarse-scale assessment with implications on foresters, land managers, and policy-makers. In Proceedings of the Society of American Foresters 89th National Convention, Orlando, FL, USA, 30 September–4 October 2009. [Google Scholar]
- Abatzoglou, J.T.; Williams, A.P. Impact of anthropogenic climate change on wildfire across western US forests. Proc. Natl. Acad. Sci. USA 2016, 113, 11770–11775. [Google Scholar] [CrossRef]
- Rorig, M.L.; Ferguson, S.A. Characteristics of Lightning and Wildland Fire Ignition in the Pacific Northwest. J. Appl. Meteorol. 1999, 38, 1565–1575. [Google Scholar] [CrossRef]
- Lindley, T.T.; Murdoch, G.P.; Guyer, J.L.; Skwira, G.D.; Schneider, K.J.; Nagle, S.R.; Van Speybroeck, K.M.; Smith, B.R.; Beierle, M.-J. Southern Great Plains Wildfire Outbreaks. Electron. J. Sev. Storms Meteorol. 2014, 9, 1–43. [Google Scholar] [CrossRef]
- Lindley, T.; Speheger, D.A.; Day, M.A.; Murdoch, G.P.; Smith, N.J.; Nauslar, N.J.; Daily, D.C. Megafires on the Southern Great Plains. J. Oper. Meteorol. 2019, 7, 164–179. [Google Scholar] [CrossRef]
- Albini, F. Estimating Wildfire Behavior and Effects; USDA Forest Service, Intermountain Forest and Range Experiment Station: Ogden, UT, USA, 1976.
- Rothermel, R.C. A Mathematical Model for Predicting Fire Spread in Wildland Fuels; USDA Forest Service, Intermountain Forest and Range Experiment Station: Ogden, UT, USA, 1972.
- Rothermel, R.C. How to Predict the Spread and Intensity of Forest and Range Fires; USDA Forest Service, Intermountain Forest and Range Experiment Station: Ogden, UT, USA, 1983.
- Bradshaw, L.S.; Deeming, J.E.; Burgan, R.E.; Cohen, J.D. The 1978 National Fire Danger Rating System: Technical Documentation; General Technical Report; US Department of Agriculture, Ed.; Intermountain Forest and Range Experimental Station: Ogden, UT, USA, 1984. [Google Scholar]
- Page, W.G.; Freeborn, P.H.; Butler, B.W.; Jolly, W.M. A review of US wildland firefighter entrapments: Trends, important environmental factors and research needs. Int. J. Wildland Fire 2019, 28, 551–569. [Google Scholar] [CrossRef]
- Radeloff, V.C.; Helmers, D.P.; Kramer, H.A.; Mockrin, M.H.; Alexandre, P.M.; Bar-Massada, A.; Butsic, V.; Hawbaker, T.J.; Martinuzzi, S.; Syphard, A.D.; et al. Rapid growth of the US wildland-urban interface raises wildfire risk. Proc. Natl. Acad. Sci. USA 2018, 115, 3314–3319. [Google Scholar] [CrossRef] [PubMed]
- de Groot, W.J.; Goldammer, J.G.; Keenan, T.; Brady, M.A.; Lynham, T.J.; Justice, C.O.; Csiszar, I.A.; O’Loughlin, K. Developing a global early warning system for wildland fire. For. Ecol. Manag. 2006, 234, S10. [Google Scholar] [CrossRef]
- Unterholzner, G. Kneebow: Knee or Elbow Detection for Curves. Available online: https://github.com/georg-un/kneebow (accessed on 18 March 2023).
- Abatzoglou, J.T. Development of gridded surface meteorological data for ecological applications and modelling. Int. J. Climatol. 2011, 33, 121–131. [Google Scholar] [CrossRef]
- Andrews, P.L.; Loftsgaarden, D.O.; Bradshaw, L.S. Evaluation of fire danger rating indexes using logistic regression and percentile analysis. Int. J. Wildland Fire 2003, 12, 213–226. [Google Scholar] [CrossRef]
- Murdoch, G.; Barnes, R.; Gitro, C.M.; Lindley, T.; Vitale, J. Assessing critical fire weather conditions using a red flag threat index. Electron. J. Oper. Meteorol. 2012, 13, 46–56. [Google Scholar]
- National Wildfire Coordinating Group (Ed.) Interagency Wildland Fire Weather Station Standards & Guidelines; National Wildfire Coordinating Group: Boise, ID, USA, 2014.
- Brown, T.; Mills, G.; Harris, S.; Podnar, D.; Reinbold, H.; Fearon, M. Fire Weather Climatology Dataset for Victoria: Supplemental Report to the Victoria Department of Environment, Land and Water Planning; Land and Water Planning Victoria Department of Environment, Ed.; Victoria Department of Environment, Land and Water Planning: Melbourne, Australia, 2016. [Google Scholar]
- Ágústsson, H.; Ólafsson, H. Forecasting wind gusts in complex terrain. Meteorol. Atmospheric Phys. 2009, 103, 173–185. [Google Scholar] [CrossRef]
- Lindley, T.T.; Vitale, J.D.; Burgett, W.S.; Beierle, M.-J. Proximity Meteorological Observations for Wind-driven Grassland Wildfire Starts on the Southern High Plains. Electron. J. Sev. Storms Meteorol. 2011, 6, 1–27. [Google Scholar] [CrossRef]
- Cohen, J.D.; Deeming, J.E. The National Fire-Danger Rating System: Basic Equations; U.S. Department of Agriculture, Ed.; USDA, Forest Service, Pacific Southwest Forest and Range Experiment Station: Berkeley, CA, USA, 1985. [CrossRef]
- Joslyn, S.; Savelli, S. Communicating forecast uncertainty: Public perception of weather forecast uncertainty. Meteorol. Appl. 2010, 17, 180–195. [Google Scholar] [CrossRef]
- Novak, D.R.; Bright, D.R.; Brennan, M.J. Operational Forecaster Uncertainty Needs and Future Roles. Weather. Forecast. 2008, 23, 1069–1084. [Google Scholar] [CrossRef]
- Savelli, S.; Joslyn, S. Boater Safety: Communicating Weather Forecast Information to High-Stakes End Users. Weather. Clim. Soc. 2012, 4, 7–19. [Google Scholar] [CrossRef]
- Casteel, M.A. Communicating Increased Risk: An Empirical Investigation of the National Weather Service’s Impact-Based Warnings. Weather. Clim. Soc. 2016, 8, 219–232. [Google Scholar] [CrossRef]
- Brown, B.G.; Murphy, A.H. Quantification of Uncertainity in Fire-Weather Forecasts: Some Results of Operational and Experimental Forecasting Programs. Weather. Forecast. 1987, 2, 190–205. [Google Scholar] [CrossRef]
- Doswell, C.A. Weather Forecasting by Humans—Heuristics and Decision Making. Weather. Forecast. 2004, 19, 1115–1126. [Google Scholar] [CrossRef]
- Abatzoglou, J.T.; Smith, C.M.; Swain, D.L.; Ptak, T.; Kolden, C.A. Population exposure to pre-emptive de-energization aimed at averting wildfires in Northern California. Environ. Res. Lett. 2020, 15, 094046. [Google Scholar] [CrossRef]








| State | ICS209 Qualifying Incidents | ROS Threshold (Hectares) | 2020 Total RFWs Issued | 2020 RFWs Sampled |
|---|---|---|---|---|
| Alabama | 16 | 1255 | 4 | 4 |
| Arkansas | 21 | 1517 | 5 | 5 |
| Arizona | 27 | 21,745 | 149 | 149 |
| California | 64 | 21,498 | 643 | 566 |
| Colorado | 28 | 14,826 | 1143 | 603 |
| Florida | 100 | 5090 | 126 | 76 |
| Idaho | 49 | 32,297 | 138 | 138 |
| Kentucky | 11 | 2224 | 10 | 10 |
| Minnesota | 12 | 13,220 | 185 | 42 |
| Missouri | 10 | 1633 | 434 | 114 |
| Montana | 38 | 27,676 | 327 | 327 |
| N. Carolina | 14 | 3212 | 108 | 75 |
| Nebraska | 7 | 25,328 | 75 | 75 |
| Nevada | 44 | 42,626 | 315 | 267 |
| Oklahoma | 106 | 4942 | 199 | 117 |
| Oregon | 24 | 49,564 | 176 | 176 |
| Texas | 41 | 39,537 | 668 | 418 |
| Utah | 40 | 20,235 | 397 | 374 |
| Virginia | 11 | 2595 | 9 | 6 |
| Washington | 21 | 28,714 | 84 | 80 |
| Totals | 684 | Avg. 17,987 | 5195 | 3622 |
| ERC Percentile | RH Percentile | Wind Percentile | Score |
|---|---|---|---|
| 0–50th | 100–51st | 0 | |
| 50–59th | 50–41st | 0–20th | 1 |
| 60–69th | 40–31st | 20–40th | 2 |
| 70–79th | 30–21st | 40–60th | 3 |
| 80–89th | 20–11th | 60–80th | 4 |
| >90th | <11th | >80th | 5 |
Disclaimer/Publisher’s Note: The statements, opinions and data contained in all publications are solely those of the individual author(s) and contributor(s) and not of MDPI and/or the editor(s). MDPI and/or the editor(s) disclaim responsibility for any injury to people or property resulting from any ideas, methods, instructions or products referred to in the content. |
© 2023 by the authors. Licensee MDPI, Basel, Switzerland. This article is an open access article distributed under the terms and conditions of the Creative Commons Attribution (CC BY) license (https://creativecommons.org/licenses/by/4.0/).
Share and Cite
Jakober, S.; Brown, T.; Wall, T. Development of a Decision Matrix for National Weather Service Red Flag Warnings. Fire 2023, 6, 168. https://doi.org/10.3390/fire6040168
Jakober S, Brown T, Wall T. Development of a Decision Matrix for National Weather Service Red Flag Warnings. Fire. 2023; 6(4):168. https://doi.org/10.3390/fire6040168
Chicago/Turabian StyleJakober, Sarah, Timothy Brown, and Tamara Wall. 2023. "Development of a Decision Matrix for National Weather Service Red Flag Warnings" Fire 6, no. 4: 168. https://doi.org/10.3390/fire6040168
APA StyleJakober, S., Brown, T., & Wall, T. (2023). Development of a Decision Matrix for National Weather Service Red Flag Warnings. Fire, 6(4), 168. https://doi.org/10.3390/fire6040168
