Precision Fertilization and Irrigation: Progress and Applications
Abstract
:1. Introduction
2. Field Information Collection
2.1. Principles
- (1)
- Conventional field investigation usually adopts the network format (arranging and creating relationships between elements in a vertical and horizontal distribution) for comprehensive sampling investigation, focusing on laboratory tests and analyses of soil information. A sampling grid is set in accordance with the requirements of precision fertilization and irrigation. This method costs considerable manpower and material resources and is usually used as the basic evaluation of a certain plot [15].
- (2)
- GPS positioning is monitored regularly. The sampling points are located through the GPS and introduced in the geographic information system (GIS), which can realize the spatial vectorization, interpolation, and visualization of the whole farmland plot and provide an important reference for the scientific management of farmland information and the formulation of farming plan. At present, relatively mature technologies are found in this regard [15,23]. Farmland location information mainly includes the longitude and latitude of the sampling point, and the shape and area of the field, which is mainly obtained by global positioning technology. GPS is used to collect information in the field, so as to form a fertilization and irrigation prescription map. If multiple known points are found, then the method of resection can be used to obtain the coordinates of an unknown point. GPS collects some farmland information and provides real-time location information for agricultural machines and tools to guide accurate property management [18,24]. The traditional work of surveying and collecting information on agricultural land is usually stored on paper, which is unconducive to finding and reading information and to keeping and storing information, and cannot be analyzed and tabulated. Agricultural production information and geographic information can be organically combined by using GIS technology to provide unprecedented spatial and temporal characteristics for all types of agricultural information [25]. Existing soil and crop information data are sorted and analyzed by the GIS as attribute data; an efficient and operational field management system can be created by combining them with the vectorized basemap data [18].
- (3)
- High-precision, real-time remote sensing imaging technologies, such as UAV and 3D laser scanning, are introduced to provide more accurate and powerful technical support for precision fertilization and irrigation decision-making services [26,27,28,29,30]. Remote sensing technology refers to detecting and identifying electromagnetic energy and accurately obtaining various field information without direct contact between the sensor and the object [31]. Sensors installed on satellites, aircraft, or ground equipment [32] can be adopted in the application of remote sensing in precision fertilization and irrigation. Collecting and analyzing information on crop and soil characteristics, obtaining information on spatial and temporal changes in agricultural land, predicting crop yields, and accurately reporting the agricultural situation are all essential operations [33]. The remote sensing system obtains the data for each period of the whole process of agricultural production for monitoring soil and crop moisture, crop nutrition, crop diseases, and pests [34,35]. Precision fertilization and precision irrigation use remote sensing and telemetry technologies to accurately grasp the spatiotemporal differences in soil, water, fertilizer, diseases and insect pests, and crop yields, which maximize the economic and ecological benefits with minimum production input [36]. The popularization of laser measurement technology has greatly improved the efficiency of the measurement and collection of basic farmland information. The use of laser measurement technology can realize the real-time measurement of relevant data, such as the length, area, and regional elevation of agricultural production areas. The miniaturization trend of measurement equipment enables it to be applied to more measurement carrier platforms, such as UAVs, unmanned ships, and mapping vehicles, which further improves the speed and accuracy of surveying and mapping [37]. However, the information obtained from remote sensing, such as soil moisture and crop canopy biochemical parameters, is not directly used for precision fertilization and irrigation. The relationship between remote sensing information and parameters related to soil and crop growth states needs to be established through analysis, which is the “bottleneck” restricting the application of remote sensing information in agricultural information acquisition [38]. Remote sensing technology is an important source of field data in the future precision agriculture technology system. It can provide a large amount of field temporal and spatial change information. The application of remote sensing technology in precision fertilization and irrigation mainly includes: (i) Monitoring of crop growth and its background: high-resolution (meter resolution) sensors are used to implement comprehensive monitoring in different crop growth periods, and spatial qualitative and positioning analyses are conducted in accordance with spectral information to provide a basis for positioning agriculture. (ii) Crop canopy multispectral monitoring: the information obtained by ground object spectrometer and multispectral camera is used to monitor the change in chlorophyll density and analyze the relationship between its change and nutrients. (iii) Multispectral remote sensing information (infrared band) is used to monitor soil moisture under crop conditions [39,40]. Spectral images can be used to determine the field leaf area index and ground cover plants, which is helpful to yield prediction.In the field of agriculture, the most commonly used remote sensing technologies include optical remote sensing and thermal remote sensing [41]. Optical remote sensing uses visible light to create an image of the Earth’s surface by detecting the energy reflected from the surface of the target area [42]. It has been successfully applied to estimate various plant parameters, such as leaf area, plant cover, biomass, and chlorophyll content. The largest disadvantage of optical remote sensing is the slow response of these variables, which are usually adjusted only when plants have obvious stress damage [43]. Thermal remote sensing is a process of measuring the radiation emitted from the surface of an object and converting it into temperature without establishing direct contact with the object. Crop canopy surface temperature is a function of transpiration rate and a function of atmospheric evaporation and crop available soil water status. Pressure in crops (water, weeds, and nutrients) will affect their canopy temperature, which can be measured at key stages for managing and optimizing agricultural production and inputs [44].
- (4)
- Automatic monitoring by wireless sensor. A remote automatic monitoring method integrating sensors, microprocessors, and wireless communication can greatly reduce the consumption of human and material resources in the implementation of precision fertilization and irrigation and has become one of the hot spots in the field of agricultural informatization and intelligence [45,46]. The real-time sensor technology has been widely used in variable spraying due to its high precision and strong real-time performance. The spray target profile, location, density, and other information are acquired in real time by using a variety of sensors (such as vision, ultrasonic, infrared, and laser sensors) through the analysis and processing of the control system to determine the spray water and form the spray decision. However, this technology is still affected by some factors and still has a high misjudgment rate in recognition, especially in complex environments where the recognition ability is unsatisfactory and the recognition accuracy can still be improved [47,48].
2.2. Examples of Concrete Implementations
- (1)
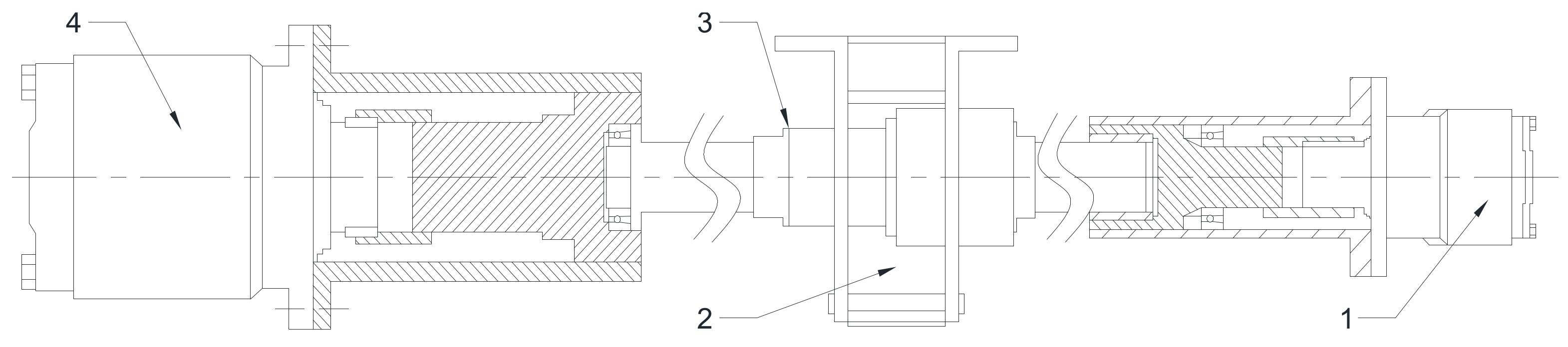
- GPS technology. In 2021, Huang designed a rice soil nutrient detection system based on GPS technology. The system data acquisition module is mainly composed of a single-chip microcomputer system board, various measurement modules, and external interfaces. The structure is shown in Figure 2. The system can complete the detection of various nutrient data of rice soil and can access the monitoring data online. It has strong operability, high reliability, and certain popularization value [67,68]. Wu designed a high-precision positioning system of agricultural plant protection UAV based on GPS and satellite navigation system and comprehensively analyzed the specific software and hardware implementation. The system was tested. The test results show that the designed system can effectively meet the requirements of UAV for accurate positioning [69].
- (2)
- Remote sensing technology. Ma et al. evaluated the vegetation index, surface temperature, and reflectance characteristics of each band in the image through remote sensing and constructed a prediction model of powdery mildew during the wheat filling period by using the remote sensing meteorological characteristics. The overall accuracy of the model prediction reached 84.2% [45]. Ma et al. performed spectral determination of the diseases and pests of fruit trees and Lycium barbarum by using remote sensing near-earth hyperspectral technology [70]. Li et al. realized the collection of dead wood position information through small UAV remote sensing technology [71]. Yuan et al. used remote sensing and GIS to analyze the highly complex information environment under the current mode [72]. Liu et al. used hyperspectral remote sensing technology to find the best density of grain maturer [73].
- (3)
- Wireless sensor technology. Wang investigated the detection of lateral cypress moth damage based on gas-sensitive sensor technology, selected the characteristic components of the volatiles of the pest-affected lateral cypress, and realized the detection of lateral cypress damaged by different pest types using a homemade gas-sensitive sensor, thereby providing a reference for the application of gas-sensitive sensors in moth damage detection [74]. Rui presented a new method called magnetic resonance measurement technology that can quickly and quantitatively measure soil moisture. Free water and bound water in soil have different attenuation laws of transverse relaxation time. A method of analyzing the magnetic resonance echo signal is proposed; it can distinguish the components of free water and bound water in soil. Experiments show that the magnetic resonance sensor has a sufficient signal-to-noise ratio and resolution to accomplish the sensor tasks [75]. For the acquisition and reconstruction of plant 3D information, Liu et al. used Kinect sensor technology to achieve greenhouse hanging basket plant measurements and 3D reconstruction and depth and area information measurements. This method can be further extended and applied to the 3D reconstruction and measurements of other irregular plants, so as to realize the collection and processing of plant information in the process of real-time monitoring of agricultural plant growth states based on a Kinect sensor and serve as a reference for Kinect 3D sensors. The precise application of fertilizers and a timely control of diseases and insect pests can be achieved [76].
3. Information Management and Decision-Making System
3.1. Principle
3.2. System Application
4. Execution System
4.1. Variable Rate Fertilization Technology
4.1.1. Principle
- (1)
- The outer grooved wheel fertilizer metering device, which is based on the outer grooved wheel seed metering device, increases the diameter of the grooved wheel, reduces the number of teeth, and increases the volume of the inter groove (Figure 4). It is characterized by a simple structure and good fertilization uniformity. This metering device is applicable to loose chemical and compound granular fertilizers with good fluidity. However, it is susceptible to hollowing and breaking when powdered or wet fertilizers are applied. The amount of fertilizer discharged is shown in Figure 4 [97,104,105,106].
- (2)
- The centrifugal fertilizer ejector uses the rotating disk at the bottom to scatter fertilizer particles under the action of centrifugal force. It is mainly applicable to granular and powdery fertilizers with good fluidity. The rotating disk at the bottom of the fertilizer ejector has a high speed. The working width of the fertilizer ejector will be determined when its speed is fixed (Figure 5). At this time, the amount of fertilizer discharged per hectare is mainly related to the travel speed of machines and tools. The faster the travel speed of machines and tools, the greater the amount of fertilizer discharged [98,99].
- (3)
- When the vibrating fertilizer ejector operates, the rotating fertilizer discharging cam causes the fertilizer discharging vibrating plate to vibrate continuously (Figure 6). Under the dual action of vibration and its own gravity, the fertilizer in the fertilizer box slides along the slope of the vibrating plate and is discharged through the fertilizer discharging port. The vibrating fertilizer ejector is suitable for granular and highly hygroscopic powdery fertilizers. It has a wide application range and simple structure. This fertilizer ejector is mostly used on the mid-tillage fertilizer chaser [101].
- (4)
- The star wheel-type fertilizer extractor is used to apply crystalline and dry powder fertilizers (Figure 7). During the fertilization operation, the rotating star wheel continuously directs fertilizer from the fertilizer tank into the fertilizer pipe. The adjustment of the discharge quantity of the star wheel-type fertilizer exhauster can be realized by adjusting the opening of the discharge valve or changing the speed of the star wheel. Under normal circumstances, the bottom of the fertilizer tank is movable to facilitate the cleaning of excess fertilizer. The star wheel fertilizer exhauster is easy to disassemble and has low troubleshooting difficulty [107].
4.1.2. Variable Rate Fertilization Technology Device
- (1)
- Double-variable fertilization device. Univariate fertilization is realized by regulating the rotation speed of the main shaft of the fertilization machine. However, some problems, such as small adjustable range, low fertilization accuracy, and poor uniformity, are encountered when the rotation speed is low. Zhang’s team at Shihezi University proposed a set of double-variable fertilization device and a supporting principle based on the external trough wheel fertilizer ejector. The double-variable fertilization mechanism is shown in Figure 8. Double-variable fertilization is mainly realized by the main shaft hydraulic motor installed at two ends of the main shaft of the fertilizer ejector and the hydraulic motor with opening (the effective working length of the outer groove wheel and the groove wheel of the fertilizer ejector). The double-variable fertilizer applicator with a double adjustment of the spindle speed and fertilizer ejector opening can effectively avoid low fertilization accuracy and poor uniformity of fertilizer applicator operation at a small fertilizer discharge and low spindle speed through a high speed and low opening. At the same time, it can also better avoid the significant effect of the motor pulsation on the fertilization accuracy when the fertilizer with hydraulic motor discharges fertilizer. The double-adjustment structure of the speed opening is shown in Figure 9 [108].
- (2)
- Spiral vertebral body centrifugal fertilizer ejector. The smoothness of fertilizer discharge depends on the arching principle of bulk materials above the rectangular discharge port. However, the discharge port easily forms a spherical cavity, which prevents the granular fertilizer from moving down smoothly. Applying external force to the granular fertilizer with spiral blades can effectively prevent its arching and the formation of a cavity. At the same time, the agglomerated fertilizer is disturbed and broken to ensure the smooth downward movement and discharge of the granular fertilizer. To ensure that the granular fertilizer is evenly distributed around the vertebrae, and at the same time, according to the principle of centrifugal seed discharge, the centrifugal fertilizer discharging mode is adopted to ensure the uniformity of the fertilizer entering the fertilizer chamber. A centrifugal push plate at a certain angle with the radial longitudinal section of the fertilizer discharge device is designed to improve the stability of fertilizer discharge capacity and prevent the granular fertilizer from continuously and stably moving to the outer edge under the action of centrifugal force due to insufficient friction. Considering the influence of the traditional fertilizer ejector on the fertilizer discharge performance due to the overhead arching and blockage of fertilizer, Professor Liu of Huazhong Agricultural University analyzed the movement model of granular fertilizer in the fertilizer discharge process of a spiral cone centrifugal fertilizer ejector and the mechanism of disturbance arch breaking and antiblocking. The centrifugal fertilizer ejector with spiral disturbance vertebral body was then designed, as shown in Figure 10, which is mainly composed of an upper shell, a spiral disturbance vertebral disk, and a lower shell [98,99].
4.2. Variable Spraying Technology
4.2.1. Principle of Variable Spraying Technology
- (1)
- The pressure regulation technology mainly adjusts the servo valve opening size through the control instruction and changes the pressure of each pipeline in the spraying system. The pressure sensor obtains pressure feedback information by adjusting the pressure to change the flow and variable spray results [116,117]. The spray flow rate is proportional to the square root of the pressure difference, which is a nonlinear relationship. Excessive pressure variation affects the nozzle flow rate and has a significant effect on the droplet particle size and droplet distribution. This condition leads to poor spraying results. Therefore, the range of pressure and flow variation in the variable application control process should not be extremely large, usually limited to 25% of the flow variation in engineering applications. Although an inherent nonlinearity is found in pressure-regulated flow, the cost of pressure sensors is lower than that of flow sensors under the same accuracy conditions. Therefore, pressure-regulating flow has potential advantages from an economic standpoint.The regulation characteristics of pressure regulation can be expressed as follows:where is the fluid flow; is the fluid density; and are the fluid pressures at the inlet and outlet of the regulating valve; is the throttling type; is the flow resistance.
- (2)
- Variable nozzle adjustment technology allows you to change the flow rate of the spray nozzle. The control of variable nozzle spraying area is mainly realized by adjusting the nozzle range. When the range of the nozzle changes, the area sprayed by each unit angle of rotation of the nozzle also changes. The rotation speed or flow of the nozzle should be adjusted with the change in range to make the spraying water received on the same area of land the same [118,119,120].For a given sprinkler and sprinkler system, is a constant; is the rotational speed of variable nozzle at time ; is the range of variable nozzle at time ; is the instantaneous flow at time .
- (3)
- PWM is the process where the liquid is mixed in the box in advance; the pipeline pressure is kept constant within a certain flow regulation range, and the nozzle flow is adjusted by controlling the on–off frequency and duty cycle of the nozzle solenoid valve, so as to achieve the effect of variable application. As shown in Figure 11, PWM requires a high response frequency of solenoid valve and needs to respond quickly to the pulse signal. Therefore, a high-frequency solenoid valve is usually used [121,122,123].
4.2.2. Variable Rate Spraying Technology Device
- (1)
- Pressure regulation technology. Gonzalez et al. designed a nonlinear variable spray system based on pressure regulation, as shown in Figure 12. This system measures the pressure in real time by the pressure sensor and controls the injection volume through the electric proportional valve and electric on–off valve. With the opening of the electric proportional valve as the input and the spray pressure measured by the pressure sensor as the output, Gonzalez et al. concluded that the open-loop system can be described by a first-order system and gave the specific formula of the system transfer function as:where the static gain parameter and time parameter of the system are written in the form associated with the system pressure , which reflects the idea of Gonzalez and others to deal with nonlinearity by using the parametric method [124].
- (2)
- Variable nozzle adjustment technology. Variable nozzle is relative to the traditional fixed nozzle. “Fixed” denotes that the internal structure of the nozzle is fixed during the working process. To realize variable spraying in crop protection areas, Huang et al. designed an agricultural variable sprinkler based on magnetorheological fluid (Figure 13). The inlet opening of the atomization chamber is controlled without changing the pump pressure to achieve the effect of flow regulation. Magnetorheological fluid is added and controlled at the inlet of the atomization chamber to change its physical state, affect the space of atomization chamber, and realize the required functions [125].
- (3)
- PWM. This technology mainly controls electronic actuators by using fast on and off (pulse mode) conversion equipment. The speed of conversion equipment driven by pulse is frequency. Although the PWM intermittent spray flow regulating system has a fast response speed and large flow regulating range, and the use of conventional nozzles can achieve an excellent spraying effect, the requirements for the control system are relatively high. Wang studied the low-altitude variable spraying measurement and control technology of multirotor plant protection UAV and designed a dual nozzle PWM variable spraying measurement and control system. Its spray actuator is shown in Figure 14. The system uses a PWM controller to wirelessly receive the pulse width, operation state, and centrifugal nozzle control signals with adjustable duty ratio. The PWM controller is used to control the working state of the system after data acquisition and drive amplification. The speed of the diaphragm pump and centrifugal nozzle motor can adjust the instantaneous spraying amount of the system [126].
5. Contribution and Recommendation
5.1. Contribution
5.1.1. Contribution of Leading Countries
5.1.2. Contribution of Leading Institutions
5.1.3. Contribution of Leading Corresponding Authors
5.1.4. Leading Journals in Terms of the Number of Publications
5.1.5. Leading Institutions in Terms of the Number of Publications
5.1.6. Patent Status for Precision Agriculture
5.2. Recommendation—Intelligent Agriculture
6. Conclusions and Prospects
6.1. Conclusions
6.2. Prospects
Author Contributions
Funding
Institutional Review Board Statement
Informed Consent Statement
Data Availability Statement
Conflicts of Interest
References
- Geng, X. Farmland Grid Division and Its Application in Precision Agriculture from Multiple Perspectives. Shandong Agric. Univ. China 2020. [Google Scholar] [CrossRef]
- Wang, F.; Zang, S. Research Progress of the Farming Information Collections Key Technologies on Precision Agriculture. Trans. Chin. Soc. Agric. Mach. 2008, 5, 112–121. [Google Scholar]
- Wen, Y.; Wang, S. Application and Research of Gis Technology in Precision Agriculture Model. Jinwei Heaven Earth 2020, 5, 73–75. [Google Scholar] [CrossRef]
- Zhao, W.; Yang, S.; Yang, Q.; Yang, S. The Development and Thinking of the Precision Agriculture Technology. Agric. Mech. Res. 2007, 4, 67–170. [Google Scholar] [CrossRef]
- Liu, Y. The Agro-ecological Environment Protection Mechanisms and Countermeasures to Food Security. Agric. Mech. Res. 2012, 34, 232–235+240. [Google Scholar] [CrossRef]
- Li, H.; Li, Y.; Li, R. Research Progress on the Effect of lrrigation and Nitrogen Application on Wheat Yield Formation and Soil Fertility. J. Wheat Crops 2022, 2, 1–15. [Google Scholar] [CrossRef]
- Wang, Y.; Peng, Z.; Xue, S.; Yang, Y.; Zhou, Y.; Zhao, L. Effect of Excessive Fertilization on Soil Ecological Environment in the Facility Farmland. J. Agro-Environ. Sci. 2005, S1, 81–84. [Google Scholar] [CrossRef]
- Zhao, Y.; Huang, N.; Liu, J.; Zhou, J.; Li, S.; Li, Y. Effects of Optimized Fertilization on the Yield, Quality and Soil Available Nutrients of Greenhouse Lettuce in Suburban Areas of Beijing. Chin. Veg. 2019, 32, 42–44, 53. [Google Scholar] [CrossRef]
- Chen, J.; Wang, Y.; Li, H.; Wang, L.; Qiu, J.; Xiao, B. Characteristics Soil Nitrate Nitrogen Distribution, accumulation and Nitrogen Balance in Winter Wheat Field Under Drip Fertigationl. J. Plant Nutr. Fertil. 2015, 21, 927–935. [Google Scholar]
- Miller, K.A.; Luck, J.D.; Heeren, D.M.; Lo, T.; Martin, D.L.; Barker, J.B. A Geospatial Variable Rate Irrigation Control Scenario Evaluation Methodology Based on Mining Root Zone Available Water Capacity. Precis. Agric. 2018, 19, 666–683. [Google Scholar] [CrossRef] [Green Version]
- Zhang, M. Information Collection of the Plant Biological Characteristic parameters and Growth Environment of Agriculture and Forestry; China Agricultural University: Beijing, China, 2016. [Google Scholar]
- Duan, A.; Meng, Z. Present Situation of Techniques and Equipments of Monitoring Crop Water Status. China Agric. Sci. Technol. Her. 2007, 1, 6–14. [Google Scholar] [CrossRef]
- Tian, H.; Wang, T.; Liu, Y.; Qiao, X.; Li, Y. Computer Vision Technology in Agricultural Automation—A Review. Inf. Process. Agric. 2020, 1, 1–19. [Google Scholar] [CrossRef]
- Liu, M.; Li, C.; Cao, C.; Li, X.; Che, J.; Zhao, H. Research Status of Key Technologies and Devices for Walnut By-products Processing. J. Chin. Agric. Mech. 2021, 42, 55–74. [Google Scholar] [CrossRef]
- Song, Y.; Liu, B.; Wei, X.; Ba, C.; Heng, J. Application Progress of Wireless Sensor Technology in Precision Agriculture in Era of Big Data. Jiangsu Agric. Sci. 2021, 49, 31–37. [Google Scholar] [CrossRef]
- Mahan, J.R.; Lascano, R.J. Irrigation Analysis Based on Long-term Weather Data. Agriculture 2016, 6, 42. [Google Scholar] [CrossRef] [Green Version]
- Wang, X.; Wen, H.; Li, X.; Fu, Z.; Lu, X.; Zhang, L. Research Progress Analysis of Mainly Agricultural Diseases Detection and Early Warning Technologies. Trans. Chin. Soc. Agric. Mach. 2016, 47, 266–277. [Google Scholar] [CrossRef]
- He, D.; He, Y.; Li, M.; Hong, T.; Wang, C.; Song, S.; Liu, Y. Research Progress of Information Science-related Problems in Precision Agriculture. China Sci. Found. 2011, 25, 10–16. [Google Scholar] [CrossRef]
- Mahan, J.R.; Payton, P.R.; Laza, H.E. Seasonal Canopy Temperatures for Normal and Okra Leaf Cotton Under Variable Irrigation in the Field. Agriculture 2016, 6, 58. [Google Scholar] [CrossRef] [Green Version]
- Liu, M.; Li, C.; Cao, C.; Tuerdi, T.L.H.; Li, X.; Che, J.; Yang, H.; Zhang, X.; Shi, M.; Zhao, H.; et al. Research Progress of Key Technology and Device for Size-grading Shell-breaking and Shell-kernel Separation of Walnut. Trans. Chin. Soc. Agric. Eng. 2020, 36, 294–310. [Google Scholar] [CrossRef]
- Ma, X.; Zhang, Z.; Gao, D.; Li, M.; Sun, H.; Li, S. Design of Crop lnformation Storage Analysis System Based on Cloud Service Architecture. Trans. Chin. Soc. Agric. Mach. 2019, 50, 122–127. [Google Scholar] [CrossRef]
- Li, D.; Yang, H. State-of-the-art Review for Internet of Things in Agriculture. Trans. Chin. Soc. Agric. Mach. 2018, 49, 1–20. [Google Scholar] [CrossRef]
- Zhu, Y.; Chen, S.; Wang, X. Development and Application in Precision Agriculture of GIS. Agric. Mech. Res. 2007, 5, 179–180. [Google Scholar] [CrossRef]
- Liu, G.; Wu, M.; Niu, Z.; Wang, C. Lnvestigation Method for Crop Area Using Remote Sensing Sampling Based on Gf-1 Satellite Data. Trans. Chin. Soc. Agric. Eng. 2015, 31, 160–166. [Google Scholar] [CrossRef]
- Song, Y. Agricultural Information Technology and the Development of Precision Agriculture. Agric. Eng. Technol. 2020, 40, 53–54. [Google Scholar] [CrossRef]
- Zhang, D.; Pan, F.; Diao, Q.; Feng, X.; Li, W.; Wang, J. Seeding Crop Detection Framework Using Prototypical Network Method in Uav Images. Agricultural 2021, 12, 26. [Google Scholar] [CrossRef]
- Wang, P.; Luo, X.; Zhou, Z.; Zang, Y.; Hu, L. Key Technology for Remote Sensing Information Acquisition Based on Micro UAV. Trans. Chin. Soc. Agric. Eng. 2014, 30, 1–12. [Google Scholar] [CrossRef]
- Niu, Q.; Feng, H.; Yang, G.; Li, C.; Yang, H.; Xu, B.; Zhao, Y. Monitoring Plant Height and Leaf Area Index of Maize Breeding Material Based on UAV Digital Images. Trans. Chin. Soc. Agric. Eng. 2018, 34, 73–82. [Google Scholar] [CrossRef]
- Zhang, Z.; Wang, H.; Han, W.; Bian, J.; Chen, S.; Cui, T. Inversion of Soil Moisture Content Based on Multispectral Remote Sensing of UAVs. Trans. Chin. Soc. Agric. Mach. 2018, 49, 173–181. [Google Scholar] [CrossRef]
- Yang, W.; Li, C.; Yang, H.; Yang, G.; Feng, H.; Han, L.; Niu, Q.; Han, D. Monitoring of Canopy Temperature of Maize Based on Uav Thermal Infrared Imagery and Digital Imagery. Trans. Chin. Soc. Agric. Eng. 2018, 34, 68–75. [Google Scholar] [CrossRef]
- Jia, Y.; Li, Y. Application of Remote Sensing Technology in Agriculture. South. Agric. 2020, 14, 179+188. [Google Scholar] [CrossRef]
- Khanal, S.; Fulton, J.; Shearer, S. An Overview of Current and Potential Applications of Thermal Remote Sensing in Precision Agriculture. Comput. Electron. Agric. 2017, 139, 22–32. [Google Scholar] [CrossRef]
- Liu, H. Application of Remote Sensing Technology in Modern Agricultural Engineering. Agric. Eng. Technol. 2020, 40, 49–50. [Google Scholar] [CrossRef]
- Wu, K. Development Direction of Crop Pest Control Science and Technology in China. J. Agron. 2018, 8, 35–38. [Google Scholar]
- Zhang, S.; Zhang, C.; Ding, J. Disease and Insect Pest Forecasting Model of Greenhouse Winter Jujube Based on Modified Deep Belief Network. Trans. Chin. Soc. Agric. Eng. 2017, 33, 202–208. [Google Scholar] [CrossRef]
- Lu, Y.; He, X.; Lu, H.; Li, P. Development status and prospect of precision agriculture in China. Agric. Equip. Technol. 2004, 3, 8–10. [Google Scholar] [CrossRef]
- Zhang, T.; Gong, B.; Liu, Y. Design and Application of Remote Control System of Protected Vegetable Environment Based on the Internet of Things. J. Agric. Univ. Hebei 2016, 39, 119–125. [Google Scholar] [CrossRef]
- Zhao, C.; Xue, X.; Wang, X.; Chen, L.; Pan, Y.; Meng, Z. Advance and Prospects of Precision Agriculture Technology System. Trans. Chin. Soc. Agric. Eng. 2003, 4, 7–12. [Google Scholar] [CrossRef]
- Zhang, X.; Wang, Y.; Fang, X.; Zhao, H. Information Acquisition Techniques of Precision Agriculture. Trans. Chin. Soc. Agric. Mach. 2002, 6, 125–128. [Google Scholar] [CrossRef]
- Geipel, J.; Link, J.; Wirwahn, J.A.; Claupein, W. A Programmable Aerial Multispectral Camera System for In-season Crop Biomass and Nitrogen Content Estimation. Agriculture 2016, 6, 4. [Google Scholar] [CrossRef] [Green Version]
- Zhou, J. Analysis and Prospect of Precision Agriculture Technology System. South. Farm Mach. 2021, 52, 8–11, 14. [Google Scholar] [CrossRef]
- Wu, S.; Ren, J.; Liu, J.; Li, D. Multispectral lmages Sub-pixel Mapping in Agricultural Region. Trans. Chin. Soc. Agric. Mach. 2015, 46, 311–320. [Google Scholar] [CrossRef]
- Rice, D.C.; Carriveau, R.; Ting, D.S.K.; Bata, M.T.H. Evaluation of Crop to Crop Water Demand Forecasting: Tomatoes and Bell Peppers Grown in a Commercial Greenhouse. Agriculture 2017, 7, 104. [Google Scholar] [CrossRef] [Green Version]
- Bu, X.; Guo, H.; Huang, K. Performance and Application of Thermal Infrared Remote Sensing in Farmland Environmental Water Monitoring. Jiangsu Agric. Sci. 2020, 48, 25–30. [Google Scholar] [CrossRef]
- Ma, H.; Huang, W.; Jing, Y. Wheat Powdery Mildew Forecasting in Filling Stage Based on Remote Sensing and Meteorological Data. Trans. Chin. Soc. Agric. Eng. 2016, 32, 165–172. [Google Scholar]
- Abdulridha, J.; Ehsani, R.; De Castro, A. Detection and Differentiation Between Laurel Wilt Disease, Phytophthora Disease, and Salinity Damage Using a Hyperspectral Sensing Technique. Agriculture 2016, 6, 56. [Google Scholar] [CrossRef] [Green Version]
- Cozzolino, D.; Porker, K.; Laws, M. An Overview on the Use of Infrared Sensors for in Field, Proximal and at Harvest Monitoring of Cereal Crops. Agriculture 2015, 5, 713–722. [Google Scholar] [CrossRef] [Green Version]
- Xiao, K.; Xiao, D.; Luo, X. Smart Water-saving Irrigation System in Precision Agriculture Based on Wireless Sensor Network. Trans. Chin. Soc. Agric. Eng. 2010, 26, 170–175. [Google Scholar] [CrossRef]
- Higgins, S.; Schellberg, J.; Bailey, J.S. Improving Productivity and Increasing the Efficiency of Soil Nutrient Management on Grassland Farms in the UK and Ireland Using Precision Agriculture Technology. Eur. J. Agron. 2019, 106, 67–74. [Google Scholar] [CrossRef]
- Lakhankar, T.; Ghedira, H.; Temimi, M.; Sengupta, M.; Khanbilvardi, R.; Blake, R. Non-parametric Methods for Soil Moisture Retrieval from Satellite Remote Sensing Data. Remote Sens. 2009, 1, 3–21. [Google Scholar] [CrossRef] [Green Version]
- Gaikwad, P.; Devendrachari, M.C.; Thimmappa, R.; Paswan, B.; Raja Kottaichamy, A.; Makri Nimbegondi Kotresh, H.; Thotiyl, M.O. Galvanic Cell Type Sensor for Soil Moisture Analysis. Anal. Chem. 2015, 87, 7439–7445. [Google Scholar] [CrossRef]
- Boursianis, A.D.; Papadopoulou, M.S.; Diamantoulakis, P.; Liopa-Tsakalidi, A.; Barouchas, P.; Salahas, G.; Karagiannidis, G.; Wan, S.; Goudos, S.K. Internet of Things (IOT) and Agricultural Unmanned Aerial Vehicles (UAVs) in Smart Farming: A Comprehensive Review. Internet Things 2022, 18, 100187. [Google Scholar] [CrossRef]
- Smolka, M.; Puchberger-Enengl, D.; Bipoun, M.; Klasa, A.; Kiczkajlo, M.; Śmiechowski, W.; Sowiński, P.; Krutzler, C.; Keplinger, F.; Vellekoop, M.J. A Mobile Lab-on-a-chip Device for On-site Soil Nutrient Analysis. Precis. Agric. 2017, 18, 152–168. [Google Scholar] [CrossRef]
- Monteiro, A.; Santos, S.; Gonçalves, P. Precision Agriculture for Crop and Livestock Farming—brief Review. Animals 2021, 11, 2345. [Google Scholar] [CrossRef]
- Matthews, A. The Contribution of Research to Agricultural Policy in Europe. Bio-Based Appl. Econ. 2021, 10, 185–205. [Google Scholar] [CrossRef]
- Sun, H.; Zhang, X.; Yu, Z.; Xi, G. Feature Recognition of Crop Growth Information in Precision Farming. Complexity 2018, 2018, 9250832. [Google Scholar] [CrossRef]
- Yao, L.; Wu, R.; Wu, S.; Jiang, X.; Zhu, Y.; Cao, W.; Ni, J. Design and Testing of an Active Light Source Apparatus for Crop Growth Monitoring and Diagnosis. IEEE Access 2020, 8, 206474–206490. [Google Scholar] [CrossRef]
- Wang, Y.; Peng, D.; Yu, L.E.; Zhang, Y.; Yin, J.; Zhou, L.; Zheng, S.; Wang, F.; Li, C. Monitoring Crop Growth During the Period of the Rapid Spread of COVID-19 in China by Remote Sensing. IEEE J. Sel. Top. Appl. Earth Obs. Remote Sens. 2020, 13, 6195–6205. [Google Scholar] [CrossRef]
- Qiao, X.; Li, C.; Wang, C. The System of Collection and Disposing Based on Image Disposing Technologyfor Crop Information in Greenhouse. J. Huazhong Agric. Univ. 2004, A2, 74–77. [Google Scholar] [CrossRef]
- Zhu, J.; Li, R.; Dong, W.; Zhang, L.; Fang, Y.; Zhang, M. Design of Farmland Microclimate Monitoring System for Disease Pest and Weed Based on Data Preprocessing. Mod. Agric. Technol. 2017, 15, 277–279. [Google Scholar] [CrossRef]
- Dong, Y.; Xu, F.; Liu, L.; Du, X.; Ren, B.; Guo, A.; Geng, Y.; Ruan, C.; Ye, H.; Huang, W.; et al. Automatic System for Crop Pest and Disease Dynamic Monitoring and Early Forecasting. IEEE J. Sel. Top. Appl. Earth Obs. Remote Sens. 2020, 13, 4410–4418. [Google Scholar] [CrossRef]
- Zeng, J.; Lu, Y.; Liu, M.; Jian, G.; Li, X.; Jiang, Y.; Liu, J.; Zhao, Y.; Liu, S. Development and Implementation of an Intelligent Decision Support System for Diagnosis and Management of Cotton Pests. China Plant Prot. Guide 2017, 37, 30–36. [Google Scholar] [CrossRef]
- Yong, M.; Zhang, M.; Wang, S.; Liu, G. A Flex and ArcGIS Server Based System for Farmland Environmental Quality Assessment and Prediction in an Agricultural Producing Area. Comput. Electron. Agric. 2015, 112, 193–199. [Google Scholar] [CrossRef]
- Ming, D. Research on Information Acquisition and Processing System of Farmland Based on GPS. Anhui Agric. Sci. 2010, 38, 2175–2177. [Google Scholar] [CrossRef]
- Tan, H.; Pan, X. Development of Farmland Information Collection System Based on Embedded Electronic Information. Agric. Mech. Res. 2019, 41, 238–241. [Google Scholar] [CrossRef]
- Min, L.; Li, L. lnformation Fast Acquisition System for Farmland Environment Based on RTU. Agric. Netw. Inf. 2012, 12, 19–23. [Google Scholar] [CrossRef]
- Huang, Y. Design of Rice Soil Nutrient Detection System Based on GPS Technology. Agric. Mech. Res. 2021, 43, 99–102, 131. [Google Scholar] [CrossRef]
- Zhou, G.; Zhou, J.; Miao, Y.; Liu, C. Development and Application on GSM-based Monitoring System for Digital Agriculture. Trans. Chin. Soc. Agric. Eng. 2005, 6, 87–91. [Google Scholar] [CrossRef]
- Wu, D. Design and Application of High Precision Positioning System for Hybrid Agricultural Plant Protection UAV Based on GPS and GPRS. Agric. Eng. 2018, 8, 37–40. [Google Scholar] [CrossRef]
- Ma, J.; Zhang, X. Study on Remote Sensing Fieldhy Perspectral Characteristics of Lycium Barbarum Diseases and Pests. Guangdong Agric. Sci. 2015, 42, 165–172. [Google Scholar] [CrossRef]
- Li, W.; Shen, S.; He, P.; Hao, D.; Fang, Y.; Tao, L.; Zhang, S. Low Cost Small Uav Remote Sensing Method for Locating Dead and Diseased Trees. Dev. For. Sci. Technol. 2014, 28, 102–106. [Google Scholar] [CrossRef]
- Yuan, L.; Zhang, H.; Zhang, Y.; Xing, C.; Bao, Z. Feasibility Assessment of Multi-spectral Satellite Sensors in Monitoring and Discriminating Wheat Diseases and Insects. Optik 2017, 131, 598–608. [Google Scholar] [CrossRef]
- Liu, X.D.; Sun, Q.H. Early Assessment of the Yield Loss in Rice Due to the Brown Plant—Hopper Using a Hyper—Spectral Remote Sensing Method. Int. J. Pest Manag. 2016, 62, 205–213. [Google Scholar] [CrossRef]
- Wang, Z. The Detection of Trunk Borer Damage for Platycladus Orientalis Plants Based on Gas Sensor Technology; Zhejiang University: Hangzhou, China, 2020. [Google Scholar] [CrossRef]
- Rui, J. Magnetic Resonance Sensor for Soil Moisture Measurement; Chongqing University: Chongqing, China, 2020. [Google Scholar] [CrossRef]
- Liu, H.; Xu, H.; Shen, Y.; Li, N. Measurement and 3D-reconstruction of Plants Based on Kinect Sensor. Study Agric. Mod. 2016, 37, 995–1000. [Google Scholar] [CrossRef]
- Liu, M.; Li, C.; Cao, C.; Wang, L.; Li, X.; Che, J.; Yang, H.; Zhang, X.; Zhao, H.; He, G.; et al. Walnut Fruit Processing Equipment: Academic Insights and Perspectives. Food Eng. Rev. 2021, 13, 822–857. [Google Scholar] [CrossRef]
- Lin, Y.; Cai, F.; Li, Z. China’s Miracle: Development Strategy and Economic Reform (updated Edition). Qinghai Party Life 2017, 8, 59. [Google Scholar]
- Lu, Y.; Zhong, Y. The Greyzone and Control of Soybean Optima Heading Period a System Control Informa Tion Methodologies & Application. Wuhan Huazhong Univ. Sci. Technol. Press 1994, 1, 168–1171. [Google Scholar]
- Feng, L.; Sun, G.; Mao, S.; Lim, Y.; Han, Y.; Wang, G.; Dong, C.; Zhu, Q. Digital Information Management Decision System for Cotton Production and Growth Based on Farmers. China’s Cotton 2011, 38, 19–24. [Google Scholar] [CrossRef]
- Li, J.; Guo, M.; Gao, L. Application and innovation strategy of agricultural lnternet of Things. Trans. Chin. Soc. Agric. Eng. 2015, 31, 200–209. [Google Scholar]
- Shi, M.; Liu, M.; Li, C.; Cao, C.; Li, X. Design and Experiment of Cam Rocker Bidirectional Extrusion Walnut Shell Breaking Deviice. Trans. Chin. Soc. Agric. Mach. 2022, 1, 140–150. [Google Scholar] [CrossRef]
- Dong, S.; Yuan, C.; Gu, C.; Yang, F. Research on Intelligent Agricultural Machinery Control Platform Based on Multi-discipline Technology Integration. Trans. Chin. Soc. Agric. Eng. 2017, 33, 1–11. [Google Scholar] [CrossRef]
- Qi, G.; Zhou, B.; Niu, Z. A Simulation, Optimization, Decision and Consultation System of Soybean Cultivating Based on ES. Trans. Chin. Soc. Agric. Mach. 2005, 9, 93–96. [Google Scholar] [CrossRef]
- Wang, H.; Lu, X. Cotton Fertilization Expert System Using GIS Technology in Xinjiang Region. Xinjiang Agric. Sci. 2008, S2, 51–56. [Google Scholar] [CrossRef]
- Chen, L.; Zhao, C.; Liu, X.; Du, X. Design and lmplementation of Intelligent Decision Support System for Precision Agriculture. Trans. Chin. Soc. Agric. Eng. 2002, 2, 145–148. [Google Scholar] [CrossRef]
- Liu, X.; Zhu, Y.; Yao, X.; Tian, Y.; Cao, W. WebGIS-based System for Agricultural Spatial Information Management and Aided Decision-making. Trans. Chin. Soc. Agric. Eng. 2006, 5, 125–129. [Google Scholar] [CrossRef]
- Cao, L.; Wang, C.; Zhang, Y.; Li, B.; Du, W.; Feng, G.; Zhang, Z.; Li, B. Design and Implementation of Decision-making System for Tobacco Precision Fertilization in Panzhihua Tobacco Growing Area Based on RIA Web GIS. Acta Tab. Sin. 2015, 21, 94–99. [Google Scholar] [CrossRef]
- Sawyer, J.E. Concepts of Variable Rate Technology with Considerations for Fertilizer Application. J. Prod. Agric. 1994, 7, 195–201. [Google Scholar] [CrossRef]
- Jin, H.; He, J.; Qian, Y. Application of VRT in Precision lrrigation. Water Sav. Irrig. 2003, 1, 46. [Google Scholar] [CrossRef]
- Han, W. Variable Rate Watering and Contour Controlled Precision Sprinkler and Sprinkler Irrigation; Northwest A&F University: Xianyang, China, 2003. [Google Scholar]
- Hu, Z.; Tian, L.; Peng, B.; Wu, F.; Wang, H. The Application of Variable Rate Technology on Agricultural Machines. Agric. Mech. Res. 2009, 31, 226–229. [Google Scholar] [CrossRef]
- Zhou, H.; Ma, X.; Yao, Y. Research Advances and Prospects in the Seeding Technology and Equipment for Tray Nursing Seedlings of Rice. Trans. Chin. Soc. Agric. Eng. 2008, 4, 301–306. [Google Scholar] [CrossRef]
- Chen, X.; Luo, X.; Wang, Z.; Zhang, M.; Hu, L.; Zeng, S.; Mo, Z. Experiment of Synchronous Side Deep Fertilizing Technique with Rice Hilldrop Drilling. Trans. Chin. Soc. Agric. Eng. 2014, 30, 1–7. [Google Scholar] [CrossRef]
- Tang, H.; Wang, J.; Xu, C.; Zhou, W.; Wang, J.; Wang, X. Research Progress Analysis on Key Technology of Chemical Fertilizer Reduction and Efficiency Increase. Trans. Chin. Soc. Agric. Mach. 2019, 50, 1–19. [Google Scholar] [CrossRef]
- Chu, S. Study on the Design and Manufacturing Process of the Key Mechanism of Variable Fertilization Machine; Shihezi University: Shihezi, China, 2016. [Google Scholar]
- Shi, Y.; Chen, M.; Wang, X.; Odhiambo, M.O.; Zhang, Y.; Ding, W. Analysis and Experiment of Fertilizing Performance for Precision Fertilizer Applicator in Rice and Wheat Fields. Trans. Chin. Soc. Agric. Mach. 2017, 48, 97–103. [Google Scholar] [CrossRef]
- Liu, X.; Ding, Y.; Shu, C.; Wang, K.; Liu, W.; Wang, X. Mechanism Analysis and Test of Disturbance and Blockage Prevention of Spiral Cone Centrifugal Fertilizer Apparatus. Trans. Chin. Soc. Agric. Mach. 2020, 51, 44–54. [Google Scholar]
- Liu, X.; Hu, R.; Wang, D.; Lu, B.; Wang, W.; Ding, Y. Optimization and Test of Fertilizer Apparatus Based on Granular Fertilizer Movement Model. Trans. Chin. Soc. Agric. Mach. 2021, 52, 85–95. [Google Scholar] [CrossRef]
- Xie, J.; Li, Z. The Design of Variable Rate Fertilizer Controlling Equipment of Continuously Variable Transmission Driven by the Stepper Motor. J. Jinzhong Univ. 2015, 32, 90–93. [Google Scholar] [CrossRef]
- Tian, H. CAM Design of Vibratory Fertilizer Exhauster. J. Jilin Agric. Univ. 1979, 45–49. [Google Scholar] [CrossRef]
- Zhuang, W.; Wang, X.; Wang, C. Design of Variable Control System for Electronic Mechanical Variable Speed Transmission. Agric. Mach. 2012, 25, 146–149. [Google Scholar] [CrossRef]
- Sun, L.; Zhang, Q.; Chen, X.; Wang, J.; Bao, A.; Zhang, B. Analysis and Experiment of Fertilizing Performance for Precision Fertilizer Applicator in Rice and Wheat Fields. Trans. Chin. Soc. Agric. Eng. 2005, 8, 83–88. [Google Scholar] [CrossRef]
- Zhang, X. Optimization Design and Key Working Parameters of External trough Wheel Type Fertilizer Effect on Fertilizer Performance; Nanjing Agricultural University: Nanjing, China, 2019. [Google Scholar] [CrossRef]
- Wang, B. Simulation and Parameter Optimization of Theworking Process of the Outer Grooved Wheel Fertilizer Distributor Based on Discrete Element Method; Northwest A&F University: Xianyang China, 2017. [Google Scholar]
- Wang, B.; Liu, H. Study on the Fertilizer Amount Control System of the Outer Groove Wheel Type Fertilizer Discharging Device. J. Yangling Vocat. Tech. Coll. 2013, 12, 7–9. [Google Scholar] [CrossRef]
- Lv, H. A New Kind of Method for the Optimizated Design of Outer Groove-Wheel Fertilizer Apparatuses; Jilin University: Jilin, China, 2014. [Google Scholar]
- Li, Z. Study on Control System of the Variable Rate Fertilizer Applicator and Test Analysis; Shihezi University: Shihezi, China, 2015. [Google Scholar]
- Li, D.; Xu, C.; Song, J.; Tian, M.; Xing, X. Development of Remote lntelligent lrrigation Control System Based on lOT. Water Sav. Irrig. 2017, 10, 87–91. [Google Scholar] [CrossRef]
- Wu, Y.; Qi, L.; Zhang, H.; Cheng, Z.; Liu, W.; Xie, D.; Musiu, E. Design and Experiment of Remote Intelligent Spray Control System Based on Embedded Internet. Trans. Chin. Soc. Agric. Eng. 2018, 34, 28–35. [Google Scholar] [CrossRef]
- Zhou, Z.; Wang, X.; Wang, J.; Yan, B. Decision Support System for Variable-rate Spraying Based on GIS. Trans. Chin. Soc. Agric. Eng. 2008, 24, 123–126. [Google Scholar]
- Qiu, B.; Li, H.; Wu, C.; Shi, C.; Zhou, N. On Variable-rate Spraying Equipment and Its Key Technology. J. Jiangsu Univ. (Nat. Sci. Ed.) 2004, 2, 97–101. [Google Scholar] [CrossRef]
- Qiu, B.; Yan, R.; Ma, J.; Guan, X.; Ou, M. Research Progress Analysis of Variable Rate Sprayer Technology. Trans. Chin. Soc. Agric. Mach. 2015, 46, 59–72. [Google Scholar] [CrossRef]
- Zhai, C.; Zhao, C.; Ning, W.; Long, J.; Wang, X.; Weckler, P.; Zhang, H. Research Progress on Precision Control Methods of Air-assisted Spraying in Orchards. Trans. Chin. Soc. Agric. Eng. 2018, 34, 1–15. [Google Scholar] [CrossRef]
- Li, H.; Qiu, B.; Liu, B.; Shi, C.; Ding, Y. Study on Variable Spray Control in Precision Agriculture. Chin. Agric. Mech. 2004, 3, 25–27. [Google Scholar] [CrossRef]
- Chang, X.; Wang, X.; Liu, P. Research on Variable Spray Characteristics of Pressure. Agric. Mech. Res. 2014, 36, 152–155. [Google Scholar] [CrossRef]
- Jia, W.; Hu, H.; Chen, L.; Chen, Z.; Wei, X. Performance Experiment on Spray Atomization and Droplets Deposition of Wind-curtain Electrostatic Boom Spray. Trans. Chin. Soc. Agric. Eng. 2015, 31, 53–59. [Google Scholar]
- Zou, W.; Wang, X.; Feng, Q.; Fan, P.; Jiang, K. Design of Variable Spraying Control System Based on Ultrasonic Target Detection. Agric. Mech. Res. 2021, 43, 58–63, 70. [Google Scholar] [CrossRef]
- Zhang, B.; Zhai, C.; Li, H.; Yang, S. Development Status Analysis of Precision Pesticide Application Techniques and Equipments. Agric. Mech. Res. 2016, 38, 1–5, 28. [Google Scholar] [CrossRef]
- Xue, X.; Liu, P.; Gong, Y.; Zhou, L. Design and Application of Test-bed for Precision Testing Nozzle Integrative Performance. Agric. Mech. China 2006, 2, 94–97. [Google Scholar] [CrossRef]
- Zhang, R.; Li, L.; Fu, W.; Chen, L.; Yin, T.; Tang, Q.; Hewitt, A.J. Spraying Atomization Performance by Pulse Width Modulated Variable and Droplet Deposition Characteristics in Wind Tunnel. Trans. Chin. Soc. Agric. Eng. 2019, 35, 42–51. [Google Scholar] [CrossRef]
- Guo, Y.; Zhang, R.; Chen, L.; Li, L. Research on the Atomization Characteristics of the Nozzle Controlled by PWM. Agric. Mech. Res. 2019, 41, 145–150. [Google Scholar] [CrossRef]
- Wei, X.; Jiang, S.; Zhang, J.; Li, Q. Application Rate Control Characteristics of Blended Pulse Variable Rate Application System. Trans. Chin. Soc. Agric. Mach. 2013, 44, 87–92, 86. [Google Scholar] [CrossRef]
- Gonzalez, R.; Pawlowski, A.; Rodriguez, C.; Guzman, J.L.; Sanchez-Hermosilla, J. Design and Implementation of an Automatic Pressure-control System for a Mobile Sprayer for Greenhouse Applications. Span. J. Agric. Res. 2012, 10, 939–949. [Google Scholar] [CrossRef] [Green Version]
- Huang, X.; Lan, Y.; Yin, X. Design and Test of an Agricultural Variable Nozzle Based on Magnetorheological Fluid. J. South China Agric. Univ. 2019, 40, 92–99. [Google Scholar] [CrossRef]
- Wang, L. Research on Low-Attitude Droplets Deposition and Technologyof Variable Spraying Measurement and Control System based on Multi-Rotor Crop Protection UAV; China Agricultural University: Beijing, China, 2017. [Google Scholar]
- Song, X. Enlightenment of Israel’s Water-saving Agriculture to China’s Eco-agriculture Development. World’s Agric. 2014, 5, 56–58. [Google Scholar] [CrossRef]
- Yang, X. Development Evaluation and Path Selection of Sino-american Precision Agriculture. World’s Agric. 2018, 9, 143–149. [Google Scholar] [CrossRef]
- Zhang, H.; Zhang, Y.; Yang, Y. Development Practice and Enlightenment of Precision Agriculture in USA and Canada. World’s Agric. 2018, 1, 175–178. [Google Scholar] [CrossRef]
- Wang, S.; Zhang, Y.; Zheng, X. Accelerating the Development of Precision Agriculture in China. World’s Agric. 2021, 4, 83–90. [Google Scholar] [CrossRef]
- Chen, Y.; You, J.; Xing, Z.; Hu, H.; Mei, G.; Shi, Z.; Liu, H. Review of Precision Agriculture Development Situations in the Main Countries in the World and Suggestions for China. Trans. Chin. Soc. Agric. Eng. 2021, 37, 315–324. [Google Scholar] [CrossRef]
- Maddikunta, P.K.R.; Hakak, S.; Alazab, M.; Bhattacharya, S.; Gadekallu, T.R.; Khan, W.Z.; Pham, Q.V. Unmanned Aerial Vehicles in Smart Agriculture: Applications, Requirements, and Challenges. IEEE Sens. J. 2021, 21, 17608–17619. [Google Scholar] [CrossRef]
- Popescu, D.; Stoican, F.; Stamatescu, G.; Ichim, L.; Dragana, C. Advanced UAV–WSN System for Intelligent Monitoring in Precision Agriculture. Sensors 2020, 20, 817. [Google Scholar] [CrossRef] [PubMed] [Green Version]
- Jiang, C.; Li, X.; Ying, Y.; Ping, J. A Multifunctional Teng Yarn Integrated into Agrotextile for Building Intelligent Agriculture. Nano Energy 2020, 74, 104863. [Google Scholar] [CrossRef]
- Rovira-Más, F. Sensor Architecture and Task Classification for Agricultural Vehicles and Environments. Sensors 2010, 10, 11226–11247. [Google Scholar] [CrossRef] [Green Version]
- SepúLveda, D.; Fernández, R.; Navas, E.; Armada, M.; González-De-Santos, P. Robotic Aubergine Harvesting Using Dual-arm Manipulation. IEEE Access 2020, 8, 121889–121904. [Google Scholar] [CrossRef]






















| Technology | Benefits | Limitations | 
|---|---|---|
| GPS | GPS provides location information for real-time accurate data collection of intelligent agriculture. | 
 | 
| RS | It has a visual representation of field conditions and monitors crop and field health. | 
 | 
| SENSOR | It can continuously monitor field and weather conditions in real time and provide precise rate control. | 
 | 
| GIS | It can provide accurate geospatial information, topological structure of the site, and prescription map with hierarchical structure for resource allocation. | 
 | 
| Reference | Application | Involved Technologies | Main Objective/Function | 
|---|---|---|---|
| [49] | Soil information management | Soil electrical conductivity sensor | Measure soil solute concentration in assessing soil salinity hazards | 
| [50] | Electrodes for frequency domain (FDR) or time domain reflectometry (TDR) | Measures soil water content | |
| [51] | Tensiometer | Test the water absorption of the root | |
| [52] | Photodiode | Determination of clay, organic matter, and water content in soil | |
| [53] | Ion-selective electrodes (ISEs) and ion-selective field effect transistor sensors (ISFETs) | Used for detection of major plant nutrients in soil (NO3, NH4, K, and PO4) | |
| [54] | Ground penetrating radar (GPR) and gamma ray spectrometry (GRS) | GPR is related to soil hydrological parameters, while GRS data are related to certain soil nutrients and soil texture characteristics | |
| [55] | GNSS reflectometry | A high-resolution soil moisture map is made by using a low-altitude UAV | |
| [56] | Crop growth information | Wavelet energy entropy, wavelet singular entropy, and wavelet variance entropy of plant electrical signals are extracted by wavelet transform, and combined features are constructed. | To identify plant electrical signals | 
| [57] | Based on the morphological characteristics of row crop canopy and spectral monitoring mechanism, an active light source device for crop growth monitoring and diagnosis was developed. | Crop canopy vegetation index—normalized difference vegetation index (NDVI), and ratio vegetation index (RVI)—crop growth parameters—leaf area index (LAI), leaf dry weight (LDW), leaf nitrogen accumulation (LNA), and leaf nitrogen content (LNC) were obtained in real time. | |
| [58] | Digital image of winter wheat canopy based on unmanned aerial vehicle (UAV) (i.e., high-frequency IWD (information)). Variables obtained by continuous wavelet transform | The crop above-ground biomass (AGB) | |
| [59] | Image processing techniques | Calculate the leaf number and leaf area of the plant | |
| [60] | Pest information | Farmland microclimate data preprocessing method based on Wireless Sensor Network. | Analyze and deal with the farmland microclimate at each monitoring point. | 
| [61] | Developed an automatic system based on the network GIS platform, which effectively realized the automatic monitoring of pests and diseases nationwide. | Disease dynamic habitat monitoring and early forecasting. | |
| [62] | Investigation, diagnosis, and decision support system of cotton diseases and pests based on Android system (client) and Windows system (server). | Build a rich knowledge base and realize the application functions of knowledge-based browsing and query, intelligent diagnosis, expert consultation, and information reporting for all app users. | |
| [63] | Farmland environmental information | Based on database technology, Web GIS and model theory, a farmland environmental quality evaluation and prediction system is developed | Direct information about the farmland environmental pollution status and pollution trends can be provided for scientific decision making of soil quality monitoring | 
| [64] | Using the technology of combining GPS positioning information and farmland environmental information, a farmland information acquisition and processing system is studied and developed. | The system can be easily combined with the external processing system to provide data support for agricultural decision making. | |
| [65] | Based on embedded chip, a farmland information acquisition system is designed. | Collect, analyze, and store farmland meteorological, soil, and crop information. | |
| [66] | A rapid information acquisition system based on GPRS + RTU technology is studied and developed. | Quickly and accurately monitor farmland environmental information. | 
| Reference | Technology | Application | 
|---|---|---|
| Yongcheng L. et al. [79] | Es expert system | The establishment of soil automatic classification expert system (SCE) based on ES and GIS can make full use of the soil survey data accumulated over many years and improve the utilization rate of data. | 
| Guoqiang Q. et al. [84] | A computer simulation and optimization decision-making consultation system for high-quality and high-yield cultivation of soybean based on expert system (ES) and geographic information system (GIS) is proposed, which has passed the test and experimental verification and achieved good results. | |
| Haijiang W. et al. [85] | The application of integrated geographic information system (GIS) technology to Xinjiang cotton fertilization expert system (ES) is studied and discussed. By accessing the interface of the expert system through the Internet, users can obtain the geographic information of farmland plots and recommend fertilization in cotton fields. At the same time, it can make comprehensive query of farmland fertility and thematic map. | |
| Liping et al. [86] | Decision support system (DSS) | Based on Internet/Intranet technology, the system studies and integrates the key technologies in precision agriculture—geographic information system (GIS) and expert system (ES), which can provide decision support for precision agriculture practice. By accessing the system, users can not only obtain the geographic information based on farmland plots, but also analyze farmland fertility; At the same time, it can make expert intelligent decisions on varieties, fertilization, irrigation, pest control, and so on. | 
| Type | Principle Block Diagram of Device Composition | Characteristics | 
|---|---|---|
| Electronically controlled mechanical continuously variable transmission |  | It has the advantages of low technical level, simple structure, stable operation, and low cost. It is suitable for medium-sized variable devices. | 
| Motor direct-drive type |  | The control is difficult, and the output torque is small. It is suitable for small and medium variable devices. | 
| Electronic–hydraulic motor type |  | With high technical level, complex structure, and high cost, it is suitable for large variable devices. | 
| Rank | Journal | TC | TA | ACPP | IF | 
|---|---|---|---|---|---|
| 1 | Computers and Electronics in Agriculture | 1843 | 246 | 7.49 | 5.565 | 
| 2 | Remote Sensing | 880 | 132 | 6.67 | 4.848 | 
| 3 | Sensors | 798 | 124 | 6.44 | 3.576 | 
| 4 | Agronomy (Basel) | 391 | 77 | 5.08 | 3.417 | 
| 5 | Precision Agriculture | 634 | 73 | 8.68 | 5.385 | 
| 6 | Transactions of the Asabe | 488 | 59 | 8.27 | 1.188 | 
| 7 | Agriculture (Basel) | 183 | 45 | 4.07 | 2.925 | 
| 8 | Applied Engineering in Agriculture | 256 | 42 | 6.10 | 0.985 | 
| 9 | Engenharia Agricola | 224 | 41 | 5.46 | 0.716 | 
| 10 | IEEE Access | 798 | 34 | 23.47 | 3.367 | 
| Rank | Institutions | TA | TC | ACPP | Country/Region | 
|---|---|---|---|---|---|
| 1 | United States Department of Agriculture Usda | 1233 | 104 | 11.86 | USA | 
| 2 | Universidade De Sao Paulo | 519 | 72 | 7.21 | Brazil | 
| 3 | Consejo Superior De Investigaciones Cientificas Csic | 1461 | 64 | 22.83 | Spain | 
| 4 | State University System of Florida | 1322 | 56 | 23.61 | USA | 
| 5 | University of Florida | 1325 | 55 | 24.09 | USA | 
| 6 | Universidade Estadual Paulista | 353 | 50 | 7.06 | Brazil | 
| 7 | Universidade Federal De Vicosa | 263 | 46 | 5.72 | Brazil | 
| 8 | League of European Research Universities Leru | 980 | 40 | 24.50 | Europe | 
| 9 | University of California System | 1514 | 39 | 38.82 | USA | 
| 10 | China Agricultural University | 1435 | 37 | 38.78 | China | 
| 11 | Universidade Federal De Mato Grosso Do Sul | 252 | 36 | 7.00 | Brazil | 
| 12 | Consiglio Nazionale Delle Ricerche Cnr | 548 | 35 | 15.66 | Italy | 
| 13 | Texas A&M University System | 836 | 35 | 23.89 | USA | 
| 14 | Chinese Academy of Sciences | 541 | 34 | 15.91 | China | 
| 15 | University of California Davis | 1136 | 34 | 33.41 | USA | 
| 16 | Texas A&M University College Station | 556 | 32 | 17.38 | USA | 
| 17 | Universidad Politecnica De Madrid | 953 | 30 | 31.77 | Spain | 
| 18 | Wageningen University Research | 1017 | 30 | 33.90 | Netherlands | 
| 19 | University of Nebraska Lincoln | 507 | 29 | 17.48 | USA | 
| 20 | University of Nebraska System | 507 | 29 | 17.48 | USA | 
| Rank | Author, (PY) | Title | Journal | TC | 
|---|---|---|---|---|
| [132] | Maddikunta et al. (2021) | Unmanned aerial vehicles in smart agriculture: Applications, requirements, and challenges | IEEE Sensors Journal | 40 | 
| [133] | Popescu et al. (2020) | Advanced UAV–WSN system for intelligent monitoring in precision agriculture | Sensors | 39 | 
| [134] | Jiang et al. (2020) | A multifunctional TENG yarn integrated into agrotextile for building intelligent agriculture | Nano Energy | 27 | 
| [135] | Rovira-Más et al. (2011) | Sensor architecture and task classification for agricultural vehicles and environments | Sensors | 22 | 
| [136] | SepúLveda et al. (2012) | Fernández R., Navas E., et al. Robotic aubergine harvesting using dual-arm manipulation | IEEE Access | 19 | 
| Publisher’s Note: MDPI stays neutral with regard to jurisdictional claims in published maps and institutional affiliations. | 
© 2022 by the authors. Licensee MDPI, Basel, Switzerland. This article is an open access article distributed under the terms and conditions of the Creative Commons Attribution (CC BY) license (https://creativecommons.org/licenses/by/4.0/).
Share and Cite
Lu, Y.; Liu, M.; Li, C.; Liu, X.; Cao, C.; Li, X.; Kan, Z. Precision Fertilization and Irrigation: Progress and Applications. AgriEngineering 2022, 4, 626-655. https://doi.org/10.3390/agriengineering4030041
Lu Y, Liu M, Li C, Liu X, Cao C, Li X, Kan Z. Precision Fertilization and Irrigation: Progress and Applications. AgriEngineering. 2022; 4(3):626-655. https://doi.org/10.3390/agriengineering4030041
Chicago/Turabian StyleLu, Yue, Mingzheng Liu, Changhe Li, Xiaochu Liu, Chengmao Cao, Xinping Li, and Za Kan. 2022. "Precision Fertilization and Irrigation: Progress and Applications" AgriEngineering 4, no. 3: 626-655. https://doi.org/10.3390/agriengineering4030041
APA StyleLu, Y., Liu, M., Li, C., Liu, X., Cao, C., Li, X., & Kan, Z. (2022). Precision Fertilization and Irrigation: Progress and Applications. AgriEngineering, 4(3), 626-655. https://doi.org/10.3390/agriengineering4030041
 
         
                                                

 
       