Abstract
The effective resource utilization of steel slag from bulk solid waste can achieve good social, environmental and economic benefits. In order to restrain the volume expansion of steel slag and apply it as a building material, in this work, oxalic acid was used for the treatment of steel slag, and the mechanism of oxalic acid restraining the expansion of steel slag was explored. This study recovered the main metal ions in steel slag while restraining its volume expansion. The volume stability of the eroded steel slag and the phase composition, microstructure, roughness and pore size distribution of the steel slag after oxalic acid erosion were investigated. The hydration process of the steel slag was characterized using the pH value, the ion distribution of the leachate was measured, and the leachate was recovered via ultraviolet catalysis and evaporation crystallization. The results showed that a large number of calcium and iron minerals in the steel slag reacted with adipic acid to form calcium oxalate, which precipitated on the surface and opened pores in the steel slag during the process of adipic acid erosion, which improved the compactness of the steel slag’s surface and improved the volume stability of the steel slag. After erosion, the surface roughness, specific surface area and porosity of the steel slag decreased, and the average pore diameter (μm) decreased from 1.717 to 0.208. In addition, the pH value was stable at approximately 7.3 over long-term interaction with water. The leachate was mainly composed of iron, calcium and silicon ions, accounting for 35.43%, 17.17% and 17.05%, respectively, which were recovered by ethanol and ammonia to obtain calcium oxalate, ferrous oxalate, ammonium oxalate and a metal hydroxide. The hydration activity of the steel slag treated with oxalic acid decreased and the volume expansibility of the steel slag was effectively restrained. The expansion rate of the steel slag decreased from 3.59% to 1.69% and the volume stability of the steel slag improved. The leachate recovery efficiency was high and was close to 100%. The utilization of steel slag as a resource was realized and the environmental problems caused by the steel slag were effectively solved.
Keywords:
erosion; hydration activity; leachate; oxalic acid; recovery; steel slag; volume expansibility 1. Introduction
Steel slag is the bulk solid waste produced by steelmaking. The annual output of steel slag in China is 8–15% of the original steel and the total accumulation of steel slag exceeds 1 billion tons. The comprehensive utilization rate of steel slag in industrially developed countries is as high as 90% and the utilization rate of steel slag in road engineering is approximately 40%. The actual comprehensive utilization rate of steel slag in China is less than 30% and the utilization rate of steel slag used for road engineering is less than 10%. Most of the steel slag is filled or piled up as industrial waste, causing problems such as land occupation and environmental pollution [1,2,3,4].
The application of steel slag in road engineering mainly includes using steel slag powder and steel slag aggregate. Improving steel slag powder’s activity and volume stability are the main factors for applying steel slag to cementitious materials. By grinding steel slag into different levels of fineness and setting different hydration conditions by changing the temperature and pH value, the early hydration rate of steel slag can be accelerated, thus improving the early activity of steel slag [5]. The mortar strength test method can be used to measure the activity of carbide steel slag by adjusting the initial water content to control the carbonization level of steel slag to improve the hydration activity and volume stability of steel slag [6]. Glacial acetic acid, formic acid and oxalic acid can have a good reaction effect on steel slag, which can be used for dry chemical modification and chelation treatment of steel slag powder and fine aggregate, respectively. The hydration activity of steel slag powder and the volume stability of steel slag can be improved [7,8,9]. At present, methods for improving the utilization rate of steel slag powder are a hot topic in China and the application of steel slag aggregate in asphalt mixtures is also its main mode of digestion. When steel slag is used as an aggregate in road materials, the volume stability of steel slag is improved by inhibiting the activity of steel slag. Some studies used hydrated organosilicone resin, cement slurry, a silicone water-proofing agent and a silane coupling agent to wrap the surface of the steel slag, reducing the expansion rate of the steel slag and improving its volume stability [10,11]. At the same time, steel slag is rich in calcium, iron, aluminum and other metal elements, which make use of acid recovery, generating a large amount of heat. An acid solution can effectively leach the calcium, iron, magnesium, vanadium, titanium and other metals in steel slag and most research is generally used to improve steel slag’s fineness, dissolution temperature, and acidity and look at other ways to speed up the metal ion leaching. The dissolved calcium ions can absorb consolidated CO2 and alleviate the greenhouse effect brought about by it, and the resulting steel slag after the metal ions are dissolved can also synthesize anhydrite [12,13,14]. Steel slag can be used to prepare cement. One study applied blast furnace slag as AAC to replace OPC in concrete. By changing the sodium ion content in the solution to control the pH value of the solution, the physical and mechanical properties of the concrete prepared by it were tested and the results showed that its performance was superior to cement-based mortar in terms of the other evaluated parameters [15]. Aggregate concrete with steel slag is also widely used and its antiwater scouring ability was discussed in many studies. Controlling the addition of cement admixture can qualify the performance of the steel slag concrete. At the same time, some studies have shown that concrete with steel slag has high-temperature resistance and radiation abilities, which has little influence on its mechanical properties [16,17,18].
At present, the application of steel slag in building materials is hindered by its volume expansion and hydration activity. The f-CaO in steel slag will generate higher density Ca(OH)2 when it meets water, which will cause the steel slag to expand [2]. However, the existence of silicate minerals in steel slag causes the steel slag to have a certain gelling activity and its hydration speed is slow [8]. However, if we want to speed up the hydration of the silicate minerals in steel slag, it will certainly speed up the hydration of f-CaO, thus promoting the expansion of steel slag. Therefore, steel slag with a high content of f-CaO cannot be used as a cementing material. To sum up, the premise for the large-scale application of steel slag is to solve its volume expansion.
However, the surface coating of steel slag inhibits the hydration reaction of the f-CaO in steel slag by blocking the contact between steel slag and water but it does not eliminate the f-CaO in steel slag. Later in the application process, there will be the risk of expansion. Acid treatment can effectively eliminate the f-CaO in steel slag, improve the volume stability, and contribute to the recovery of some metal elements leached. Therefore, a systematic method was proposed for treating steel slag aggregate by oxalic acid erosion (including the recovery of leachate), and the process of steel slag erosion by oxalic acid, the activity of steel slag erosion and the recovery of leachate were explored. Firstly, the erosion treatment of steel slag was carried out based on a preliminary test and the phase change of steel slag was analyzed by XRF and XRD. The surface morphology, roughness, pore size and element distribution of eroded steel slag were characterized by SEM, VK-150K, BET, MIP and EDX. The hydration process of steel slag was characterized by a pH analyzer. XRF measured the ion distribution of leachate and the leachate was recovered by centrifugation, ultraviolet catalysis and evaporative crystallization. This study mainly solved the expansibility of steel slag so as to replace natural aggregate and apply it to building materials. The extracted metal compounds can be used as industrial compound materials. The mechanism of oxalic acid restraining the expansion of steel slag aggregate was explored, which provides theoretical guidance for the pre-treatment of steel slag and its application in the field of building materials.
2. Materials and Methods
2.1. Raw Materials
In this study, BOF steel slag was used as the raw material. The main chemical composition of the steel slag aggregate is shown in Table 1 and the main physical properties of the steel slag are shown in Table 2. The basic performance indexes of the steel slag refer to the JTG E42-2005 [19].
Table 1.
Chemical composition of the steel slag (wt.%).
Table 2.
Physical properties of the steel slag.
The Tianjin chemical industry produces oxalic acid and the chemical formula is C2H2O4·2H2O. The reagent’s content was no less than 99.0%; colorless; transparent crystal or powder; distilled water.
2.2. Erosion Craft of the Steel Slag
Based on the authors’ previous experiments, the optimal concentration of the erosion solution is 0.4 mol/L and the optimal erosion time is 84 h when the solid–liquid ratio is 1:5 at room temperature. The specific erosion process was as follows: 100 g of steel slag coarse aggregate was placed in a 1000 mL beaker, with 500 g of 0.4 mol/L oxalic acid solution added and stirred for 3 min; then, the steel slag was taken out after 84 h and dried in an oven at 105 °C to obtain the steel slag after erosion. The process is shown in Figure 1.
Figure 1.
Diagram of the process of oxalic acid corroding the steel slag.
2.3. Method of Steel Slag
2.3.1. Sampling
Steel slag aggregate with particle size larger than 4.75 mm has high volume expansion, while steel slag with 4.75–16 mm can be used as aggregate in AC-13 commonly used in road engineering, which has great applicability and can better solve the environmental problems caused by steel slag accumulation and large output [1]. Therefore, this study selected steel slag aggregate with 4.75–16 mm for testing. Before screening, the tested steel slag samples need to be dried in an oven at 105 °C for 6 h. The screening condition is that they need to pass through a sieve with a mesh size of 16 mm but cannot pass through a sieve with a mesh size of more than 4.75 mm. The sampling of steel slag is completed.
2.3.2. Preparation
Different test methods have different requirements for parameters of steel slag samples. The steel slag in this study is mainly divided into original steel slag and eroded steel slag. Unlike the original steel slag, the eroded steel slag is the steel slag that was eroded by oxalic acid, therefore the eroded steel slag needs to be baked again at 105 °C for 6h before it can be prepared. The preparation of steel slag mainly includes powder and solid. The preparation of powder is that the steel slag aggregate needs to be crushed and ground to pass through a sieve with a mesh of 0.075 mm to obtain steel slag sample 1 (original steel slag powder) and steel slag sample 2 (eroded steel slag powder). However, the preparation of the solid is relatively simple. According to the situation, the regular steel slag can be directly selected or crushed, and the surface of the steel slag can not be damaged during the crushing process. Sample 3 of steel slag (original steel slag solid) and sample 4 of steel slag (eroded steel slag solid) are obtained.
2.3.3. Characterization
- (1)
- XRD and XRF
The mineral composition and phase composition of the steel slag samples are characterized by XRD and XRF and the required steel slag samples are powder, which includes steel slag sample 1 and steel slag sample 2. The preparation method is described in the previous section. Operating parameters of XRD, the radiation source was Cu/K target α, the scanning range of diffraction angle 2θ was 5.00~75.00, the wavelength was 0.150 46 nm, the test temperature was 23.0 °C, the tube voltage was 40.0 kV, the tube current was 40 mA, and the scanning rate of diffraction angle 2θ was 4.0° min−1. Operating parameters of XRF, light tube voltage was 20 k V, current was 100 μA, and the detector was SDDultra silicon drift detector.
- (2)
- SEM and EDX
The micro-morphology and elemental composition of the steel slag surface were characterized by SEM and EDX. The required steel slag sample is steel slag solid, which includes steel slag sample 3 and steel slag sample 4, and the specific preparation method was described in the previous section. SEM working parameters, working voltage was 0.0~25.0 kV, beam spot was 1.5~3.5 mm, maximum magnification was 100,000 times, vacuum degree was 8.0~1.0 × 10−5 Torr, and observation distance was 10.0~10.5 mm. EDX working parameters, the working voltage was 0.5–30 kv, the spectrum collection time was more than 100 s, the processing time was 40–100 μm, and the spectrum area was not less than 250 Kcts.
- (3)
- BET and MIP
The specific surface area and pore size distribution of steel slag were characterized by BET and MIP, respectively, and the data of micron and nanometer levels in steel slag aggregate were obtained, the required steel slag sample is steel slag solid, which includes steel slag sample 3 and steel slag sample 4. The working parameters of BET and MIP, the measurement range was not less than 0.0036–1000 μm, and the measurement range was 0–50 psia, 20–60,000 psia, pressure point measurement up to 2000, mercury injection (mercury removal) accuracy of 0.01 uL, volume resolution of 0.003 uL, and measurement accuracy of high- and low-pressure sensors less than or equal to ±0.11%.
- (4)
- VK-150
The surface roughness of steel slag was tested by VK-150, the required steel slag sample is steel slag solid, which includes steel slag sample 3 and steel slag sample 4. Their working parameters were light source tube 405 nm semiconductor laser, detector: photomultiplier, total magnification of 108×–17,280×, optical zoom of 1×–8×, and correct measurement value of ±2%.
2.3.4. Standards and Equipment
The steel slag sampling and screening reference the JGJ 52-2006 [20]. XRD and XRF refer to EJ/T553-1991, GB/T 6730.62-2005 [21,22], SEM and EDX refer to GB/T16594-2008 [23]. BET and MIP refer to the GB/T 21650.3-2011 [24]. VK-150 refers to the GB/T3505-2000 [25]. Among them, the equipment models of XRD, XRF, SEM, BET, MIP, VK-150 and EDX are X’Pert PRO MPD, PANalytical Axios, Hitachi Regulus8100, ASAP2460, AutoPore Iv 9510, KEYENCE VK-X150, EDX1800BS.
2.3.5. Others
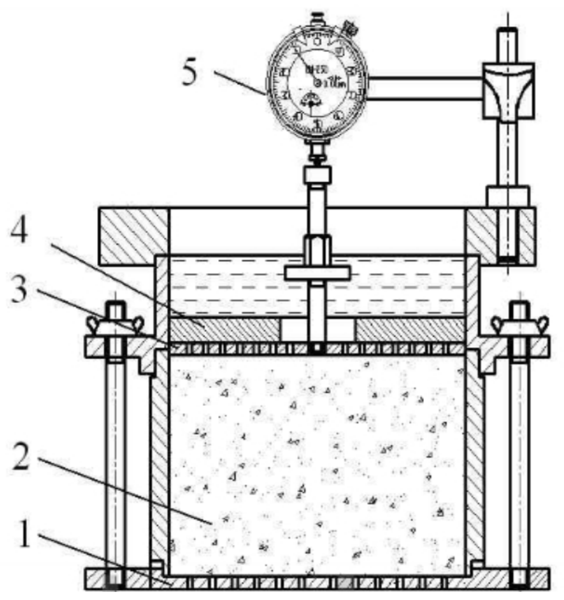
The leachate was characterized by a pH meter, XRF measured the ion distribution of the solution and the leachate was catalyzed by XE-1. The leachate was sealed by a beaker and then placed in an ultraviolet catalytic box for catalysis. The modelwas Q-SUN Xe-1. The volume stability of the steel slag was tested using the YB/T 4328-2012 [26] and the GB/T 24175-2009 [27] including the f-CaO content and the 10 d immersion expansion rate of the steel slag. The specific method for determining the expansion rate was as follows: the steel slag mixture was mixed with the best water content, compacted by a standard heavy compactor and put into the mold with a volume expansion rate as shown in Figure 2. The initial dial indicator was read, soaking the mold in a 90 °C water bath for 6 h to immerse the sample completely, and the daily dial indicator reading of the sample height was recorded before heating for 10 days. The expansion rate was calculated per Formula (1):
where γ is the water immersion expansion rate, %; 120 is the original height of the test piece, mm; d10 is the final reading of the dial indicator, mm; d0 is the initial reading of the dial indicator, mm.
Figure 2.
Steel slag volume expansion of the test setup: 1—lower perforated plate; 2—steel slag; 3—upper perforated plate; 4—surcharge board; 5—dial gauge.
2.4. Recovery Craft of Leachate
Considering the complexity and practical application of the recovery process, two recovery crafts were designed: a conventional recovery craft and an ultraviolet catalytic recovery process. In the conventional recovery process, most of the metal salts have low solubility in ethanol and more easily form precipitation [28]. Therefore, firstly, ethanol was used to neutralize the leachate at a ratio of 1:1; then, the leachate was filtered to obtain CaC2O4 oxalate. Ammonia was added and let stand for 24 h. The substrate was then centrifuged and dried to obtain most of the metal hydroxides. Finally, the leachate was evaporated and crystallized to obtain the ammonium oxalate. This method is suitable for recovering a small number of metal elements in the leachate and large-scale recovery of leachate, as shown in Figure 3. In the ultraviolet catalytic recovery process, firstly, the bottom layer of the leachate was centrifuged to obtain CaC2O4. UV catalysis was conducted on the remaining leachate to generate yellow ferrous oxalate precipitation as shown in Equations (2)–(5). Until the leachate precipitation no longer increased, the centrifugation removed the ferrous oxalate precipitation; ammonia was added to the remaining leachate, generating a reddish-brown ferric hydroxide precipitate [29,30]. Ethanol was added at a ratio of 1:1 before evaporation, obtaining metal hydroxides after standing and centrifugation. The leachate was evaporated and crystallized to obtain high-purity ammonium oxalate, suitable for extracting iron ions from the leachate when a large amount of iron can be dissolved from steel slag, as shown in Figure 4.
Figure 3.
Schematic diagram of conventional recovery of leachate.
Figure 4.
Schematic diagram of ultraviolet catalytic recovery of leachate.
2.5. Experimental Procedures
An experimental flow chart is shown in Figure 5. Because the content of f-CaO in steel slag is high, firstly, the steel slag was sealed and soaked in 0.4 mol/L oxalic acid solution for 84 h, and then a series of tests were carried out on the treated steel slag. The macroscopic properties mainly included the expansion rate and the f-CaO content; the microscopic properties mainly included its microscopic morphology, mineral composition and chemical composition; the semi-macroscopic properties mainly included the specific surface area, pore size distribution and roughness of the steel slag. Ethanol and ammonia water were added to the leachate in sequence and the metal ions in the leachate were recovered by centrifugation, filtration and ultraviolet catalysis.
Figure 5.
Experimental flow chart.
3. Results
3.1. Erosion of the Steel Slag
3.1.1. Volume Stability of the Steel Slag
The volume stability of steel slag is one of the main reasons for applying steel slag in road materials. The factors causing the volume instability of steel slag are mainly f-CaO, f-MgO and an RO phase. Because the determination method for f-MgO is not unified, the current determination method has not achieved rapid and accurate results. There is no specific method for the determination of the RO phase; therefore, the f-CaO content and water immersion expansion rate of steel slag aggregate are the main indexes to evaluate the volume stability of steel slag [2]. Table 3 and Figure 6 show the test results for the f-CaO content and the expansion rate of the steel slag before and after erosion.
Table 3.
The f-CaO content of the steel slag (wt.%).
Figure 6.
Expansion rate of steel slag.
Under the action of oxalic acid, the f-CaO content of the steel slag decreased from 4.841% to 2.325% and the expansion rate decreased from 3.59% to 1.69%. The content of the f-CaO in the steel slag was titrated with ethylene glycol, and then the mass loss of the Ca(OH)2 at 400~550 °C was calculated by TG analysis [31]. The mass of the free total calcium minus the Ca(OH)2 was the content of the f-CaO in the steel slag, which was no more than 3.0% according to the specification. The content of the f-CaO in the steel slag after erosion met the standard’s requirements. According to the specification, the soaking expansion rate of the steel slag can directly indicate its volume stability, which is no greater than 2.0%. Formula (6) was used to fit the 10 d soaking expansion rate of the steel slag [32] and the first derivative of the fitting equation was the growth rate of the steel slag expansion rate, as shown in Table 4. In Dong’s research, the volume expansion of the steel slag was inhibited by soaking the steel slag in hydrophobic materials, and the expansion rate of steel slag with different particle sizes was measured by fitting the 10-day soaking expansion rate with the above formula. The final results showed that the expansion rate of steel slag with particle sizes of 4.75–9.5 and 9.5–13.2 mm decreased by 46.0% and 21.2%, respectively, and the fitting results were basically consistent with the experimental results [32]. In the x interval [0,10], A/B > 1 was satisfied, indicating that the eroded steel slag expansion rate during the test process was lower than that of the original steel slag. In the early stage of soaking, the expansion rate of the steel slag increased significantly. Under 90 °C water bath conditions, the f-CaO in the steel slag will hydrate into Ca(OH)2 with more considerable specific gravity, resulting in volume expansion. Over time, the content of f-CaO decreases due to the hydration reaction, the hydration reaction gradually slows down, and the growth trend of the expansion rate weakens. During the erosion of the steel slag by the oxalic acid, it reacts with some basic oxide f-CaO, which can effectively reduce the content of f-CaO in the steel slag, reducing the expansion rate and effectively improving the volume stability of the steel slag. The expansion rate of the steel slag increases with an increase in the f-CaO content, which presents a positive proportional relationship.
where Y is the expansion rate of the steel slag, %; a and b are constants; e = 2.71828183…; and x is the time in days.
Table 4.
Fitting results of the steel slag expansion rate.
3.1.2. Phase Composition and Microstructure of the Steel Slag
The chemical element pairs of the steel slag before and after erosion are shown in Table 5. After erosion, the main changing elements of the steel slag were calcium and iron. The change range of the calcium elements was not high, mainly because the primary dissolved calcium ions reacted with the oxalic acid and then generated on the surface of the steel slag. A small number of the calcium ions existed in a free form in the leachate.
Table 5.
Chemical elements of the steel slag (wt.%).
The mineral composition of the steel slag before and after erosion is shown in Figure 7. The steel slag used was converter high basicity steel slag, which has a stronger binding ability with acidic groups in asphalt and good adhesion [33]. However, both the f-CaO content and expansion rate did not meet the specification’s requirements. The main mineral components were Ca2SiO4, Ca3SiO5, calcium ferrite (Ca2Fe2O5), an RO phase, CaO, etc. The silicate minerals in the steel slag, such as Ca2SiO4 and Ca3SiO5, were completely crystallized, coarse and dense grains and had a certain gelling activity, but they were difficult to grind into cementitious materials. Iron-containing minerals, such as Ca2Fe2O5, mainly provide high strength for steel slag, while f-CaO and an RO phase are factors that lead to the expansion of steel slag [34]. CaC2O4 can provide a certain strength for steel slag [35]. The mineral composition of the eroded steel slag changes and a diffraction peak for Ca2C2O4 appears. The intensity of the diffraction peak for Ca2SiO4 and Ca3SiO5 decreases. The diffraction peak of CaO changes to Ca(OH)2. Because steel slag is alkaline and many minerals are calcium salts or metal oxides, oxalic acid can form Ca2C2O4 precipitation with the calcium ions in it and promote the hydration of some of the f-CaO [9]. These can be expressed as Equations (7)–(9).
Figure 7.
Mineral composition of the steel slag.
The steel slag was subjected to a high temperature above 1600 °C. The molten steel slag contained excessive calcium oxide and magnesium oxide. At the same time, iron oxide, manganese oxide and magnesium oxide melted into CaO, forming f-CaO, f-MgO, RO and other substances. The high-temperature conditions lead to better mineral crystallization, compact structure, and finally a stable state [34]. Therefore, during the cooling process, a large number of different structures will form such as an RO phase solid solution and vitreous, resulting in a complex and diverse mineral composition and microscopic morphology of the steel slag [36]. The micromorphology of the steel slag before and after erosion is shown in Figure 8. The surface of the original steel slag was porous, with a large number of loose particles, poor density and some low-strength and unstable network structures. After the erosion, the steel slag generated many lumps on its surface and in its pores, with a significant increase in density and a significant decrease in porosity. Combined with the XRD diffraction analysis and the EDX results, it was confirmed that a large number of the lumps were calcium oxalate [37], as shown in Figure 9 and Table 6. In Huo et al.’s research, glacial acetic acid and formic acid were used to treat steel slag powder to improve its early hydration activity. During the treatment, CaCO3 and Ca(OH)2 in the steel slag reacted with the glacial acetic acid to generate CaC2O4. It is worth noting that after the acid-treated steel slag was used as cementing material, the concrete specimens formed by it did not crack after autoclaving and the volume stability of the steel slag improved [7,8]. The results show that acid can inhibit the volume expansion of steel slag.
Figure 8.
Surface morphology of the steel slag: original steel slag (a,b); eroded steel slag (c,d).
Figure 9.
EDX results of the eroded steel slag surface area.
Table 6.
Chemical elements of the surface area of the eroded steel slag (wt.%).
3.2. Variation Law of the Hydration Activity of the Steel Slag
3.2.1. Hydration Reaction of the Steel Slag
The hydration of the f-CaO and a portion of the calcium silicate minerals in the steel slag resulted in a change in the pH value of the system, whereas the expansion of the steel slag was primarily due to the hydration of the f-CaO forming Ca(OH)2, with a volume expansion of 91.7% [38]. The higher the degree of hydration, the greater the expansion trend of the steel slag. Figure 10 shows the change in the pH value of the original steel slag and the eroded steel slag during the hydration reaction over 10 days. The pH value of the original steel slag changed significantly early in the hydration reaction, increasing from 8.5 to 10.54 after 4 days, and it showed a trend of slow growth in the later stage. However, the pH value of the eroded steel slag changed slowly during hydration and the overall change tended to be stable. Figure 11a,b show the hydration process of the original steel slag for 1 and 3 days. The f-CaO and calcium silicate in the steel slag reacted with water to generate Ca(OH)2 and the Ca(OH)2 reacted with CO2 in the air to generate CaCO3, as shown in Equations (10), (11), (12) [39]. The hydration and carbonization reactions intensified over time. The precipitation of CaCO3 increased during the hydration. Figure 11c,d show the hydration process of the eroded steel slag for 1 and 3 days. The majority of the f-CaO and a portion of the calcium silicate in the eroded steel slag were acidified into calcium oxalate. The hydration and carbonization reactions were low and there was no obvious CaCO3 precipitation.
Figure 10.
pH value of the steel slag hydration process.
Figure 11.
Hydration process of the steel slag: original steel slag (a,b); eroded steel slag (c,d).
3.2.2. Surface Roughness and Pore Size Distribution of the Steel Slag
The surface roughness has a great influence on steel slag. The higher the surface roughness, the lower the surface regularity, and the larger the specific surface area, the larger the contact surface with water [40]. The higher the activity of steel slag, the more the expansible substances (i.e., f-CaO and f-MgO) in the steel slag are likely to hydrate with water, resulting in the expansion and cracking of steel slag. At the same time, the larger the surface roughness, the easier it is to wear, which reduces the wear resistance of steel slag. In order to understand the change in the surface roughness of the steel slag after erosion, the surface roughness of the steel slag before and after erosion was measured using the difference in the height of the steel slag’s surface, and the result is shown in Figure 12. The color depth is representative of the concave and convex degree, where blue is the sagging area and red is the bulge. Table 7 shows the red and blue area proportions and the size of the roughness on the surface of the steel slag. The proportions of the red and blue areas are consistent with Figure 12a and are both larger than those in Figure 12b. The changes in the red and blue areas and the height difference from the original steel slag surface are obvious and there are many concave and convex areas with larger roughness. In contrast, the surface roughness of the eroded steel slag was smoother and the roughness of the eroded steel slag surface decreased from 10.089 to 7.531 μm. The surface of the original steel slag had a porous structure with a large porosity. After being eroded by oxalic acid, the pores on the surface were filled by calcium oxalate precipitation, increasing the compactness and decreasing the roughness, which accords with the above SEM analysis results.
Figure 12.
Three-dimensional morphologies of the steel slag surface: original steel slag (a); eroded steel slag (b).
Table 7.
Proportion of the color areas and roughness.
Table 8 shows the test results of the pore size distribution of the steel slag before and after erosion. The specific surface area, porosity, pore area, pore volume and average porosity of the steel slag eroded by ethylene acid all decreased, which is consistent with the result that the roughness of the steel slag decreased. Figure 13 shows the change in the specific surface area of the steel slag. The overall specific surface area of the original steel slag was higher than that of the eroded steel slag, and the growth trend of the specific surface area was greater than that of the eroded steel slag. Figure 14 shows the pore volume and pore width of the original steel slag and the eroded steel slag. The overall pore volume of the eroded steel slag decreased significantly from the nanopore to the micron pore level. The formation of calcium oxalate effectively filled most of the pores on the surface of the steel slag and, at the same time, the steel slag was lower than the surface area, reducing the porosity of the steel slag, which reduced the steel slag and the contact area of the water. The hydration activity of the steel slag was effectively reduced and, at the same time, the hydration reaction of the f-CaO was consumed and promoted, and the expansion risk of the steel slag was greatly reduced.
Table 8.
Pore size distribution of the steel slag.
Figure 13.
Specific surface area of the steel slag.
Figure 14.
Pore volume and width of the steel slag: nm (a); um (b).
It is worth noting that this paper mainly focused on steel slag aggregate. The research conducted by Huo et al. is mainly aimed at improving the hydration activity of steel slag powder so that it can be used as a cementing material. After acidification, the surface roughness and specific surface area of steel slag powder increase due to the formation of calcium acetate and calcium formate [8,9]. Contrary to the research by Huo et al., this study was mainly aimed at inhibiting the hydration activity of steel slag in order to inhibit the hydration of steel slag when it meets water again. However, the aggregate of steel slag has a porous structure. When the steel slag is treated with oxalic acid, the generated calcium oxalate effectively fills the pores on the surface of the steel slag, reducing the roughness and specific surface area of the steel slag, which decreases the contact area of the steel slag when it meets water again. However, the easily hydratable substances on the surface of the steel slag are reacted by oxalic acid, resulting in a stable state when the steel slag meets water.
3.3. Recovery Effect of the Leachate
Adopting oxalic acid to treat steel slag can not only restrain the volume expansion of steel slag but also leach out most of the metal ions in steel slag, and the treated leachate contains most of the metal ions. At this time, the leachate can pollute the environment and cannot be dumped directly. Therefore, in order to solve the environmental problems caused by leachate, ethanol, ammonia and other solutions are mainly added, and the metal elements in the leachate are extracted by evaporation and crystallization, which solves the problem of the difficult treatment of waste liquid. It is worth noting that the recovery of leachate has a certain value. Therefore, it is very necessary to discuss the recovery efficiency in this section.
Specific measures should be taken to treat and recover the leachate and the ions in the leachate [41,42]. Table 9 shows the distribution of the primary ions in the leachate. The results show that the primary dissolved ions in the leachate were calcium and iron, which accords with the element change results of the steel slag before and after erosion. Steel slag has various types and complex mineral compositions; thus, different recovery measures should be taken for steel slag. Taking the experimental steel slag as an example, the ion distribution of the leachate can roughly be divided into two categories: (1) If calcium is the main element in the leachate and the content of other metal elements is low, the conventional recovery craft should be used. Ethanol was added to the leachate, and the underlying substance was centrifuged to obtain calcium oxalate by drying as shown in Figure 15a. Ammonia was added to the remaining leachate, and after stirring and standing, hydroxides were obtained by centrifugal drying as shown in Figure 15b. Finally, the leachate was vaporized and crystallized to obtain ammonium oxalate as shown in Figure 15c. (2) If there are many iron ions in the leachate, the ultraviolet catalytic recovery process should be adopted. After letting the natural leachate stand, the leachate was centrifugated to obtain the underlying content and then dried to obtain calcium oxalate, as shown in Figure 15a. The remaining leachate was placed in an ultraviolet light box and underwent ultraviolet light catalysis, the underlying content was catalyzed and then dried to obtain ferrous oxalate, as shown in Figure 15d. Ammonia was added to the remaining leachate; after mixing, it was left to stand and then centrifugal drying was conducted to obtain ferric hydroxides, as shown in Figure 15e, and, finally, ammonium oxalate was obtained by evaporative crystallization of the leachate, as shown in Figure 14c. The leachate recovery by the above process was better and the recovery rate was close to 100%.
Table 9.
Distribution of the main ions in the leachate (wt.%).
Figure 15.
Recovery of the leachate: calcium oxalate (a); ammonium oxalate (b); hydroxide (c); ferrous oxalate (d); ferric hydroxide (e).
The equations involved in the process were as follows:
Due to the existence of free calcium ions and oxalate ions in the treatment solution, adding ethanol to promote the generation of calcium oxalate:
After ultraviolet catalysis, ferric ions in the leachate are reduced to ferrous ions, which react with oxalate ions to generate ferrous oxalate:
The strong alkali property of ammonia water reacts with ferric ions not involved in the reduction to form ferric hydroxide:
Finally, the residual substance after heating and evaporation is ammonium oxalate, and its formation process is as follows:
4. Conclusions
In this study, an oxalic acid solution was prepared to treat steel slag to reduce its volume expansion. XRD, XRF, SEM, BET, VK-150, MPI and EDX were used to study its mineral composition, hydration activity, micromorphology, roughness and pore size distribution, and oxalic acid’s mechanism of eroding steel slag was obtained. Finally, the leachate was recovered by evaporation and crystallization. The following conclusions were obtained:
(1) The volume stability of the steel slag eroded by oxalate acid was effectively improved and the expansion rate decreased from 3.59% to 1.69%. Oxalic acid promoted the hydration of f-CaO and silicate minerals on the surface of the steel slag and consumed the calcium ions in them. The soft particles and net structures on the surface of the steel slag were replaced and filled by massive calcium oxalate with a certain strength, which improved the compactness of the steel slag’s surface;
(2) In the process of oxalic acid’s erosion of the steel slag, most of the silicate minerals and free calcium oxide on the surface of the steel slag were consumed and promoted, which led to the weakening of the hydration reaction of the steel slag and a relatively stable pH value of approximately 7.3. At the same time, calcium oxalate filled most of the pores on the surface of the steel slag and its surface roughness, specific surface area, porosity and average pore diameter were greatly reduced, which effectively reduced the hydration activity of the steel slag, thus restraining the volume expansion caused by the hydration reaction of the steel slag;
(3) The main metal elements in the leachate were iron and calcium. By adding ethanol and ammonia water and adopting centrifugation, ultraviolet catalysis, evaporative crystallization and other methods, recyclables, such as calcium oxalate, ferrous oxalate and ferric hydroxide, were obtained. It is worth noting that all kinds of recyclables have a certain economic value. This method can effectively treat and recover the leachate and the metal ions within it; the treatment and recovery effect was good and was close to 100%. The recycling of solid waste and leachate effectively realizes the sustainable utilization of solid waste steel slag.
Author Contributions
Conceptualization, X.H. and F.Y.; methodology, X.H. and H.H.; validation, X.H., F.Y. and R.G.; formal analysis, F.Y.; investigation, X.H.; resources, F.Y.; data curation, R.G.; writing—original draft preparation, X.H.; writing—review and editing, X.H.; visualization, H.H.; H.L.; supervision, R.G.; project administration, X.H.; funding acquisition, F.Y. All authors have read and agreed to the published version of the manuscript.
Funding
This research was supported by Yunnan Major Scientific and Technological Projects (grant no. 202102AG050043).
Institutional Review Board Statement
Not applicable.
Informed Consent Statement
Not applicable.
Data Availability Statement
Not applicable.
Conflicts of Interest
The authors declare no conflict of interest.
Abbreviations
The following abbreviations are used in this manuscript:
| Term | Abbreviation |
| Activated alkali cements | AAC |
| Ordinary Portland cement | OPC |
| X-ray fluorescence spectrometer | XRF |
| X-ray diffraction | XRD |
| Scanning electron microscopy | SEM |
| 3D laser microscopic imaging system | VK-150 |
| Automatic mercury injection apparatus | MIP |
| Energy spectrum analysis | EDX |
| Automatic specific surface area and porosity analyzer | BET |
| Free calcium oxide | f-CaO |
| Free magnesium oxide | f-MgO |
| Dicalcium silicate | Ca2SiO4 |
| Calcium ferrite | Ca2Fe2O5 |
| Calcium hydroxide | Ca(OH)2 |
| Calcium carbonate | Ca(CO)3 |
| Tricalcium silicate | Ca3SiO4 |
| Ultraviolet irradiation box | XE-1 |
| Calcium oxalate | Ca2C2O4 |
| Ferrous oxalate | FeC2O4 |
| Ferric hydroxide | Fe(OH)3 |
| Ammonium oxalate | (NH4)C2O4 |
| Oxalic acid | H2C2O4 |
References
- Wu, S.P.; Cui, P.D.; Xie, J.; Liu, Q.T.; Pang, L. Expansive Inhibition Method of Steel Slag Aggregate and Volume Stability of Mixture: A Review. China J. Highw. Transp. 2021, 34, 166–179. [Google Scholar]
- He, L.; Zhan, C.Y.; Lv, S.T.; James, G.; Gao, J.; Karol, K.J.; Jan, V.; Xie, J.; Lidija, R.; Lling, T.Q. Application Status of Steel Slag Asphalt Mixture. J. Traffic Transp. Eng. 2020, 20, 15–33. [Google Scholar]
- Dong, Q.; Wang, G.T.; Chen, X.Q.; Tan, J.; Gu, X.Y. Recycling of Steel Slag Aggregate in Portland Cement Concrete: An Overview. J. Clean. Prod. 2020, 282, 124447. [Google Scholar] [CrossRef]
- Huang, S.Y.; Huo, B.B.; Chen, C.; Zhang, Y.M. The Influence of Metakaolin on the Hydration of Steam-cured Steel Slag Blended Cement. Mater. Rep. 2022, 36, 73–78. [Google Scholar]
- Qiang, W.; Yan, P.Y. Hydration Properties of Basic Oxygen Furnace Steel Slag. Constr. Build. Mater. 2010, 24, 1134–1140. [Google Scholar]
- Liang, X.J.; Ye, Z.M.; Chang, J. Early Hydration Activity of Composite with Carbonated Steel Slag. J. Chin. Ceram. Soc. 2012, 40, 226–233. [Google Scholar]
- Huo, B.B.; Li, B.L.; Chen, C.; Zhang, Y.M. Surface Etching and Early Age Hydration Mechanisms of Steel Slag Powder with Formic Acid. Constr. Build. Mater. 2021, 280, 122500. [Google Scholar] [CrossRef]
- Huo, B.B.; Li, B.L.; Chen, C.; Zhang, Y.M. Mechanism and Properties of Glacial Acetic Acid Modified Steel Slag Powder via Dry Chemical Modification Method. J. Chin. Ceram. Soc. 2021, 49, 948–954. [Google Scholar]
- Ding, Y.C.; Cheng, T.W.; Liu, P.C.; Lee, W.H. Study on the Treatment of BOF Slag to Replace Fine Aggregate in Concrete. Constr. Build. Mater. 2017, 146, 644–651. [Google Scholar] [CrossRef]
- Chen, Z.W.; Gong, Z.L.; Jiao, Y.Y.; Wang, Y.; Shi, K.; Wu, J.C. Moisture Stability Improvement of Asphalt Mixture Considering the Surface Characteristics of Steel Slag Coarse Aggregate. Constr. Build. Mater. 2020, 251, 118987. [Google Scholar] [CrossRef]
- Ma, L.L.; Xu, D.B.; Wang, S.Y.; Gu, X.Y. Expansion Inhibition of Steel Slag in Asphalt Mixture by a Surface Water Isolation Structure. Road Mater. Pavement 2020, 21, 2215–2229. [Google Scholar] [CrossRef]
- Zhu, B.R.; Yang, Q.B.; Yao, D.W.; Yang, G.L. Study on Extraction of Calcium from Steel Slag with Acetic Acid. J. Tongji Univ. (Nat. Sci.) 2009, 37, 99–102. [Google Scholar]
- Ragipani, R.; Bhattacharya, S.P.; Suresh, A.K. Understanding Dissolution Characteristics of Steel Slag for Resource Recovery. Waste Manag. 2020, 117, 179–187. [Google Scholar] [CrossRef]
- Ju, J.R.; Feng, Y.L.; Li, H.R.; Xu, C.L.; Yang, Y. Efficient Separation and Recovery of Vanadium, Titanium, Iron, Magnesium, and Synthesizing Anhydrite from Steel Slag. Mining. Metall. Explor. 2022, 39, 733–748. [Google Scholar] [CrossRef]
- Markssuel, T.M.; Afonso, R.G.A.; Leandro, B.O.; Gustavo, C.X.; Carlos, M.F.V. Mechanical, Physical and Durability Properties of Activated Alkali Cement Based on Blast Furnace Slag as a Function of %Na2O. CaseStud. Constr. Mater. 2021, 15, e00723. [Google Scholar]
- Ashraf, M.H.; Alsaeed, A.E.S.M.; Ibrahim, S.A. Simulation of the Behavior of Pressurized Underwater Concrete. Alex. Eng. J. 2015, 54, 183–195. [Google Scholar]
- Heniegal, A.M.A.; Maaty, A.A.E.S.; Agwa, I.S. Influence of Anti Washout Admixtures and Coarse Aggregate Types on Self-flowing Underwater Concrete Properties. Int. J. Civ. Eng. 2016, 6, 245–262. [Google Scholar]
- Mohamed, A.; Abdullah, M.Z.; Bassam, A.T.; Ibrahim, S.A. Effect of High Temperatures on Mechanical, Radiation Attenuation and Microstructure Properties of Heavyweight Geopolymer Concrete. Struct. Eng. Mech. 2021, 80, 181–199. [Google Scholar]
- JTG E42-2005; Test Methods for Aggregate of Highway Engineering. China Standards Press: Beijing, China, 2005.
- JGJ 52-2006; Standard for Technical Requirements and Test Method of Sand and Crushed, Stone (or Gravel) for Ordinary Concrete. China Standards Press: Beijing, China, 2006.
- EJ/T 553-1991; Determination of Unit Cell Parameters of Minerals-Powder X-ray Diffraction Method. China Standards Press: Beijing, China, 1991.
- GB/T 6730.62-2005; Iron Ores-Determination of Calcium, Silicon, Manganese, Titanium, Phosphorusmagnesium, Aluminium and Barium Content-Wavelength Dispersive X-ray Fluorescence Spectrometric Method. China Standards Press: Beijing, China, 2005.
- GB/T 16594-2008; General Rules for Measurement of Length in Micron Scale by SEM. China Standards Press: Beijing, China, 2008.
- GB/T 21650.3-2011; Pore Size Distribution and Porosity of Solid Materials by Mercury Porosimetry and Gas Adsorption-Part 3:Analysis of Micropores by Gas Adsorption. China Standards Press: Beijing, China, 2011.
- GB/T 3505-2000; Geometrical Product Specfications (GPs)—Surface Texture: Profile method—Terms, Definitions and Surface Texture Parameters. China Standards Press: Beijing, China, 2000.
- YB/T 4328-2012; Method for the Determination of Free Calcium Oxide Content in Steel Slag. China Standards Press: Beijing, China, 2012.
- GB/T 24175-2009; Test Method for Stability of Steel Slag. China Standards Press: Beijing, China, 2009.
- Huo, B.B.; Li, B.L.; Luo, Y.L.; Zhang, Y.M.; Wang, D.M. Morphological and Mineralogical Characteristics of Phosphoric Acid Etched Steel Slag. J. Build. Mater. 2022, 25, 591–597. [Google Scholar]
- Dorian, P.G.; Rubén, V.M.; Margarita, H.E. Solar Photoassisted Advanced Oxidation of Synthetic Phenolic Wastewaters Using Ferrioxalate Complexes. Sol. Energy 2008, 83, 306–315. [Google Scholar]
- Ambikadevi, V.R.; Lalithambika, M. Effect of Organic Acids on Ferric Iron removal from Iron-Stained Kaolinite. Appl. Clay. Sci. 2000, 16, 133–145. [Google Scholar] [CrossRef]
- George, W. Determination of the Expansion Force of Coarse Steel Slag Aggregate-ScienceDirect. Constr. Build. Mater. 2010, 24, 1961–1966. [Google Scholar]
- Dong, C.L. Expansion Inhibition Mechanism of Steel Slag with Hydrophobic Surface and Properties of Its Asphalt Mixture. Master’s Thesis, Southeast University, Nanjing, China, 2019. (In Chinese). [Google Scholar]
- Xie, J. Research on the Preparation, Performance and Application of Basic Oxygen Slag Based Asphalt Concrete. Master’s thesis, Wuhan University of Technology, Wuhan, China, 2013. (In Chinese). [Google Scholar]
- Zhao, J.H.; Yan, P.Y. Volume stability and stabilization treatment of steel slag in China. Bull. Chin. Ceram. Soc. 2017, 36, 477. [Google Scholar]
- Doherty, B.; Pamplona, M.; Selvaggi, R.; Miliani, C.; Matteini, M.; Sgamellotti, A.; Brunetti, B. Efficiency and Resistance of the Artificial Oxalate Protection Treatment on Marble Against Chemical Weathering. Appl. Surf. Sci. 2007, 253, 4477. [Google Scholar] [CrossRef]
- Tang, M.S.; Yuan, M.X.; Han, S.F.; Shen, X. The Crystalline State of MgO, FeO and MnO in Steel Slag and the Soundness of Steel Slag Cement. J. Chin. Ceram. Soc. 1979, 7, 35–46. [Google Scholar]
- Arvaniti, E.C.; Lioliou, M.G.; Paraskeva, C.A.; Ostvold, T.; Koutsoukos, P.G. Calcium Oxalate Crystallization on Concrete Heterogeneities. Chem. Eng. Res. Des. 2010, 88, 1455. [Google Scholar] [CrossRef]
- Wang, G.; Wang, Y.; Gao, Z. Use of Steel Slag as a Granular Material: Volume Expansion Prediction and Usability Criteria. J. Hazard. Mater. 2010, 184, 555. [Google Scholar] [CrossRef] [PubMed]
- Chen, Z.W.; Xie, J.; Xiao, Y.; Chen, J.Y.; Wu, S.P. Characteristics of Bonding Behavior between Basic Oxygen Furnace Slag and Asphalt Binder. Constr. Build. Mater. 2014, 64, 60–66. [Google Scholar] [CrossRef]
- Huo, B.B.; Li, B.L.; Huang, S.Y.; Chen, C.; Zhang, Y.M.; Banthia, N. Hydration and Soundness of Phosphoric Acid Modified Steel Slag Powder. Constr. Build. Mater. 2020, 254, 119319. [Google Scholar] [CrossRef]
- Ramalingam, M.; Masilamani, A.; Illmin, C.; Mayakrishnan, P. Effect of Surface-Treated Energy Optimized Furnace Steel Slag as Coarse Aggregate in the Performance of Concrete under Corrosive Environment. Constr. Build. Mater. 2021, 284, 122840. [Google Scholar]
- Zhang, H.; Zhang, X.Y.; Long, H.M. Spectroscopic Analysis of Weak Acid Modified Steel Slag Powder. Spectrosc. Spectr. Anal. 2018, 38, 3502–3506. [Google Scholar]
Publisher’s Note: MDPI stays neutral with regard to jurisdictional claims in published maps and institutional affiliations. |
© 2022 by the authors. Licensee MDPI, Basel, Switzerland. This article is an open access article distributed under the terms and conditions of the Creative Commons Attribution (CC BY) license (https://creativecommons.org/licenses/by/4.0/).














