A Review on State Estimation Techniques in Active Distribution Networks: Existing Practices and Their Challenges
Abstract
:1. Introduction
2. Distribution State Estimation: Model-Based Approaches
3. Distribution State Estimation: Distributed Approach
- a.
- Level of Area Overlapping: Figure 2 shows the different configurations of area overlapping: 1—No overlapping, 2—Minimum overlapping, 3—the extended overlapping.
- 1-
- No overlapping: there is no common node, as seen between areas A and D. State estimation calculation in each area is autonomous. The accuracy of the results from each area can be improved in the integrated step by considering the border from the adjacent area.
- 2-
- Minimum overlapping: there is only one common node, as seen between areas A and B. The benefit of this configuration is the ability to install one measuring device at the common boundary bus to guarantee the observability of both areas.
- 3-
- Extended overlapping: there are two or more common nodes, as seen between areas C and D, where there are three common nodes. As the number of common nodes increases, state estimation algorithms in each area may become more complex in terms of computation. In this configuration, areas communicate and exchange information with their neighboring areas in order to update the results of the state estimation algorithms.

- b.
- Execution time: The second criterion is the execution time of the state estimation process, which should be considered in DS-DSE. There are two approaches for performing local state estimation: series and parallel implementation [67,68,69]. Each approach differently addresses the common issues, including lack of measurements, communication rates, and execution time.

- c.
- Computing Architecture: In the DS-DSE approach, the architecture of collecting data and the estimated states are important [70]. There are two forms of communication, namely centralized and decentralized, shown in Figure 4. In the decentralized form, each area has its own control center to process local data to perform the state estimation algorithm [71]. In addition, there is a central control center that receives the results from the state estimator of each area to synchronize them and monitor the performance of the whole network. In the centralized architecture, as shown in Figure 4, there is only a central control center that processes the network data and the measurements from each area [72]. The data from each area is sent to the main control center and state estimation calculation is performed centrally. The rate of communication and computation in the centralized architecture are faster than in the decentralized architecture, since there is no communication among the areas, except in the overlapping areas [73].
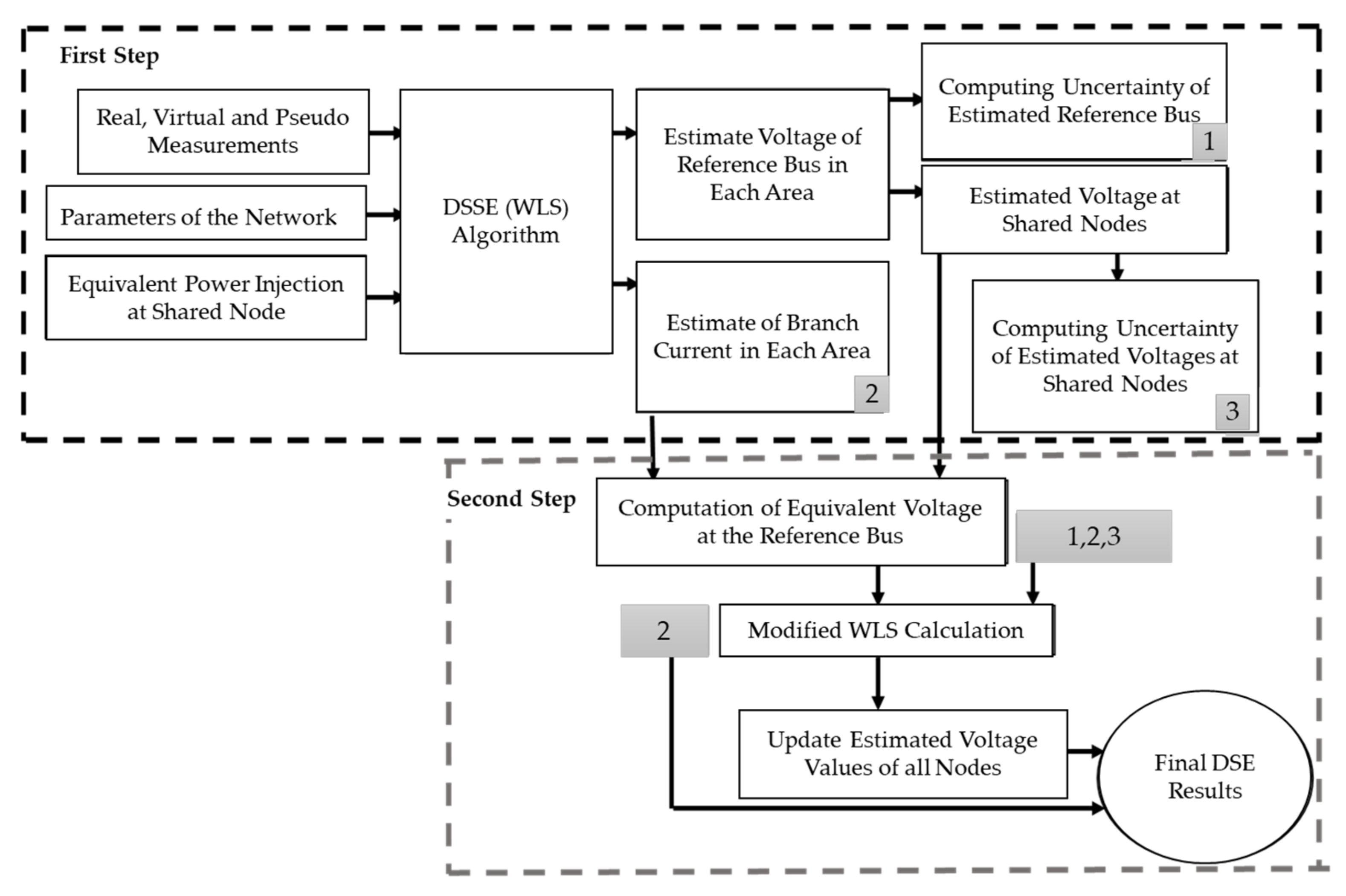
DS-DSE Procedures
- 1-
- Since SE calculation is performed in each area parallelly, the execution time of SE processing decreases significantly.
- 2-
- DS-DSE accuracy is determined after each step based on the measurement precision. So, uncertainty evaluation [82] of SE results is also possible when more complicated measurement functions are available.
- 3-
- Since SE calculation is performed independently in each area, different SE algorithms can be used in each area.
- 4-
- The communication capacity requirement, the necessary computation, and the storage requirement are divided into among areas.
4. Distribution State Estimation: Data-Driven Approaches
5. General Consideration of Distribution System State Estimation Approaches
6. Conclusions and Future Work
Author Contributions
Funding
Institutional Review Board Statement
Informed Consent Statement
Data Availability Statement
Acknowledgments
Conflicts of Interest
References
- Khorshidi, R.; Shabaninia, F.; Niknam, T. A new smart approach for state estimation of distribution grids considering renewable energy sources. Energy 2016, 94, 29–37. [Google Scholar] [CrossRef]
- Mulukutla, S.S.; Overbye, T.; Glover, J.D. Power System Analysis and Design; Cengage Learning: Boston, MA, USA, 2012. [Google Scholar]
- Džafić, I.; Jabr, R.A. Real time multiphase state estimation in weakly meshed distribution networks with distributed generation. IEEE Trans. Power Syst. 2017, 32, 4560–4569. [Google Scholar] [CrossRef]
- Brinkmann, B.; Bicevskis, K.; Scott, R.; Negnevitsky, M. Evaluation of single-and three-phase state estimation in distribution networks. In Proceedings of the 2017 Australasian Universities Power Engineering Conference, Melbourne, Australia, 19–22 November 2017; pp. 1–5. [Google Scholar] [CrossRef]
- Hossenlopp, L. State estimation for distribution and transmission network. CIGRE Sess. 2016, 46, 518–524. [Google Scholar]
- Roytelman, I.; Shahidehpour, S. State estimation for electric power distribution systems in quasi real-time conditions. IEEE Trans. Power Deliv. 1993, 8, 2009–2015. [Google Scholar] [CrossRef]
- Kelley, A.W.; Baran, M.E. State estimation for real-time monitoring of distribution systems. IEEE Trans. Power Syst. 1994, 9, 1601–1609. [Google Scholar]
- Zhang, C.; Jia, Y.; Xu, Z.; Lai, L.L.; Wong, K.P. Optimal PMU placement considering state estimation uncertainty and voltage controllability. IET Gener. Transm. Distrib. 2017, 11, 4465–4475. [Google Scholar] [CrossRef]
- Bhela, S.; Kekatos, V.; Veeramachaneni, S. Enhancing Observability in Distribution Grids Using Smart Meter Data. IEEE Trans. Smart Grid 2017, 9, 5953–5961. [Google Scholar] [CrossRef] [Green Version]
- Kong, X.; Chen, Y.; Xu, T.; Wang, C.; Yong, C.; Li, P.; Yu, L. A Hybrid State Estimator Based on SCADA and PMU Measurements for Medium Voltage Distribution System. Appl. Sci. 2018, 8, 1527. [Google Scholar] [CrossRef] [Green Version]
- Damavandi, M.G.; Member, S.; Krishnamurthy, V. Robust meter placement for state estimation in active distribution systems. IEEE Trans. Smart Grid 2015, 6, 1–11. [Google Scholar] [CrossRef]
- Singh, R.; Pal, B.; Jabr, R. Distribution system state estimation through Gaussian mixture model of the load as pseudo-measurement. IET Gener. Transm. Distrib. 2010, 4, 50–59. [Google Scholar] [CrossRef]
- Pokhrel, B.R.; Bak-Jensen, B.; Pillai, J.R. Integrated Approach for Network Observability and State Estimation in Active Distribution Grid. Energies 2019, 12, 2230. [Google Scholar] [CrossRef] [Green Version]
- Hayes, B.; Prodanovic, M. State Estimation Techniques for Electric Power Distribution Systems. In Proceedings of the 2014 European Modelling Symposium, Pisa, Italy, 21–23 October 2014; pp. 303–308. [Google Scholar] [CrossRef]
- Baran, M.E.; Kelley, A.W. State estimation for real-time monitoring of distribution systems. IEEE Trans. Power Syst. 1994, 9, 1601–1609. [Google Scholar] [CrossRef]
- Toussaint, M.; Griffin, J.; Atanackovic, D.; Mcgillis, D.T. Assessment and control of the impact of FACTS devices on power system performance. IEEE Trans. Power Syst. 1996, 11, 1–6. [Google Scholar]
- Thukaram, D.; Jerome, J.; Surapong, C. A robust three-phase state estimation algorithm for distribution networks. Electr. Power Syst. Res. 2000, 55, 191–200. [Google Scholar] [CrossRef]
- Petridis, S.; Blanas, O.; Rakopoulos, D.; Stergiopoulos, F.; Nikolopoulos, N.; Voutetakis, S. An Efficient Backward/Forward Sweep Algorithm for Power Flow Analysis through a Novel Tree-Like Structure for Unbalanced Distribution Networks. Energies 2021, 14, 897. [Google Scholar] [CrossRef]
- Pandey, A.; Jereminov, M.; Wagner, M.R.; Bromberg, D.M.; Hug-Glanzmann, G.; Pileggi, L. Robust Power Flow and Three-Phase Power Flow Analyses. IEEE Trans. Power Syst. 2018, 34, 616–626. [Google Scholar] [CrossRef] [Green Version]
- Teng, J.-H. Modelling distributed generations in three-phase distribution load flow. IET Gener. Transm. Distrib. 2008, 2, 330–340. [Google Scholar] [CrossRef]
- Teng, J.-H. A direct approach for distribution system load flow solutions. IEEE Trans. Power Deliv. 2003, 18, 882–887. [Google Scholar] [CrossRef]
- Musleh, A.S.; Chen, G.; Dong, Z.Y. A Survey on the Detection Algorithms for False Data Injection Attacks in Smart Grids. IEEE Trans. Smart Grid 2019, 11, 2218–2234. [Google Scholar] [CrossRef]
- Korres, G.N.; Manousakis, N.M. A state estimation algorithm for monitoring topology changes in distribution systems. In Proceedings of the 2012 IEEE Power and Energy Society General Meeting, San Diego, CA, USA, 22–26 July 2012; pp. 1–8. [Google Scholar] [CrossRef]
- Deng, W.; Zhang, Z.; Duan, J.; Qiao, X.; Zhu, L.; Li, Y. Improved Topology Identification Algorithm of Distribution Network Mutual Information. In Proceedings of the 2019 IEEE Sustainable Power and Energy Conference (iSPEC), New York, NY, USA, 14–15 June 2019; pp. 1791–1795. [Google Scholar] [CrossRef]
- Kumar, M.L.; Prasanna, H.M.; Ananthapadmanabha, T. RETRACTED: A Literature Review on Distribution System State Estimation. Procedia Technol. 2015, 21, 423–429. [Google Scholar] [CrossRef] [Green Version]
- Primadianto, A.; Lu, C.-N. A Review on Distribution System State Estimation. IEEE Trans. Power Syst. 2016, 32, 3875–3883. [Google Scholar] [CrossRef]
- Dehghanpour, K.; Wang, Z.; Wang, J.; Yuan, Y.; Bu, F. A Survey on State Estimation Techniques and Challenges in Smart Distribution Systems. IEEE Trans. Smart Grid 2018, 10, 2312–2322. [Google Scholar] [CrossRef] [Green Version]
- Ahmad, F.; Rasool, A.; Ozsoy, E.; Sekar, R.; Sabanovic, A.; Elitaş, M. Distribution system state estimation-A step towards smart grid. Renew. Sustain. Energy Rev. 2018, 81, 2659–2671. [Google Scholar] [CrossRef] [Green Version]
- Schweppe, F.C. Power System Static-State estimation, Part I: Exact Model. IEEE Trans. Power Appar. Syst. 1970, 1, 120–125. [Google Scholar] [CrossRef] [Green Version]
- Schweppe, F.C.; Rom, D.B. Power System Static-State Estimation, Part II: Approximate Model. IEEE Trans. Power Appar. Syst. 1970, 1, 125–130. [Google Scholar] [CrossRef]
- Schweppe, F.C. Power System Static-State estimation, Part III: Implementation. IEEE Trans. Power Appar. Syst. 1970, 1, 18–21. [Google Scholar] [CrossRef]
- Mansouri, M.R.; Simab, M.; Firouzi, B.B. Impact of Demand Response on Reliability Enhancement in Distribution Networks. Sustainability 2021, 13, 13201. [Google Scholar] [CrossRef]
- Gomez-Exposito, A.; Abur, A.; Jaen, A.D.L.V.; Gomez-Quiles, C.G. A Multilevel State Estimation Paradigm for Smart Grids. In Proceedings of the IEEE, Detroit, MI, USA, 24–28 July 2011; Volume 99, pp. 952–976. [Google Scholar] [CrossRef]
- Niknam, T.; Firouzi, B.B. A practical algorithm for distribution state estimation including renewable energy sources. Renew. Energy 2009, 34, 2309–2316. [Google Scholar] [CrossRef]
- Arboleya, P.; Gonzalez-Moran, C.; Coto, M. Unbalanced Power Flow in Distribution Systems With Embedded Transformers Using the Complex Theory in $\alpha \beta 0\;$ Stationary Reference Frame. IEEE Trans. Power Syst. 2013, 29, 1012–1022. [Google Scholar] [CrossRef]
- Meliopoulos, A.S.; Zhang, F. Multiphase power flow and state estimation for power distribution systems. IEEE Trans. Power Syst. 1996, 11(2), 939–946. [Google Scholar]
- Garvey, P.; Book, S.; Covert, R. Iteratively Reweighted Least Squares. In Probability Methods for Cost Uncertainty Analysis; Chapman and Hall: London, UK, 2015; pp. 477–483. [Google Scholar] [CrossRef]
- Singh, R.; Jabr, R.; Pal, B. Choice of estimator for distribution system state estimation. IET Gener. Transm. Distrib. 2009, 3, 666–678. [Google Scholar] [CrossRef] [Green Version]
- Mili, L.; Cheniae, M.; Rousseeuw, P. Robust state estimation of electric power systems. IEEE Trans. Circuits Syst. I Regul. Pap. 1994, 41, 349–358. [Google Scholar] [CrossRef]
- Liao, H.; Milanovic, J.V. Pathway to cost-efficient state estimation of future distribution networks. In Proceedings of the 2016 IEEE Power and Energy Society General Meeting (PESGM), Boston, MA, USA, 17–21 July 2016; pp. 1–5. [Google Scholar] [CrossRef] [Green Version]
- Dzafic, I.; Gilles, M.; Jabr, R.; Pal, B.; Henselmeyer, S. Real Time Estimation of Loads in Radial and Unsymmetrical Three-Phase Distribution Networks. IEEE Trans. Power Syst. 2013, 28, 4839–4848. [Google Scholar] [CrossRef]
- Pau, M.; Pegoraro, P.A.; Sulis, S. Performance of three-phase WLS distribution system state estimation approaches. In Proceedings of the 2015 IEEE International Workshop on Applied Measurements for Power Systems (AMPS), Aachen, Germany, 23–25 September 2015; pp. 138–143. [Google Scholar] [CrossRef]
- Gao, Y.; Yu, N. State estimation for unbalanced electric power distribution systems using AMI data. In Proceedings of the 2017 IEEE Power & Energy Society Innovative Smart Grid Technologies Conference (ISGT), Washington, DC, USA, 23–26 April 2017; pp. 1–5. [Google Scholar] [CrossRef] [Green Version]
- Muscas, C.; Sulis, S.; Angioni, A.; Ponci, F.; Monti, A. Impact of Different Uncertainty Sources on a Three-Phase State Estimator for Distribution Networks. IEEE Trans. Instrum. Meas. 2014, 63, 2200–2209. [Google Scholar] [CrossRef]
- Majumdar, A.; Pal, B.C. A three-phase state estimation in unbalanced distribution networks with switch modelling. In Proceedings of the 2016 IEEE First International Conference on Control, Measurement and Instrumentation (CMI), Kolkata, India, 8–10 January 2016; pp. 474–478. [Google Scholar] [CrossRef] [Green Version]
- Kong, X.; Chen, Y.; Yong, C.; Ma, X.; Kong, J. Stepwise robust distribution system state estimation considering PMU measurement. J. Renew. Sustain. Energy 2019, 11, 025506. [Google Scholar] [CrossRef]
- Baran, M.E. A branch-current-based state estimation method for distribution systems. IEEE Trans. Power Syst. 1995, 10, 483–491. [Google Scholar] [CrossRef] [Green Version]
- Lin, W.-M.; Teng, J.-H.; Chen, S.-J. A highly efficient algorithm in treating current measurements for the branch-current-based distribution state estimation. IEEE Trans. Power Deliv. 2001, 16, 433–439. [Google Scholar] [CrossRef]
- Almutairi, S.; Miao, Z.; Fan, L. Performance of Branch-Current Based Distribution System State Estimation. In Proceedings of the 2018 North American Power Symposium (NAPS), Fargo, ND, USA, 9–11 September 2018; pp. 1–6. [Google Scholar] [CrossRef]
- Blaauwbroek, N.; Nguyen, P.; Gibescu, M.; Slootweg, H. Branch current state estimation of three phase distribution networks suitable for paralellization. In Proceedings of the 2016 IEEE PES Innovative Smart Grid Technologies Conference Europe (ISGT-Europe), Ljubljana, Slovenia, 9–12 October 2016; pp. 1–5. [Google Scholar] [CrossRef]
- Teng, J.-H. Using voltage measurements to improve the results of branch-current-based state estimators for distribution systems. IEE Proc.-Gener. Transm. Distrib. 2002, 149, 667–672. [Google Scholar] [CrossRef]
- Muscas, C.; Pau, M.; Pegoraro, P.A.; Sulis, S. An efficient method to include equality constraints in branch current distribution system state estimation. EURASIP J. Adv. Signal Process. 2015, 2015, 17. [Google Scholar] [CrossRef] [Green Version]
- Pau, M.; Pegoraro, P.A.; Sulis, S. Efficient Branch-Current-Based Distribution System State Estimation Including Synchronized Measurements. IEEE Trans. Instrum. Meas. 2013, 62, 2419–2429. [Google Scholar] [CrossRef]
- Luiz, J.; Pereira, R.; Peres, W.; de Oliveira, E.J.; Alberto, J.; Filho, P. Distribution System State Estimation: Numerical Issues, IEEE PES T&D Conf. Expo. 2014. Available online: https://www.ieee-pes.org/presentations/td2014/td2014p-000682.pdf (accessed on 20 December 2021).
- Pau, M.; Pegoraro, P.A.; Sulis, S. WLS distribution system state estimator based on voltages or branch-currents: Accuracy and performance comparison. In Proceedings of the 2013 IEEE International Instrumentation and Measurement Technology Conference (I2MTC), Minneapolis, MN, USA, 6–9 May 2013; pp. 493–498. [Google Scholar] [CrossRef]
- Bouhafs, F.; Mackay, M.; Merabti, M. Links to the Future: Communication Requirements and Challenges in the Smart Grid. IEEE Power Energy Mag. 2011, 10, 24–32. [Google Scholar] [CrossRef]
- Gómez-Expósito, A.; Jaén, A.D.L.V.; Quiles, C.G.; Rousseaux, P.; Van Cutsem, T. A taxonomy of multi-area state estimation methods. Electr. Power Syst. Res. 2010, 81, 1060–1069. [Google Scholar] [CrossRef] [Green Version]
- Kekatos, V.; Giannakis, G. Distributed Robust Power System State Estimation. IEEE Trans. Power Syst. 2012, 28, 1617–1626. [Google Scholar] [CrossRef] [Green Version]
- Muscas, C.; Pau, M.; Pegoraro, P.A.; Sulis, S.; Ponci, F.; Monti, A. Multiarea Distribution System State Estimation. IEEE Trans. Instrum. Meas. 2015, 64, 1140–1148. [Google Scholar] [CrossRef]
- Lopatka, P.; Salvini, S.; Nusrat, N.; De-Alvaro, L.; Wallom, D. Performance study of distributed state estimation algorithms on the HiPerDNO HPC platform. In Proceedings of the 47th International Universities Power Engineering Conference (UPEC), Uxbridge, UK, 4–7 September 2012; pp. 1–6. [Google Scholar] [CrossRef]
- Du, D.; Li, X.; Li, W.; Chen, R.; Fei, M.; Wu, L. ADMM-Based Distributed State Estimation of Smart Grid Under Data Deception and Denial of Service Attacks. IEEE Trans. Syst. Man Cybern. Syst. 2019, 49, 1698–1711. [Google Scholar] [CrossRef]
- Nusrat, N.; Lopatka, P.; Irving, M.R.; Taylor, G.A.; Salvini, S.; Wallom, D. An Overlapping Zone-Based State Estimation Method for Distribution Systems. IEEE Trans. Smart Grid 2015, 6, 2126–2133. [Google Scholar] [CrossRef]
- Zhao, Z.; Yu, H.; Li, P.; Kong, X.; Wu, J.; Wang, C. Optimal placement of PMUs and communication links for distributed state estimation in distribution networks. Appl. Energy 2019, 256, 113963. [Google Scholar] [CrossRef]
- Mao, M.; Wu, Z.; Xu, J. Community-detection-based approach to distribution network partition. CSEE J. Power Energy Syst. 2022. [Google Scholar] [CrossRef]
- Zhang, H.; Peng, M.; Palensky, P. Intentional islanding method based on community detection for distribution networks. IET Gener. Transm. Distrib. 2018, 13, 30–36. [Google Scholar] [CrossRef]
- Chen, S.; Wei, Z.; Sun, G.; Lu, N.; Sun, Y.; Zhu, Y. Multi-area distributed three-phase state estimation for unbalanced active distribution networks. J. Mod. Power Syst. Clean Energy 2016, 5, 767–776. [Google Scholar] [CrossRef] [Green Version]
- Falcao, D.; Wu, F.F.; Murphy, L. Parallel and distributed state estimation. IEEE Trans. Power Syst. 1995, 10, 724–730. [Google Scholar] [CrossRef] [Green Version]
- Carvalho, J.B.; Maciel-Barbosa, F. Parallel and distributed processing in state estimation of power system energy. In Proceedings of the MELECON’ 98, 9th Mediterranean Electrotechnical Conference, Tel-Aviv, Israel, 18–20 May 2002. [Google Scholar] [CrossRef]
- Pasqualetti, F.; Carli, R.; Bullo, F. Distributed estimation via iterative projections with application to power network monitoring. Automatica 2012, 48, 747–758. [Google Scholar] [CrossRef] [Green Version]
- Van Cutsem, T.; Horward, J.L.; Ribbens-Pavella, M. A two-level static state estimator for electric power systems. IEEE Trans. Power Appar. Syst. 1981, 8, 3722–3732. [Google Scholar] [CrossRef]
- Patel, M.Y.; Girgis, A.A. Two-Level State Estimation for Multi-Area Power System. In Proceedings of the 2007 IEEE Power Engineering Society General Meeting, Tampa, FL, USA, 24–28 June 2007; pp. 1–6. [Google Scholar] [CrossRef]
- Sharma, A.; Srivastava, S.C.; Chakrabarti, S. Multi Area State Estimation using area slack bus angle adjustment with minimal data exchange. In Proceedings of the 2013 IEEE Power & Energy Society General Meeting, Vancouver, Canada, 21–25 July 2013; pp. 1–5. [Google Scholar] [CrossRef]
- El-Hawary, M. Advances in Electric Power and Energy: Static State Estimation; John Wiley & Sons: Hoboken, NJ, USA, 2020. [Google Scholar]
- Muscas, C.; Pegoraro, P.A.; Sulis, S.; Pau, M.; Ponci, F.; Monti, A. Fast multi-area approach for distribution system state estimation. In Proceedings of the 2016 IEEE International Instrumentation and Measurement Technology Conference, Taipei, Taiwan, 23–26 May 2016; pp. 1–6. [Google Scholar] [CrossRef]
- Zhou, X.; Liu, Z.; Guo, Y.; Zhao, C.; Huang, J.; Chen, L. Gradient-Based Multi-Area Distribution System State Estimation. IEEE Trans. Smart Grid 2020, 11, 5325–5338. [Google Scholar] [CrossRef]
- Fatima, K.; Sefid, M.; Anees, M.A.; Rihan, M. An investigation of the impact of synchrophasors measurement on multi-area state estimation in active distribution grids. Aust. J. Electr. Electron. Eng. 2020, 17, 122–131. [Google Scholar] [CrossRef]
- Pau, M.; Ponci, F.; Monti, A.; Sulis, S.; Muscas, C.; Pegoraro, P.A. An Efficient and Accurate Solution for Distribution System State Estimation with Multiarea Architecture. IEEE Trans. Instrum. Meas. 2017, 66, 910–919. [Google Scholar] [CrossRef] [Green Version]
- Muscas, C.; Pau, M.; Pegoraro, P.A.; Sulis, S.; Ponci, F.; Monti, A. Two-step procedures for wide-area Distribution System State Estimation. In Proceedings of the 2014 IEEE International Instrumentation and Measurement Technology Conference (I2MTC), Montevideo, Uruguay, 12–15 May 2014; pp. 1517–1522. [Google Scholar] [CrossRef]
- Angioni, A.; Shang, J.; Ponci, F.; Monti, A. Real-Time Monitoring of Distribution System Based on State Estimation. IEEE Trans. Instrum. Meas. 2016, 65, 2234–2243. [Google Scholar] [CrossRef]
- Ghadikolaee, E.T.; Kazemi, A.; Shayanfar, H.A. Novel multi-objective phasor measurement unit placement for improved parallel state estimation in distribution network. Appl. Energy 2020, 279, 115814. [Google Scholar] [CrossRef]
- Nusrat, N.; Irving, M.; Taylor, G. Development of distributed state estimation methods to enable smart distribution management systems. In Proceedings of the 2011 IEEE International Symposium on Industrial Electronics, Gdansk, Poland, 27–30 June 2011; pp. 1691–1696. [Google Scholar] [CrossRef]
- Pegoraro, P.A.; Sulis, S. On the robustness in distribution system state estimation. In Proceedings of the 2012 IEEE International Instrumentation and Measurement Technology Conference Proceedings, Graz, Austria, 13–16 May 2012; pp. 776–780. [Google Scholar] [CrossRef]
- Liao, Y.; Weng, Y.; Wu, M.; Rajagopal, R. Distribution grid topology reconstruction: An information theoretic approach. In Proceedings of the 2015 North American Power Symposium (NAPS), Charlotte, NC, USA, 4–6 October 2015; pp. 1–6. [Google Scholar] [CrossRef]
- Menke, J.-H.; Bornhorst, N.; Braun, M. Distribution system monitoring for smart power grids with distributed generation using artificial neural networks. Int. J. Electr. Power Energy Syst. 2019, 113, 472–480. [Google Scholar] [CrossRef] [Green Version]
- Zamzam, A.S.; Fu, X.; Sidiropoulos, N.D. Data-Driven Learning-Based Optimization for Distribution System State Estimation. IEEE Trans. Power Syst. 2019, 34, 4796–4805. [Google Scholar] [CrossRef] [Green Version]
- Sayghe, A.; Hu, Y.; Zografopoulos, I.; Liu, X.; Dutta, R.G.; Jin, Y.; Konstantinou, C. Survey of machine learning methods for detecting false data injection attacks in power systems. IET Smart Grid 2020, 3, 581–595. [Google Scholar] [CrossRef]
- Alimi, O.A.; Ouahada, K.; Abu-Mahfouz, A.M.; Rimer, S.; Alimi, K.O.A. A Review of Research Works on Supervised Learning Algorithms for SCADA Intrusion Detection and Classification. Sustainability 2021, 13, 9597. [Google Scholar] [CrossRef]
- Oprea, S.-V.; Bâra, A.; Puican, F.C.; Radu, I.C. Anomaly Detection with Machine Learning Algorithms and Big Data in Electricity Consumption. Sustainability 2021, 13, 10963. [Google Scholar] [CrossRef]
- Cao, D.; Hu, W.; Zhao, J.; Zhang, G.; Zhang, B.; Liu, Z.; Chen, Z.; Blaabjerg, F. Reinforcement Learning and Its Applications in Modern Power and Energy Systems: A Review. J. Mod. Power Syst. Clean Energy 2020, 8, 1029–1042. [Google Scholar] [CrossRef]
- Nistor, S.; Khan, A.; Sooriyabandara, M. Phaser measurements estimation on distribution networks using machine learning. In Proceedings of the 19th International Conference on Intelligent System Application to Power Systems (ISAP), San Antonio, TX, USA, 17–20 September 2017; pp. 1–6. [Google Scholar] [CrossRef]
- Cao, Z.; Wang, Y.; Chu, C.-C.; Gadh, R. Fast State Estimations for Large Distribution Systems using Deep Neural Networks as Surrogate. In Proceedings of the 2020 IEEE Power & Energy Society General Meeting (PESGM), Montreal, Canada, 2–6 August 2020; pp. 1–5. [Google Scholar] [CrossRef]
- Zamzam, A.S.; Sidiropoulos, N.D. Physics-Aware Neural Networks for Distribution System State Estimation. IEEE Trans. Power Syst. 2020, 35, 4347–4356. [Google Scholar] [CrossRef] [Green Version]
- Zhou, W.; Ardakanian, O.; Zhang, H.-T.; Yuan, Y. Bayesian Learning-Based Harmonic State Estimation in Distribution Systems With Smart Meter and DPMU Data. IEEE Trans. Smart Grid 2019, 11, 832–845. [Google Scholar] [CrossRef]
- Huang, M.; Wei, Z.; Sun, G.; Zang, H. Hybrid State Estimation for Distribution Systems with AMI and SCADA Measurements. IEEE Access 2019, 7, 120350–120359. [Google Scholar] [CrossRef]
- Wu, J.; He, Y.; Jenkins, N. A robust state estimator for medium voltage distribution networks. IEEE Trans. Power Syst. 2012, 28, 1008–1016. [Google Scholar] [CrossRef]
- Zargar, B.; Angioni, A.; Ponci, F.; Monti, A. Multiarea Parallel Data-Driven Three-Phase Distribution System State Estimation Using Synchrophasor Measurements. IEEE Trans. Instrum. Meas. 2020, 69, 6186–6202. [Google Scholar] [CrossRef]
- Ghadikolaee, E.T.; Kazemi, A.; Shayanfar, H.A. Multi-area state estimation in a distribution network using Takagi-Sugeno model estimated by Kalman filter. Int. Trans. Electr. Energy Syst. 2020, 30, e12202. [Google Scholar] [CrossRef]





| Method | General Formulation | Definition |
|---|---|---|
| WLS | : state vector : objective function : the vector of measurement function : weighting vector of measurementz z : measurement vector : tuning parameter | |
| LAV | ||
| WLAV | ||
| SHGM |
| NV-DSSE | BC-DSSE | |
|---|---|---|
| Property |
|
|
| Reference | LO | ET | SPSE | DS-DSE Procedures | Pros and Cons |
|---|---|---|---|---|---|
| [60] | NO, EO | P, S | C | IL | (+) execution time and computational complexity are improved, fast convergence rate, (−) high data rate communication, |
| [66] | MO, EO | P | C | IL | (+) computational time is decreased, imbalanced three-phase DS-DSE calculation is considered, (−) high data rate communication, only conventional measurements are included, |
| [75] | EO | P | D | IL | (+) fast convergence rate, high estimation accuracy in presence of DGs, three-phase state estimation calculation, (−) only traditional measurements are included, only voltage magnitude estimation is performed, |
| [76] | MO | P | D | SEL | (+) PMU-based method is proposed for DS-DSE calculation, computational requirement of DS-DSE method is decreased, (−) PMU-based method is not practical in the large scale of distribution grids because PMU is costly, high data rate communication, |
| [59,77] | MO | P | D | SEL | (+) minimum communication cost, considering correlation among the local estimations, computational complexity is improved, high robustness is achieved, (−) the passive distribution network is considered, |
| [74,78] | MO | P | D | IL, SEL | (+) different measurement configurations are considered in the overlapping nodes, voltage profile estimation is improved, (−) high data rate communication, |
| [79] | MO | P | D | IL | (+) fast convergence rate, computational complexity is decreased, (−) high data rate communication, |
| [80] | NO | P | D | IL | (+) conventional and PMU measurement are included, fast convergence rate, accuracy is improved, (−) high data rate communication, |
| [81] | MO | P, S | D | IL | (+) voltage estimation result is improved, fast convergence rate, (−) high data rate communication |
| Application | Reference | Method |
|---|---|---|
| DSSE | [84] [85] [90] [91] [92] [93] [94] | Deep Neural Network (DNN) ANN (Model-based + Data-based) Artificial Neural Network (ANN)DNN (Model-based + Data-based) Graph-Pruned Neural Network Regression+ Long Short-term Memory+ Sparse Bayesian Learning DNN + Random Forest Classifier Artificial Neural Network (ANN) |
Publisher’s Note: MDPI stays neutral with regard to jurisdictional claims in published maps and institutional affiliations. |
© 2022 by the authors. Licensee MDPI, Basel, Switzerland. This article is an open access article distributed under the terms and conditions of the Creative Commons Attribution (CC BY) license (https://creativecommons.org/licenses/by/4.0/).
Share and Cite
Radhoush, S.; Bahramipanah, M.; Nehrir, H.; Shahooei, Z. A Review on State Estimation Techniques in Active Distribution Networks: Existing Practices and Their Challenges. Sustainability 2022, 14, 2520. https://doi.org/10.3390/su14052520
Radhoush S, Bahramipanah M, Nehrir H, Shahooei Z. A Review on State Estimation Techniques in Active Distribution Networks: Existing Practices and Their Challenges. Sustainability. 2022; 14(5):2520. https://doi.org/10.3390/su14052520
Chicago/Turabian StyleRadhoush, Sepideh, Maryam Bahramipanah, Hashem Nehrir, and Zagros Shahooei. 2022. "A Review on State Estimation Techniques in Active Distribution Networks: Existing Practices and Their Challenges" Sustainability 14, no. 5: 2520. https://doi.org/10.3390/su14052520
APA StyleRadhoush, S., Bahramipanah, M., Nehrir, H., & Shahooei, Z. (2022). A Review on State Estimation Techniques in Active Distribution Networks: Existing Practices and Their Challenges. Sustainability, 14(5), 2520. https://doi.org/10.3390/su14052520

