Abstract
Contemporary consumers demand healthier and more nourishing food, and thus, alternative foods that are low-calorie in fats and/or sugars are preferred. These desired properties may be attained by substituting the fatty acid esters of erythritol and pentaerythritol due to their antioxidant action and low toxicity for humans. In this work, the catalyzed hydrolysis of five fatty acid tetraesters of erythritol and/or pentaerythritol by both porcine pancreas type VI-s lipase (PPL) and Candida antarctica lipase-B (CALB) were studied kinetically. In all cases, except the hydrolysis of pentaerythritol tetrastearate by CALB, Michaelis–Menten kinetics were observed. In addition, the pKa values of the fatty acids released due to the catalyzed hydrolysis of the studied tetraesters by CALB were estimated. In the course of the aforementioned procedures, it was found that the CALB-catalyzed hydrolysis was incomplete to various degrees among four of the five studied tetraesters (excluding erythritol tetraoleate), and one or more estimated apparent pKa values were obtained. These results are novel, and by means of applied methodology, they reveal that erythritol and/or pentaerythritol tetraesters of medium- and long-chain fatty acids are suitable candidates for use as beneficial alternatives to butter and/or sweeteners.
1. Introduction
Erythritol [(2S,3R)-butane-1,2,3,4-tetrol] is a low-calorie compound that occurs in nature and in fermented products, and it can be produced through the bioconversion of starch and/or glucose [1]. It has been reported that erythritol may be helpful in reducing both the caloric value of foods that contain carbohydrates and the side effects of other relative food additives [2]. In addition to erythritol having an almost zero caloric value, it is a sweetener that can improve food taste and texture and the stability of low-calorie foods [1]. These latter properties can meet the demands of contemporary consumers for a healthier lifestyle [3], and erythritol has additional importance due to its confirmed antioxidant action [4].
Tetrol pentaerythritol [2,2-bis(hydroxymethyl)propane-1,3-diol] is well known as an important component in the manufacturing of cosmetics. Pentaerythritol has a low toxicity in the human body, is released in the urine relatively quickly, and does not show mutagenic action against bacteria [5]. Therefore, fatty acid esters of erythritol and pentaerythritol may be healthy, low-calorie alternatives to butter and/or sweeteners; they may not cause caries, too [1].
This work comprises a detailed kinetic study of the lipase-catalyzed hydrolysis of three fatty acid tetraesters of erythritol and two tetraesters of pentaerythritol. These five tetraesters have the potential for being biotechnologically useful in food and in cosmetics applications as compared to the triesters of glycerol [6]. All five studied tetraesters herein were hydrolyzed by two lipases, which contain similar catalytic triads (S152/S105, H263/H224, D176/D187), namely, porcine pancreatic lipase (PPL) and Candida antarctica lipase-B (CALB). Conversely, PPL and CALB differ in their catalytic mode. The former requires interfacial activation due to a lid domain, whereas the latter lacks a lid domain and does not require interfacial activation [7,8]. These differences in the catalytic modes of lipases CALB and PPL, along with their very many applications, made these enzymes appropriate for the objectives of this work. Additionally, the various applications of these lipases were based on their catalytic strength in a wide range of experimental conditions (e.g., pH value and temperature). Furthermore, the kinetic mechanisms of action of both CALB and PPL have been investigated extensively [8,9,10,11,12,13]. Hence, the hydrolytic function of these lipases on the fatty acid tetraester substrates of erythritol and pentaerythritol was considered to be kinetically interesting, and it was essential to investigate their use as low-calorie food substitutes. Subsequently, by means of an automatic titrator system and a relatively new method, the corresponding Michaelis–Menten kinetics and other important parameters were estimated, as well as the pKa values of the released fatty acids. The calculated pKa values through the automatic titrator system contributed significantly to the conclusions of this work. In fact, the results of this work converge to suggest that four among the five studied tetraesters may be used as low-calorie dietary food alternatives.
2. Results and Discussion
2.1. Hydrolysis of the Tetraesters of Erythritol and Pentaerythritol by PPL and CALB
The kinetic experimental data were best fitted, in most cases, by the Michaelis–Menten equation (see Supplementary Materials). The hydrolysis of pentaerythritol tetrastearate by CALB seems to follow non-Michaelis–Menten kinetics. From the best fitting of the experimental kinetic data, these results, i.e., the estimated parameter values (kcat, Km, kcat/Km, and additional parameters), are summarized in Table 1.
Table 1.
The estimated parameters from the best fit of experimental data of the hydrolysis of the studied tetraesters by both Candida antarctica lipase-B (CALB) and porcine pancreas type VI-s lipase (PPL). The experimental data from the hydrolysis of pentaerythritol tetrastearate by CALB were best fitted by Equations (2) and (3).
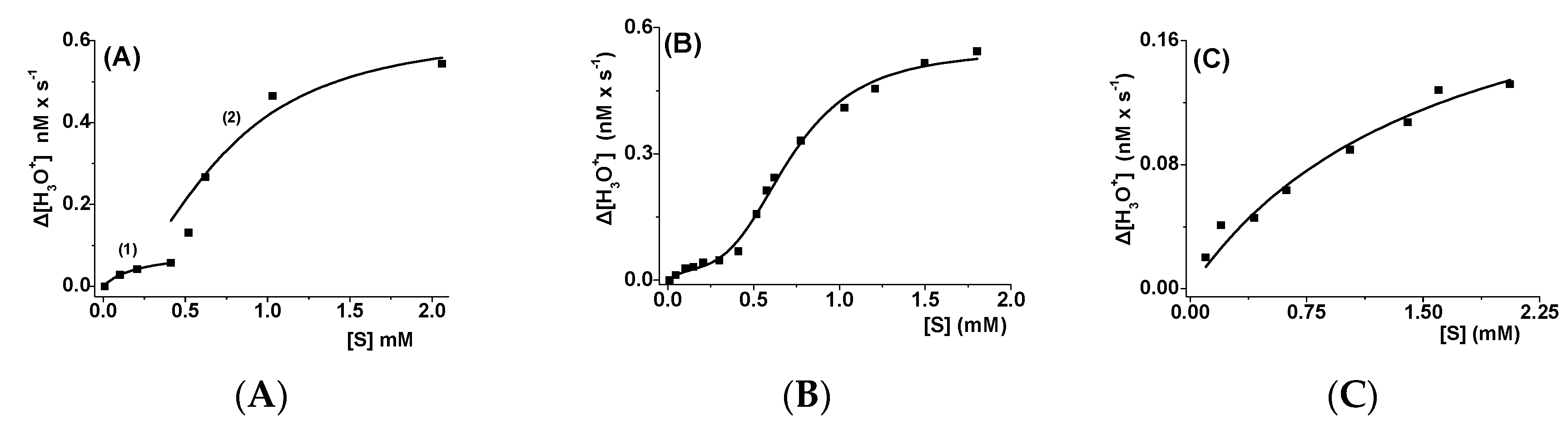
The kinetic analysis of hydrolysis of pentaerythritol tetrastearate by CALB was based on the observation that the experimental points are apparently divided into two groups. The graphs of these results, along with the best fit of the kinetics of the hydrolysis of pentaerythritol tetrastearate by PPL, are depicted in Figure 1.
Figure 1.
The kinetic data from the hydrolysis of pentaerythritol tetrastearate by CALB (curves (A,B)) are discontinuous and may be split into two groups. In curve (A) (sub-curves A1 and A2), the data were fitted by Equation (2), i.e., are compatible with substrate activation conditions. In curve (B), there were more experimental data due to the higher number of parameters, and these fitted with Equation (3) as a whole. In contrast, the experimental data from the hydrolysis of the same substrate by PPL (curve (C)) were fitted by the Michaelis–Menten Equation (1); saturation was not achieved due to the limited solubility of tetraester in the corresponding reaction mixture.
The kinetically discontinuous behavior of pentaerythritol tetrastearate (Figure 1A) could be explained by both its structure and the relatively high concentration of CALB in the reaction mixture, as compared to those of PPL (1700/0.884 ≈ 1923). Therefore, as the concentration of pentaerythritol tetrastearate increases in the reaction mixture, a discontinuous saturation of the enzyme molecules by substrate occurs, which is not uncommon. The enzyme–substrate complex was dispersed as an emulsion where Traube’s Rule is valid [14] and was kinetically expressed as substrate activation. The additional best fit of the experimental data of the hydrolysis of pentaerythritol tetrastearate by CALB was performed by means of Equation (3), which is based on an expansion similar to the virial one concerning real fluids. Therefore, an increase in the powers of [S] (>Km) is included in Equation (3), depending on the mean value of all the possible enzyme and substrate contacts and the conformational changes of the ES complex. Additionally, when the first and second derivatives of the polynomial [S](1+A[S]+[B][S]2), in the numerator and denominator of Equation (3), take on a zero-value simultaneously, one bending point is observed [15].
2.2. The Estimated pKa Values of the Released Fatty Acids
In most of the examined cases, more than one pKa value was calculated during the titration procedures of the fatty acids released through the CALB hydrolysis of the studied tetraesters. However, only one pKa value (5.12) was estimated (Figure 2A) from the hydrolysis of erythritol tetraoleate by CALB and the release of oleic acid; for oleic acid, a pKa of 5.02 in aqueous solution has been reported [16]. As opposed to the former result, four pKa values (i.e., 4.54, 6.38, 6.76, and 7.76) were estimated when using the pentaerythritol tetrastearate (Figure 2B), while for stearic acid, a pKa of 4.78 has been reported [17].
Figure 2.
Automatically generated titration curves for the estimation of pKa values (CALB-catalyzed hydrolysis). Curve (A) corresponds to the titration of erythritol tetraoleate (one pKa = 5.12), while curve (B) corresponds to the titration of pentaerythritol tetrastearate (four pKa = {4.54, 6.38, 6.76, and 7.76}).
Three pKa values were estimated in the case of erythritol tetrapalmitate, i.e., 4.45, 6.77, and 7.51 (Figure 3A), whereas two pKa values were estimated in both cases of erythritol tetralaurate (i.e., 5.01 and 7.82) and pentaerythritol tetrapalmitate (i.e., 4.61 and 6.95), as depicted in Figure 3B,C, respectively. Values of pKa = 4.75 and pKa = 5.30 have been reported for palmitic and lauric acid, respectively [18,19]. Figure 2A,B as well as Figure 3A–C were generated automatically by the utilized software. The pKa values (HP in Figure 2 and Figure 3) have been marked on the titration curves by considering half the volume required to neutralize each of the released acids (EP—equivalence point in Figure 2 and Figure 3). Therefore, as monoprotic acids are titrated, the Henderson–Hasselbalch equation is degenerated to pH = pKa [20].
Figure 3.
Automatically generated titration curves for the estimation of the pKa values (CALB-catalyzed hydrolysis). Curve (A) corresponds to the titration of erythritol tetrapalmitate (three pKa = {4.45, 6.77, and 7.51}), curve (B) corresponds to the titration of erythritol tetralaurate (two pKa = {5.01 and 7.82), and curve (C) corresponds to the titration of pentaerythritol tetrapalmitate (two pKa = {4.61, 6.95}).
Solvent/solute interactions affect the equilibrium between the solute’s ionized/non-ionized forms and influence the estimated pKa values [21]. In this work, the more likely to be released tri-, bi-, and mono-esters and the corresponding fatty acid molecules may form micellar bilayers according to Traube’s Rule, as well as through autocatalysis [14,22], where the solute’s ionized/non-ionized forms are present in equal concentrations. Additionally, four out of the five studied substrates were subjected to further hydrolysis during the titration process for the estimation of the pKa values by varying pH values in a range of about six units. Hence, the more likely to be formed molecular species may yield the observed apparent pKa values (pKaapp). The aforementioned argument explains why, in this work, involving medium- and long-chain fatty acids, we observed these pKaapp values (Figure 2 and Figure 3).
Consequently, it seems likely that in the CALB-catalyzed hydrolysis of erythritol and pentaerythritol tetraesters, a complete hydrolysis was only achieved in the case of erythritol tetraoleate. In the case of pentaerythritol tetrastearate, a less complete hydrolysis was observed, because three pKaapp values were estimated. Intermediate cases were observed in the hydrolysis of erythritol tetrapalmitate (two pKaapp values) and in the hydrolyses of both erythritol tetralaurate and pentaerythritol tetrapalmitate (one pKaapp value).
3. Materials and Methods
3.1. Materials
All analytical grade chemicals and reagents, including gum Arabic, PPL, as well as CALB (recombinant, expressed in Aspergillus niger—62288), were purchased from Sigma-Aldrich (St. Louis, MO, USA). Argon of high purity (≥99.99%) was purchased from Linde Hellas Ltd. (Linde Group). The herein utilized tetraesters, i.e., erythritol tetraoleate, erythritol tetrapalmitate, erythritol tetralaurate, pentaerythritol tetrapalmitate, and pentaerythritol tetrastearate, were synthesized as described previously [6]. Because the yield of pentaerythritol tetrapalmitate, obtained from the acylation of pentaerythritol by palmitoyl chloride in the presence of BF3∙Et2O, was only 47% [6], we describe in the Supplementary Materials the RCOCl/pyridine method for acylation, which gave 90% yield.
3.2. Solutions and Devices
Stock solutions of 0.1 M in dimethyl sulfoxide (DMSO) were prepared for all the utilized tetraester substrates. Aqueous stock solution (5% w/v) of gum Arabic was prepared by dissolving 5 g in 96 mL of bidistilled water and 4 mL of absolute ethanol to avoid formation of agglomerates. Standard solutions of 0.005 N NaOH, 0.500 Ν NaOH, and 0.500 N HCl were also prepared. All stock and standard solutions, including the bidistilled water, were degassed and stored under an argon atmosphere in bottles equipped with suitable sealing valves. The stock solution of PPL was prepared by dissolving the enzyme in 5% w/v solution of gum Arabic, as described previously [8], whereas the stock solution of CALB was prepared by dissolving the enzyme in bidistilled water [8,23]. The enzymatic stock solutions were degassed and stored under an argon atmosphere. All measurements were performed by means of an automatic titrator system Metrohm 907 Titrando (Metrohm AG, Herisau, Switzerland), which was computer-driven through appropriate software (Tiamo). The titrator system and the peripheral devices are illustrated graphically in Figure 4.
Figure 4.
Representation of the devices for the titrimetry of the lipase-catalyzed hydrolysis of the five tetraester substrates employed in this work; the T-shapes indicate sealing valves. All reagents were added to the reactor through the loading input.
3.3. Kinetic Measurements
These measurements were performed by recording the decrease in the pH value of the reaction mixture vs. time due to the increased fatty acid concentration as a result of the lipase-catalyzed hydrolysis of the aforementioned erythritol and pentaerythritol tetraesters. In all measurements, the active concentrations of the employed lipases were kept stable in the reaction mixtures, i.e., 0.884 nM and 1700 nM in the cases of PPL and of CALB, respectively.
In a typical kinetic run, which was similar for both lipases, 27 mL of bidistilled water was transferred into the reactor (Figure 4), followed by the addition of 3 mL of 5% w/v gum Arabic stock solution, 20 μL of the appropriate lipase stock solution, and varied volumes of DMSO (<2.98 mL) so that the sum of volumes of DMSO and substrate combined to be 2.98 mL. Then, the reactor was sealed, the thermostat was fixed at 37 °C by means of a circulating bath, and argon gas was bubbled through the reaction mixture under continuous stirring (150 rpm). The driving software (Tiamo) of the automatic titrator was activated in order to set an initial pH value of 8.0 in the reaction medium (by adding 0.005 N NaOH standard solution) before starting the lipase-catalyzed hydrolyses. All of the hydrolytic procedures were initialized by the addition of a suitable volume of the studied tetraester substrate stock solution in the reaction mixture, followed by the end of the argon gas bubbling. The final volume of DMSO was always 6% in a 33 mL total reaction volume.
The initial velocities of the hydrolytic reactions were recorded as Δ[H3O+] nM × s−1 during the continuous decrease in the pH value of the reaction mixture. In all cases, the results were adjusted by performing blank measurements at an initial pH value of 7.0 in the reaction medium, where the volume of the studied substrate was replaced by an equal volume of DMSO. Each individual kinetic run was performed three times depending upon the standard deviation, which was set to be less than or equal to 5% of the mean value; otherwise, the three measurements were repeated. The employed concentrations of the tetraester substrates varied mainly from 0.10 mM up to 2.06 mM; however, in several cases, higher concentrations of a substrate were used according to its solubility in the reaction mixture. Active site titrations of the stock solutions with both lipases (PPL and CALB) were carried out under conditions similar to those of the kinetic runs, using the irreversible inhibitor phenylmethylsulfonyl fluoride (PMSF), as previously described [8], and then the active enzyme concentrations [E]0 were estimated.
3.4. Estimation of the pKa Values
The pKa values of the released fatty acids were estimated over the course of the CALB-catalyzed hydrolysis of each of the studied tetraester substrates, when a high substrate concentration was used in the corresponding kinetic run. The CALB-catalyzed hydrolysis was chosen due to the fact that the corresponding Michaelis–Menten curves approached saturation much more rapidly than those of the PPL-catalyzed hydrolysis in almost all cases. Therefore, after the end of each kinetic run, a suitable driving software subroutine of the automatic titrator was activated, and the reaction mixture was titrated by a standard solution of 0.500 N HCl up to a pH value of 3.50, along with the bubbling of argon gas and continuous stirring. Subsequently, the bubbling was stopped, and the reaction mixture was titrated by a 0.500 Ν NaOH standard solution through a suitable software routine of the automatic titrator, up to a pH value of 10.00. Subsequently, the corresponding pKa values and the equivalent points were recorded automatically.
3.5. Analysis and Curve Fitting of the Experimental Results
In most cases, the experimental results derived from the kinetic runs were best fitted by the well-known Michaelis–Menten equation:
However, in the case of the hydrolysis of pentaerythritol tetrastearate by CALB, both Equations (2) and (3) best fitted the experimental data [15,24]:
In Equations (1)–(3), the parameters kcat and Km have well-known meanings, whereas KSS in Equation (2) is the equilibrium constant of the reaction ES + S ⇔ SES (substrate inhibition), a parameter similar to Km. In Equation (3), V1 and V2 are the virial coefficients [15]. All fitting procedures were achieved by means of the OriginPro 2019 trial version, while different weighted least-squares tests were considered as convergence criteria [13].
4. Conclusions
In this work, we studied the kinetics of the lipase-catalyzed (PPL and CALB; the latter being widely used in biotechnological applications) hydrolysis of three fatty acid tetraesters of erythritol, as well as two fatty acid tetraesters of pentaerythritol. The values of Michaelis–Menten parameters kcat, Km, and kcat/Km were estimated during the hydrolysis of four of the aforementioned tetraesters by both lipases. Although the PPL-catalyzed hydrolysis of pentaerythritol tetrastearate followed Michaelis–Menten kinetics, in contrast, the CALB-catalyzed hydrolysis of this tetraester showed apparently discontinuous non-Michaelis–Menten kinetics; subsequently, novel important parameters were estimated. This latter kinetic behavior was explained in terms of substrate activation, as well as through Traube’s Rule. Moreover, during the attempt to estimate the pKa values of the released fatty acids as a result of the hydrolysis of the studied tetraesters by CALB, novel findings appeared. During these procedures, it was found that, excluding erythritol tetraoleate, the other four tetraesters were incompletely hydrolyzed by CALB, as between one and three apparent pKa values (pKaapp) were estimated (Figure 2 and Figure 3). Likewise, the calculated kcat and kcat/Km values were relatively low, and discontinuous kinetics of the hydrolysis of the pentaerythritol tetrastearate were detected. These findings indicate that the four tetraesters (erythritol tetrapalmitate, erythritol tetralaurate, pentaerythritol tetrapalmitate, and pentaerythritol tetrastearate), which were hydrolyzed by CALB incompletely, can be considered to be biotechnologically interesting. These compounds may be low-calorie foods and healthy alternatives to butter and/or sweeteners, augmented by the low toxicity of both erythritol and pentaerythritol in humans. Further research is necessary to synthesize substrates with similar structures that show much lower kcat and kcat/Km values but with much higher Km ones when catalytically hydrolyzed by PPL.
Supplementary Materials
The following are available online at https://www.mdpi.com/2073-4344/10/9/965/s1, Figure S1: The best fitting (Michaelis-Menten) of the experimental kinetic data concerning the hydrolyses by both lipases, i.e., PPL (curves A, C, E, G) and CALB (curves B, D, F, H), of the tetraesters erythritol tetraoleate (A,B), erythritol tetrapalmitate (C,D), erythritol tetralaurate (E,F), and pentaerythritol tetrapalmitate (G,H), respectively. Due to the limited solubility of several tetraesters, in the reaction mixtures, the corresponding Michaelis-Menten curves did not reach saturation, Figure S2. (A) IR (KBr), and (B) 1H NMR (CDCl3, TMS) spectra of pentaerythritol palmitate.
Author Contributions
O.A.G. performed the experimental work. A.F. supported the suitable programming of the software Tiamo. P.-Y.S. supported the suitable programming of the software Tiamo and revised the manuscript. P.V.I. synthesized the tetraesters of erythritol and pentaerythritol and revised the manuscript. E.M.P. designed the whole work, prepared the manuscript, and edited its final form. All authors have read and agreed to the published version of the manuscript.
Funding
This research received no external funding.
Conflicts of Interest
The authors declare no conflict of interest.
Ethical Approval
This article does not contain any studies with human participants or animals performed by any of the authors.
References
- Röper, H.; Goossens, J. Erythritol, a New Raw Material for Food and Non-food Applications. Starch/Stärke 1993, 45, 400–405. [Google Scholar] [CrossRef]
- Moon, H.J.; Jeya, M.; Kim, I.W.; Lee, J.K. Biotechnological production of erythritol and its applications. Appl. Microbiol. Biotechnol. 2010, 86, 1017–1025. [Google Scholar] [CrossRef] [PubMed]
- Hartog, G.J.M.D.; Boots, A.W.; Adam-Perrot, A.; Brouns, F.; Verkooijen, I.W.C.M.; Weseler, A.R.; Haenen, G.R.M.M.; Bast, A. Erythritol is a sweet antioxidant. Nutrition 2010, 26, 449–458. [Google Scholar] [CrossRef]
- Regnat, K.; Mach, R.L.; Mach-Aigner, A.R. Erythritol as sweetener-wherefrom and whereto? Appl. Microbiol. Biotechnol. 2018, 102, 587–595. [Google Scholar] [CrossRef]
- Bringmann, G.; Kuhn, R. Results of toxic action of water pollutants on Daphnia magna Straus tested by an improved standardized procedure. In Z. Wasser Abwasser-Forsch; Aqua Publishing: Richmond, BC, Canada, 1982; Volume 15, pp. 1–6. [Google Scholar]
- Ioannou, P.V.; Lala, M.A.; Tsivgoulis, G.M. Preparation and properties of fully esterified erythritol. Eur. J. Lipid Sci. Technol. 2011, 113, 1357–1362. [Google Scholar] [CrossRef]
- Cygler, M.; Schrag, J.D. Structure as basis for understanding interfacial properties of lipases. Meth. Enzymol. 1997, 284, 3–27. [Google Scholar] [CrossRef]
- Kokkinou, M.; Theodorou, L.G.; Papamichael, E.M. Aspects on the Catalysis of Lipase from Porcine Pancreas (type VI-s) in Aqueous Media: Development of Ion-pairs. Braz. Arch. Biol. Technol. 2012, 55, 231–236. [Google Scholar] [CrossRef]
- Stauch, B.; Fisher, S.J.; Cianci, M. Open and closed states of Candida antarctica lipase B: Protonation and the mechanism of interfacial activation. J. Lipid Res. 2015, 56, 2348–2358. [Google Scholar] [CrossRef] [PubMed]
- Abdul Rahman, R.N.Z.R.; Salleh, A.B.; Basri, M. Lipases: Introduction. In New Lipases and Proteases; Salleh, A.B., Abdul Rahman, R.N.Z.R., Basri, M., Eds.; Nova Science Publishers Inc.: New York, NY, USA, 2006; pp. 1–22. ISBN 1-60021-068-6. [Google Scholar]
- Dulęba, J.; Czirson, K.; Siódmiak, T.; Marszałł, M.P. Lipase B from Candida antarctica—The wide applicable biocatalyst in obtaining pharmaceutical compounds. Med. Res. J. 2019, 4, 174–177. [Google Scholar] [CrossRef]
- Stergiou, P.-Y.; Foukis, A.; Filippou, M.; Koukouritaki, M.; Parapouli, M.; Theodorou, L.G.; Hatziloukas, E.; Afendra, A.; Pandey, A.; Papamichael, E.M. Advances in lipase-catalyzed esterification reactions. Biotechnol. Adv. 2013, 31, 1846–1859. [Google Scholar] [CrossRef] [PubMed]
- Foukis, A.; Gkini, O.A.; Stergiou, P.-Y.; Papamichael, E.M. New insights and tools for the elucidation of lipase catalyzed esterification reaction mechanism in n-hexane: The synthesis of ethyl butyrate. Mol. Catal. 2018, 455, 159–163. [Google Scholar] [CrossRef]
- Strohmeyer, G.; Martin, G.A.; Khingsmuller, V. Changes of alpha-ketoglutaric acid, pyruvic acid and diphosphopyridine nucleotide in chronic liver diseases. Klin. Wochenschr. 1957, 35, 385–390. [Google Scholar] [CrossRef] [PubMed]
- Lymperopoulos, K.; Kosmas, M.; Papamichael, E.M. A Formulation of Different Equations Applied in Enzyme Kinetics. J. Sci. Ind. Res. India 1998, 57, 604–606. [Google Scholar]
- Jenke, D. Establishing the pH of Extraction Solvents Used to Simulate Aqueous Parenteral Drug Products during Organic Extractables Studies. Pharm. Outsourcing 2014, 15. [Google Scholar] [CrossRef]
- Chemical Book. Available online: https://www.chemicalbook.com/ProductMSDSDetailCB4853859_EN.htm (accessed on 27 July 2020).
- Available online: https://pubchem.ncbi.nlm.nih.gov/compound/985#section=Dissociation-Constants&fullscreen=true (accessed on 27 July 2020).
- Available online: https://pubchem.ncbi.nlm.nih.gov/compound/3893#section=pKa&fullscreen=true (accessed on 27 July 2020).
- Po, H.N.; Senozan, N.M. The Henderson-Hasselbalch Equation: Its History and Limitations. J. Chem. Educ. 2001, 78, 1499–1503. [Google Scholar] [CrossRef]
- Namazian, M.; Halvani, S. Calculations of pKa values of carboxylic acids in aqueous solution using density functional theory. J. Chem. Thermodyn. 2006, 38, 1495–1502. [Google Scholar] [CrossRef]
- Salentinig, S.; Sagalowicz, L.; Glatter, O. Self-Assembled Structures and pKa Value of Oleic Acid in Systems of Biological Relevance. Langmuir 2010, 26, 11670–11679. [Google Scholar] [CrossRef] [PubMed]
- Foukis, A.; Gkini, O.A.; Stergiou, P.-Y.; Sakkas, V.A.; Dima, A.; Boura, K.; Koutinas, A.A.; Papamichael, E.M. Sustainable production of a new generation biofuel by lipasecatalyzed esterification of fatty acids from liquid industrial waste biomass. Bioresour. Technol. 2017, 238, 122–128. [Google Scholar] [CrossRef] [PubMed]
- Papamichael, E.M.; Lymperopoulos, K. Elastase and Cathepsin-G from Human PMN activated by PAF: Relation between their Kinetic Behavior and Pathophysiological Role. In Advances in Biotechnology, 1st ed.; Pandey, A., Ed.; Educational Publishers & Distributers: New Delhi, India, 1998; pp. 221–234. ISBN 81-87198-03-6. [Google Scholar]
© 2020 by the authors. Licensee MDPI, Basel, Switzerland. This article is an open access article distributed under the terms and conditions of the Creative Commons Attribution (CC BY) license (http://creativecommons.org/licenses/by/4.0/).



