Refining Long-Time Series of Urban Built-Up-Area Extraction Based on Night-Time Light—A Case Study of the Dongting Lake Area in China
Abstract
1. Introduction
2. Study Area and Data
2.1. Study Area
2.2. Research Data
2.2.1. NTL Research Data Sources
2.2.2. Other Research Data
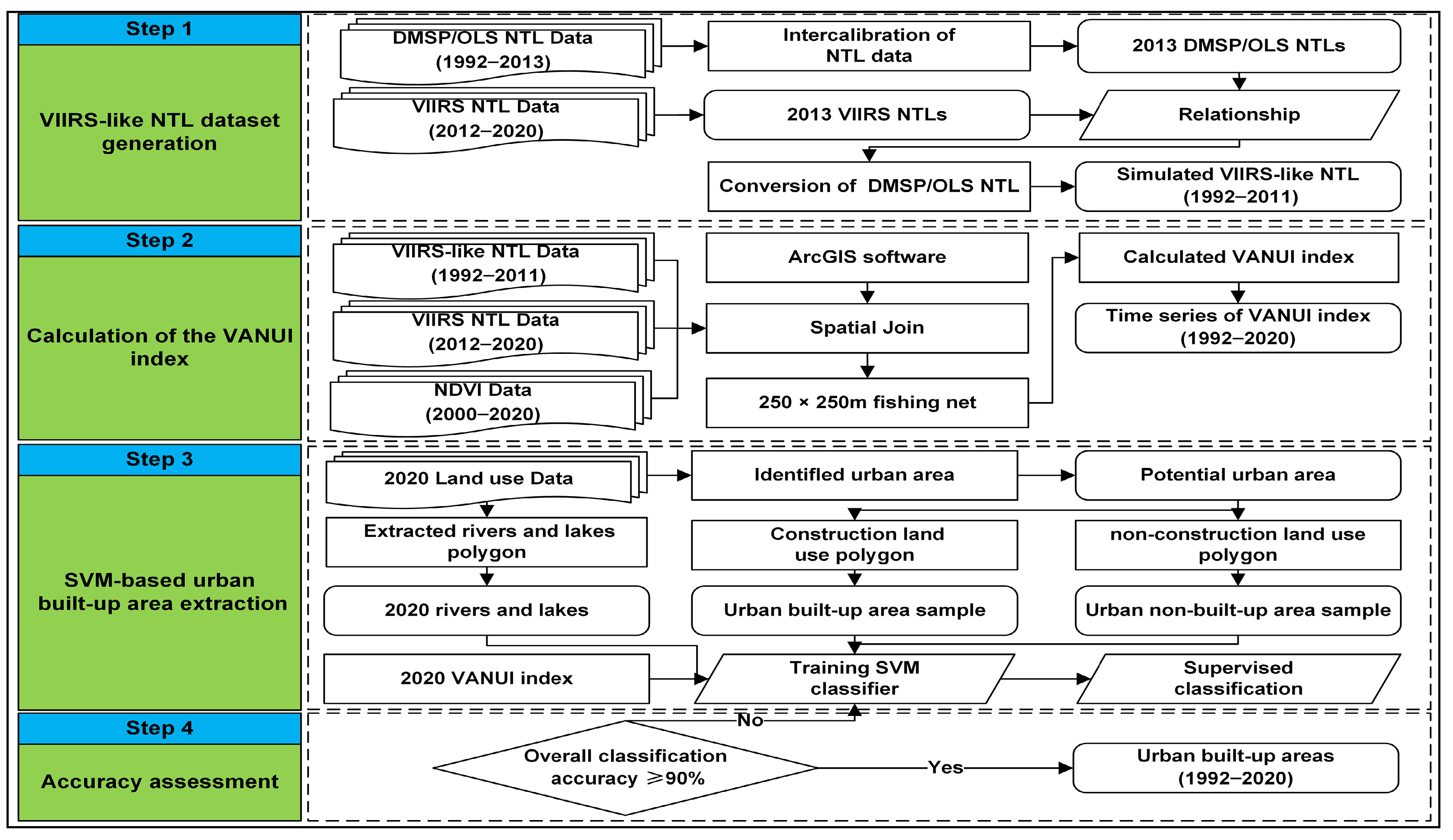
3. Methods
3.1. VIIRS-like NTL Dataset Generation
3.1.1. Intercalibration of NTL Data
3.1.2. Conversion of DMSP/OLS NTL
3.2. Calculation of the VANUI Index
3.3. SVM-Based Urban Built-Up-Area Extraction
3.4. Accuracy Assessment
4. Results
4.1. Assessment of Extraction Results
4.2. Chronological Changes
4.3. Spatial Change
5. Discussion
5.1. Comparisons with Previous Studies
5.2. Limitations of Study
6. Conclusions
Author Contributions
Funding
Data Availability Statement
Acknowledgments
Conflicts of Interest
References
- Buhaug, H.; Urdal, H. An urbanization bomb? Population growth and social disorder in cities. Glob. Environ. Change-Hum. Policy Dimens. 2013, 23, 1–10. [Google Scholar] [CrossRef]
- Brenner, N.; Schmid, C. The ‘Urban Age’ in Question. Int. J. Urban Reg. Res. 2014, 38, 731–755. [Google Scholar] [CrossRef]
- Wang, X.R.; Hui, E.C.M.; Choguill, C.; Jia, S.H. The new urbanization policy in China: Which way forward? Habitat Int. 2015, 47, 279–284. [Google Scholar] [CrossRef]
- Chen, M.X.; Liu, W.D.; Lu, D.D. Challenges and the way forward in China’s new-type urbanization. Land Use Policy 2016, 55, 334–339. [Google Scholar] [CrossRef]
- Chen, M.X.; Liu, W.D.; Tao, X.L. Evolution and assessment on China’s urbanization 1960–2010: Under-urbanization or over-urbanization? Habitat Int. 2013, 38, 25–33. [Google Scholar] [CrossRef]
- Zhang, X.L.; Li, H. Urban resilience and urban sustainability: What we know and what do not know? Cities 2018, 72, 141–148. [Google Scholar] [CrossRef]
- Li, M.M.; Verburg, P.H.; van Vliet, J. Global trends and local variations in land take per person. Landsc. Urban Plan. 2022, 218, 104308. [Google Scholar] [CrossRef]
- Guan, X.L.; Wei, H.K.; Lu, S.S.; Dai, Q.; Su, H.J. Assessment on the urbanization strategy in China: Achievements, challenges and reflections. Habitat Int. 2018, 71, 97–109. [Google Scholar] [CrossRef]
- Li, C.M.; Wang, X.Y.; Wu, Z.; Dai, Z.X.; Yin, J.; Zhang, C.C. An Improved Method for Urban Built-Up Area Extraction Supported by Multi-Source Data. Sustainability 2021, 13, 5042. [Google Scholar] [CrossRef]
- Tian, Y.Y.; Tsendbazar, N.E.; van Leeuwen, E.; Fensholt, R.; Herold, M. A global analysis of multifaceted urbanization patterns using Earth Observation data from 1975 to 2015. Landsc. Urban Plan. 2022, 219, 104316. [Google Scholar] [CrossRef]
- Chen, M.X.; Ye, C.; Lu, D.D.; Sui, Y.W.; Guo, S.S. Cognition and construction of the theoretical connotations of new urbanization with Chinese characteristics. J. Geogr. Sci. 2019, 29, 1681–1698. [Google Scholar] [CrossRef]
- Jiang, L.W.; O‘Neill, B.C. Global urbanization projections for the Shared Socioeconomic Pathways. Glob. Environ. Change-Hum. Policy Dimens. 2017, 42, 193–199. [Google Scholar] [CrossRef]
- Elvidge, C.D.; Imhoff, M.L.; Baugh, K.E.; Hobson, V.R.; Nelson, I.; Safran, J.; Dietz, J.B.; Tuttle, B.T. Night-time lights of the world: 1994–1995. ISPRS J. Photogramm. Remote Sens. 2001, 56, 81–99. [Google Scholar] [CrossRef]
- Shi, K.F.; Huang, C.; Yu, B.L.; Yin, B.; Huang, Y.X.; Wu, J.P. Evaluation of NPP-VIIRS night-time light composite data for extracting built-up urban areas. Remote Sens. Lett. 2014, 5, 358–366. [Google Scholar] [CrossRef]
- Levin, N.; Kyba, C.C.M.; Zhang, Q.L.; de Miguel, A.S.; Román, M.O.; Li, X.; Portnov, B.A.; Molthan, A.L.; Jechow, A.; Miller, S.D.; et al. Remote sensing of night lights: A review and an outlook for the future. Remote Sens. Environ. 2020, 237, 111443. [Google Scholar] [CrossRef]
- Li, X.; Li, X.Y.; Li, D.R.; He, X.J.; Jendryke, M. A preliminary investigation of Luojia-1 night-time light imagery. Remote Sens. Lett. 2019, 10, 526–535. [Google Scholar] [CrossRef]
- Zheng, Q.M.; Weng, Q.H.; Huang, L.Y.; Wang, K.; Deng, J.S.; Jiang, R.W.; Ye, Z.R.; Gan, M.Y. A new source of multi-spectral high spatial resolution night-time light imagery-JL1-3B. Remote Sens. Environ. 2018, 215, 300–312. [Google Scholar] [CrossRef]
- Elvidge, C.D.; Baugh, K.; Zhizhin, M.; Hsu, F.C.; Ghosh, T. VIIRS night-time lights. Int. J. Remote Sens. 2017, 38, 5860–5879. [Google Scholar] [CrossRef]
- Zhang, Q.; Seto, K.C. Can Night-Time Light Data Identify Typologies of Urbanization? A Global Assessment of Successes and Failures. Remote Sens. 2013, 5, 3476–3494. [Google Scholar] [CrossRef]
- Hu, K.; Qi, K.L.; Guan, Q.F.; Wu, C.Q.; Yu, J.M.; Qing, Y.X.; Zheng, J.; Wu, H.Y.; Li, X. A Scientometric Visualization Analysis for Night-Time Light Remote Sensing Research from 1991 to 2016. Remote Sens. 2017, 9, 802. [Google Scholar] [CrossRef]
- Zheng, Q.M.; Seto, K.C.; Zhou, Y.Y.; You, S.X.; Weng, Q.H. Nighttime light remote sensing for urban applications: Progress, challenges, and prospects. ISPRS J. Photogramm. Remote Sens. 2023, 202, 125–141. [Google Scholar] [CrossRef]
- Elvidge, C.D.; Ziskin, D.; Baugh, K.E.; Tuttle, B.T.; Ghosh, T.; Pack, D.W.; Erwin, E.H.; Zhizhin, M. A Fifteen Year Record of Global Natural Gas Flaring Derived from Satellite Data. Energies 2009, 2, 595–622. [Google Scholar] [CrossRef]
- Liu, Z.F.; He, C.Y.; Zhang, Q.F.; Huang, Q.X.; Yang, Y. Extracting the dynamics of urban expansion in China using DMSP-OLS nighttime light data from 1992 to 2008. Landsc. Urban Plan. 2012, 106, 62–72. [Google Scholar] [CrossRef]
- Xin, X.; Liu, B.; Di, K.C.; Zhu, Z.; Zhao, Z.Y.; Liu, J.; Yue, Z.Y.; Zhang, G. Monitoring urban expansion using time series of night-time light data: A case study in Wuhan, China. Int. J. Remote Sens. 2017, 38, 6110–6128. [Google Scholar] [CrossRef]
- Zhang, Q.L.; Schaaf, C.; Seto, K.C. The Vegetation Adjusted NTL Urban Index: A new approach to reduce saturation and increase variation in nighttime luminosity. Remote Sens. Environ. 2013, 129, 32–41. [Google Scholar] [CrossRef]
- Zhuo, L.; Zheng, J.; Zhang, X.F.; Li, J.; Liu, L. An improved method of night-time light saturation reduction based on EVI. Int. J. Remote Sens. 2015, 36, 4114–4130. [Google Scholar] [CrossRef]
- Liu, Y.X.Y.; Yang, Y.P.; Jing, W.L.; Yao, L.; Yue, X.F.; Zhao, X.D. A New Urban Index for Expressing Inner-City Patterns Based on MODIS LST and EVI Regulated DMSP/OLS NTL. Remote Sens. 2017, 9, 777. [Google Scholar] [CrossRef]
- Zhang, J.; Yuan, X.D.; Lin, H. The Extraction of Urban Built-Up Areas by Integrating Night-Time Light and POI Data-A Case Study of Kunming, China. IEEE Access 2021, 9, 22417–22429. [Google Scholar] [CrossRef]
- Zhang, Q.F.; Zheng, Z.H.; Wu, Z.F.; Cao, Z.; Luo, R.B. Using Multi-Source Geospatial Information to Reduce the Saturation Problem of DMSP/OLS Nighttime Light Data. Remote Sens. 2022, 14, 3264. [Google Scholar] [CrossRef]
- He, X.; Zhou, C.S.; Zhang, J.; Yuan, X.D. Using Wavelet Transforms to Fuse Nighttime Light Data and POI Big Data to Extract Urban Built-Up Areas. Remote Sens. 2020, 12, 3887. [Google Scholar] [CrossRef]
- He, X.; Zhang, Z.M.; Yang, Z.J. Extraction of urban built-up area based on the fusion of night-time light data and point of interest data. R. Soc. Open Sci. 2021, 8, 210838. [Google Scholar] [CrossRef] [PubMed]
- Li, X.M.; Song, Y.S.; Liu, H.; Hou, X.Y. Extraction of Urban Built-Up Areas Using Nighttime Light (NTL) and Multi-Source Data: A Case Study in Dalian City, China. Land 2023, 12, 495. [Google Scholar] [CrossRef]
- Li, X.; Li, D.R.; Xu, H.M.; Wu, C.Q. Intercalibration between DMSP/OLS and VIIRS night-time light images to evaluate city light dynamics of Syria’s major human settlement during Syrian Civil War. Int. J. Remote Sens. 2017, 38, 5934–5951. [Google Scholar] [CrossRef]
- Li, X.C.; Zhou, Y.Y.; Zhao, M.; Zhao, X. A harmonized global nighttime light dataset 1992–2018. Sci. Data 2020, 7, 168. [Google Scholar] [CrossRef] [PubMed]
- Zhao, M.; Zhou, Y.Y.; Li, X.C.; Zhou, C.H.; Cheng, W.M.; Li, M.C.; Huang, K. Building a Series of Consistent Night-Time Light Data (1992–2018) in Southeast Asia by Integrating DMSP-OLS and NPP-VIIRS. IEEE Trans. Geosci. Remote Sens. 2020, 58, 1843–1856. [Google Scholar] [CrossRef]
- Chen, Z.Q.; Yu, B.L.; Yang, C.S.; Zhou, Y.Y.; Yao, S.J.; Qian, X.J.; Wang, C.X.; Wu, B.; Wu, J.P. An extended time series (2000–2018) of global NPP-VIIRS-like nighttime light data from a cross-sensor calibration. Earth Syst. Sci. Data 2021, 13, 889–906. [Google Scholar] [CrossRef]
- Zhou, Y.Y.; Smith, S.J.; Elvidge, C.D.; Zhao, K.G.; Thomson, A.; Imhoff, M. A cluster-based method to map urban area from DMSP/OLS nightlights. Remote Sens. Environ. 2014, 147, 173–185. [Google Scholar] [CrossRef]
- Ma, T.; Zhou, Y.K.; Zhou, C.H.; Haynie, S.; Pei, T.; Xu, T. Night-time light derived estimation of spatio-temporal characteristics of urbanization dynamics using DMSP/OLS satellite data. Remote Sens. Environ. 2015, 158, 453–464. [Google Scholar] [CrossRef]
- Liu, L.; Leung, Y. A study of urban expansion of prefectural-level cities in South China using night-time light images. Int. J. Remote Sens. 2015, 36, 5557–5575. [Google Scholar] [CrossRef]
- Pandey, B.; Joshi, P.K.; Seto, K.C. Monitoring urbanization dynamics in India using DMSP/OLS night time lights and SPOT-VGT data. Int. J. Appl. Earth Obs. Geoinf. 2013, 23, 49–61. [Google Scholar] [CrossRef]
- Ju, Y.; Dronova, I.; Ma, Q.; Zhang, X. Analysis of urbanization dynamics in mainland China using pixel-based night-time light trajectories from 1992 to 2013. Int. J. Remote Sens. 2017, 38, 6047–6072. [Google Scholar] [CrossRef]
- Li, Q.M.; Zheng, B.H.; Tu, B.; Yang, Y.S.; Wang, Z.Y.; Jiang, W.; Yao, K.; Yang, J.W. Refining Urban Built-Up Area via Multi-Source Data Fusion for the Analysis of Dongting Lake Eco-Economic Zone Spatiotemporal Expansion. Remote Sens. 2020, 12, 1797. [Google Scholar] [CrossRef]
- Zhou, Y.Y.; Li, X.C.; Asrar, G.R.; Smith, S.J.; Imhoff, M. A global record of annual urban dynamics (1992–2013) from nighttime lights. Remote Sens. Environ. 2018, 219, 206–220. [Google Scholar] [CrossRef]
- Kamarajugedda, S.A.; Mandapaka, P.V.; Lo, E.Y.M. Assessing urban growth dynamics of major Southeast Asian cities using night-time light data. Int. J. Remote Sens. 2017, 38, 6073–6093. [Google Scholar] [CrossRef]
- Zhong, Y.; Lin, A.W.; Zhou, Z.G.; Chen, F.Y. Spatial Pattern Evolution and Optimization of Urban System in the Yangtze River Economic Belt, China, Based on DMSP-OLS Night Light Data. Sustainability 2018, 10, 3782. [Google Scholar] [CrossRef]
- Xu, T.; Ma, T.; Zhou, C.H.; Zhou, Y.K. Characterizing Spatio-Temporal Dynamics of Urbanization in China Using Time Series of DMSP/OLS Night Light Data. Remote Sens. 2014, 6, 7708–7731. [Google Scholar] [CrossRef]
- Elvidge, C.D.; Baugh, K.E.; Kihn, E.A.; Kroehl, H.W.; Davis, E.R. Mapping city lights with nighttime data from the DMSP operational linescan system. Photogramm. Eng. Remote Sens. 1997, 63, 727–734. [Google Scholar]
- Baugh, K.; Elvidge, C.D.; Ghosh, T.; Ziskin, D. Development of a 2009 stable lights product using DMSP-OLS data. Proc. Asia-Pac. Adv. Netw. 2010, 30, 114. [Google Scholar] [CrossRef]
- Elvidge, C.D.; Zhizhin, M.; Ghosh, T.; Hsu, F.C.; Taneja, J. Annual Time Series of Global VIIRS Nighttime Lights Derived from Monthly Averages: 2012 to 2019. Remote Sens. 2021, 13, 922. [Google Scholar] [CrossRef]
- Ma, X.L.; Tong, X.H.; Liu, S.C.; Luo, X.; Xie, H.; Li, C.M. Optimized Sample Selection in SVM Classification by Combining with DMSP-OLS, Landsat NDVI and GlobeLand30 Products for Extracting Urban Built-Up Areas. Remote Sens. 2017, 9, 236. [Google Scholar] [CrossRef]
- Ma, X.L.; Li, C.M.; Tong, X.H.; Liu, S.C. A New Fusion Approach for Extracting Urban Built-up Areas from Multisource Remotely Sensed Data. Remote Sens. 2019, 11, 2516. [Google Scholar] [CrossRef]
- Liu, L.; Li, Z.C.; Fu, X.Y.; Liu, X.; Li, Z.H.; Zheng, W.F. Impact of Power on Uneven Development: Evaluating Built-Up Area Changes in Chengdu Based on NPP-VIIRS Images (2015–2019). Land 2022, 11, 489. [Google Scholar] [CrossRef]
- Chai, C.; He, Y.; Yu, P.; Zheng, Y.; Chen, Z.; Fan, M.; Lin, Y.J.L. Spatiotemporal evolution characteristics of urbanization in the xiamen special economic zone based on nighttime-light data from 1992 to 2020. Land 2022, 11, 1264. [Google Scholar] [CrossRef]
- Elvidge, C.D.; Baugh, K.E.; Zhizhin, M.; Hsu, F.C. Why VIIRS data are superior to DMSP for mapping nighttime lights. Proc. Asia-Pac. Adv. Netw. 2013, 35. [Google Scholar] [CrossRef]












| Satellite | Year | a | b | c | R2 | Satellite | Year | a | b | c | R2 | 
|---|---|---|---|---|---|---|---|---|---|---|---|
| F10 | 1992 | −2.0570 | 1.5903 | −0.0090 | 0.9075 | F15 | 2002 | 0.0491 | 0.9568 | 0.0010 | 0.9658 | 
| F10 | 1993 | −1.0582 | 1.5983 | −0.0093 | 0.9360 | F15 | 2003 | 0.2217 | 1.5122 | −0.0080 | 0.9314 | 
| F10 | 1994 | −0.3458 | 1.4864 | −0.0079 | 0.9243 | F15 | 2004 | 0.5751 | 1.3335 | −0.0051 | 0.9479 | 
| F12 | 1994 | −0.6890 | 1.1770 | −0.0025 | 0.9071 | F15 | 2005 | 0.6367 | 1.2838 | −0.0041 | 0.9335 | 
| F12 | 1995 | −0.0515 | 1.2293 | −0.0038 | 0.9178 | F15 | 2006 | 0.8261 | 1.2790 | −0.0041 | 0.9387 | 
| F12 | 1996 | −0.0959 | 1.2727 | −0.0040 | 0.9319 | F15 | 2007 | 1.3606 | 1.2974 | −0.0045 | 0.9013 | 
| F12 | 1997 | −0.3321 | 1.1782 | −0.0026 | 0.9245 | F16 | 2004 | 0.2853 | 1.1955 | −0.0034 | 0.9039 | 
| F12 | 1998 | −0.0608 | 1.0648 | −0.0013 | 0.9536 | F16 | 2005 | −0.0001 | 1.4159 | −0.0063 | 0.9390 | 
| F12 | 1999 | 0.0000 | 1.0000 | 0.0000 | 1.0000 | F16 | 2006 | 0.1065 | 1.1371 | −0.0016 | 0.9199 | 
| F14 | 1997 | −1.1323 | 1.7696 | −0.0122 | 0.9101 | F16 | 2007 | 0.6394 | 0.9114 | 0.0014 | 0.9511 | 
| F14 | 1998 | −0.1917 | 1.6321 | −0.0101 | 0.9723 | F16 | 2008 | 0.5564 | 0.9931 | 0.0000 | 0.9450 | 
| F14 | 1999 | −0.1557 | 1.5055 | −0.0078 | 0.9717 | F16 | 2009 | 0.9492 | 1.0683 | −0.0016 | 0.8918 | 
| F14 | 2000 | 1.0988 | 1.3155 | −0.0053 | 0.9278 | F18 | 2010 | 2.3430 | 0.5102 | 0.0065 | 0.8462 | 
| F14 | 2001 | 0.1943 | 1.3219 | −0.0051 | 0.9448 | F18 | 2010 | 2.3458 | 0.5100 | 0.0065 | 0.8453 | 
| F14 | 2002 | 1.0517 | 1.1905 | −0.0036 | 0.9203 | F18 | 2011 | 1.8956 | 0.7345 | 0.0030 | 0.9095 | 
| F14 | 2003 | 0.7390 | 1.2416 | −0.0040 | 0.9432 | F18 | 2012 | 1.8750 | 0.6203 | 0.0052 | 0.9392 | 
| F15 | 2000 | 0.1254 | 1.0452 | −0.0010 | 0.9320 | F18 | 2013 | 1.8411 | 0.7049 | 0.0033 | 0.9321 | 
| F15 | 2001 | −0.7024 | 1.1081 | −0.0012 | 0.9593 | 
| Class | Actual Class | ||
|---|---|---|---|
| Built-Up Area | Non-Built-Up Area | ||
| Predicted class | Built-up Area | True Built-up Area | False Built-up Area | 
| Non-built-up Area | False Non-Built-up Area | True Non-Built-up Area | |
| Disclaimer/Publisher’s Note: The statements, opinions and data contained in all publications are solely those of the individual author(s) and contributor(s) and not of MDPI and/or the editor(s). MDPI and/or the editor(s) disclaim responsibility for any injury to people or property resulting from any ideas, methods, instructions or products referred to in the content. | 
© 2024 by the authors. Licensee MDPI, Basel, Switzerland. This article is an open access article distributed under the terms and conditions of the Creative Commons Attribution (CC BY) license (https://creativecommons.org/licenses/by/4.0/).
Share and Cite
Chen, Y.; Ren, F.; Du, Q.; Zhou, P. Refining Long-Time Series of Urban Built-Up-Area Extraction Based on Night-Time Light—A Case Study of the Dongting Lake Area in China. Land 2024, 13, 1006. https://doi.org/10.3390/land13071006
Chen Y, Ren F, Du Q, Zhou P. Refining Long-Time Series of Urban Built-Up-Area Extraction Based on Night-Time Light—A Case Study of the Dongting Lake Area in China. Land. 2024; 13(7):1006. https://doi.org/10.3390/land13071006
Chicago/Turabian StyleChen, Yinan, Fu Ren, Qingyun Du, and Pan Zhou. 2024. "Refining Long-Time Series of Urban Built-Up-Area Extraction Based on Night-Time Light—A Case Study of the Dongting Lake Area in China" Land 13, no. 7: 1006. https://doi.org/10.3390/land13071006
APA StyleChen, Y., Ren, F., Du, Q., & Zhou, P. (2024). Refining Long-Time Series of Urban Built-Up-Area Extraction Based on Night-Time Light—A Case Study of the Dongting Lake Area in China. Land, 13(7), 1006. https://doi.org/10.3390/land13071006
 
        


 
       