Highlights
- Residual stress analysis via existing non-destructive or semi-destructive methods can be costly and time-consuming, and therefore a cheaper and faster methodology is sought.
- This paper proposes a novel measurement device that combines hole drilling and digital image correlation methodology comparable to ASTM E-837-13a.
- Cross-validation of the methodology was performed on a test specimen using conventional methods and the results were found to be within +/−30 MPa.
- This device reduces measurement time from 2 h per point to 45 min and the cost of the experiment is reduced from £50 to £1 per measurement.
Abstract
Residual stress often has a significant impact on part performance and lifetime. Existing measurement techniques using strain gauges or non-destructive methods are often expensive and time-consuming. This paper presents a low-cost, novel measurement device that uses digital image correlation with the hole-drilling method to quantify the magnitude and preferred orientation of these locked-in forces. A two-axis measurement device that rapidly drills and images the surface around the hole was developed to measure residual stresses as a function of depth with sub-millimetre resolution. Validation of the device and DIC methodology was performed using a four-point bending specimen and comparison with conventional strain gauge methods. The results showed strong correlations between the two measurement techniques, as well as the theoretical estimates. The total cost of production was estimated to be approximately £380, which is significantly cheaper than competitors. The device also substantially reduced the cost per measurement point (less than £1 vs. £50+) and shortened the experiment duration from 2 h per point to 45 min per measurement. A functional, rapid, economical device has been designed and produced, which is currently being used for residual stress analysis of industrial samples. The presented design is completely open-source, and the relevant links are provided.
1. Introduction
Residual stresses are stresses locked into a material through plastic deformation. On the macroscopic scale, they can be due to heat treating, machining and secondary processing whereas, on the microscopic scale, they are typically associated with discontinuities in the thermal expansion coefficients, yield stresses, rigidities or phase changes [1]. While compressive residual stresses can sometimes be beneficial, for example by increasing apparent tensile strength, tensile residual stresses can reduce fatigue strength [2] or induce cracking [3] which leads to premature failure. For this reason, quantification of residual stresses is crucial.
The residual stresses in polycrystalline materials are categorised into three major types [4,5,6]. Type I relates to the macroscale residual stresses distributed across the dimensions of a part and contribute to its distortion by long-range gradients of plastic deformation in the part. Type II refers to mesoscale changes on the scale of grain, which are normally caused by the strain incompatibility between grains and the heterogeneous microstructure such as dislocation cells inside grains. Type III, microscale stresses describe the variation of the stress within a grain usually as a result of dislocations and other crystalline defects. These stresses are additive, meaning the sum of these stresses contributes to the overall residual stresses.
The nature of external force application means that near-surface residual stresses are often the most influential in terms of structural integrity [7]. As the total stress is equal to the sum of these stresses added to the applied stresses [8], characterising residual stresses, specifically Type I stresses which impact the material performance and lifecycle on a macroscale, is essential for any design and development, manufacturing and quality control applications. Some critical industries include aerospace, where the demand for fuel-efficient and lightweight aircraft has fuelled the need for high-strength and damage-tolerant alloys for thinner web and wall features [9]. Another notable example includes nuclear energy where the residual stresses at a welding zone must be monitored to avoid stress corrosion cracking in nuclear power plants [10].
Residual stresses are of significant interest for many novel scientific methodologies as well. Metal additive manufacturing techniques rely on rapid heating and melt-back cycles which can result in undesired residual stresses in the part [11]. This can limit the functionality and achievable print geometry [12,13,14]. Another topic of interest is composites, where stresses can be generated within the laminates during the autoclave heating and cooling cycles [15].
Although numerical predictions can be used to estimate residual stress, typically experimental validation is required. Semi-destructive techniques are dependent on inferring the original stress from the displacement incurred by completely or partially relieving the stress by removing material, leaving its overall structural integrity intact for testing, repair or use [16]. These methods rely on the measurement of deformations due to the release of residual stresses upon the removal of material from the specimen [17] and allow for residual stress measurements at different stages of the material’s life [18]. The three most widely used semi-destructive techniques are the deep-hole-drilling [19,20], ring-core drilling [21,22] and the hole-drilling methods [23,24].
The hole-drilling method involves introducing a small hole into the surface of a component at the centre of a strain gauge rosette to measure the relieved strains, and the results are then processed to determine the residual stresses originally present at the hole location [25,26,27]. It has the advantages of good accuracy and reliability, standardized test procedures and convenient practical implementation. The damage caused to the specimen is localized to the small, drilled hole, and is often tolerable or repairable. The principle involves the introduction of a small hole (typically of diameter 1.8 mm and about 2.0 mm deep) at the location where the residual stresses are to be measured. The method is mainly used to measure Type I residual stresses which makes it particularly useful in applications where macroscale stresses are dominant. Appropriate strain gauges cost a minimum of £50 and can only be used for one measurement. The process of gluing the strain gauge can also be complex, requiring two hours or more.
Digital Image Correlation (DIC) is an optical technique used to track and register changes in 2D or 3D measurements [28,29,30,31]. It is a non-contact method that measures full-field displacements/strains through tracking subsets, which are a group of neighbouring pixels that identify a region of the sample. These subsets require the use of speckle patterns, which are random contrast points used to register and track each subset. Compared to strain gauges, DIC offers significant advantages as summarised in Table 1.
Table 1.
Benefits of using DIC over strain gauges for strain relief quantification.
Some of the most common applications of DIC include tensile strain [32] and thermal expansion coefficient measurements [33]. In recent years, DIC and similar speckle pattern methods, such as electronic speckle pattern interferometry [34] have been applied to destructive and semi-destructive residual stress measurements [35,36,37]. Another application of DIC includes microscale residual stress measurements, such as the Focused Ion Beam- DIC measurements [38].
A survey conducted in the UK, investigating the importance of residual stress measurements for researchers and their industrial use, shows that 50% of the participants indicated the residual stresses were of high importance and 30% ranked them as medium importance [39]. Furthermore, the study highlights the hole-drilling measurement method as the most popular measurement method. This shows a residual process device that can simplify and innovate the hole-drilling measurement process has significant potential for use in academic research and in industrial applications.
A review of academic and industrial collaborators was conducted to identify the key benefits such a device must offer, summarised in Table 2. Highlights include fast measurements with minimal preparation. The preparation process for hole-drilling measurements with strain gauges can take up to 8 h [40]. For more complicated measurement methods, such as synchrotron X-Ray measurements, the preparation can take months for an experiment proposal and an appropriate beam time [41]. With the DIC hole-drilling measurement method, this can be reduced to 45 min. Another important factor is the cost. This can be significantly reduced via DIC as the only consumable required for data collection is the paint for speckle patterns (less than £1 per point).
Table 2.
Target specification of device offered by the measurement device.
To achieve a DIC hole-drilling measurement device, a complete product development cycle was followed, where a complete measurement device was designed and produced, the results of which are presented here. This was followed by the validation of the DIC hole-drilling measurement technique implemented in the device. The validation procedure involved conducting a four-point bending test on a control sample, where residual stresses were locked into the material. These stresses were then theoretically and experimentally estimated using strain gauges and the DIC hole-drilling process, allowing for comparable results to industry-standard techniques.
2. Device Design
For developing the measurement device, existing commercial solutions, such as the RS-200 [42], MTS3000-Restan [43], VIC-3D [44] and Prism ESPI [45] and novel experimental setups [39,46] were analysed to develop the target specifications. This highlighted several essential considerations for a combined hole-drilling DIC measurement device such as the eccentricity and the depth resolution of the hole drilled, as well as the required resolution for the DIC camera and its positional accuracy [47,48,49,50,51]. Beyond the capabilities of these devices, DIY 3D printers and milling machines were considered which have similar actuation requirements.
To design the measurement device, an iterative development cycle was followed. Initial tests revealed that the device needed to incrementally drill through a sample and capture an image at every increment. It was also determined that horizontal imaging was key for achieving the stack of images where the displacements can be tracked. The influence of microscale chips from the drilling also needed to be carefully considered. The virtual and physical versions of the measurement device are shown in Figure 1.
Figure 1.
(a) CAD representation of the measurement device, with key components highlighted. (b) Image of the device with key components highlighted.
The measurement sequence involved moving the drill, along the same axis as the microscope, to the measurement point. After each increment, the drill returned to the home position, capturing an image, which continued until the drilling operation was complete. The actuation was achieved using stepper motors, NEMA 17, which have a maximum motor speed of 2400 RPM and a step angle of 0.9° as well as low vibration and audible noise. For both axes, 150 mm T8 lead screws with a 2 mm pitch were used along with linear rail guides that ensured load bearing in all directions. Furthermore, lithium grease was used to further reduce the effects of jerk and friction in the actuation. To control the motors, EasyDriver motor boards were used that allow micro-stepping to achieve an actuation resolution of 0.05 mm. Beyond these considerations, any inaccuracies within the actuation system were minimised by rigid body compensation, commonly used in DIC applications [52,53].
The drivers were connected to an Arduino UNO microcontroller, which was controlled using a USB interface with a PC. The complete architecture for the measurement device is shown in Figure 2.
Figure 2.
System architecture for the measurement device.
To perform the drilling, a variable-speed, 130 W off-the-shelf high-speed drill was used, with speeds ranging between 10,000 and 32,000 revolutions per minute. This range was selected to accommodate the wide range of samples, such as titanium or carbon fibre, and the varying sizes of holes. The drill was used in combination with an inverse cone drill bit, which ensured the flatness of the hole increment drilled, in accordance with hole-drilling theory [54,55].
Grbl, an open-source CNC software [56], was used to implement well-defined and reliable milling cycles, that were customisable for the test requirements. In addition, Grbl allowed the device to be programmed in g-code with an easy-to-use GUI, which was simpler than a low-level programming implementation. This allowed for the implementation of a semi-automatic mode where the user can run the milling cycle, capture and assess the images and continue the milling until the desired depth is achieved. The pseudocode for the measurement cycle is shown in Table 3 (The code can be found at the following link: https://github.com/earabul-sudo/RES-DIC-HD (accessed on 17 July 2022)).
Table 3.
Measurement cycle for the semi-automatic operation of the device.
To image the hole, a high resolution, 48 MP industrial microscope was used, in combination with a 100× C-mount lens, selected based on a target speckle-pattern density of 3–7 pixels [57]. This allowed the user to capture uncompressed, TIF format images as well as providing easy-to-use software that can capture a stack of images. For homogenous illumination of the measurement area, a ring light was used.
In addition to the 2-axis actuation, the device featured adjustable spacers to accommodate multiple samples. These spacers connected to an optomechanical breadboard, where machined and 3D printed clamps could be mounted. This allows for adaptability, where custom experiment setups could be easily prototyped and used.
The device can also be used for large samples or use ‘in the field’ as it can be mounted to a sample using the suction cups. The electronics box contains all the additional electronics for increased durability required for this application. As for the packaging of the device, the design relies on low-cost, durable laser cut, machined and 3D printed parts. Additional functionalities include probing functionality for accurate zero-point depth detection and an onboard chip blower. The key components used in the device along with their costing are listed below in Table 4.
Table 4.
Key components used in the measurement device and their costing.
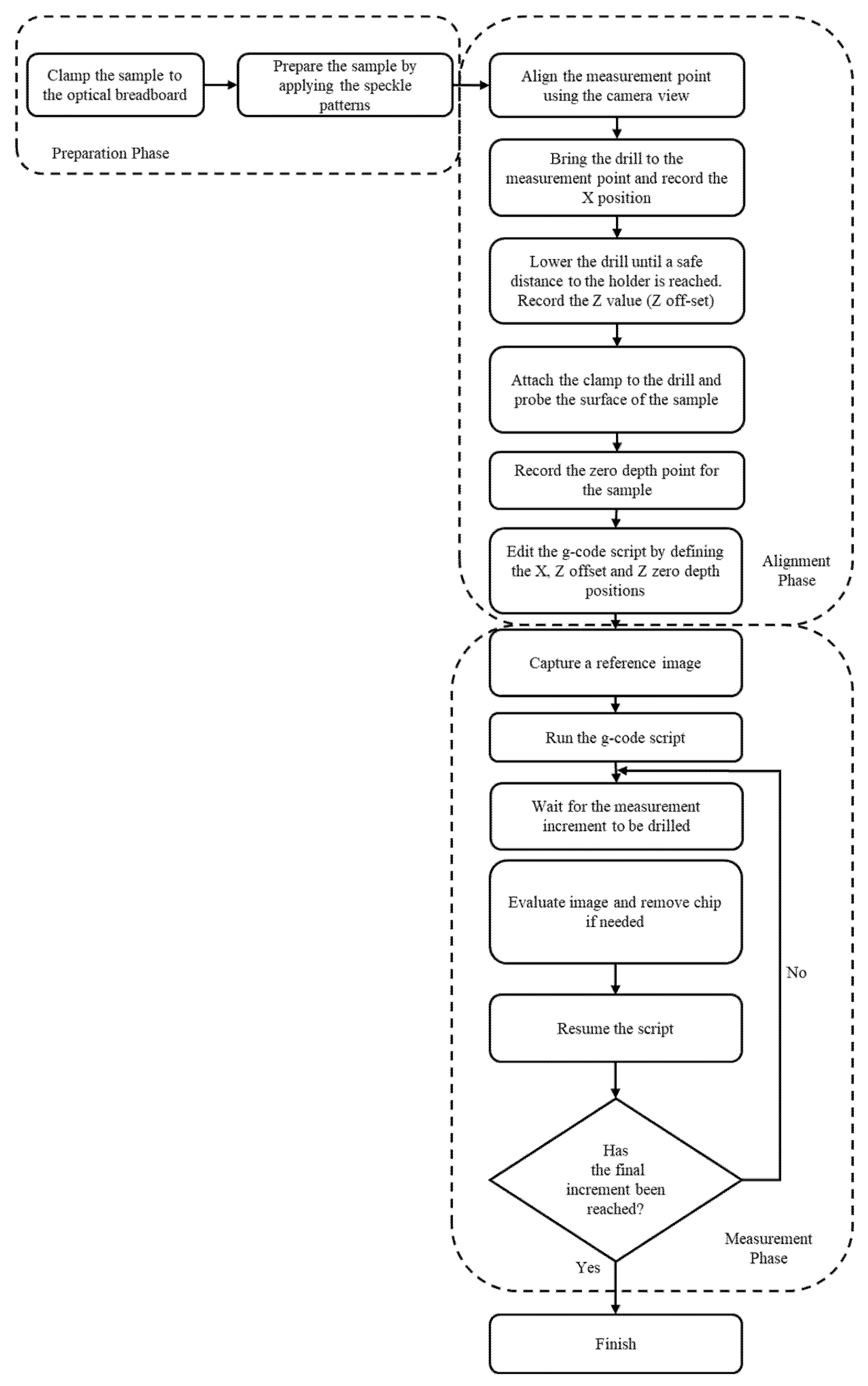
The operating principles of the measurement device are summarised in Figure 3. The DIC hole-drilling measurements start by applying the speckle patterns to a sample. This involves completely covering the sample with a thin layer of white paint. Once the white paint completely dries, black paint is used to mark the speckle patterns, aimed to cover 50% of the measurement area. This process takes 45 min, which is significantly quicker than the installation of a strain gauge for residual stress measurement. It should be noted that, as is the case for all DIC measurements, the precision of the displacement field estimates is highly dependent upon the quality of the pattern contrast and density. This has been the focus of numerous previous studies [58,59] and the good practice guidance outlined in these studies was followed to refine the patterns used in this study.
Figure 3.
Operating principles of the measurement device.
The next step is to align the hole-drilling rig using the live camera view. This is followed by using the on-board probing functionality, where the red clamp and the copper plate are used to determine the zero point of the measurement, as shown in Figure 4. Once the z-position is acquired, it is written into the g-code script. The script is written for easy adjustability based on this measurement. With all the arrangements completed, the device is then rehomed.
Figure 4.
Probing functionality for accurate zero-point detection.
Once ready, the drill is turned on and a reference image is captured. This is followed by running the script in the GUI and starting the measurement. At each increment, the device stops and waits for user input to capture an image. This is to allow for time to evaluate the images and remove any chips that may remain in the field of view. Once the desired hole depth is achieved and an image captured at every depth, the drill can be turned off, concluding the measurement.
3. Experimental Procedure
With the measurement device designed and produced, a validation strategy for comparable results to the strain gauge measurements needed to be determined. This involved plastic deformation of a material through a standardised bending method to achieve known residual stresses. The locked-in stresses were then measured using the hole-drilling method with strain gauges, and the results were compared to DIC hole-drilling estimates. The theoretical value of the stress can be determined using Equation (1), where is the bending stress, M is the moment on the neutral axis, y is the perpendicular distance to the neutral axis and I is the second moment of area. The magnitude of the generated stress was on the order of several 10’s of MPa, which aligns with the scope of the ASTM E837-13a, the governing standard for hole-drilling techniques, allowing comparable results to be achieved.
3.1. Strain Gauge Calibration Measurements
For the strain gauge calibration, a 4-point bending method was selected as it provided a uniform stress distribution between the two central loading points where peak stresses could be observed, and the strain gauges could be applied. Aluminium 6082 was selected to be the sample material as it offers ductility, ease of machining and precise knowledge of mechanical properties.
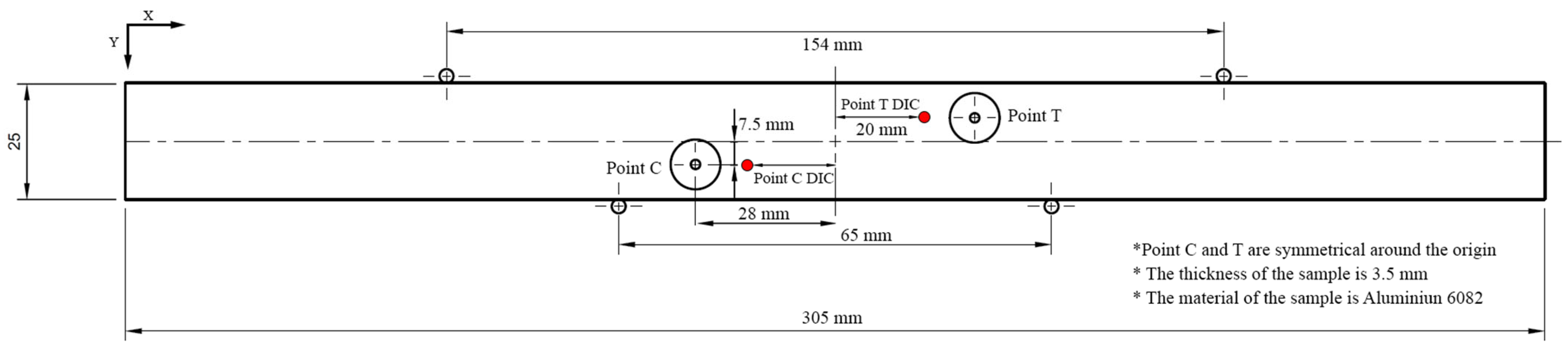
To ensure the sample did not buckle, the material length was chosen to be longer than the experiment setup, and checks were performed via through Euler’s Critical Load and Bending Calculations. Two Micro-Measurements EA-06-062RE-120 general-purpose residual stress-strain gauge rosettes were positioned diagonally within the peak stresses induced by the bending. For the surface preparation and gauge installation, Measurements Group Bulletin B-129 was followed. The test sample with the rollers of the four-point bending setup is represented in Figure 5.
Figure 5.
4-point bending experimental setup with strain gauge positions (Point C and T), speckle pattern and DIC hole-drilling locations (Point C DIC and T DIC) highlighted in red.
As for testing equipment, a 50 kN Instron 3369 was used. A CNC machine was preferred and then used to drill multiple holes incrementally, quickly and accurately. To measure the strains, a data logger was used to arm the strain gauges and record the measurements.
With the preparations completed, a preliminary 4-point bending test was performed using a same-sized spare sample at a load rate of 5 kN/min up to a total force of 7 kN (corresponding to a moment of 156 Nm). This force, in combination with the specimen dimensions, can be used in combination with Equation (1) to determine that this corresponds to a residual stress of 85 and −85 MPa at points T and C, respectively. It should be noted that Equation (1) is the standard theoretical estimate for residual stress generated in a 4-point bend test using beam theory. This framework is based on the approximation of negligible deformation of the specimen. Therefore, in order to ensure this estimate remained valid, relatively low magnitude stresses were generated (<100 MPa). It should be noted that the use of low magnitude stresses was also useful to quantify the sensitivity of the method being developed. The estimated values of stress facilitated the validation of the calculations of the force required for plastic deformation and was followed by repeating the same procedure with the armed sample.
The second stage of the experiment, the hole drilling, involved clamping the sample to the CNC using machine vices with improvised supports. The holes were drilled using a 3-axis drilling program, where the machine coordinates were set to zero at each location manually using a wide-field eyepiece. The machine RPM was 3500, with a feed rate of 0.1 metres per minute at incremental depth of 0.05 mm. Before any measurement, the gauges were zeroed, and the strain was recorded as the holes were being drilled. The process of quantifying the experimental residual stresses is as described in Appendix A.
By applying the Integral Method with Tikhonov Regularisation as detailed in Appendix A, the Cartesian residual stresses at the strain gauges were estimated as a function of depth. The results were as expected, where the stresses in Y and XY directions were measured to be minimal, with the X Stresses shifting from tensile to compressive at points T and C, respectively, as shown in Figure 6.
Figure 6.
Cartesian stresses as a function of depth at (a) point T and (b) point C.
3.2. DIC-Based Measurements
Following the strain gauge calibration test, the DIC hole-drilling approach with the measurement device was implemented. This involved drilling two holes to the tensile- and compressive-stress-loaded edges of the control sample, near points T and C, respectively, as shown in Figure 5. The testing procedure was as previously described, where bespoke clamps were produced to support the sample, the sample was aligned using the live view from the camera and, after collecting the zero-point and offset measurements, the g-code script was edited to incrementally drill through the sample.
To achieve comparability to the strain gauge measurements, similar milling parameters were used. This included a hole diameter of 2 mm with a depth of 1 mm at 10,000 RPM, with a feed rate of 0.1 m per minute and increments of 0.05 mm of the drilling depth. Assessment of the drilling depth was performed, and it was determined that this could reliably be achieved within +/−5 μm. This precision ensured that the approximation of equal depth increments associated with the hole-drilling procedure could be reliably used.
The DIC parameters were optimised based on the requirements of the experiment and the lab environment. It was observed that the best results were achieved when the environmental lights were turned off (to compensate for the flickering of the LED lamps) [37,60].
Furthermore, the images were pre-processed in accordance with good practice DIC corrections [61]. This included rigid-body compensation, which aligned the image sequence and compensated for minor displacement errors due to actuation. Another technique used was image averaging, which increased the signal-to-noise ratio in the images [62], allowing for less noisy results.
With the optimum parameters determined and the images pre-processed, the displacement data from the image sequence was extracted using the open-source DIC software, Ncorr [63]. Figure 7 shows the X and Y displacements in the last image of the sequences, where the maximum displacements were measured. To estimate the error arising from the size and distribution of DIC particles, the standard approach of determining the deviation from the expected hole-drilling relief curves was used [35]. The complete list of key variables used in the experiment is summarised in Table 5, and the strain fields derived from the displacement fields can be found in Appendix B.
Figure 7.
Displacement X and Y at point C (a) and point T (b) caused by strain relief due to the hole drilling, measured using Ncorr, showing locations of virtual strain gauges.
Table 5.
Key parameters used in the experiment.
The images clearly illustrate the effect of strain relief due to the hole drilling, which can be separated from the background noise. However, a number of small circular artifacts with a ring of displacement at their edges were also observed within the displacement field. A careful review of these locations revealed that this arose from aliasing of markers. Fortunately, the displacement change induced by this effect was equal and opposite on either side of the circle. Therefore, the averaging performed over the virtual strain gauges meant that this phenomenon had little to no effect on the strain measurements obtained. This suggests that despite the significant refinement performed to optimize the surface speckle pattern, further improvements are required in terms of the number/size of contrast points.
Calibration of the correlation system was performed via both physical data collection and the generation of virtual data sets via image manipulation. In the first case, two data sets were collected. The first was based on repeated image collection without drilling (or movement), which was used to generate a baseline estimate of the error associated with image noise when no movement or strain change was physically induced. The strain estimates resulting from this analysis were better than 10−6, demonstrating that this was likely to be the baseline sensitivity for the device/software. In the second case, sequential images were collected as the sample was incrementally rastered in the X direction with a step size of 50 μm to assess the impact of bulk shift. The resulting strain estimates were similarly on the order of 10−6, demonstrating that the software was capable of correcting for bulk drift without outputting artificial strain estimates. Stage accuracy was also tested during this process by repeatedly imaging a nominally identical location before and after a stage movement (plus homing). This process revealed that alignment could be reliably achieved to within 15 μm. This is significantly less than the 10′s of microns shift typically induced in the sample during milling and therefore it was deemed to be acceptable for subsequent analysis.
Image manipulation was next used to assess the precision of the DIC measurements by artificially inducing an apparent strain and drift in a speckle pattern image. This was performed by using the software ImageJ to implement a digital zoom of the image from 90% to 110% in increments of 1%. Drift was simulated by incrementally translating the image by 20 pixels in both vertical and horizontal directions, in a step of 2 pixels. It was found that the estimates of strain from the digital zoom were correct within 10−7 and that the digital drift was fully accommodated (strain values of 0). There was therefore confidence that the correlation system was calibrated effectively and that the estimates of strain were likely to be reliable.
It should be noted that the hole-drilling methodology is based on the assumption that the hole drilled into the sample is cylindrical in form. Whilst it is clear that the exact shape of the milled hole is highly sample dependent, in particular on material, clamping and, therefore, geometry, it will also be dependent upon the design of the milling rig. To gain an indication of the performance of the use of the rig on this sample, the roundness of the holes on the surface were assessed during the milling process. It was found that this measure decreased from 1 at the start of milling to values of 0.9991 and 0.9987 at the final depth for the T and C locations, respectively. This indicated that although the hole did become elliptical this transition was minor, suggesting that this sample was likely well mounted and that the rigidity of the rig was sufficient to prevent significant deviations when milling this aluminum alloy.
To achieve comparable results, hole-drilling measurements were evaluated by mimicking strain-gauge measurements, allowing for more direct implementation of the integral method described in ASTM E837-13a.
Figure 8 shows the positioning of the virtual strain gauges, used to extract strain relief curves from the image sequence. This was achieved by implementing virtual extensometers that measured directional displacements relative to the reference image at the same location as that measured by the real strain gauge (Micro-measurements EA-06-062RE-120). The size of these strain gauges was 1.57 × 1.16 mm2 with the closest edge of the gauge being 1.35 mm from the hole center at 0°, 45° and 90° angles relative to the primary axis. These displacements were then converted to strains by dividing them by the length of the extensometers.
Figure 8.
Positioning of the virtual extensometers for calculating X, Y and XY strains.
The final step in the evaluation involved implementing the integral method using the strain curves extracted from the measurements. This was achieved by combining the methodology described in ASTM E837-13a and the strain-gauge formalism for optical measurements published by Schajer [64]. The formalism allowed for adapting the DIC measurements to the standard through a well-defined experiment methodology and updated calibration coefficients, allowing for a straightforward implementation.
4. Results and Discussion
Figure 9 compares the Cartesian residual stresses calculated for the strain gauge and the DIC measurements as a function of depth at points T and C. Compared to the strain gauge measurements, the DIC results show similar trends, where the strains in all directions align with reference measurements.
Figure 9.
Comparison of DIC and strain-gauge measurements as a function of hole depth at (a) point T and (b) point C. The error bars represent the 95% confidence intervals of each point.
While both holes for strain gauge and DIC measurements were drilled starting from the surface of the sample to a hole depth of 1 mm, significant errors were observed at the initial measurement depths, which can be seen in the DIC XY strain measurement at point T. This was initially unexpected, as the initial strain relief at the surface was expected to be minor. However, upon further investigation it was revealed that this artifact was associated with the ‘bedding in’ of the drill bit and the associated lateral forces as the hole was established. Despite making use of rigid-body compensation and imaging-averaging error, the sensitive nature of DIC means that even very small sub-pixel offsets can lead to blur in the averaged images leading to inaccurate subset tracking. However, as more strain is relieved, the residual stresses are more accurately tracked and measured. Therefore, only measurement points between 0.2 mm and 1 mm were analysed.
Another factor which needed to be accounted for in the precision of the DIC measurements was the eccentricity of the hole. Measurement of the shape of the final milled shape provided quantitative estimates of this value of +/− 0.05 mm for both points T and C. The influence of this on the resulting stress/strain estimates has been the focus of previous research [65,66], which revealed that this value corresponds to a nominal increase in the relative error of 5%. Accordingly, the confidence limits of the DIC results were modified to account for this effect as shown in Figure 10.
Figure 10.
Comparison of the average theoretical, strain gauge and DIC estimations of residual stress at points C and T. The error bars represent the 95% confidence values of the stress.
Although the strain gauge measurements for both holes aligned with the theoretical estimations, deviation in the measurements could be observed as the gauges were incrementally drilled. As is the case with most metals, the single crystal of the aluminium 6082 alloy used in this study is anisotropic. However, given that the nominal grain size for this material is expected to be between 1 and 10 μm, there will be between 106 and 109 grains within the gauge volume. It is possible that some preferred grain orientation was induced by the manufacturing process, however this was expected to be minimal. Therefore, it was believed that the grain orientation was close to random and that an isotropic approximation for the macroscale behaviour was a good approximation. These errors may be due to experimental errors, such as drill wear, heat and vibrations induced by the drilling, or minor eccentricity and concentricity errors [67,68,69].
At point T, both strain gauge and DIC measurements were observed to align, with the highest measurement deviation observed in X strains, with a mean measurement error of 30 MPa. This can be due to the positioning of virtual extensometers compared to the strain gauges, where small positional deviations can lead to notable measurement offsets. At point C, a similar error was seen in the X strain as well, with a mean measurement error being 73 MPa. These errors were expected due to the semi-destructive nature of the hole-drilling method, which prevents measurements to be conducted at the same position, resulting in an underestimation in the estimated stresses. However, while the measurements were conducted at an offset, similar trends to the strain gauge measurements were observed, which indicates the displacements were tracked accurately, leading to accurate residual stress calculations.
One interesting result that arose from this analysis is that the magnitudes of the residual stress estimates obtained at both points T and C tended to be moderately more compressive than the theoretical estimate (by several 10′s of MPa). The likely origin of this discrepancy is the compressive residual surface stresses induced in the surface of the bar by the forging and machining processes. Despite the annealing process applied to the bar, these relatively low magnitude forces appear to have been retained. In particular, it can be seen that there was a discrepancy between the residual stress values obtained at the surface of the sample, and those at larger depths. Given the close agreement between the two independent measurement techniques, it is likely that this is a real effect that indicates the surface of the test specimen experiences a stress state different to the bulk. This is a common effect in these types of specimens that arises from the manufacturing process, so it is not unexpected. It will however, lead to an increase in the confidence bounds of the average value as shown in Figure 10.
Overall, the measurement technique was proven to estimate accurate mean residual stress estimations. The average deviation between the measurements and the theoretical estimations was estimated to be less than +/−30 MPa, which is within the accepted tolerance of ASTM E837, as shown in Figure 10.
Device Performance Critique
This paper aimed to develop a low-cost, novel measurement device that combines the DIC and the hole-drilling method. The device was successfully implemented, and offered significant timesaving, where the preparation time was reduced from 2 h per point to 45 min per measurement. It should be however noted that the length of the experiments remains comparable; both measurement methods take around 25 min for a 1 mm deep hole. The measurements validated the performance of the device as well, where a hole-drilling resolution of 0.05 mm and full comparability to the ASTM E837-13a were achieved.
A key challenge that needs to be overcome when performing the hole-drilling measurement technique is to ensure that the position of the milling increment is well aligned to the starting point. There are four key methods that can be used to improve the reliability of this process:
- Ensure the sample is held securely. In this study, this was achieved by designing a range of sample holders specifically tailored to standard shapes/component designs. However, this is something that the user needs to keep in mind when performing this type of analysis, meaning that subsequent gripping methods may be required for non-standard geometries.
- Maximize the rigidity of the rig. Flexibility in the rig may lead to deformation of the rig/assembly during the milling/actuation process. Therefore, the design was specifically tailored and subsequently optimized in order to reduce deflection during these processes.
- Minimize the mass of the actuated components. Reducing the mass of the milling section of the rig reduces the force required by the motors in order to perform movements. Mass refinement was used extensively in the design of these sections of the device to ensure that the rig can be realigned to the highest precision possible.
- Make use of reliable references and a repeatable actuation system. An extensive design procedure was implemented to maximize this aspect of the design including the selection/use of lead screws, couplings, guides and suitable motors, as well as lubrication grease.
The resulting system was tested to quantify the alignment offset associated with the design, which was found to be at worst approximately 15 μm. This magnitude offset is on the same order of magnitude as errors in tool shape or the flexing of the drill bit and therefore this was deemed to be acceptable.
Another significant benefit was the cost, where the cost of the experiment was limited to the running costs, such as the cost of the paints and the drill bit. This eliminated the need to buy and install specialised equipment, such as strain gauges, data loggers and terminal connectors. The cost of the device is also estimated to be significantly lower than the equivalent strain gauge measurement devices, such as the RS-200, which has a price of £6200 [70]. The device has a production cost of £350, which is kept minimal for the mass adoption of the device, particularly in developing countries where the cost of residual stress equipment and the associated measurements can be prohibitive. All the assembly drawings, manual, g-code and calibration coefficients required have been provided for free, in an open-source format in the Supplementary Materials of this paper. The ‘self-construct’ nature of the device also overcomes the need for a license or installation cost from a specialist, albeit at the cost of the time/effort required to produce and assemble the device. Other major benefits include the need for little expertise to operate the measurement device and open-source documentation, allowing researchers worldwide to benefit.
One additional factor which should be highlighted is that the software used to control the device (Grbl) and perform the DIC (NCorr) are free, open-source packages, meaning that there is no cost associated with this aspect of the device. In this study, all analysis was performed on a mid-range laptop (CPU: Intel Core i7-8565U Graphics: Nvidia GeForce MX150 RAM: 4GB) within a few seconds. This means that it would be possible to run the required simulations on a low-spec machine within a few minutes, further increasing the accessibility of the approach presented.
While all the project objectives were achieved, several steps could be taken in future in order to improve the performance of the measurement device. A key consideration relates to increasing the reliability of the measurement device for “in field use”, such as for pipeline inspections [71,72]. These improvements can include better ingress protection, various mounting options, increased durability and increasing the reliability of the drill positioning through closed-loop motor controllers and positional feedback.
5. Conclusions
This paper details the development and validation of a low-cost, novel residual stress measurement device that utilises the DIC and hole-drilling method. The measurement device is significant for both academic and industrial use-cases, offering significant benefits, such as cost and time savings when compared to a strain gauge or more complicated residual stress measurement techniques. The measurement device features two-axis actuation, where a microscope and a drill are attached on the horizontal axis. Following the application of speckle patterns and aligning the sample, the device rapidly drills the desired hole, and images using a microscope, allowing for a sequence of images to be captured for measuring residual stress at the hole position. After the device was produced, the DIC hole-drilling technique was validated via a four-point bending test, where the locked-in stresses were evaluated using strain gauges and the DIC. The results aligned closely, with a deviation of less than +/− 30 MPa in the calculated mean stresses, validating the measurement approach. The measurement device is available at the University of Bath and further information regarding the project can be found at the following link: https://github.com/earabul-sudo/RES-DIC-HD (accessed on 17 July 2022).
Supplementary Materials
The following supporting information can be downloaded at: https://www.mdpi.com/article/10.3390/app12147233/s1, Supplementary material includes: Assembly drawings detailing the measurement device. Manual describing the operation of the device. The g-code script and the milling parameters used for conducting the DIC experiments. The calibration coefficients, and , for calculating the residual stresses using the DIC and strain-gauge hole-drilling methods. Speckle pattern images for points C and T showing the evolution of the speckle patterns during drilling. Every fifth image is provided due to file size restrictions.
Author Contributions
Conceptualization, A.J.G.L.; Data curation, E.A.; Investigation, E.A. and A.J.G.L.; Methodology, E.A.; Software, E.A.; Supervision, A.J.G.L.; Validation, E.A.; Writing—original draft, E.A.; Writing—review & editing, A.J.G.L. All authors have read and agreed to the published version of the manuscript.
Funding
This research received no external funding.
Institutional Review Board Statement
Not applicable.
Informed Consent Statement
Not applicable.
Data Availability Statement
The data regarding the design and production of presented device are openly available in https://github.com/earabul-sudo/RES-DIC-HD (accessed on 17 July 2022). The experimental data presented in this study are available in Supplementary Materials.
Conflicts of Interest
The authors declare no conflict of interest.
Appendix A
In order to quantify the experimental residual stresses, the Integral Method with Tikhonov Regularisation was used, as suggested in ASTM E837-13a [73,74], which calculates the non-uniform stresses at each step.
Figure 6 shows the physical interpretation of a non-uniform stress. The key results of a residual stress measurement are the maximum principle stress σmax, minimum principle stress σmin, and the angle, β at each depth increment. These results are positioned relative to the strain gauge orientation and could be compared against the yield criterion of the material and the application requirements.
Figure A1.
(a) Hole geometry and the non-uniform stresses. (b) Representation of the hole-drilling method with principal stresses σmax, σmin and the angle β shown with respect to the strain gauges.
Figure A1.
(a) Hole geometry and the non-uniform stresses. (b) Representation of the hole-drilling method with principal stresses σmax, σmin and the angle β shown with respect to the strain gauges.

The integral method involves calculating the combinational strains, shown in Equations (A1)–(A3), where are strains measured via the gauges, is the isotropic combinational strain, qj is the shear strain acting at 45 degrees, and tj is the xy shear strain.
where j refers to the number of hole depth steps. The standard errors of these strains are calculated using Equations (A4)–(A6).
where n is the number of steps and . Using the calibration factors provided in ASTM E837-13a, the calibration vectors can be formed at each hole depth increment, denoted as and .
The calibration constants are derived from FEA [75,76], however, they are nearly material independent, varying by less than 2% between materials. Note the calibration coefficients provided are for a 2 mm hole and therefore need to be adjusted with Equation (A7), where d is the hole diameter.
The residual stress at each hole depth is estimated using Equations (A8)–(A10).
For a few milling steps, Equations (A8)–(A10) can be effective. However, with more hole steps, matrices and can become ill-conditioned, leading to significant errors. Therefore, Tikhonov regularisation needs to be applied.
This involves forming a “second derivative” matrix c, Equation (A11):
where the number of rows equals the number of hole depth steps used. The first and last rows contain zeros; all other rows have [–1 2 –1] centred along the diagonal.
By implementing Tikhonov second-derivative regularisation on Equations (A12)–(A14), P, Q and T are calculated:
The factors αp, αQ and αT control the amount of regularisation used which smooth results. Small numbers ranging from 104 to 106 are suitable for the initial guess. Once an initial value is calculated, “misfit” vectors are calculated using the Equations (A15)–(A17), indicating strain differences:
and mean squares are calculated using the Equations (A18)–(A20):
These calculated mean squares are compared to the initial standard errors calculated using Equation (A1). If the results are within 5%, the calculated combinational stress values are accepted. If this is not achieved, the new regularisation factor is iterated using the Equations (A21)–(A23).
Once accepted, the Cartesian stresses with respect to Figure 6 are calculated using the Equations (A24)–(A26).
and the principal stress and their directions are calculated using Equations (A27) and (A28).
Appendix B
Figure A2.
Strains X and Y at point C (a) and point T (b) induced during hole drilling.
Figure A2.
Strains X and Y at point C (a) and point T (b) induced during hole drilling.

References
- TWI. What is Residual Stress?—TWI. Available online: https://www.twi-global.com/technical-knowledge/faqs/residual-stress (accessed on 24 August 2021).
- Al-Turaihi, A.S. The Influence of Partial Peening on Fatigue Crack Growth. Ph.D. Thesis, Cranfield University, Cranfield, UK, 2017. [Google Scholar]
- Hanaki, T.; Hayashi, Y.; Akebono, H.; Kato, M.; Sugeta, A. Effect of compression Residual Stress on Fatigue Properties of Stainless Cast Steel. Procedia Struct. Integr. 2016, 2, 3143–3149. [Google Scholar] [CrossRef] [Green Version]
- Salvati, E.; Korsunsky, A.M. An analysis of macro- and micro-scale residual stresses of Type I, II and III using FIB-DIC micro-ring-core milling and crystal plasticity FE modelling. Int. J. Plast. 2017, 98, 123–138. [Google Scholar] [CrossRef]
- Liu, D.; Flewitt, P.E.J. Raman Measurements of Stress in Films and Coatings. Spectrosc. Prop. Inorg. Organomet. Compd. 2014, 45, 141–177. [Google Scholar] [CrossRef]
- Lunt, A.J.; Korsunsky, A.M. Intragranular Residual Stress Evaluation Using the Semi-Destructive FIB-DIC Ring-Core Drilling Method. Adv. Mater. Res. 2014, 996, 8–13. [Google Scholar] [CrossRef] [Green Version]
- James, M. Residual stress influences on structural reliability. Eng. Fail. Anal. 2011, 18, 1909–1920. [Google Scholar] [CrossRef]
- P. XRD. Residual Stress Information|Proto XRD, 2021. Available online: https://www.protoxrd.com/knowledge-center/residual-stress-info (accessed on 24 August 2021).
- Sim, W.-M. Residual Stress Engineering in Manufacture of Aerospace Structural Parts. In Proceedings of the 3rd International Conference on Distorsions Engineering, Bremen, Germany, 14–16 September 2011. [Google Scholar]
- Guo, J.; Fu, H.; Pan, B.; Kang, R. Recent progress of residual stress measurement methods: A review. Chin. J. Aeronaut. 2021, 34, 54–78. [Google Scholar] [CrossRef]
- Swain, D.; Sharma, A.; Selvan, S.; Thomas, B.; Govind; Philip, J. Residual stress measurement on 3-D printed blocks of Ti-6Al-4V using incremental hole drilling technique. Procedia Struct. Integr. 2019, 14, 337–344. [Google Scholar] [CrossRef]
- Li, C.; Liu, Z.; Fang, X.; Guo, Y. Residual Stress in Metal Additive Manufacturing. Procedia CIRP 2018, 71, 348–353. [Google Scholar] [CrossRef]
- Acevedo, R.; Sedlak, P.; Kolman, R.; Fredel, M. Residual stress analysis of additive manufacturing of metallic parts using ultrasonic waves: State of the art review. J. Mater. Res. Technol. 2020, 9, 9457–9477. [Google Scholar] [CrossRef]
- Mukherjee, T.; Zhang, W.; DebRoy, T. An improved prediction of residual stresses and distortion in additive manufacturing. Comput. Mater. Sci. 2017, 126, 360–372. [Google Scholar] [CrossRef] [Green Version]
- Czapski, P.; Kubiak, T. Influence of residual stresses on the buckling behaviour of thin-walled, composite tubes with closed cross-section—Numerical and experimental investigations. Compos. Struct. 2019, 229, 111407. [Google Scholar] [CrossRef]
- Negem, T. Residual Stress Analysis within Structures using Incremental hole-drilling. Master’s Thesis, TU Delft, Delft, The Netherlands, 2017. [Google Scholar]
- Rossini, N.; Dassisti, M.; Benyounis, K.; Olabi, A. Methods of measuring residual stresses in components. Mater. Des. 2012, 35, 572–588. [Google Scholar] [CrossRef] [Green Version]
- VEQTER. Overview|VEQTER|Residual Stress Experts, 2021. Available online: https://www.veqter.co.uk/residual-stress-measurement/overview (accessed on 24 August 2021).
- Kitano, H.; Okano, S.; Mochizuki, M. A study for high accuracy measurement of residual stress by deep hole drilling technique. J. Phys. Conf. Ser. 2012, 379, 012049. [Google Scholar] [CrossRef] [Green Version]
- Kingston, E.J. Advances in the Deep-Hole-Drilling Technique for Residual Stress Measurement. Ph.D. Thesis, University of Bristol, Bristol, UK, 2004. [Google Scholar]
- Sarga, P.; Menda, F. Comparison of Ring-Core Method and Hole-drilling Method Used for Determining Residual Stresses. Am. J. Mech. Eng. 2013, 1, 335–338. [Google Scholar] [CrossRef]
- Václavík, J.; Weinberg, O.; Bohdan, P.; Jankovec, J.; Holý, S. Evaluation of Residual Stresses using Ring Core Method. EPJ Web Conf. 2010, 6, 44004. [Google Scholar] [CrossRef] [Green Version]
- Chakrabarti, R.; Biswas, P.; Saha, S.C. A Review on Welding Residual Stress Measurement by Hole Drilling Technique and its Importance. J. Weld. Join. 2018, 36, 75–82. [Google Scholar] [CrossRef] [Green Version]
- Barile, C.; Casavola, C.; Pappalettera, G.; Pappalettere, C. Remarks on Residual Stress Measurement by Hole-Drilling and Electronic Speckle Pattern Interferometry. Sci. World J. 2014, 2014, 3. [Google Scholar] [CrossRef] [PubMed] [Green Version]
- Lothhammer, L.R.; Viotti, M.R.; Albertazzi, A., Jr.; Veiga, C.L. Residual stress measurements in steel pipes using DSPI and the hole-drilling technique. Int. J. Press. Vessel. Pip. 2017, 152, 46–55. [Google Scholar] [CrossRef]
- Schajer, G.S. Practical Residual Stress Measurement Methods; John Wiley & Sons: Hoboken, NJ, USA, 2013; pp. 1–310. [Google Scholar] [CrossRef]
- Niku-Lari, A.; Lu, J.A.; Flavenot, J.F. Measurement of Residual Stress Distribution by the Incremental Hole-Drilling Method. J. Mech. Work. Technol. 1985, 11, 167–188. [Google Scholar] [CrossRef]
- Bigger, R.; Blaysat, B.; Boo, C.; Grewer, M.; Hu, J.; Jones, A.; Klein, M.; Raghavan, K.; Reu, P.; Schmidt, T.; et al. A Good Practices Guide for Digital Image Correlation. Volume 5. International Digital Image Correlation Society. 2018. Available online: https://idics.org/guide/DICGoodPracticesGuide_PrintVersion-V5h-181024.pdf (accessed on 15 March 2022).
- Baldi, A. Residual Stress Measurement Using Hole Drilling and Integrated Digital Image Correlation Techniques. Exp. Mech. 2013, 54, 379–391. [Google Scholar] [CrossRef]
- Sabate, N.; Vogel, D.; Gollhardt, A.; Keller, J.; Cane, C.; Gracia, I.; Morante, J.R.; Michel, B. Residual Stress Measurement on a MEMS Structure With High-Spatial Resolution. J. Microelectromech. Syst. 2007, 16, 365–372. [Google Scholar] [CrossRef] [Green Version]
- Lunt, A.J.G.; Korsunsky, A.M. A review of micro-scale focused ion beam milling and digital image correlation analysis for residual stress evaluation and error estimation. Surf. Coat. Technol. 2015, 283, 373–388. [Google Scholar] [CrossRef]
- Yang, L. Measure Strain Distribution Using Digital Image Correlation (DIC) for Tensile Tests Final Report; The Advanced High Strength Steel Stamping Team of the Auto/Steel Partnership: Southfield, MI, USA, 2010. [Google Scholar]
- Botean, A.-I. Thermal expansion coefficient determination of polylactic acid using digital image correlation. E3S Web Conf. 2018, 32, 01007. [Google Scholar] [CrossRef] [Green Version]
- Steinzig, M.; Ponslet, E. Residual stress measurement using the hole drilling method and laser speckle interferometry: Part 1. Exp. Tech. 2003, 27, 43–46. [Google Scholar] [CrossRef]
- Lord, J.D.; Penn, D.; Whitehead, P. The Application of Digital Image Correlation for Measuring Residual Stress by Incremental Hole Drilling. Appl. Mech. Mater. 2008, 13–14, 65–73. [Google Scholar] [CrossRef] [Green Version]
- Lee, J.; Jeong, S.; Lee, Y.-J.; Sim, S.-H. Stress Estimation Using Digital Image Correlation with Compensation of Camera Motion-Induced Error. Sensors 2019, 19, 5503. [Google Scholar] [CrossRef] [Green Version]
- Harrington, J.S.; Schajer, G.S. Measurement of Structural Stresses by Hole-Drilling and DIC. Exp. Mech. 2016, 57, 559–567. [Google Scholar] [CrossRef]
- Krottenthaler, M.; Schmid, C.; Schaufler, J.; Durst, K.; Göken, M. A simple method for residual stress measurements in thin films by means of focused ion beam milling and digital image correlation. Surf. Coat. Technol. 2013, 215, 247–252. [Google Scholar] [CrossRef]
- Kandil, F.A.; Lord, J.D.; Fry, A.T.; Grant, P.V. A review of residual stress measurement methods—A guide to technical selection. NPL Mater. Cent. 2001, 4, 1–42. [Google Scholar]
- Arabul, E. Hole-Drilling and Digital Image Correlation for Residual Stress Analysis; Design and Production of a Novel Microscope and Milling Rig. Master’s Thesis, University of Bath, Bath, UK, 2021. [Google Scholar]
- VEQTER. Synchrotron Diffraction. 2022. Available online: https://www.veqter.co.uk/residual-stress-measurement/synchrotron-diffraction (accessed on 15 March 2022).
- Vishay Precision Group. Measurement of Residual Stresses by the Hole-Drilling Strain-Gage Method, Tech Note TN-503′. 2007. Available online: http://www.vishaypg.com/docs/11053/tn503 (accessed on 15 March 2022).
- SINT Technology. Residual Stress Measurement-Restan MTS3000. 2021. Available online: https://www.mts3000.com/mts3000-restan/ (accessed on 15 March 2022).
- Inc Correlated Solutions. Vic-3D Stereo Microscope-isi-sys. 2020. Available online: http://www.isi-sys.com/vic-3d-micro-system/ (accessed on 15 March 2022).
- Stresstech. ESPI Hole-drilling-Stresstech. Available online: https://www.stresstech.com/knowledge/semi-destructive-testing-methods/espi-hole-drilling/ (accessed on 15 March 2022).
- Pástor, M.; Hagara, M.; Virgala, I.; Kal’Avský, A.; Sapietová, A.; Hagarová, L. Design of a Unique Device for Residual Stresses Quantification by the Drilling Method Combining the PhotoStress and Digital Image Correlation. Materials 2021, 14, 314. [Google Scholar] [CrossRef]
- Ajovalasit, A. Measurement of residual stresses by the hole-drilling method: Influence of hole eccentricity. J. Strain Anal. Eng. Des. 1979, 14, 171–178. [Google Scholar] [CrossRef]
- Beghini, M.; Bertini, L.; Mori, L.F. Evaluating Non-Uniform Residual Stress by the Hole-Drilling Method with Concentric and Eccentric Holes. Part I. Definition and Validation of the Influence Functions. Strain 2010, 46, 324–336. [Google Scholar] [CrossRef]
- Barsanti, M.; Beghini, M.; Bertini, L.; Monelli, B.D.; Santus, C. First-order correction to counter the effect of eccentricity on the hole-drilling integral method with strain-gage rosettes. J. Strain Anal. Eng. Des. 2016, 51, 431–443. [Google Scholar] [CrossRef] [Green Version]
- Reu, P.L.; Sweatt, W.C.; Miller, T.J.; Fleming, D. Camera System Resolution and its Influence on Digital Image Correlation. Exp. Mech. 2014, 55, 9–25. [Google Scholar] [CrossRef]
- Lecompte, D.; Academy, R.M.; Cooreman, S.; Sol, H.; Brussel, V.U. Study and generation of optimal speckle patterns for DIC Study and generation of optimal speckle patterns for DIC. In Proceedings of the Annual Conference and Exposition on Experimental and Applied mechanics, Springfield, MA, USA, 3–6 June 2007. [Google Scholar]
- Hohmann, B.P.; Bruck, P.; Esselman, T.C.; Schmidt, T. Digital Image Correlation (DIC): An Advanced Nondestructive Testing Method for Life Extension of Nuclear Power Plants; International Atomic Energy Agency (IAEA): Vienna, Austria, 2012; pp. 1–8. [Google Scholar]
- Haddadi, H.; Belhabib, S. Use of rigid-body motion for the investigation and estimation of the measurement errors related to digital image correlation technique. Opt. Lasers Eng. 2008, 46, 185–196. [Google Scholar] [CrossRef]
- Rickert, T. Hole Drilling With Orbiting Motion for Residual Stress Measurement—Effects of Tool and Hole Diameters. SAE Int. J. Engines 2017, 10, 467–470. [Google Scholar] [CrossRef]
- Schreier, H.; Orteu, J.-J.; Sutton, M.A. Image Correlation for Shape, Motion and Deformation Measurements: Basic Concepts, Theory and Applications; Springer Science & Business Media: Boston, MA, USA, 2009. [Google Scholar] [CrossRef]
- Jeon, S.K. Grbl. 2021. Available online: https://github.com/grbl/grbl (accessed on 15 March 2022).
- Yang, Q.-M.; Lee, Y.-S.; Lee, E.-Y.; Kim, J.-H.; Cha, K.-U.; Hong, S.-K. A residual stress analysis program using a Matlab GUI on an autofrettaged compound cylinder. J. Mech. Sci. Technol. 2009, 23, 2913–2920. [Google Scholar] [CrossRef]
- Quino, G.; Chen, Y.; Ramakrishnan, K.R.; Martínez-Hergueta, F.; Zumpano, G.; Pellegrino, A.; Petrinic, N. Speckle patterns for DIC in challenging scenarios: Rapid application and impact endurance. Meas. Sci. Technol. 2020, 32, 015203. [Google Scholar] [CrossRef]
- Szalai, S.; Dogossy, G. Speckle pattern optimization for DIC technologies. Acta Technol. Jaurinensis 2021, 14, 228–243. [Google Scholar] [CrossRef]
- Begonia, M.; Dallas, M.; Johnson, M.L.; Thiagarajan, G. Comparison of strain measurement in the mouse forearm using subject-specific finite element models, strain gaging, and digital image correlation. Biomech. Model. Mechanobiol. 2017, 16, 1243–1253. [Google Scholar] [CrossRef]
- Lord, J.; Cox, D.; Ratzke, A. A Good Practice Guide for Measuring Residual Stresses Using FIB-DIC, The National Physical Laboratory (NPL). 2018. Available online: https://eprintspublications.npl.co.uk/7807/1/MGPG143 (accessed on 7 April 2021).
- Sijbers, J.; Scheunders, P.; Bonnet, N. Quantification and Improvement of the Signal-to-Noise Ratio in a Magnetic Resonance Image Acquisition Procedure. Magn. Reson. Imaging 1996, 14, 1157–1163. [Google Scholar] [CrossRef]
- Blaber, J.A.A. Ncorr-Instruction Manual Version 1.2.2-Master. 2017. Available online: http://www.ncorr.com/download/ncorrmanual_v1_2_2 (accessed on 15 March 2022).
- Schajer, G.S. Optical Hole-Drilling Residual Stress Calculations Using Strain Gauge Formalism. Exp. Mech. 2021, 61, 1369–1380. [Google Scholar] [CrossRef]
- Barsanescu, P.; Carlescu, P. Residual Stress Measurement by the Hole-Drilling Strain-Gage Method: Influence of Hole Eccentricity; Technical University: Iasi, Romania, 2007. [Google Scholar]
- Návrat, T.; Halabuk, D.; Vlk, M.; Vosynek, P. Eccentricity Effect in the Hole-Drilling Residual Stress Measurement. Defect Diffus. Forum 2018, 382, 208–212. [Google Scholar] [CrossRef]
- Ajovalasit, A.; Scafidi, M.; Zuccarello, B.; Beghini, M.; Bertini, L. The Hole-Drilling Strain Gauge Method for the Measurement of Uniform or Non-Uniform Residual Stresses; Working Group on Residual Stresses; University of Palermo: Palermo, Italy, 2010; pp. 1–70. [Google Scholar]
- Grant, P.V.; Lord, J.D.; Whitehead, P.S. Measurement Good Practice Guide No. 53 The Measurement of Residual Stresses by the Incremental Hole-drilling Technique. 2002. Available online: https://eprintspublications.npl.co.uk/2517/1/mgpg53.pdf (accessed on 15 March 2022).
- Schajer, G.S. Advances in Hole-Drilling Residual Stress Measurements. Exp. Mech. 2009, 50, 159–168. [Google Scholar] [CrossRef]
- Viksne, A. Residual Stress Measurement of 7050 Aluminum Alloy Open Die Forgings Using the Hole-Drilling Method by Approval Page. Bachelor Thesis, California Polytechnic State University, San Luis Obispo, CA, USA, 2013. [Google Scholar]
- Revie, R.W. Residual Stress in Pipelines. Oil and Gas Pipelines: Integrity and Safety Handbook, 1st ed.; CANMET Materials Technology Laboratory: Ottawa, ON, Canada, 2015. [Google Scholar]
- Mirzaee-Sisan, A.; Wu, G. Residual stress in pipeline girth welds- A review of recent data and modelling. Int. J. Press. Vessel. Pip. 2018, 169, 142–152. [Google Scholar] [CrossRef]
- Surface Preparation for Strain Gage Bonding Instruction Bulletin B-129-8 Surface Preparation for Strain Gage Bonding. Available online: www.micro-measurements.com (accessed on 26 August 2021).
- ASTM E837-20. Standard Test Method for Determining Residual Stresses by the Hole-Drilling Strain-Gages. Available online: https://www.astm.org/e0837-20.html (accessed on 15 March 2022).
- Schajer, G.S. Measurement of Non-Uniform Residual Stresses Using the Hole-Drilling Method—Part I: Stress Calculation Procedure; Materials Division (Publication) MD 7; American Society of Mechanical Engineers, Weyerhaeuser Technology Center: Tacoma, WA, USA, 1988; pp. 85–91. [Google Scholar]
- Schajer, G.S. Measurement of Non-Uniform Residual Stresses Using the Hole-Drilling Method. Part II-Practical Application of the Integral Method; American Society of Mechanical Engineers, Weyerhaeuser Technology Center: Tacoma, WA, USA, 1988. [Google Scholar]
Publisher’s Note: MDPI stays neutral with regard to jurisdictional claims in published maps and institutional affiliations. |
© 2022 by the authors. Licensee MDPI, Basel, Switzerland. This article is an open access article distributed under the terms and conditions of the Creative Commons Attribution (CC BY) license (https://creativecommons.org/licenses/by/4.0/).









