Study of Fault Identification of Clearance in Cam Mechanism
Abstract
:1. Introduction
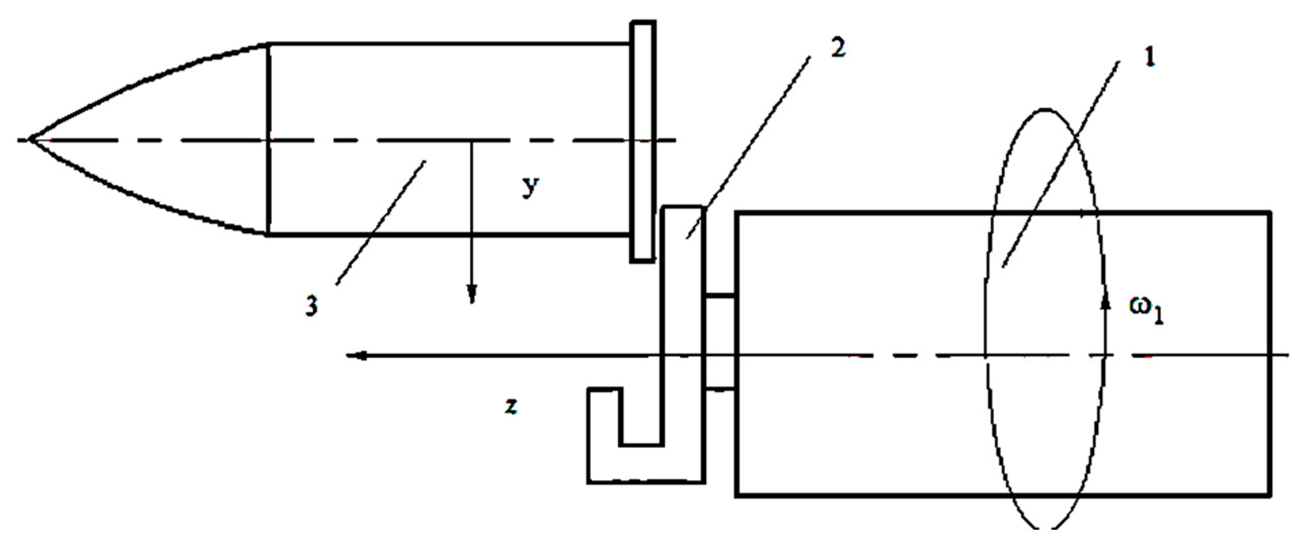
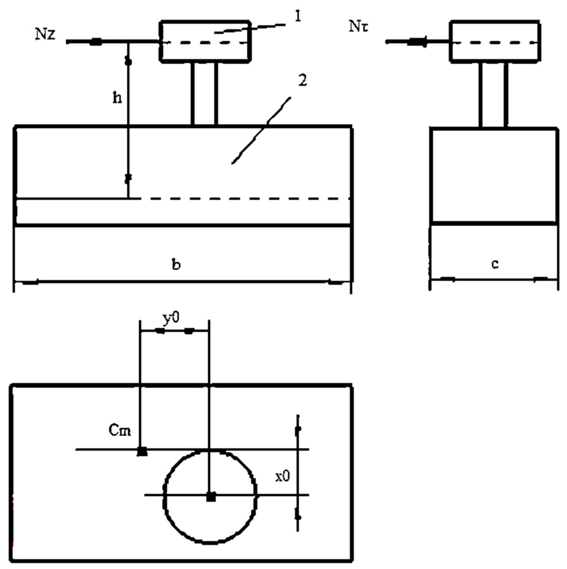
2. Primary Roller Modeling and Dynamics Analysis
2.1. Main Roller Kinematics Analysis
2.2. Main Roller Pure Rolling Analysis
3. Systems Mechanism Kinematics Analysis
3.1. Analysis of Three States
3.2. Several Bolt Groups Drive Transmissions with Recoil Clockwise and Counterclockwise
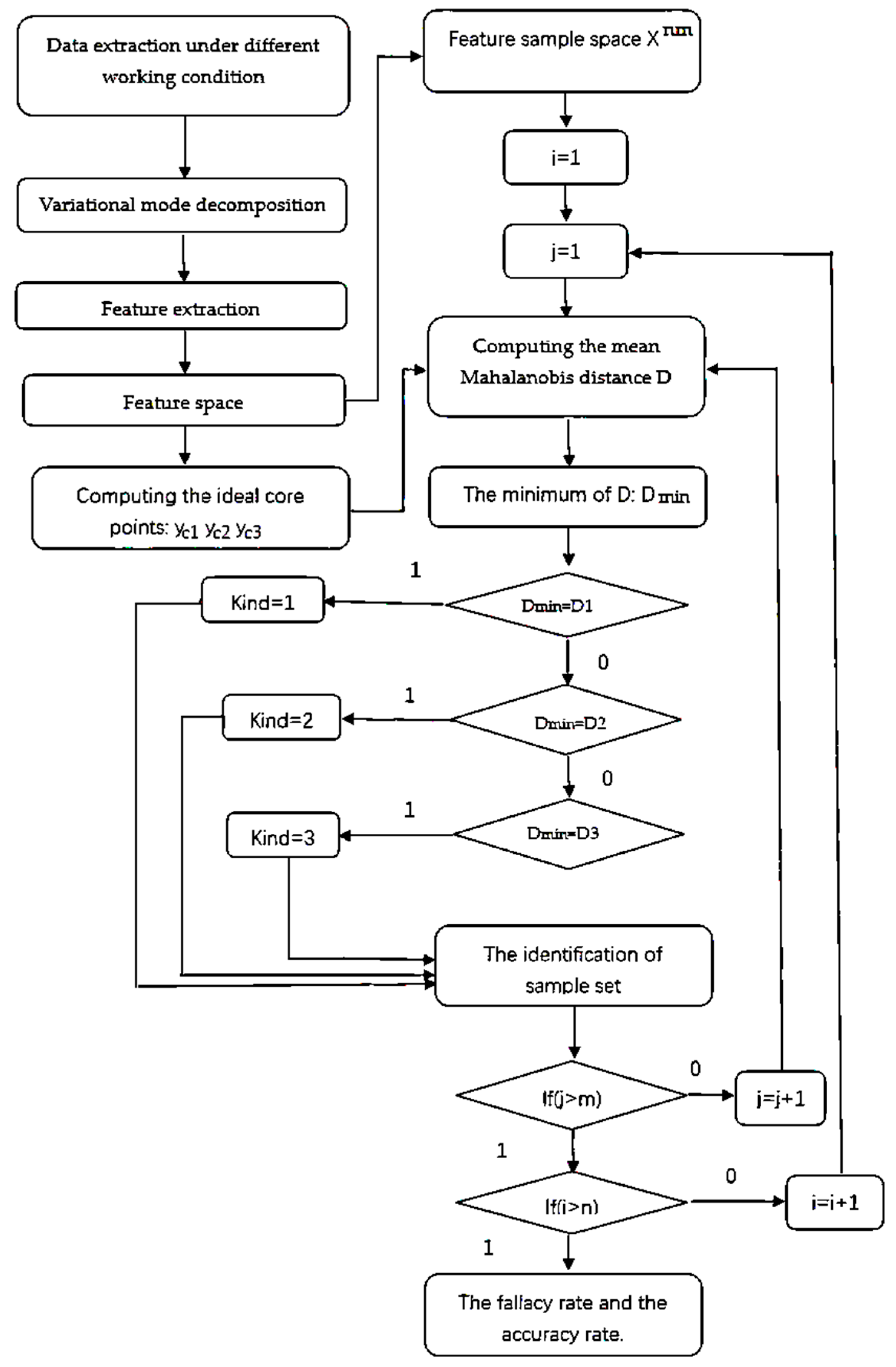
4. Research on the Motion Distortion Identification of Cam Mechanism
4.1. Motion Distortion Module Identification by KMD-FC Algorithm
4.2. Modification of the Convergence Coefficient of the Kernel Fuzzy Clustering Function
5. Experiment Verification
5.1. Case Analysis
5.2. Test Method and Basic Structure
6. Conclusions and Expectation
Author Contributions
Funding
Institutional Review Board Statement
Conflicts of Interest
Nomenclature
| α | Angular acceleration of the revolving body. | 
| Ψ(θ) | A function of θ, csc(θ). | 
| δ | Neighborhood domain value of the o point. | 
| δ0 | Initial value of the distance between the O point and Pc. | 
| ε | Angular acceleration of the main roller. | 
| ϕ | Angle of revolution of the revolving body. | 
| φ(θ) | A function of θ, cot(θ). | 
| Φ(X) | Approximation function of X. | 
| ρ | Density of the main roller. | 
| ρ0 | Friction circle radius. | 
| θ | Pressure angle matrix. | 
| θi | Motion pressure angle of the roller. | 
| ω | Roller group angular velocity matrix. | 
| ω1 | Angular velocity of the revolving body. | 
| Fi | Inertial force. | 
| Fs | Static friction force. | 
| fs | Static friction coefficient. | 
| J | Rotary inertia. | 
| K | Number of rollers. | 
| Mg | Inertia moment. | 
| N | Vertical contact force. | 
| n | Firings or the number of cycles. | 
| Num | Abbreviation of numbers of samples. | 
| Pc | Ideal nuclear center Pc. | 
| R | Main roller radius. | 
| Rn | Radius of the pin roll. | 
| S | Eigenvalues of singular value decomposition. | 
| t | Thickness of a cylinder. | 
| V | Mass transitional velocity matrix. | 
| Vz | Longitudinal velocity vector of the bolt. | 
| v | Rate of change in the weight factor. | 
| w | Weight factor matrix. | 
| X | Feature vector group. | 
| Y | Numerator of the transformation of the function Φ(X). | 
References
- Zuo, S.; Wang, D.; Zhang, Y.; Luo, Q. Design and Testing of a Parabolic Cam-roller Quasi-zero-stiffness Vibration Isolator. Int. J. Mech. Sci. 2022, 220, 107146. [Google Scholar] [CrossRef]
- Yousuf, L.S. Non-periodic Motion Reduction in Globoidal Cam with Roller Follower Mechanism. Proc. Inst. Mech. Eng. Part C J. Mech. Eng. Sci. 2022, 236, 2714–2727. [Google Scholar] [CrossRef]
- Yousuf, L.S. Influence of Nonlinear Dynamics Behavior of the Roller Follower on the Contact Stress of Polydyne Cam Profile. Processes 2022, 10, 585. [Google Scholar] [CrossRef]
- Yousuf, L.S.; Hadi, N.H. Contact Stress Distribution of a Pear Cam Profile with Roller Follower Mechanism. Chin. J. Mech. Eng. 2021, 34, 1–14. [Google Scholar] [CrossRef]
- Yousuf, L.S. Nonlinear Dynamics Phenomena in the Globoidal Cam with Roller Follower Mechanism. Chaos Solitons Fractals 2021, 150, 111132. [Google Scholar] [CrossRef]
- Hsu, K.-L.; Pan, T.-H.; Wu, L.-I. Grooved Cam Mechanism with a Translating Follower Having an Added Ternary-Roller Intermediate Link. J. Mech. Des. 2022, 144, 063304. [Google Scholar] [CrossRef]
- Xu, J.; Song, L.; Yang, Z.; Li, Q. Recoil and Assembling Clearance on Roller Dynamic Analysis for Cylinder Cam Mechanism. J. Phys. Conf. Ser. 2020, 1633, 1633–1641. [Google Scholar] [CrossRef]
- Yousuf, L.S.; Marghitu, D.B. Marghitu. Analytic and Numerical Results of a Disc Cam Bending with a Roller Follower. SN Appl. Sci. 2020, 2, 1639. [Google Scholar] [CrossRef]
- Qu, D.; Zhang, R.; Xu, J.; Zhang, S. Lubrication Analysis and Abrasion Prediction of a Cam-roller Configuration. IOP Conf. Ser. Earth Environ. Sci. 2019, 267, 042065. [Google Scholar] [CrossRef] [Green Version]
- Alakhramsing, S.S.; de Rooij, M.B.; Akchurin, A.; Schipper, D.J.; van Drogen, M. A Mixed-TEHL Analysis of Cam-Roller Contacts Considering Roller Slip: On the Influence of Roller-Pin Contact Friction. J. Tribol. Trans. ASME 2019, 141, 011503. [Google Scholar] [CrossRef]
- Qiu, H.; Lin, C.-J.; Li, Z.-Y.; Ozaki, H.; Wang, J.; Yue, Y. A Universal Optimal Approach to Cam Curve Design and its Application. Mech. Mach. Theory 2005, 40, 669–692. [Google Scholar] [CrossRef]
- Djeddou, F.; Smata, L.; Ferhat, H. Optimization and a Reliability Analysis of a Cam-roller Follower Mechanism. J. Adv. Mech. Des. Syst. Manuf. 2018, 12, JAMDSM0121. [Google Scholar] [CrossRef] [Green Version]
- Xu, J.; Li, Q.; Yang, Z. Roller Dynamic Analysis and Pure Rolling Criterion for one type High-Speed Cylinder Cam Mechanism. J. Chin. Soc. Mech. Eng. 2016, 37, 315–323. [Google Scholar]
- Chang, W.-T.; Wu, L.-I.; Liu, C.-H. Inspecting Profile Deviations of Conjugate Disk Cams by a Rapid Indirect Method. Mech. Mach. Theory 2009, 44, 1580–1594. [Google Scholar] [CrossRef]
- Lan, W.; Fan, S.; Fan, S. Analysis of Assembly Defects in the Cam Curved Groove Mechanism. Assem. Autom. 2021, 41, 79–88. [Google Scholar] [CrossRef]
- Sun, J.; Liu, X.; Yin, Z.; Zeng, T.; Su, T.; Ding, X.; Shao, Y. Optimization Design Investigation of a Cylindrical End Curve Towards a Non-continuous Profile of a Cam Mechanism. J. Eng. 2018, 2018, 1753–1760. [Google Scholar] [CrossRef]
- Liu, Y.X.; Peng, R.S. Design for Deep Groove Ball Bearing Assembly Machine’s Cam Drive System Based on Parametric Modeling. Adv. Mater. Res. 2011, 328, 63–66. [Google Scholar] [CrossRef]
- Zhong-Liang, G.; Ping, H. A Calculating Model of Sliding Friction Coefficient Based on Non-continuous Energy Dissipation. Acta Phys. Sin. 2011, 60, 389–394. [Google Scholar]
- Youyun, Z.; Zhao, C.; Yongsheng, Z. Finite Element Simulation of Effects of COF on Wear of High Pair. J. Harbin Inst. Technol. 2013, 9, 64–68. [Google Scholar]
- Jian, X.; Yucheng, B.; Xuefang, C. Analysis and Improvement of the Cam Curve Groove for Super-high Fire Rate Gatling Gun. J. Gun Launch Control 2007, 4, 43–46. [Google Scholar]
- Zhou, J.; Pedrycz, W.; Yue, X.; Gao, C.; Lai, Z.; Wan, J. Projected Fuzzy C-means Clustering with Locality Preservation. Pattern Recognit. 2020, 113, 107748. [Google Scholar] [CrossRef]
- Zhang, H.; Li, H.; Chen, N.; Chen, S.; Liu, J. Novel Fuzzy Clustering Algorithm with Variable Multi-pixel Fitting Spatial Information for Image Segmentation. Pattern Recognit. 2022, 12, 108201. [Google Scholar] [CrossRef]
- Chen, T.; Kuo, D.; Chen, C.Y.J. Fuzzy C-means Robust Algorithm for Nonlinear Systems. Soft Comput. 2021, 25, 7297–7298. [Google Scholar] [CrossRef]
- Verleysen, K.; Coppitters, D.; Parente, A.; De Paepe, W.; Contino, F. Rolling Bearing Fault Diagnosis Utilizing Variational Mode Decomposition Based Fractal Dimension Estimation Method. Meas. J. Int. Meas. Confed. 2021, 181, 109614. [Google Scholar] [CrossRef]
- Nayak, S.R.; Mishra, J. Fractal Dimension-based Generalized Box-counting Technique with Application to Grayscale Images. Fractals 2021, 29, 2150055. [Google Scholar] [CrossRef]
- Zeng, S.; Wang, X.; Duan, X.; Zeng, S.; Xiao, Z.; Feng, D. Kernelized Mahalanobis Distance for Fuzzy Clustering. IEEE Trans. Fuzzy Syst. 2020, 29, 3103–3117. [Google Scholar] [CrossRef]



























| State | Num. | dmkf1 | dmkf2 | 
|---|---|---|---|
| Normal | 1560 | A11 | A12 | 
| Degraded | 870 | B11 | B12 | 
| Failure | 380 | C11 | C12 | 
| Publisher’s Note: MDPI stays neutral with regard to jurisdictional claims in published maps and institutional affiliations. | 
© 2022 by the authors. Licensee MDPI, Basel, Switzerland. This article is an open access article distributed under the terms and conditions of the Creative Commons Attribution (CC BY) license (https://creativecommons.org/licenses/by/4.0/).
Share and Cite
Chang, X.; Pan, H.; Xu, J.; Wang, T. Study of Fault Identification of Clearance in Cam Mechanism. Appl. Sci. 2022, 12, 7420. https://doi.org/10.3390/app12157420
Chang X, Pan H, Xu J, Wang T. Study of Fault Identification of Clearance in Cam Mechanism. Applied Sciences. 2022; 12(15):7420. https://doi.org/10.3390/app12157420
Chicago/Turabian StyleChang, Xuefang, Hongxia Pan, Jian Xu, and Tong Wang. 2022. "Study of Fault Identification of Clearance in Cam Mechanism" Applied Sciences 12, no. 15: 7420. https://doi.org/10.3390/app12157420
APA StyleChang, X., Pan, H., Xu, J., & Wang, T. (2022). Study of Fault Identification of Clearance in Cam Mechanism. Applied Sciences, 12(15), 7420. https://doi.org/10.3390/app12157420
 
         
                                                


 
       