Design and Optimization of a Soil-Covering Device for a Corn No-Till Planter
Abstract
:1. Introduction
2. Materials and Methods
2.1. Design of Soil-Covering Device with Soil-Closing Function
2.1.1. Overall Design
2.1.2. Working Process
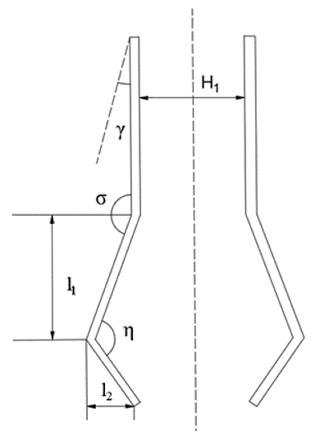
2.1.3. Design of Key Components
2.2. Altair EDEM Simulation Analysis
2.2.1. Soil Particle Model
2.2.2. Corn Grain Model
2.2.3. Altair EDEM Simulation Parameters
2.2.4. Altair EDEM Simulation
2.2.5. Particle Motion Mechanism Analysis
3. Results
3.1. Simulation Test of Soil-Covering Device
3.2. Quadratic Orthogonal Rotational Regression Combined Experimental Design
3.3. Simulation Test Results and Analysis
3.3.1. Regression Equation
3.3.2. Analysis of Variance of the Regression Equation
3.3.3. Response Surface Analysis of Each Test Factor to Test Index
3.3.4. Optimization of Structural Parameters
3.4. Field Test of the Soil-Covering Device
3.4.1. Comparative Test
3.4.2. Performance Test
4. Discussion
5. Conclusions
- (1)
- A soil-covering device with a soil-closing function that can realize the separation of clod and fine soil and the angle of soil covering can be adjusted is designed, the key parameters of the device were designed, and the interaction model between the soil-covering device and the soil was established.
- (2)
- The quadratic rotation regression combination orthogonal was used to conduct the simulation test. The primary and secondary order of the factors affecting the performance of the soil-covering device was obtained through variance analysis and response surface analysis: speed, disc opening angle, soil dividing plate inclination angle, and disc inclination angle. The optimal combination was as follows: the operating speed was 6.35 km·h−1, the disc opening angle was 60°, the disc inclination angle was 70°, and the soil plate inclination angle was 40°. Currently, the covering soil thickness was 48.24 mm, and the seed offset is10.667 mm.
- (3)
- Through comparative experiments, it was determined that the soil-covering device with a soil-closing function could separate soil blocks and enhance the performance of soil fluidity. The results show that the thickness of soil cover was 48.3–52.4 mm, and the seed offset was 12–20 mm. The seed offset was small, and the soil covering was uniform, which meets the agronomic requirements of corn planting.
Author Contributions
Funding
Institutional Review Board Statement
Informed Consent Statement
Data Availability Statement
Acknowledgments
Conflicts of Interest
References
- Wang, Q.; Cao, X.; Wang, C.; Li, H.; He, J.; Lu, C. Research Progress of No/Minimum Tillage Corn Seeding Technology and Machine in Northeast Black Land of China. Trans. Chin. Soc. Agric. Mach. 2021, 52, 1–15. [Google Scholar]
- Wang, Q.; Xu, Q.; Lu, C.; Li, H.; He, J.; Wang, Q. Research status and development of key technologies for no-tillage seeding intellectualization. J. South China Agric. Univ. 2021, 42, 27–35. [Google Scholar]
- Somerville, P.D.; May, P.B.; Livesley, S.J. Effects of deep tillage and municipal green waste compost amendments on soil properties and tree growth in compacted urban soils. J. Environ. Manag. 2018, 227, 365–374. [Google Scholar] [CrossRef] [PubMed]
- Hargreaves, P.R.; Baker, K.L.; Graceson, A.; Bonnett, S.; Ball, B.C.; Cloy, J.M. Soil compaction effects on grassland silage yields and soil structure under different levels of compaction over three years. Eur. J. Agron. 2019, 109, 125916. [Google Scholar] [CrossRef]
- Liu, L.; Ma, C.; Liu, Z. EDEM-based Parameter Optimization and Experiment of Full-layer Fertilization Shovel for Strip Subsoiling. Trans. Chin. Soc. Agric. Mach. 2021, 10, 74–83. [Google Scholar]
- Yan, B.; Wu, G.; Fu, W.; Gao, N.; Meng, Z.; Zhu, P. Influencing Factors of Corn Implantation Distribution for High-Planting Based on EDEM. Trans. Chin. Soc. Agric. Mach. 2020, 51, 47–54. [Google Scholar]
- Chen, Y.; Munkholm, L.J.; Nyord, T. A discrete element model for soil–sweep interaction in three different soils. Soil Tillage Res. 2013, 126, 34–41. [Google Scholar] [CrossRef]
- Ucgul, M.; Saunders, C. Simulation of tillage forces and furrow profile during soil-mouldboard plough interaction using discrete element modelling. Biosyst. Eng. 2020, 190, 58–70. [Google Scholar] [CrossRef]
- Tekeste, M.Z.; Balvanz, L.R.; Hatfield, J.L.; Ghorbani, S. Discrete element modeling of cultivator sweep-to-soil interaction: Worn and hardened edges effects on soil-tool forces and soil flow. J. Terramechanics 2019, 82, 1–11. [Google Scholar] [CrossRef]
- Hang, C.; Gao, X.; Yuan, M.; Huang, Y.; Zhu, R. Discrete element simulations and experiments of soil disturbance as affected by the tine spacing of subsoiler. Biosyst. Eng. 2018, 168, 73–82. [Google Scholar] [CrossRef]
- Barr, J.; Desbiolles, J.; Ucgul, M.; Fielke, J.M. Bentleg furrow opener performance analysis using the discrete element method. Biosyst. Eng. 2020, 189, 99–115. [Google Scholar] [CrossRef]
- Zhang, H.; Chen, J.; Song, Y.; Han, D.; Ji, C. Design of Auger Screw Precise Soil Covering Device for Dry Land. Xinjiang Agric. Mech. 2021, 5, 21–22. [Google Scholar]
- Zhang, Z.; Sun, X.; Jin, Z.; Bing, Z.; Sun, J.; Tong, J. Design and Test of Crushing Bionic Soil Covering Device of Soybean Seeder. Trans. Chin. Soc. Agric. Mach. 2018, 49, 34–40, 73. [Google Scholar]
- Lin, J.; Meng, F.; Gao, W. Optimum Design and Experimental Study of Soil Covering Device of Straw Deep-buried Returning Machine. J. Shenyang Agric. Univ. 2019, 50, 694–702. [Google Scholar]
- Liu, X.; Jin, L.; Zhao, Y.; Guo, H.; Wang, J. Experiment research of double-deck disk coverer based on uniform design. J. Chin. Agric. Mech. 2016, 37, 26–28. [Google Scholar]
- Song, L.; Yang, X.; Li, Q. Simulation study on precision seeding disc covering device based on SPH’s mesh less method. J. Chin. Agric. Mech. 2016, 37, 29–32, 42. [Google Scholar]
- Gou, W.; Ma, R.; Fan, G.; Yang, W.; Liu, L.; Lei, X. Parameter optimization of interlink covering device in relay-cropping system. Trans. CSAE 2011, 27, 33–37. [Google Scholar]
- Wang, J. The Research of Position Control after Seed Contacting Soil in the Process of Soil Covering and Rolling with Precision Seeder; Jilin University: Jilin, China, 2012. [Google Scholar]
- Li, Y.; Meng, P.; Geng, D.; He, K.; Meng, F.; Jiang, M. Intelligent System for Adjusting and Controlling Corn Seeding Depth. Trans. Chin. Soc. Agric. Mach. 2016, 47, 62–68. [Google Scholar]
- Chao, B.; Yuang, P.; Han, C.; You, J.; Gao, J. Design of Automatic Regulating Device for Soil Cover of Transplanter. J. Agric. Mech. Res. 2022, 44, 54–58. [Google Scholar]
- Nielsen, S.K.; Nørremark, M.; Green, O. Sensor and control for consistent seed drill coulter depth. Comput. Electron. Agric. 2016, 127, 690–698. [Google Scholar] [CrossRef]
- Suomi, P.; Oksanen, T. Automatic working depth control for seed drill using ISO 11783 remote control messages. Comput. Electron. Agric. 2015, 116, 30–35. [Google Scholar] [CrossRef]
- Kiani, S.; Kamgar, S.; Raoufat, M. Automatic on-line depth control of seeding unit using a non-contacting ultrasonic sensor. Can. Soc. Bioeng. 2010, 6, 13–17. [Google Scholar]
- Kirkegaard Nielsen, S.; Munkholm, L.J.; Lamandé, M.; Nørremark, M.; Skou-Nielsen, N.; Edwards, G.T.C.; Green, O. Seed drill instrumentation for spatial coulter depth measurements. Comput. Electron. Agric. 2017, 141, 207–214. [Google Scholar] [CrossRef]
- Chinese Academy of Agricultural Mechanization Sciences. Agricultural Machinery Design Manual; Chinese Agricultural Sientech Press: Beijing, China, 2007; pp. 343–389. [Google Scholar]
- Liu, X.; Wang, X.; Chen, L.; Zhang, C.; Liu, W.; Ding, Y. Design and experiments of layered and quantitative fertilization device for rapeseed seeder. Trans. CSAE 2021, 37, 1–10. [Google Scholar]
- Zhao, S.; Liu, H.; Yang, C.; Yang, L.; Gao, L.; Yang, Y. Design and Discrete Element Simulation of Interactive Layered Subsoiler with Maize Straw Returned to Filed. Trans. Chin. Soc. Agric. Mach. 2021, 52, 75–87. [Google Scholar]
- Wang, Y. Simulation Analysis of Structure and Effect of the Subsoiler Based on DEM; Jilin Agricultural University: Jilin, China, 2014. [Google Scholar]
- Ma, Y.; Wang, A.; Zhao, J.; Hao, J.; Li, J.; Ma, L.; Zhao, W.; Wu, Y. Simulation analysis and experiment of drag reduction effect of convex blade subsoiler based on discrete element method. Trans. CSAE 2019, 35, 16–23. [Google Scholar]
- Potyondy, D.O.; Cundall, P.A. A bonded-particle model for rock. Int. J. Rock Mech. Min. Sci. 2004, 41, 1329–1364. [Google Scholar] [CrossRef]
- Zhao, S.; Liu, H.; Tan, H.; Cao, X.; Zhang, X.; Yang, Y. Design and performance experiment of opener based on bionic sailfish head curve. Trans. CSAE 2017, 33, 32–39. [Google Scholar]
- Shi, L.; Wu, J.; Sun, W.; Zhang, F.; Sun, B.; Liu, Q.; Zhao, W. Simulation test for metering process of horizontal disc precision metering device based on discrete element method. Trans. CSAE 2014, 30, 40–48. [Google Scholar]
- Markauskas, D.; Ramírez-Gómez, Á.; Kačianauskas, R.; Zdancevičius, E. Maize grain shape approaches for DEM modelling. Comput. Electron. Agric. 2015, 118, 247–258. [Google Scholar] [CrossRef]
- Barrios, G.K.P.; de Carvalho, R.M.; Kwade, A.; Tavares, L.M. Contact parameter estimation for DEM simulation of iron ore pellet handling. Powder Technol. 2013, 248, 84–93. [Google Scholar] [CrossRef]
- Masson, S.; Martinez, J. Effect of particle mechanical properties on silo flow and stresses from distinct element simulations. Powder Technol. 2000, 109, 164–178. [Google Scholar] [CrossRef]
- Wang, Y.; Liang, Z.; Zhang, D.; Cui, T.; Shi, S.; Li, K.; Yang, L. Calibration method of contact characteristic parameters for corn seeds based on EDEM. Trans. CSAE 2016, 32, 36–42. [Google Scholar]
- Cui, T.; Liu, J.; Yang, L.; Zhang, D.; Zhang, R.; Lan, W. Experiment and simulation of rolling friction characteristic of corn seed based on high-speed photography. Trans. CSAE 2013, 29, 34–41. [Google Scholar]
- Wang, J.; Tang, H.; Wang, Q.; Zhou, W.; Yang, W.; Shen, H. Numerical simulation and experiment on seeding performance of pickup finger precision seed-metering device based on EDEM. Trans. CSAE 2015, 31, 43–50. [Google Scholar]
- Wang, X.; Zhong, X.; Geng, Y.; Wei, Z.; Hu, H.; Geng, D.; Zhang, X. Construction and parameter calibration of the nonlinear elastoplastic discrete element model for no-tillage soil compaction. Trans. CSAE 2021, 37, 100–107. [Google Scholar]
- Huang, Y.; Hang, C.; Yuan, M.; Wang, B.; Zhu, R. Discrete Element Simulation and Experiment on Disturbance Behavior of Subsoiling. Trans. Chin. Soc. Agric. Mach. 2016, 47, 80–88. [Google Scholar]
- Shi, Y.; Yu, H.; Jiang, Y.; Wang, X.; Chen, H.; Liu, H. Optimization of Strip Fertilization Planter for Straw Throwing and Paving. Agriculture 2022, 12, 613. [Google Scholar] [CrossRef]
- Liu, H.; Hang, J.; Chen, J.; Lu, J.; Zhao, S. Performance Simulation and Experiment on Rigid Press Wheel for Hilly Area. Trans. Chin. Soc. Agric. Mach. 2018, 49, 114–122. [Google Scholar]
- Zhou, L. DEM-Based Modelling of Maize Seeds and the Simulation Analysis and Experimental Study of the Seed-Sowing; Jilin Agricultural University: Jilin, China, 2021. [Google Scholar]
















| Parameter | Granular Material | Covering Device (Steel) | |||
|---|---|---|---|---|---|
| Soil | Corn | ||||
| density/(kg·m−3) | 2600 | 1197 | 7800 | ||
| Poisson’s ratio | 0.5 | 0.4 | 0.3 | ||
| Modulus of shear/Pa | 2 × 107 | 1.37 × 108 | 7.9 × 1010 | ||
| soil-soil | soil-corn | soil-steel | corn-corn | corn-steel | |
| Recovery factor | 0.2 | 0.068 | 0.1 | 0.182 | 0.456 |
| coefficient of friction | 0.25 | 0.698 | 0.2 | 0.2 | 0.436 |
| Rolling coefficient of friction | 0.04 | 0.155 | 0.02 | 0.0782 | 0.059 |
| Factor Level | Working Speed (km·h−1) | The Opening Angle of the Disc (°) | The Inclination Angle of the Disc (°) | The Inclination Angle of the Soil Dividing Plate (°) |
|---|---|---|---|---|
| −1 | 3 | 60 | 65 | 40 |
| 0 | 5 | 65 | 70 | 45 |
| 1 | 7 | 70 | 75 | 50 |
| Test Serial Number | Factor | Soil-Covering Thickness /Y1(mm) | Seed Offset /Y2(mm) | |||
|---|---|---|---|---|---|---|
| Working Speed /x1(km·h−1) | The Opening Angle of the Disc /x2(°) | The Inclination Angle of the Disc /x3(°) | The Inclination Angle of the Dividing Plate /x4(°) | |||
| 1 | 7 | 70 | 70 | 45 | 47.5 | 31.2 |
| 2 | 3 | 65 | 70 | 40 | 41.2 | 24.3 |
| 3 | 5 | 65 | 70 | 45 | 52.4 | 25.4 |
| 4 | 7 | 60 | 70 | 45 | 52.1 | 21.6 |
| 5 | 5 | 65 | 65 | 40 | 51.5 | 18.5 |
| 6 | 7 | 65 | 70 | 50 | 44.3 | 39.5 |
| 7 | 3 | 60 | 70 | 45 | 36.8 | 13.8 |
| 8 | 3 | 65 | 65 | 45 | 45.2 | 14.2 |
| 9 | 7 | 65 | 70 | 40 | 45.3 | 14.7 |
| 10 | 5 | 65 | 70 | 45 | 52.2 | 25.0 |
| 11 | 5 | 65 | 75 | 50 | 40.8 | 32.0 |
| 12 | 3 | 65 | 75 | 45 | 31.4 | 13.3 |
| 13 | 7 | 65 | 75 | 45 | 42.8 | 35.9 |
| 14 | 7 | 65 | 65 | 45 | 48.2 | 37.5 |
| 15 | 5 | 65 | 65 | 50 | 52.6 | 35.0 |
| 16 | 5 | 60 | 70 | 40 | 46.8 | 18.2 |
| 17 | 3 | 65 | 70 | 50 | 36.5 | 10.2 |
| 18 | 5 | 70 | 70 | 50 | 51.0 | 21.4 |
| 19 | 5 | 65 | 70 | 45 | 48.2 | 18.1 |
| 20 | 5 | 70 | 70 | 40 | 52.3 | 25.6 |
| 21 | 5 | 70 | 75 | 45 | 44.3 | 28.6 |
| 22 | 5 | 60 | 65 | 45 | 41.9 | 21.9 |
| 23 | 5 | 65 | 70 | 45 | 51.2 | 16.6 |
| 24 | 5 | 60 | 70 | 50 | 46.6 | 20.2 |
| 25 | 5 | 70 | 65 | 45 | 49.5 | 31.4 |
| 26 | 5 | 60 | 75 | 45 | 40.8 | 19.7 |
| 27 | 5 | 65 | 70 | 45 | 50.5 | 18.3 |
| 28 | 5 | 65 | 75 | 40 | 42.8 | 15.6 |
| 29 | 3 | 70 | 70 | 45 | 45.0 | 17.7 |
| Project | Squares | df | Square | F | P |
|---|---|---|---|---|---|
| Model | 734.42 | 14 | 52.46 | 7.11 | 0.0004 |
| x1 | 162.07 | 1 | 162.07 | 21.95 | 0.0004 |
| x2 | 50.46 | 1 | 50.43 | 6.83 | 0.0204 |
| x3 | 176.33 | 1 | 176.33 | 23.89 | 0.0002 |
| x4 | 5.47 | 1 | 5.47 | 0.74 | 0.4040 |
| x1x2 | 40.96 | 1 | 40.96 | 5.55 | 0.0336 |
| x1x3 | 17.64 | 1 | 17.64 | 2.39 | 0.1445 |
| x1x4 | 3.42 | 1 | 3.42 | 0.46 | 0.5070 |
| x2x3 | 4.20 | 1 | 4.20 | 0.57 | 0.4631 |
| x2x4 | 0.30 | 1 | 0.30 | 0.041 | 0.8425 |
| x3x4 | 2.40 | 1 | 2.40 | 0.33 | 0.5774 |
| x12 | 217.89 | 1 | 217.89 | 29.52 | <0.0001 |
| x22 | 6.60 | 1 | 6.60 | 0.89 | 0.3606 |
| x32 | 96.56 | 1 | 96.56 | 13.08 | 0.0028 |
| x42 | 12.19 | 1 | 12.19 | 1.65 | 002197 |
| Residual | 103.35 | 14 | 7.38 | ||
| Lack of Fit | 91.87 | 10 | 9.19 | 3.20 | 0.1367 |
| Pure Error | 11.48 | 4 | 2.87 | ||
| Cor Total | 837.77 | 28 |
| Project | Squares | df | Square | F | P |
|---|---|---|---|---|---|
| Model | 14.37 | 14 | 1.03 | 4.10 | 0.0063 |
| x1 | 6.29 | 1 | 6.29 | 25.13 | 0.0002 |
| x2 | 1.37 | 1 | 1.37 | 5.46 | 0.0349 |
| x3 | 0.15 | 1 | 0.15 | 0.60 | 0.4524 |
| x4 | 1.43 | 1 | 1.43 | 5.70 | 0.0316 |
| x1x2 | 0.081 | 1 | 0.08 | 0.324 | 0.5780 |
| x1x3 | 0.0012 | 1 | 0.0012 | 0.0049 | 0.9452 |
| x1x4 | 3.78 | 1 | 3.78 | 15.10 | 0.0016 |
| x2x3 | 0.001 | 1 | 0.0009 | 0.0035 | 0.9530 |
| x2x4 | 0.0961 | 1 | 0.0961 | 0.384 | 0.5456 |
| x3x4 | 2.5 × 10−5 | 1 | 2.5 × 10−5 | 9.98 × 10−5 | 0.9922 |
| x12 | 0.015 | 1 | 0.015 | 0.060 | 0.8102 |
| x22 | 0.0016 | 1 | 0.0016 | 0.0063 | 0.9379 |
| x32 | 1.14 | 1 | 1.14 | 4.55 | 0.0510 |
| X42 | 0.027 | 1 | 0.0268 | 0.107 | 0.7482 |
| Residual | 3.51 | 14 | 0.25 | ||
| Lack of Fit | 2.81 | 10 | 0.28 | 1.61 | 0.3431 |
| Pure Error | 0.70 | 4 | 0.17 | ||
| Cor Total | 17.88 | 28 |
| Types of Soil-Covering Device | Unit | Test Serial Number | Sampling Point | ||||
|---|---|---|---|---|---|---|---|
| 1 | 2 | 3 | 4 | 5 | |||
| soil-covering device with soil-closing function | mm | 1 | 53.1 | 52.6 | 50.6 | 62.2 | 55.2 |
| 2 | 48.3 | 39.3 | 42.5 | 46.7 | 52.4 | ||
| 3 | 52.2 | 53.0 | 49.7 | 48.3 | 38.2 | ||
| average value | 51.2 | 48.3 | 47.6 | 52.4 | 48.6 | ||
| Traditional double-disc soil-covering device | mm | 1 | 43.6 | 50.4 | 59.3 | 65.8 | 41.2 |
| 2 | 40.5 | 38.6 | 58.5 | 62.8 | 51.2 | ||
| 3 | 31.7 | 37.9 | 48.7 | 40.6 | 45.0 | ||
| average value | 38.6 | 42.3 | 55.5 | 56.4 | 45.8 | ||
| Types of Soil-Covering Device | Unit | Test Serial Number | Sampling Point | ||||
|---|---|---|---|---|---|---|---|
| 1 | 2 | 3 | 4 | 5 | |||
| soil-covering device with soil-closing function | mm | 1 | 22 | 24 | 24 | 15 | 12 |
| 2 | 14 | 18 | 16 | 7 | 12 | ||
| 3 | 12 | 18 | 14 | 14 | 21 | ||
| average value | 16 | 20 | 18 | 12 | 15 | ||
| Traditional double-disc soil-covering device | mm | 1 | 30 | 63 | 31 | 54 | 48 |
| 2 | 32 | 15 | 54 | 39 | 57 | ||
| 3 | 13 | 36 | 23 | 66 | 33 | ||
| average value | 25 | 38 | 36 | 53 | 46 | ||
Publisher’s Note: MDPI stays neutral with regard to jurisdictional claims in published maps and institutional affiliations. |
© 2022 by the authors. Licensee MDPI, Basel, Switzerland. This article is an open access article distributed under the terms and conditions of the Creative Commons Attribution (CC BY) license (https://creativecommons.org/licenses/by/4.0/).
Share and Cite
Geng, Y.; Wang, X.; Zhong, X.; Zhang, X.; Chen, K.; Wei, Z.; Lu, Q.; Cheng, X.; Wei, M. Design and Optimization of a Soil-Covering Device for a Corn No-Till Planter. Agriculture 2022, 12, 1218. https://doi.org/10.3390/agriculture12081218
Geng Y, Wang X, Zhong X, Zhang X, Chen K, Wei Z, Lu Q, Cheng X, Wei M. Design and Optimization of a Soil-Covering Device for a Corn No-Till Planter. Agriculture. 2022; 12(8):1218. https://doi.org/10.3390/agriculture12081218
Chicago/Turabian StyleGeng, Yuanle, Xianliang Wang, Xiaokang Zhong, Xiangcai Zhang, Kun Chen, Zhongcai Wei, Qingxin Lu, Xiupei Cheng, and Mingtao Wei. 2022. "Design and Optimization of a Soil-Covering Device for a Corn No-Till Planter" Agriculture 12, no. 8: 1218. https://doi.org/10.3390/agriculture12081218
APA StyleGeng, Y., Wang, X., Zhong, X., Zhang, X., Chen, K., Wei, Z., Lu, Q., Cheng, X., & Wei, M. (2022). Design and Optimization of a Soil-Covering Device for a Corn No-Till Planter. Agriculture, 12(8), 1218. https://doi.org/10.3390/agriculture12081218
