Abstract
This study investigates the dynamics of three discrete independent events occurring randomly and repeatedly within the interval . Each event spans a predetermined fraction γ of the total interval length before concluding. Three independent continuous random variables represent the starting times of these events, uniformly distributed over the time interval . By employing a geometric probability approach, we derive a rigorous closed-form expression for the probability of the joint occurrence of these three events, taking into account various values of the fraction γ. Additionally, we determine the expected value of the intersection duration of the three events within the time interval . Furthermore, we provide a comprehensive solution for evaluating the expected number of trials required for the simultaneous occurrence of these events. Numerous numerical examples support the theoretical analysis presented in this paper, further validating our findings.
MSC:
60D05
1. Introduction
The meeting problem has been a classic topic of interest in probability theory. It involves two independent discrete events, and , which occur during the same time interval and each spans a fraction of of T before terminating. The starting times of occurrence of the two events are expressed by two independent continuous random variables, and , respectively. Assuming that and follow a uniform distribution over the interval , what would be the probability that they will be within a fraction of of each other, i.e., what would be the probability that the two events will coincide or intersect; or what is ? If the two events intersect, what would be the expected value of their joint occurrence duration? This problem is the general version of the well-known meeting problem of two people who repeatedly visit a particular place for a prespecified time interval , where each one stays for a fraction of of , and then leaves. This problem is equivalent to the question of whether two random walks will necessarily meet. The answer to this question has been extensively studied in [1,2,3,4]. For example, the authors in [2] answered the previous question in detail. The authors in [1] also introduced a class of graphs where simple random walks are recurrent. In particular, there is a certain probability that two independent walkers meet only finitely many times. In another research paper, the authors in [4] showed that in any recurrent reversible random-rooted graph, the probability that two independent simple random walks started at the same vertex collide infinitely is often inevitable. Further, the authors in [5] employed the concept of meeting probability to establish a new transmission scheme that improves the performance over the opportunistic social network.
The author of [6] discussed the impact of network topology on the spread of a virus or information dissemination when users are mobile and performing independent random walks on a graph. The authors analyze the coincidence time of a susceptible and an infected individual moving in the graph, which allows them to estimate infection probabilities and understand the effect of the underlying network topology. The study of the coincidence time for two random walkers can be related to meeting probabilities of discrete independent events.
In addition to the studies mentioned above on meeting probabilities, the work of [7] on random geometric models, random graphs, point processes, and stochastic geometry is worth mentioning. Although this work does not directly address the meeting probability of discrete independent events, it provides valuable insights into various aspects of random geometric structures and stochastic processes, such as percolation, Erdős–Rényi graphs, unimodular random graphs, Poisson point processes, and stationary point processes. These concepts and techniques may offer novel perspectives or approaches to analyzing meeting probabilities in discrete independent events. The connections between different models and techniques discussed in [7] can potentially inspire new ways to investigate and understand meeting probabilities in our study.
In order to provide a comprehensive foundation for our study, it is essential to examine the broader context of probability theory and geometric probability. As a branch of mathematics, probability theory quantifies the likelihood of various outcomes in random events [8,9,10]. Geometric probability, a subfield of probability theory, deals with problems involving geometric configurations or spatial randomness [11,12,13]. By leveraging key concepts and methodologies from probability theory and geometric probability, our research builds upon these established frameworks to offer novel insights into the problem.
In this paper, we extend the meeting probability to the case in which three people want to meet over an interval. As a practical example, in communication and computer networks, meeting probability can predict the collide networks where many people want to transmit at the same interval. In this work, we employ a geometric probability approach to derive a closed-form expression for the probability of the joint occurrence of the three events given any value of the fraction . Furthermore, we compute the expected value of the intersection duration of the three events in the time interval . Therefore, not only does this paper answer the question of how probable three people would meet together over the interval if each one stays for a fraction of 𝛾 of , but also how probable they would stay together if they stay together they happen to meet.
This study utilizes a geometric probability approach, drawing upon concepts and methodologies from probability theory and geometric probability. The approach initiates by deriving a closed-form expression for the probability of the joint occurrence of the three events, considering any value of the fraction γ that signifies the duration of each event within the overall time interval . This analytical expression quantifies the likelihood of the three events coinciding or intersecting. Furthermore, it computes the expected value of the intersection duration of the three events in the time interval , offering insights into the average duration during which all three events overlap. By combining rigorous mathematical derivations with geometric interpretations, this methodology provides a comprehensive understanding of the meeting probabilities in the three-event scenario.
The novelty of this work lies in the application of the geometric probability approach to derive a closed-form expression for the meeting probability of three discrete independent events. To the best knowledge of the authors of this paper, no previous work addressed the problem of evaluating the expected value of the meeting period of three people, nor did any article follow a geometric probability approach to handle the problem. The unique contribution of this paper lies in its innovative application of geometric probability methodology to investigate and provide insights into the meeting probability of three distinct events.
The rest of this paper is organized as follows. Section 2 provides a comprehensive overview of the methods employed in this study. Section 3 introduces the mathematical derivations and calculations for the meeting probabilities and intersection durations. Section 3.1 derives both the meeting probability and the meeting duration expected value for two random variables with any value of Section 3.2 extends the problem to three random variables with any value of Section 4 provides a general mathematical derivation for the expected value of the number of trials needed until the meeting of events happens, given any value of . Section 5 provides an actual application of the problem and discusses the results. Finally, Section 6 concludes the paper.
2. Methods
This section outlines the methodology employed to address the three-event meeting problem and calculate the probabilities and expected values of interest.
2.1. Problem Formulation
We begin by formally defining the three-event meeting problem. We consider three discrete independent events occurring randomly and repeatedly within the interval . Each event spans a predetermined fraction γ of the total interval length T before ending. Three independent continuous random variables represent the starting times of these events, uniformly distributed over the time interval .
2.2. Geometric Probability Approach
We have employed a geometric probability approach to address the problem at hand, harnessing concepts and techniques from both probability theory and geometric probability. This combination enables us to derive analytical expressions and accurately quantify the likelihood of the joint occurrence of the three events. Our approach’s decision to utilize geometric probability stems from its exceptional capability to model spatial and temporal probabilities with precision.
It is important to note that our findings are contingent upon the assumption of a uniform distribution of starting times over the time interval . In future research endeavors, exploring the impact of varying these distributions on meeting probabilities and intersection durations would be valuable, enhancing our understanding of the subject matter.
2.3. Derivation of Joint Occurrence Probability
To calculate the probability of the joint occurrence of the three events, we derive a closed-form expression that accounts for any value of the fraction γ. We utilize the geometric probability approach to determine the likelihood of the three events coinciding or intersecting during the interval .
2.4. Computation of Intersection Duration Expectation
In addition to the joint occurrence probability, we compute the expected value of the intersection duration of the three events within the time interval . This calculation provides insights into the average length of time where all three events overlap, facilitating the understanding of their temporal alignment.
2.5. Expected Number of Trials
Furthermore, we calculate the expected number of times the random experiment must repeat to ensure the simultaneous occurrence of the three events. This analysis allows us to evaluate the efficiency and feasibility of achieving the desired meeting outcome.
2.6. Real-Life Applications
To illustrate the practical implications of our findings, we present two real-life applications. One application involves two or three individuals following the same meeting scenario, while the other pertains to a surveillance camera system in an institution building monitoring employee adherence to work regulations. We validate the results obtained for γ = 1/4 in both cases through various cross-checks.
Through the described methodology, we provide a comprehensive framework for addressing the three-event meeting problem and deriving meaningful probabilities and expected values. The transparent and systematic approach ensures the reliability and reproducibility of our results.
3. Proposed Geometric Probability Approach
Section 3.1 and Section 3.2 employ a geometric probability approach to derive a closed-form expression for the probability of the joint occurrence of two and three discrete independent events for any value of the fraction , respectively. Without loss of generality, we normalized the time interval to be .
3.1. Two-Events Meeting Problem
Let and be two discrete independent events that occur in the time interval , where each one spans a fraction of γ of the total time interval T. Let and be two independent random variables representing the starting times of occurrence, , and , of and , respectively. Hence, assuming and follow a uniform distribution over the interval , the joint occurrence of and can be graphically represented, as shown in Figure 1.
Figure 1.
The intersection of the two events, and .
Hence, and will simultaneously occur if and only if This criterion can be geometrically represented by Figure 2.
Figure 2.
Region of Coincidence from and events.
Having normalized the time interval to 1, the joint probability of and , can then be given by
which means that and will intersect with a probability of .
To determine the expected value of the intersection time of and joint occurrence, we need to determine the random function that represents the possible values of the intersection periods when and simultaneously occur. This expected value would represent the possible amount of time that two people would spend together if they meet at a particular place if they follow the same scenario stated in the problem. The function can be given by
Assuming that and and uniformly distributed over the interval , the probability density function can be given by
where , is the region of coincidence of the two events, and . Hence, the expected value of , is given by [14].
The obtained result in (4) means that the mean meeting period is hours, which is equivalent to minutes in the one-hour time interval.
3.2. Three-Events Meeting Problem
Let , , and be three discrete independent events that occur in the time interval where each spans a fraction of of the total time interval . Let , , and be three independent random variables representing the starting times of occurrence, and , of , , and , respectively. Assuming that , , and follow a uniform distribution over the interval , the joint occurrence of , , and can be graphically represented, as shown in Figure 3.
Figure 3.
The intersection of three events: , , and .
The events , , and will simultaneously occur if and only if and and . The intersection of the three latter regions of coincidence in the cube represents the joint occurrence of the three events. Figure 4 shows a three-dimensional representation of the intersection of the three regions of coincidences.
Figure 4.
The intersection of the three regions of coincidences.
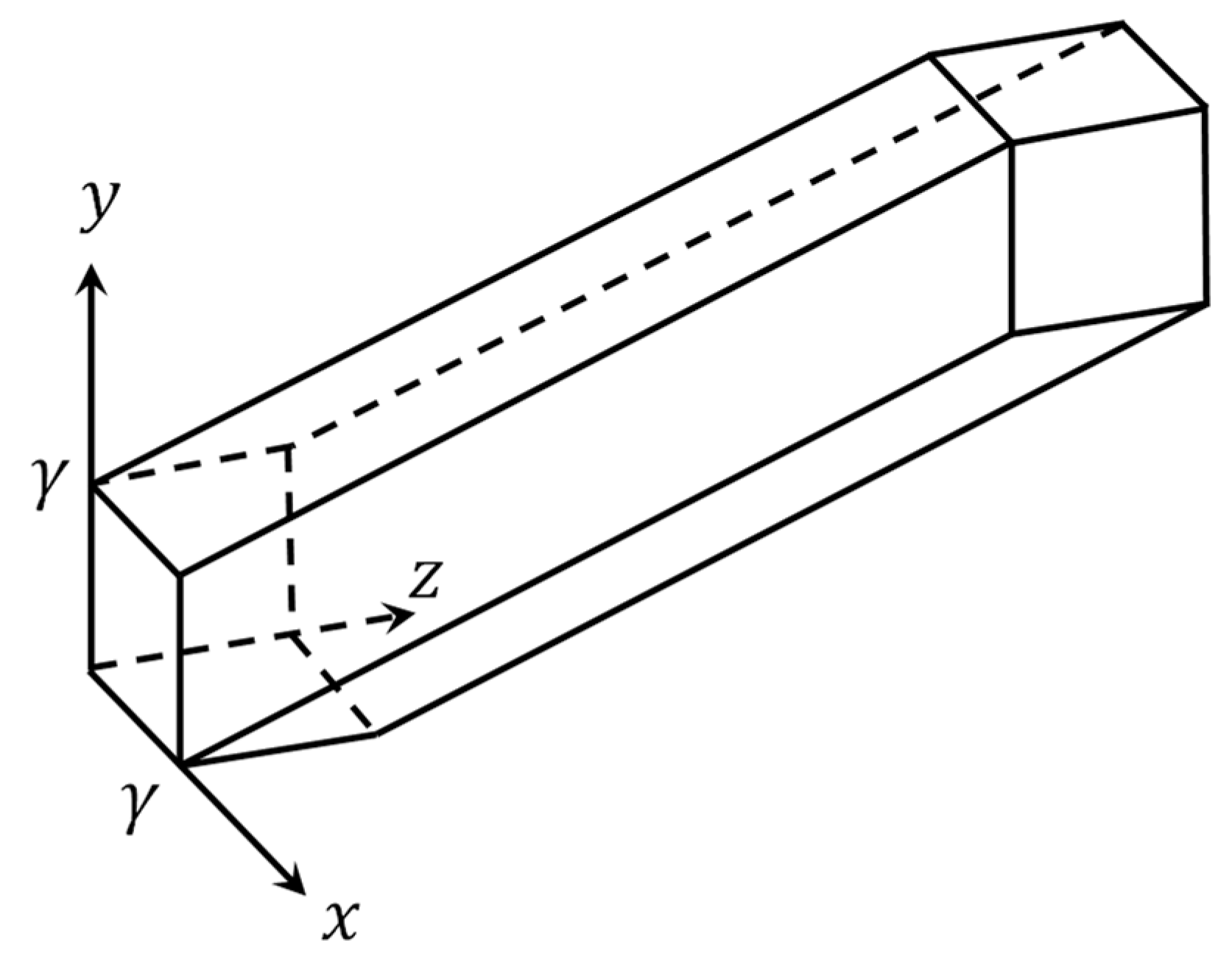
The intersection region of coincidence of the three regions of coincidences shown in Figure 4 will look similar to a hexagonal solid capped with half cubes at its ends, as shown in Figure 5.
Figure 5.
Diagonal view of the region of coincidence.
Cutting out all the nonintersecting regions and keeping only the intersecting ones gives us the three-dimensional hexagonal solid shown in Figure 6.
Figure 6.
The hexagonal region of coincidence.
The probability of the joint event , is given by the ratio of the volume of the region of coincidence shown in Figure 6 to the (1 × 1 × 1) cube volume. Since the cube region has a side length of one and hence a unit volume, the probability of our joint event of interest is given by the volume of the three-dimensional region of coincidence itself. To find its volume, we can slice it into three parts: (1) the hexagonal solid between the points and , or specifically between the two slicing planes and as shown in Figure 7, (2) two full cubes each of side length of on either side of the hexagonal solid as shown in Figure 8, and two identical regions bounded between the two full cubes and the two slicing planes (, and , as shown in Figure 8. The diagonal projection of the two small cubes on either side of the hexagonal solid is simply a regular hexagon.
Figure 7.
The hexagonal solid bounded between the two slicing planes and .
Figure 8.
The region bounded the cube and the slicing plane .
We can divide each of the two identical regions bounded by the two cubes and the two slicing planes into 12 identical subregions. Each subregion can be subdivided into two tetrahedrons to ease the calculation of their volumes.
The volume of the hexagonal solid, shown in Figure 7, is given by
where is the side length of the regular hexagonal cross-sectional area of the hexagonal solid, and is the height of the hexagonal solid, as shown in Figure 9.
Figure 9.
The hexagonal solid cross-sectional area.
We can evaluate the length and the height by using
where is the distance between points and , the same as between points and . The point is and the point is . Hence, is which is equal to for . The angle is . Plugging the values of and in (6) gives
The height of the hexagonal solid is equal to the distance between the points and which is given by
For , , substituting the values of (7) and (8) in (5) gives the volume of the hexagonal solid as
The volume of the two cubes on either side of the hexagonal solid is given by
The remaining volume of the two identical regions bounded between the two cubes and the two slicing planes is given by
The volumes ( and ) of the two tetrahedrons shown in Figure 10 can be evaluated either using triple integration or the scalar triple product.
Figure 10.
The volumes and .
Figure 11.
Triangle (a) NPM and (b) NQR.
The coordinates of the points , , , , and are given by , , and , , and , respectively, where the coordinates of and are given by
Hence, the points and are given by and , respectively. Consequently, the volumes and can be evaluated using the scalar triple product as
and
Substituting (18) and (19) in (11) yields
Hence, we obtain the total volume of the region of coincidence as the sum of in (9), in (10), and , in (20), resulting in
Therefore, the probability of the joint event is given by
It is worth mentioning that the latter three-dimensional region of coincidence is tough to imagine. However, with the help of GeoGebra (GeoGebra is an interactive geometry, algebra, statistics, and calculus application. https://www.geogebra.org, accessed on 1 January 2022) software, a closer look would help significantly simplify the previous volume calculation. The three planes , , and intersect at the cube diagonal, which represents the axis of symmetry of the region of coincidence as shown in Figure 5. Therefore, we will divide the volume of interest, the intersection volume, into six identical regions. Each region looks similar to a triangular prism capped with parts of the corner cubes, as shown in Figure 12. It is important to note that each of these regions corresponds to one of the six regions displayed in the diagonal view of the coincidence region, as depicted in Figure 5.
Figure 12.
One-sixth of the region of coincidence.
Figure 12 clearly shows that the region bounds are the planes , , and . Upon closer examination of the region depicted in Figure 12, we can observe that it subdivides into identical tetrahedra. Figure 13 illustrates the subdivision of the same region depicted in Figure 12 into ten tetrahedrons for . Each tetrahedron in Figure 13 possesses a volume that can be determined by
Figure 13.
One-sixth of the region of coincidence split into ten identical tetrahedrons.
Or alternatively, can be evaluated using the scalar triple product as
Hence, the volume of the region shown in Figure 13 can be given by times which gives
Consequently, the total volume of the region of coincidence is equal to 6 times , which is equal to as obtained in (21).
The next step is calculating the expected value of the intersection intervals of the three events, , , and . To do this, we need to determine the random function that represents the possible values of the intersection duration of the three events given their random starting times , , and , respectively. Assuming that , the intersection interval would be equal to . Hence, can be given by
In general, we can express the function as
where and are defined as
and is the region of coincidence shown in Figure 6.
As described before, the region of coincidence is evenly split by the three intersecting planes , , and , as shown in Figure 5. Figure 14 illustrates the sign distribution of the space around the region of coincidence .
Figure 14.
Sign distribution around the region of coincidence.
Due to the existing symmetry in the region of coincidence , shown in Figure 6, we can apply our expected value calculation only on one-sixth of the region of coincidence shown in Figure 12. Let us pick the region where . Consequently, our will be given by
Hence, the expected value of can be evaluated as
where , is the probability density function (pdf) of the starting times of the three events: , , and . Assuming uniform distribution over the interval, can be expressed as
The value represents the mean intersection period of the three events: , , and , providing evidence that the events , , and are not statistically independent of each other. This fact substantiates the inequality between the result in (32) and the cube of the result obtained in (1). In other words, . Therefore, even though the events , , and are statistically independent as triple, they are not statistically independent by pairs.
4. Expected Value for the Number of Trials
Another valuable extension to this problem is to consider the number of times this random experiment should be repeated until our events of interest intersect. We can apply this to the case of two or three events represented by , , and , and their corresponding random variables random variables , , and , respectively.
Let , , and , be three discrete independent events that occur in the time interval where each spans a fraction of of the total time interval . Let , , and , be independent random variables that represent the starting times of occurrence, , , and of the events , , and , respectively. Suppose that the probability of the joint occurrence of the events , , and is equal to . This latter probability can represent the meeting probability of three people at a particular place in one hour, where each arrives randomly and stays for a fraction of of .
Let be a random variable representing the number of times needed until the first intersection of the events occurs. Hence, will be a discrete random variable that takes the values . The probability that the first intersection of the two and three events happens at the trial can be given by
Hence, the expected value of can be given by
where represents the expected value of the number of times needed until the first intersection of the events occurs.
Table 1 summarizes the results obtained in the previous mathematical analysis for the probability of the intersection of the vents of interest, the expected value of the intersection duration, and the expected value of the number of trials needed before the first intersection.
Table 1.
Summary of the obtained results of the meeting probability, the expected value of the intersection duration of the events, and the expected value of the number of trails needed for the first meeting, for .
5. Application and Discussion
5.1. Meeting Problem of Two or Three People
Suppose two or three people visit the same café every day between 12:00 pm and 1:00 pm; where each one stays for precisely 15 min, takes his/her coffee, and then leaves. If they arrive at the café at random times independently and uniformly in the one-hour interval, then their meeting probabilities, the expected value of their meeting durations, and the expected value of the number of days required for this random experiment to repeat until they all simultaneously meet at the café are all shown in Table 2.
Table 2.
Summary of the obtained results for .
Table 2 reveals that the meeting probability of two people following the same scenario described before equals or 0.4375. If the two people happen to meet, they will stay with each other for an average of h, which is equal to 3.4375 min. Moreover, they must keep trying to meet an average of or 2.29 times to meet for the first time successfully.
Three people following the same meeting scenario will meet with a probability of or . The expected value of their meeting time equals h or 0.8203 min. To successfully meet for the first time, they must keep trying to meet for an average of or 6.4 times. If they repeat this random experiment every day, 6.4 will represent the average number of days they must wait until they successfully meet.
Figure 15 shows a plot of the meeting probability and the meeting duration expected value for .
Figure 15.
The meeting probability and the expected value of the meeting durion of two and three people Versus .
In another numerical example, Figure 16 shows a plot of the expected value for the number of times needed for two and three people to meet simultaneously and their meeting probabilities for .
Figure 16.
The expected value of the number of days needed for two and three people to meet for the first time Versus , respectively.
5.2. Security Cameras Problem
An employee in a facility with strategically placed surveillance cameras is responsible for monitoring the footage to ensure compliance with work regulations within specific areas. Suppose the designated monitor spends three consecutive minutes reviewing footage every hour, with the starting time chosen randomly within that hour. Concurrently, another employee consistently breaks work rules (such as consuming food within the office) between 12:00 pm and 1:00 pm, committing the violation for five continuous minutes at a random starting time during that specific hour. The question then arises: what is the probability that the monitoring employee will detect the rule-breaking on any given day?
This scenario is a straightforward application of the meeting problem for two discrete independent events examined in the current study. The primary distinction lies in the varying meeting periods for the two events, denoted as and . Let and represent two independent random variables indicating the starting times, and , of event (monitoring) and event (violation), respectively. Assuming that and are uniformly distributed over the interval [0,1], Figure 17 and Figure 18 illustrate the graphical representation of the joint occurrence of events and .
Figure 17.
The intersection of the two events, and .
Figure 18.
The intersection of the two events, and .
Thus, events and will occur concurrently if, and only if, the condition , is satisfied. Figure 19 depicts this relationship geometrically.
Figure 19.
Region of Coincidence from and events.
We can express the joint probability of and , denoted as , as follows
Equation (36) indicates that events and will intersect with a probability of . If , the problem reduces to the case discussed in Section 3.1, and (34) simplifies to (1).
6. Conclusions
In this study, we addressed three discrete independent events occurring randomly and repeatedly within the time interval . Each event spans a predetermined fraction of the total interval length T before ending. The starting times of these events are represented by three independent continuous random variables, uniformly distributed over the time interval . Using a geometric probability approach, we derived closed-form expressions for the probability of simultaneous occurrences of the three events, given any value of fraction . Additionally, we determined the expected value of the intersection duration of these events within the time interval . Finally, we calculated the expected number of times this random experiment must be repeated to ensure the simultaneous occurrence of the three events. We presented two real-life applications to demonstrate the proposed problem’s relevance and applicability. One involved two and three individuals following the same meeting scenario, and the other concerned a surveillance camera system in an institution building, monitoring employee adherence to work regulations. In both cases, the results obtained for γ = 1/4 were validated through various cross-checks.
Our methodology offers a comprehensive framework for quantifying the likelihood of three individuals meeting over a specific time interval, which holds practical implications in various fields. For instance, surveillance systems can benefit from our methodology by ensuring compliance with work regulations in institutions. This study provides valuable insights into meeting probabilities and opens avenues for further research and applications across diverse domains.
While our study has provided valuable insights into the probabilities and durations of concurrent events, it opens up several avenues for future research. For instance, future studies could explore scenarios with more than three events or consider events with non-uniform starting times. Additionally, we can execute our methodology to analyze ‘meeting’ scenarios in different contexts, such as traffic flow at intersections, synchronization of biological processes, or coordination of multi-agent systems.
Author Contributions
M.A.B. contributed to the conceptualization, methodology, formal analysis, and writing of the original draft. Z.A.-q. contributed to the methodology, software, and validation. A.A. contributed to the investigation, data analysis, and writing of the review and editing process. A.N.S. contributed to the resources, supervision, project administration, and writing of the review and editing process. All authors have read and agreed to the published version of the manuscript.
Funding
This research received no external funding.
Data Availability Statement
Not applicable.
Acknowledgments
They also acknowledge the support from their respective institutions. This work was made possible by the UAE University startup grant (Fund Code: 12N105).
Conflicts of Interest
The authors declare no conflict of interest.
References
- Krishnapur, M.; Peres, Y. Recurrent graphs where two independent random walks collide finitely often. Electron. Commun. Probab. 2004, 9, 72–81. [Google Scholar] [CrossRef]
- Barlow, M.T.; Peres, Y.; Sousi, P. Collisions of random walks. Ann. Inst. Henri Poincare Probab. Stat. 2012, 48, 922–946. [Google Scholar] [CrossRef]
- Chen, X.X.; Chen, D.Y. Two random walks on the open cluster of ℤ2 meet infinitely often. Sci. China Math. 2010, 53, 1971–1978. [Google Scholar] [CrossRef]
- Hutchcroft, T.; Peres, Y. Collisions of random walks in reversible random graphs. Electron. Commun. Probab. 2015, 20, 2–6. [Google Scholar] [CrossRef]
- Xiao, F.; Sun, G.; Xu, J.; Jiang, L.; Wang, R. A data transmission scheme based on time-evolving meeting probability for opportunistic social network. Int. J. Distrib. Sens. Netw. 2013, 2013, 123428. [Google Scholar] [CrossRef]
- Ganesh, A.; Draief, M. A random walk model for infection on graphs. In Proceedings of the 4th International ICST Conference on Performance Evaluation Methodologies and Tools, Pisa, Italy, 20–22 October 2009. [Google Scholar] [CrossRef]
- Blaszczyszyn, B. Lecture Notes on Random Geometric Models—Random Graphs, Point Processes and Stochastic Geometry. Doctoral. France. 2017, p. 193. Available online: https://cel.hal.science/cel-01654766/ (accessed on 1 January 2023).
- Peebles, P.J. Problems and Solutions in Probability, Random Variables and Random Signal Principles (SIE); McGraw-Hill: Uttar Pradesh, India, 2011. [Google Scholar]
- Blitzstein, J.H.; Joseph, K. Introduction to Probability; CRC Press: Boca Raton, FL, USA, 2019. [Google Scholar]
- Gnedenko, B.V. Theory of Probability; Routledge: Oxford, UK, 2018. [Google Scholar]
- McMullen, P. Introduction To Geometric Probability. Bull. Lond. Math. Soc. 1999, 31, 755–756. [Google Scholar] [CrossRef]
- Klain, G.-C.R.; Daniel, A. Introduction to Geometric Probability; Cambridge University Press: Cambridge, UK, 1997. [Google Scholar]
- Santaló, L.A. Integral Geometry and Geometric Probability; Cambridge University Press: Cambridge, UK, 2004. [Google Scholar]
- Peyton, J.; Peebles, Z. Probability, Random Variables, And Random Signal Principles, 4th ed.; McGraw-Hill: New York, NY, USA, 2001. [Google Scholar]
Disclaimer/Publisher’s Note: The statements, opinions and data contained in all publications are solely those of the individual author(s) and contributor(s) and not of MDPI and/or the editor(s). MDPI and/or the editor(s) disclaim responsibility for any injury to people or property resulting from any ideas, methods, instructions or products referred to in the content. |
© 2023 by the authors. Licensee MDPI, Basel, Switzerland. This article is an open access article distributed under the terms and conditions of the Creative Commons Attribution (CC BY) license (https://creativecommons.org/licenses/by/4.0/).


















