Highlights
- The influence of tempering temperature on the microstructure and mechanical properties of Cr–Ni–Mo–V rotor steel was studied;
- With the increase in tempering temperature, the steel strength of Cr-Ni-Mo-V rotor decreases first, then increases and then decreases again;
- The strength of Cr–Ni–Mo–V rotor steel is mainly affected by the balance between solution strengthening, precipitation strengthening, and dislocation strengthening in the matrix.
Abstract
In this paper, we investigated the effects of the matrix and precipitates in Cr-Ni-Mo-V rotor steel on its mechanical properties after water quenching and tempering (450–700 °C). The results indicate that the microstructure and mechanical properties of the steel can be significantly adjusted by changing the tempering temperature. An excellent combination of tensile strength (1028.608 MPa) and elongation (19%) was obtained upon tempering at 650 °C. This is attributed to the martensite lath with a high dislocation density, solid solution strengthening and the strengthening effect of spherical Mo2C and VC particles. At a tempering temperature of 550 °C, the precipitation and development of rod-shaped Fe3Mo3C resulted in a considerable drop in strength. At 650 °C, the dissolution of Fe3Mo3C and dispersion precipitation of Mo2C and VC led to a large rise in strength. At 700 °C, the coarsening of Mo2C and VC, together with the recrystallization of the martensite lath, resulted in a loss in strength. Meanwhile, as the tempering temperature was increased from 450 °C to 700 °C, the tensile fracture characteristics of Cr-Ni-Mo-V rotor steel gradually changed from cleavage fractures to dimple fractures.
1. Introduction
Large rotors are an important part of much industrial equipment, and are widely used in power generation, aerospace, metallurgy, the chemical industry, mining and other fields [1,2]. Since rotors experience enormous stress and centrifugal force during high-speed rotation, rotor steel must have a sufficiently high yield strength and tensile strength to prevent plastic deformation and fracture. The medium-carbon, low-alloy Cr-Ni-Mo-V steel has excellent mechanical properties and good workability and is often used in various large rotors [3]. Its excellent mechanical properties are mainly due to the strengthening of the alloying elements and the complex microstructure formed during heat treatment. Normalizing, quenching and tempering, as a common heat treatment process for Cr-Ni-Mo-V steel, can effectively adjust the microstructure and performance of the material by controlling the process temperature and holding time. Specifically, the tempering process constitutes the final stage of the heat treatment process, and its impact on the mechanical properties is of paramount importance [4].
During the tempering process, the microstructure of Cr-Ni-Mo-V rotor steel undergoes several transformation processes. In particular, the martensite formed after quenching decomposes with increasing tempering temperatures and forms tempered martensite. In addition, the characteristics of the carbides are one of the important factors affecting the fatigue properties [5], impact toughness [6] and corrosion wear properties [7] of Cr-Ni-Mo-V rotor steel. The carbide transformation in the microstructure is closely related to the tempering temperature. Moreover, the characteristics (location, type, quantity and volume) of the carbide have a significant influence on crack initiation and propagation [8]. Tempering at high temperatures usually promotes the formation of large carbides, while tempering at low temperatures contributes to the refinement of these carbides, which in turn affects the mechanical properties of the material [9]. Although a large number of publications have discussed the effects of tempering temperature on the properties of Cr-Ni-Mo-V rotor steel [10,11,12,13,14], there is still a lack of systematic research on the subtle mechanism between tempering temperature and microstructure. Currently, the normalizing temperature for Cr-Ni-Mo-V steel during the heat treatment process is set at 870 °C, with the quenching temperature at 840 °C and the tempering temperature at 600 °C. This steel exhibits a tensile strength of 950 MPa and an elongation of 18%. Given the small increase in the Mo and V alloy components within the Cr-Ni-Mo-V steel addressed in this research, changes to the heat treatment method are required. However, increasing the quenching temperature might cause grain development, which reduces mechanical characteristics. Thus, it is critical to investigate the microstructure and property development of Cr-Ni-Mo-V steel under various tempering procedures.
At different tempering temperatures, the change in the matrix and the precipitated phase of the steel has a considerable influence on its properties. In general, the strength of the steel is high and the plasticity is low at low tempering temperatures. The higher the tempering temperature, the lower the strength of the steel, but the higher the toughness [15]. Therefore, the choice of appropriate tempering temperature to compensate for the strong plasticity of Cr-Ni-Mo-V rotor steel has become a key problem to be solved. However, the mechanism of the influence of tempering temperature on the microstructure and properties of Cr-Ni-Mo-V rotor steel is still controversial. In existing studies, the mechanical properties of Cr-Ni-Mo-V rotor steel generally decrease with the increase in tempering temperature, mainly because the dislocation density of the matrix decreases and the coarsening of carbide precipitation leads to a weakening of the dislocation strengthening and solution strengthening effects [16,17,18]. However, some studies have found that the secondary strengthening effect of Cr-Ni-Mo-V rotor steel usually occurs with an increase in tempering temperature, and is mainly influenced by the precipitation and strengthening of the carbide [19,20,21]. Therefore, it is of great theoretical significance and technical benefit to investigate the influence mechanism of microstructure evolution on the properties of Cr-Ni-Mo-V rotor steel during tempering.
In this paper, the microstructure and mechanical properties of Cr-Ni-Mo-V rotor steel at different tempering temperatures were systematically studied by means of tensile tests, scanning electron microscopy (SEM), transmission electron microscopy (TEM) and X-ray diffraction (XRD). The influence mechanism of tempering temperature on the properties of Cr-Ni-Mo-V rotor steel was revealed. The aim of this research is to provide a theoretical basis for optimizing the heat treatment process of Cr-Ni-Mo-V rotor steel and to promote its wide application in the field of large rotors.
2. Materials and Methods
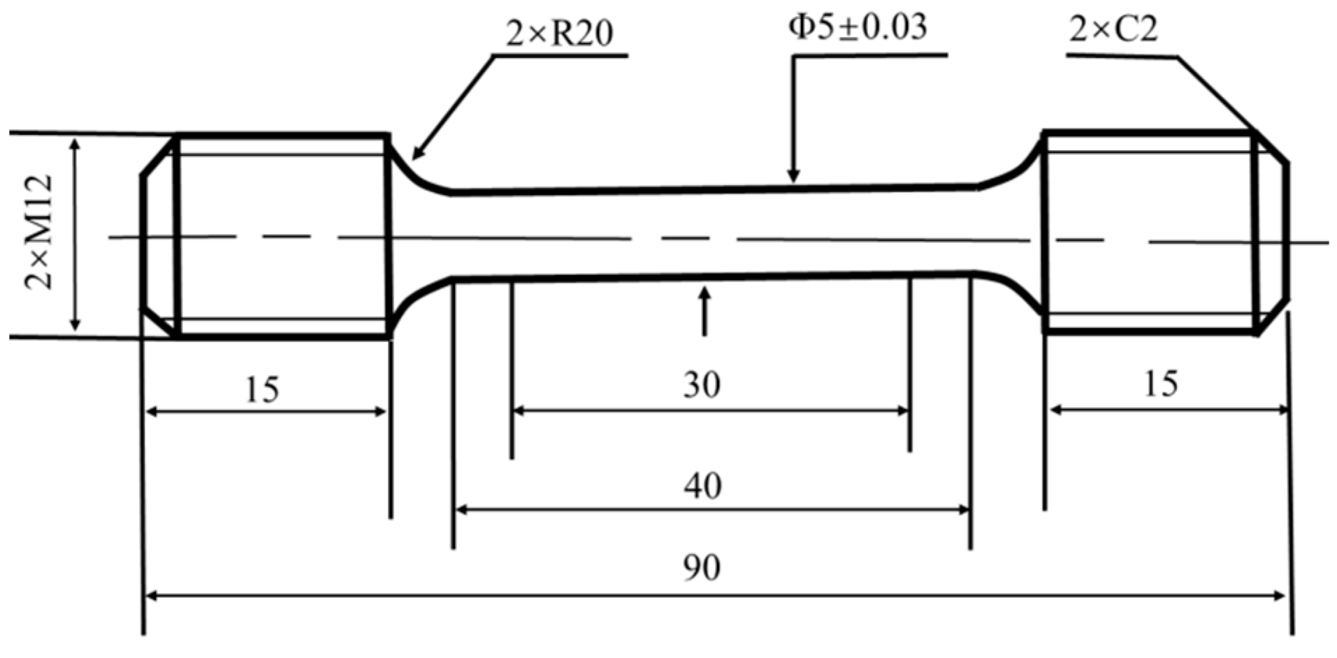
In the paper, the Cr-Ni-Mo-V rotor steel specimens were taken from the annealed rotor after forging, and its specific chemical composition is shown in Table 1. The specimens were placed into the muffle furnace (the thermocouple is located in the center of the back wall of the muffle furnace, and the temperature difference in each area of the furnace is ±5 °C) for normalizing, quenching and tempering. Figure 1a,b demonstrate the heat treatment method and CCT curves for the Cr-Ni-Mo-V rotor steel. Figure 1c–e illustrate the microstructures following annealing, normalizing and quenching. Following the completion of the heat treatment, the bar material tempered at different temperatures was processed into tensile specimens, as shown in Figure 2.
Table 1.
Main chemical composition of Cr-Ni-Mo-V rotor steel (wt.%).
Figure 1.
Heat treatment procedure (a), CCT curve (b), annealed structures (c), normalized structures (d) and quenched structures (e) of Cr-Ni-Mo-V rotor steel.
Figure 2.
Tensile sample of Cr-Ni-Mo-V rotor steel.
The microstructure was analyzed with the JSM-7001F SEM (JEOL Ltd., Tokyo, Japan), Tecnai F30 TEM (Thermo Fisher Scientific, Hillsboro, OR, USA) and Smartlab 9 kW XRD (Rigaku Corporation, Tokyo, Japan). The SEM specimen was mechanically ground, polished and then etched in a 4% (wt.%) Nital. A TEM specimen with a thickness of 60 μm was hand-ground with sandpaper and then punched into a disk with a diameter of 3 mm. Then, TEM samples were prepared by twin-jet electropolishing using an electrolyte composed of 90% alcohol and 10% perchloric acid at 25 °C and 40 V. The Cr-Ni-Mo-V rotor steel samples were cut with a surface area of 10 × 10 × 10 mm, sandpapered and mechanically polished, and XRD analysis was performed. The scanning angle 2θ was 10–100°, and the scanning speed was 4°/min. The XRD results were calibrated using MDI Jade5.0 software to determine the distance between the crystal faces of the sample. Three tensile specimens were tested at each tempering temperature, and their average values were taken for analysis. The tensile properties of the samples were tested by Z600E 600N electronic (ZwickRoell, Ulm, Germany) tensile testing machine, and then the fracture morphology was observed by SEM.
3. Results and Discussion
3.1. Mechanical Properties After Quenching and Tempering
Figure 3a,b show the engineering stress–strain curves and tensile property tendencies of Cr-Ni-Mo-V rotor steel at room temperature under different tempering conditions. The data on the tensile properties are shown in Table 2. Figure 3b illustrates that when the tempering temperature rises from 450 °C to 700 °C, the tensile and yield strength fall, then rise again, but the elongation and reduction in area steadily increase. This is primarily due to martensitic recovery and the recrystallization of Cr-Ni-Mo-V rotor steel, as well as carbide dissolution and precipitation. Tensile and yield strength decrease from 997.091 MPa and 800.75 MPa to 828.902 MPa and 688.655 MPa, respectively, between 450 °C and 550 °C, whereas elongation and area reduction increase from 13% and 61% to 18.2% and 69%. At 650 °C, the tensile strength and yield strength increase to 1028.608 MPa and 860.271 MPa, respectively, while elongation and decrease in area increase by 19% and 71.88%. At 700 °C, tensile and yield strength decrease to 754.004 MPa and 644.205 MPa, respectively, while elongation and reduction in area increase to 22.4% and 76.57%. In conclusion, the comprehensive mechanical properties of Cr-Ni-Mo-V rotor steel achieved their optimal state when tempered at 650 °C, with a tensile strength of 1028.608 MPa and elongation of 19%, which are higher than the strength and elongation of traditional rotor steel. This may be connected to the recovery and recrystallization of the martensitic lath in the microstructure of Cr-Ni-Mo-V rotor steel, as well as the evolution of the type and volume of carbides [22,23].
Figure 3.
Engineering stress–strain curves (a) and tensile properties (b) of Cr-Ni-Mo-V rotor steel at various tempering temperatures.
Table 2.
Tensile mechanical properties of Cr-Ni-Mo-V rotor steel at various tempering temperatures.
3.2. Microstructure Evolution During Tempering
Figure 1c–e show the microstructure of Cr-Ni-Mo-V rotor steel under the annealing, normalizing and quenching processes before tempering. According to the analysis of Figure 1b, the matrix and carbides show different characteristics after annealing, normalizing and quenching due to different cooling rates. Figure 4a–d show the SEM microstructure of Cr-Ni-Mo-V rotor steel at various tempering temperatures, whereas Figure 4e–h show the carbide energy spectrum. At 450 °C, the microstructure of Cr-Ni-Mo-V rotor steel consists of martensite lath, rod-shaped Fe3Mo3C, and a minor quantity of spherical VC, as shown in Figure 4a,e. Figure 4b,f show that at 550 °C, a substantial quantity of rod-shaped Fe3Mo3C in Cr-Ni-Mo-V rotor steel is spread at the grain boundary, whereas a little amount of VC and Mo2C is dispersed within the grain. Compared to 450 °C, the amount of Fe3Mo3C increases and the diameter increases from 200 nm to 500 nm at 550 °C, and it was concluded that a large amount of Fe3Mo3C precipitated and grew. The content of Fe3Mo3C dramatically drops at 650 °C, as shown in Figure 4c,g, while a considerable quantity of VC and Mo2C disperses. Figure 4d,h show that at 700 °C the matrix’s Fe3Mo3C content decreases, VC and Mo2C coarsen and the precipitation-promoting impact on Cr-Ni-Mo-V rotor steel weakens.
Figure 4.
SEM microstructure (left) and energy spectrum (right) of Cr-Ni-Mo-V rotor steel at various tempering temperatures: (a) and (e) 450 °C; (b) and (f) 550 °C; (c) and (g) 650 °C; (d) and (h) 700 °C.
In conclusion, a large amount of Fe3Mo3C and a small amount of VC and Mo2C precipitated from the matrix in the tempering range of 450 °C to 550 °C, suggesting that the weakening of the solution’s strength may be related to the strength drop in this temperature range [24]. The amount of VC and Mo2C in the matrix increases while the amount of Fe3Mo3C decreases in the tempering range of 550 °C to 650 °C, suggesting that precipitation hardening may be the reason of the strength increase. The quantities of VC and Mo2C grow while the amount of Fe3Mo3C in the matrix falls in the tempering range of 650 °C to 700 °C, demonstrating that the weakening of precipitation strengthening is associated with the strength decline [25].
Figure 5 depicts the variations in the lattice constant of alpha-Fe, the matrix diffraction intensity and the dislocation density of Cr-Ni-Mo-V rotor steel at various tempering temperatures. Figure 5a demonstrates that the spacing of the matrix’s crystal face reduces when tempered at 450–550 °C, increases when tempered at 550–650 °C and decreases when tempered at 650–700 °C. This is consistent with the shifting trend of strength with tempering temperature (Figure 3b). The change in the crystal face spacing of the matrix also reflects the solid solution and precipitation law of alloying elements, which is also confirmed by the precipitation and resolution of Fe3Mo3C carbide in the matrix and the precipitation and coarsening of VC and Mo2C carbide in Figure 4. Figure 5b,c show the matrix diffraction strength and the dislocation density which is determined using the half-peak width of the diffraction peak at different tempering temperatures. With the tempering temperature increasing, the diffraction intensity and dislocation density decreased gradually due to the gradual recovery and recrystallization of martensite lath.
Figure 5.
Lattice constant of alpha-Fe (a), matrix diffraction intensity (b) and dislocation density (c) of Cr-Ni-Mo-V rotor steel at different tempering temperatures.
Figure 6 shows the TEM microstructure of Cr-Ni-Mo-V rotor steel at different tempering temperatures. From Figure 6a, under the tempering condition of 450 °C, the martensitic lattice microstructure in Cr-Ni-Mo-V rotor steel is still the main microstructure form, with a large number of rod-shaped carbides distributed in the grain boundaries and a small number of spherical carbides distributed in the martensitic lattice and boundary, which corresponds to Figure 4a. In addition, dislocation proliferation and entanglement occurred near the carbides, and the low recovery of the martensite lamella led to a high dislocation density [26]. The carbide’s restriction of dislocation movement and the high dislocation density in the martensitic lath promoted the maintenance of the material’s high strength [27]. From Figure 6b, when the tempering temperature increases to 550 °C, a large amount of rod-shaped Fe3Mo3C precipitates at the grain boundary, and a small amount of spherical VC and Mo2C in the grains leads to a weakening of the strengthening effect of the solution, in which the hindering effect of dislocation is weakened by the increase in the volume of Fe3Mo3C and the dislocation density decreases due to the higher recovery degree of martensitic lath. Therefore, the strength of Cr-Ni-Mo-V rotor steel decreased as a result of solution strengthening, dislocation strengthening and precipitation strengthening. Figure 6c shows that cellular structures were formed during tempering at 650 °C due to the local recrystallization of martensitic laths, which leads to a decrease in dislocation density. In particular, the dissolution of rod-shaped Fe3Mo3C led to an increased strength increase in the matrix in solid solution, while the diffusion of spherical VC and Mo2C increased the hindrance of dislocations [28]. The strength of Cr-Ni-Mo-V rotor steel increased with the enhancement of solution strength and precipitation strength. It can be seen from Figure 6d that when the tempering temperature increases to 700 °C, almost all martensitic lath recrystallizes to form cellular structures, which leads to a further reduction in dislocation density. At the same time, the high tempering temperature led to excessive precipitation and the growth of VC, Mo2C and Fe3Mo3C carbides [8]. Therefore, strengthening by dislocation, solution and precipitation were weakened simultaneously, resulting in a significant decrease in material strength [29]. The above microstructural changes can clearly explain the evolution of the mechanical properties of Cr-Ni-Mo-V rotor steel at different tempering temperatures (Figure 3). This paper clarified the transition law of steel carbide with increasing tempering temperature. In the future, the transition mechanism of carbides should be further studied to provide a theoretical basis for further improvements of properties.
Figure 6.
TEM microstructure of Cr-Ni-Mo-V rotor steel: (a) 450 °C; (b) 550 °C; (c) 650 °C; (d) 700 °C.
3.3. Fracture Morphology
The tensile specimen fracture of Cr-Ni-Mo-V rotor steel at different temperatures is shown in Figure 7. As shown in Figure 7a, the microcracks at the tempering temperature of 450 °C mainly propagate through the grain boundaries or within the grains without significant plastic deformation regions. The tensile fracture is mainly a brittle fracture, which has the characteristics of transgranular fractures with flat or small crack extensions. As illustrated in Figure 7b, increasing the tempering temperature to 550 °C results in a brittle fracture surface with transgranular cracks and grain boundary fractures, as well as modest local plastic deformation of the dimpling structure. The tensile fracture shows a quasi-brittle fracture. Compared to tempering at 450 °C, tempering at 550 °C may produce more grain boundary fractures and minor dimple structures, indicating a little increase in plasticity but no major ductile fracture pattern. As shown in Figure 7c, when the tempering temperature increases to 650 °C, the fracture has an obvious dimple structure, and the dimple shape is deep but small, showing an obvious ductile fracture. When the tempering temperature increases to 700 °C, the tensile fracture characteristics still remain ductile, and the fracture surface still has a dimple structure, but the dimple shape becomes shallow and large. To summarize, when the tempering temperature increases from 450 °C to 700 °C, the tensile fracture characteristic of Cr-Ni-Mo-V rotor steel gradually change from cleavage fractures to dimple fractures.
Figure 7.
Tensile fracture morphology of Cr-Ni-Mo-V rotor steel: (a) 450 °C; (b) 550 °C; (c) 650 °C; (d) 700 °C.
From Figure 4a and Figure 6a, it can be seen that when tempering at 450 °C, a large amount of Fe3Mo3C at the grain boundary easily causes stress concentrations, which lead to crack initiation and propagation, and a low elongation and reduction in area lead to insufficient plastic deformation [30]. As a result, microcracks form at the grain boundary and eventually fracture intergranularly or transgranularly. It can be seen from Figure 4b and Figure 6b that during tempering at 550 °C, a large amount of Fe3Mo3C gradually grows at the grain boundaries and martensitic lath boundaries, the dislocation density within the grains decreases, and the precipitation of alloying elements weakens the effect of solution strength and dislocation strength [31]. As a result, microcracks can occur simultaneously at the grain boundary and inside the grain, leading to a quasi-crack fracture. As shown in Figure 4c and Figure 6c, Fe3Mo3C redissolution at the grain boundary and martensite lath enhances the solid solution strengthening of the matrix, and spherical VC and Mo2C precipitate in large amounts at the martensite lath boundary. Thereby, microcrack can easily occur in the grain, and the high strain and reduction in area make the microstructure susceptible to local plastic deformation. The tensile specimens show pitting fractures [32]. Figure 4d and Figure 6d show that during tempering at 700 °C, spherical VC and Mo2C coarsen along the martensite lath border, leading to crack formation and propagation [33]. Compared with tempering at 650 °C, the dimpled shape of tensile fractures at 700 °C is flatter and larger.
4. Conclusions
- (1)
- The microstructure of the Cr-Ni-Mo-V rotor steel in this work is mainly tempered martensite. With an increasing in tempering temperature, the tensile strength and yield strength first decrease, then increase and then decrease again, while elongation and section shrinkage gradually increase, with 650 °C having the best comprehensive mechanical properties.
- (2)
- The strength of Cr-Ni-Mo-V rotor steel is mainly influenced by dislocation strengthening in the matrix, the solid solution strengthening of the carbon and alloying elements and the precipitation strengthening of carbides. The tensile strength and plasticity are the best after tempering at 650 °C, which is mainly due to the comprehensive effect of Fe3Mo3C dissolution leading to the solid solution strengthening of the matrix and the precipitation strengthening of VC and Mo2C.
- (3)
- When the tempering temperature increases from 450 °C to 700 °C, the tensile fracture properties of Cr-Ni-Mo-V rotor steel gradually change from cleavage fracture to pitting fracture, which is mainly affected by the dissolution, precipitation and growth of Fe3Mo3C, VC and Mo2C in the structure.
- (4)
- In order to give theoretical support for further optimization of Cr-Ni-Mo-V rotor steel characteristics and heat treatment processes, future research should investigate the mechanism of carbide transition from Fe3Mo3C to Mo2C and VC.
Author Contributions
C.Z.: conceptualization, formal analysis, writing, and reviewing. X.Z.: methodology; X.L. and G.S.: performing experiments. B.W. and L.G.: investigation. P.Z. and S.Z.: project administration and supervision. All authors have read and agreed to the published version of the manuscript.
Funding
This research was funded by the Natural Science Foundation of Shanxi Province (CN) (No. 202203021222065), the Shanxi Province Key Research and Development Program Project (CN) (No. 202202050201018) and the National Natural Science Foundation of China (No. 52405435).
Institutional Review Board Statement
Not applicable.
Informed Consent Statement
Not applicable.
Data Availability Statement
Data are contained within the article.
Conflicts of Interest
The authors Xiaojie Liang and Guowang Song are currently employed by Taiyuan Heavy Industry Co., Ltd., and were employed by Taiyuan Heavy Industry Co., Ltd.; the authors Bin Wang and Liqiang Guo are currently employed by First Machinery Group Firnaco Shanxinorth Machine Buliding Co., Ltd. The remaining authors declare that the research was conducted in the absence of any commercial or financial relationships that could be construed as potential conflicts of interest.
References
- Luo, J.; Zhao, J.; Yang, Z.; Jin, Y.; Zhang, C. Microstructure Prediction of Multi-Directional Forging for 30Cr2Ni4MoV Steel by the Secondary Development of Deform Software and BP Neural Network. Int. J. Adv. Manuf. Technol. 2022, 119, 2971–2984. [Google Scholar] [CrossRef]
- Peng, Y.; Liu, C.; Yang, L.; Hou, S.; Cheng, R.; Zhang, H.; Ni, H. Improving Cleanliness of 30Cr2Ni4MoV Low-Pressure Rotor Steel by CaO–SiO2–MgO–Al2O3 Slag Refining. J. Iron Steel Res. Int. 2022, 29, 1434–1445. [Google Scholar] [CrossRef]
- Liu, J.; Li, M.; Zhang, P.; Zhu, Y.; Li, S. Experiment Research on the Transformation Plasticity by Tensile/Compressive Stress and Transformation Kinetics during the Martensitic Transformation of 30Cr2Ni4MoV Steel. Mater. Res. Express 2020, 6, 1265g8. [Google Scholar] [CrossRef]
- Sun, G.; Wang, Q.; Li, Z. Microstructural Evolution of High-Nickel Steel during Quenching, Lamellarizing, and Tempering Heat Treatment. J. Mater. Res. Technol. 2024, 33, 8618–8630. [Google Scholar] [CrossRef]
- Hu, D.; Dai, X.; Xie, B.; Li, W.; Yu, H.; Chen, H. Fatigue Life of Flywheel Energy Storage Rotors Composed of 30Cr2Ni4MoV Steel. Energies 2024, 17, 3730. [Google Scholar] [CrossRef]
- Lu, F.; Liu, P.; Ji, H.; Ding, Y.; Xu, X.; Gao, Y. Dramatically Enhanced Impact Toughness in Welded 10%cr Rotor Steel by High Temperature Post-Weld Heat Treatment. Mater. Charact. 2014, 92, 149–158. [Google Scholar] [CrossRef]
- Wei, A.; Feng, Y.; Wu, L.; Li, Y.; Xie, Z. Corrosion Wear Behavior of 30CrNi2MoVA Steel in Simulated Seawater. Mater. Lett. 2023, 349, 134750. [Google Scholar] [CrossRef]
- Zhao, C.; Zhang, J.; Fu, J.; Lian, Y.; Zhang, Z.; Zhang, C.; Huang, J. Low-Cycle Fatigue Behavior of the Novel Steel and 30SiMn2MoV Steel at 700 °C. Materials 2020, 13, 5753. [Google Scholar] [CrossRef]
- Xie, Y.; Cheng, X.; Wei, J.; Luo, R. Characterization of Carbide Precipitation during Tempering for Quenched Dievar Steel. Materials 2022, 15, 6448. [Google Scholar] [CrossRef]
- Lin, H.; Yang, M.; Song, B. Study on Hot Compressive Deformation Behavior and Microstructure Evolution of G13Cr4Mo4Ni4V Steel. Mater. Today Commun. 2024, 38, 108429. [Google Scholar] [CrossRef]
- DelRio, F.W.; Martin, M.L.; Santoyo, R.L.; Lucon, E. Effect of Tempering on the Ductile-to-Brittle Transitional Behavior of Ni-Cr-Mo Low-Alloy Steel. Exp. Mech. 2020, 60, 1167–1172. [Google Scholar] [CrossRef]
- Han, C.; Liu, Q.; Cai, Z.; Sun, Q.; Huo, X.; Fan, M.; He, Y.; Li, K.; Pan, J. Effect of Tempering Heat Treatment on the Microstructure and Impact Toughness of a Ni–Cr–Mo–V Steel Weld Metal. Mater. Sci. Eng. A 2022, 850, 143521. [Google Scholar] [CrossRef]
- Barrera-Villatoro, E.F.; Vázquez-Gómez, O.; Vergara-Hernández, H.J.; Gallegos-Pérez, A.I.; López-Martínez, E.; Díaz-Villaseñor, P.G.; Garnica-González, P. Non-Isothermal Tempering Kinetics in a Cr–Mo–V Medium-Carbon Low-Alloy Steel: A Modeling Proposal. J. Therm. Anal. Calorim. 2023, 148, 13791–13802. [Google Scholar] [CrossRef]
- Zhao, L.; Wang, D.; Pang, Q.; Li, W.; Du, L. Effect of Quenching-Super Intercritical Quenching-Tempering Process on the Evolution of Microstructure and the Yield Ratio of Ni–Cr–Mo Steel. J. Mater. Res. Technol. 2024, 32, 915–925. [Google Scholar] [CrossRef]
- Chen, Z.; Zhao, X.; Qi, J.; Zhu, W.; Feng, Y.; Chen, L.; Wang, G. Effect of Tempering on the Microstructure and Properties of a New Multi-Functional 460 MPa Grade Construction Structural Steel. J. Mater. Res. Technol. 2022, 18, 1092–1104. [Google Scholar] [CrossRef]
- Yang, X.; Yu, W.; Tang, D.; Li, Y.; Lv, D.; Shi, J.; Du, Q.; Mei, D.; Fan, J. Effect of Direct Quenched and Tempering Temperature on the Mechanical Properties and Microstructure of High Strength Steel. Mater. Res. Express 2020, 7, 126509. [Google Scholar] [CrossRef]
- Wang, J.; Li, H.; Wang, Q.; Liang, Z.; Gao, S.; Sun, L.; Gao, X.; Yang, Z.; Li, Y.; Zhang, F. Effect of Rapid Tempering at High Temperature on Microstructure, Mechanical Properties and Stability of Retained Austenite of Medium Carbon Ultrafine Bainitic Steel. J. Mater. Res. Technol. 2024, 28, 3144–3154. [Google Scholar] [CrossRef]
- Liu, Y.; Han, S.; Yang, C.; Geng, R.; Yuan, X.; Li, Y.; Wang, C. Evolution of Microstructures and Mechanical Properties with Tempering Temperature in a Novel Synergistic Precipitation Strengthening Ultra-High Strength Steel. Materials 2024, 17, 5314. [Google Scholar] [CrossRef]
- He, X.; Hu, C.; Wang, Z.; Zhao, H.; Wei, X.; Dong, H. Carbide Transformation Behaviors of a Cr–Mo–V Secondary Hardening Steel during over-Ageing. Mater. Res. Express 2020, 7, 36511. [Google Scholar] [CrossRef]
- Ravikanth, K.V.; Verma, A.; Singh, J.B.; Vishwanadh, B.; Rai, S.K.; Karri, M. Effect of Prior Microstructure on Carbide Precipitation in a Cr-Mo-V Pressure Vessel Steel at 650 °C. J. Nucl. Mater. 2024, 602, 155359. [Google Scholar] [CrossRef]
- Claesson, E.; Magnusson, H.; Hedström, P. Scanning Precession Electron Diffraction Study of Carbide Precipitation Sequence in Low Alloy Martensitic Cr-Mo-V Tool Steel. Mater. Charact. 2023, 202, 113032. [Google Scholar] [CrossRef]
- Zheng, C.; Fu, B.; Tang, Y.; Kong, L.; Wang, Y.; Li, N. Microstructure and Mechanical Properties of 9Cr18Mo Martensitic Stainless Steel Fabricated by Strengthening-Toughening Treatment. Mater. Sci. Eng. A 2023, 869, 144783. [Google Scholar] [CrossRef]
- Ren, Q.; Kou, Z.; Wu, J.; Hou, T.; Xu, P. Effect of Tempering Temperature on Microstructure and Mechanical Properties of 35CrMo Steel. Metals 2023, 13, 771. [Google Scholar] [CrossRef]
- Liu, L.; Yang, J.; Li, X.; Sun, M.; Ren, Y.; Li, M.; Yang, H.; Wang, H. A Heat-Resistant Steel with Excellent High-Temperature Strength-Ductility Based on a Combination of Solid-Solution Strengthening and Precipitation Hardening. Mater. Sci. Eng. A 2024, 915, 147218. [Google Scholar] [CrossRef]
- Mao, W.; Ning, A.; Guo, H. Nanoscale Precipitates and Comprehensive Strengthening Mechanism in AISI H13 Steel. Int. J. Miner. Metall. Mater. 2016, 23, 1056–1064. [Google Scholar] [CrossRef]
- Wang, C.; Luo, K.; Wang, J.; Lu, J. Carbide-Facilitated Nanocrystallization of Martensitic Laths and Carbide Deformation in AISI 420 Stainless Steel during Laser Shock Peening. Int. J. Plast. 2022, 150, 103191. [Google Scholar] [CrossRef]
- Gao, B.; Wang, L.; Liu, Y.; Liu, J.; Xiao, L.; Sui, Y.; Sun, W.; Chen, X.; Zhou, H. Achieving Ultrahigh Strength by Tuning the Hierarchical Structure of Low-Carbon Martensitic Steel. Mater. Sci. Eng. A 2023, 881, 145370. [Google Scholar] [CrossRef]
- Zhang, C.; Cao, Y.; Chen, J.; Ye, H.; Zhao, C.; Huang, J. Microstructure Stabilities of Newly Developed Hot-working Die Steel and H13 Steel at Elevated Temperature. Steel Res. Int. 2023, 94, 2200811. [Google Scholar] [CrossRef]
- Lin, H.; Yang, M.; Song, B. Study of Microstructure Uniformity and Impact Toughness Enhancement Mechanism of G13Cr4Mo4Ni4V Bearing Steel. J. Mater. Res. Technol. 2024, 31, 4059–4072. [Google Scholar] [CrossRef]
- Wang, Y.; Song, K.; Zhang, Y.; Wang, G. Microstructure Evolution and Fracture Mechanism of H13 Steel during High Temperature Tensile Deformation. Mater. Sci. Eng. A 2019, 746, 127–133. [Google Scholar] [CrossRef]
- Wang, H.; Feng, H.; Li, H.; Zhang, S.; Zhu, H.; Jiang, Z. Effect of Isothermal Tempering Time and Temperature on Microstructure and Hardness of 3Cr5Mo2SiVN Hot-Work Die Steel. Mater. Charact. 2024, 212, 114010. [Google Scholar] [CrossRef]
- Meshkabadi, R.; Pouyafar, V.; Soltanikia, R. Investigation on Microstructure, Hardness and Fracture Energy of AISI H13 Hot Work Tool Steel by Cyclic Heat Treatment. J. Mater. Eng. Perform. 2024, 33, 6620–6629. [Google Scholar] [CrossRef]
- Lee, C.-H.; Seol, W.-K.; Kim, B.H.; Kim, S.-D.; Jang, J.H.; Lee, T.-H.; Moon, S.-W.; Kim, S.-Y. Investigation on New Type of Fracture in Cr-Mo-V Steel Slab. Eng. Fail. Anal. 2019, 98, 240–248. [Google Scholar] [CrossRef]
Disclaimer/Publisher’s Note: The statements, opinions and data contained in all publications are solely those of the individual author(s) and contributor(s) and not of MDPI and/or the editor(s). MDPI and/or the editor(s) disclaim responsibility for any injury to people or property resulting from any ideas, methods, instructions or products referred to in the content. |
© 2025 by the authors. Licensee MDPI, Basel, Switzerland. This article is an open access article distributed under the terms and conditions of the Creative Commons Attribution (CC BY) license (https://creativecommons.org/licenses/by/4.0/).






