The apex MRMSS: A Multi-Role Mission Support System and Service Module Simulator for Payloads of Sounding Rockets and Other Space Applications
Abstract
1. Introduction
2. Materials and Methods
2.1. Overview
2.2. MSMSv1
2.2.1. REXUS Service Module Interface
2.2.2. Implementation
2.2.3. Results
2.3. MSMSv2
2.3.1. Implementation
2.3.2. Results
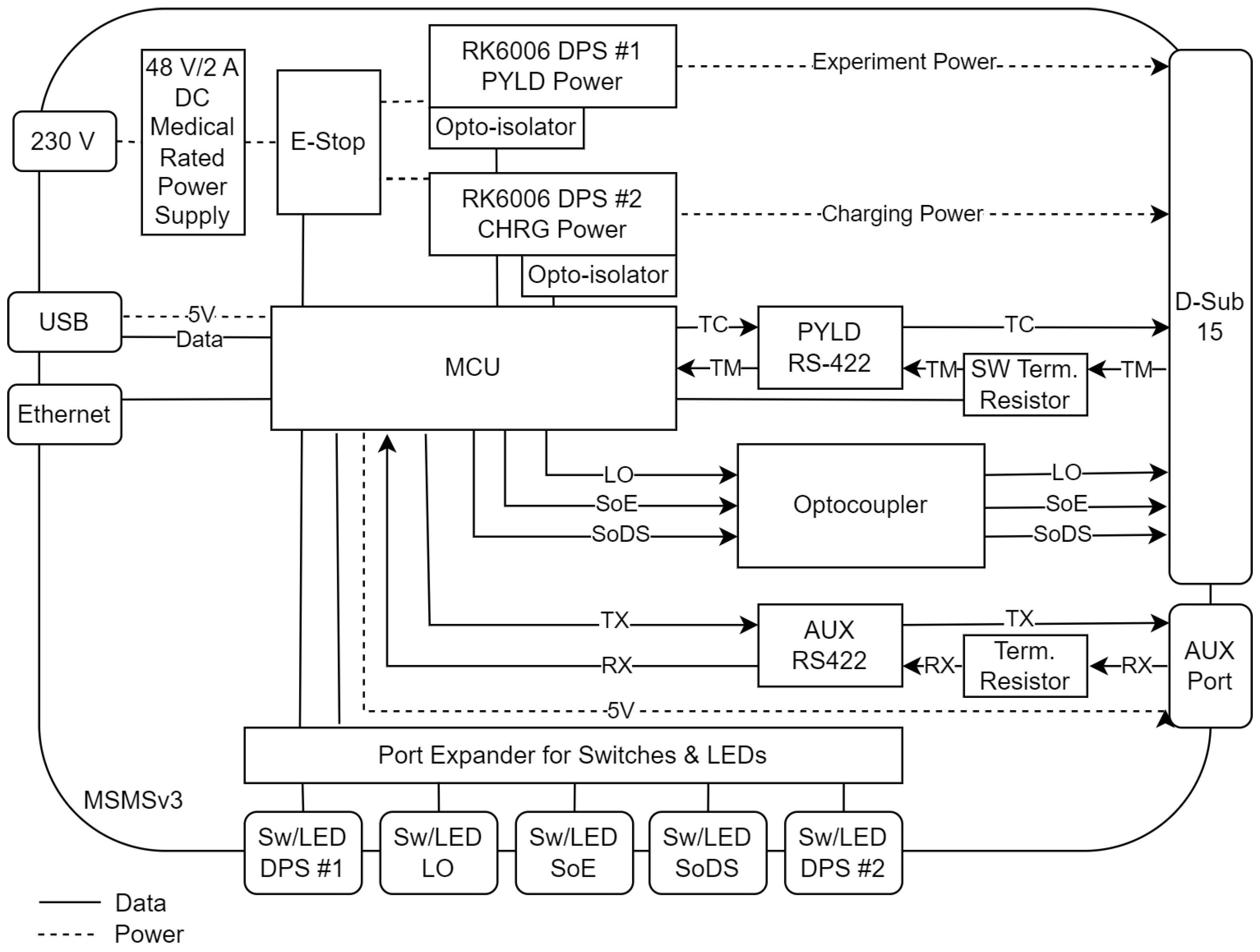
2.4. MSMSv3
2.4.1. Implementation
2.4.2. Electrical Safety
2.4.3. Results
2.5. MRMSS
3. Results
4. Conclusions
Author Contributions
Funding
Institutional Review Board Statement
Informed Consent Statement
Data Availability Statement
Acknowledgments
Conflicts of Interest
Abbreviations
| 2FA | Two-Factor Authentication |
| apex | Advanced Processors, Encryption, and Security Experiment |
| BASH | Bourne-Again Shell |
| BNC | Bayonet Neill Concelman |
| CANbus | Controller Area Network |
| CCSDS | Consultative Committee for Space Data Systems |
| DC | Direct Current |
| DPS | Digital Power Supply |
| DLR | German Aerospace Center |
| EGSE | Electrical Ground Support Equipment |
| EMC | Electromagnetic Compatibility |
| EML | Electromagnetic Levitator |
| ESD | Electrostatic Discharge |
| FSM | Finite State Machine |
| GNSS | Global Navigation Satellite System |
| ICD | Interface Control Document |
| IDC | Insulation Displacement Connector |
| I2C | Inter-Integrated Circuit |
| ISS | International Space Station |
| JSON | JavaScript Object Notation |
| LDO | Low-Dropout |
| LED | Light Emitting Diode |
| LO | Lift Off |
| LTE | Long Term Evolution |
| MAPHEUS | Material Physics Experiments Under Microgravity |
| MCC | Mission Control Center |
| MCS | Mission Control System |
| MCU | Microcontroller Unit |
| MDB | Mission Database |
| MORABA | Mobile Rocket Base |
| MOSAIC | Micro-Experiments On Sounding Rockets As Insert Cubes |
| MRMSS | Multi-Role Mission Support System |
| MSMS | Multiple Service Module Simulator |
| MUSC | Microgravity User Support Center |
| OBC | On-Board Computer |
| PAL | Phase Alternating Line |
| PCB | Printed Circuit Board |
| PoE | Power over Ethernet |
| PPS | Pulse Per Second |
| REXUS | Rocket-Borne Experiments for University Students |
| RJ | Registered Jack |
| RPi | Raspberry Pi |
| RXSM | REXUS Service Module |
| SAS | Space Applications Services |
| SCP | Science Camera Platform |
| SCPI | Standard Commands for Programmable Instruments |
| SDR | Software Defined Radio |
| SEC | Standard Electrical Connector |
| SES | Student Experiment Sensorboard |
| SLIP | Serial Line Internet Protocol |
| SM | Service Module |
| SoDS | Start/Stop of Data Storage |
| SoE | Start/Stop of Experiment |
| SSC | Swedish Space Corporation |
| SPI | Serial Peripheral Interface |
| TC | Telecommand |
| TDD | Test-Driven Development |
| TTL | Transistor–Transistor Logic |
| TM | telemetry |
| UDP | User Datagram Protocol |
| USB | Universal Serial Bus |
| VPN | Virtual Private Network |
| YAML | Yet Another Markup Language |
References
- McGregor, J. Test Early, Test Often. J. Object Technol. 2007, 6, 7–14. [Google Scholar] [CrossRef][Green Version]
- Ferri, P.; Sørensen, E.; Nesbit, M.; Noyes, J. Towards a common check-out and control system for Rosetta. ESA Bull. 1998, 94. Available online: https://www.esa.int/esapub/bulletin/bullet94/FERRI.pdf (accessed on 4 August 2025).[Green Version]
- Metodi, T.S. Space Vehicle Testbeds and Simulators Taxonomy and Development Guide; Technical Report; Space and Missile Systems Center: El Segundo, CA, USA, 2010. [Google Scholar][Green Version]
- Gagnier, D.; Hayner, R.; Roza, M.; Nosek, T.; Razzaghi, A.; Hendershot, J. Testing of Environmental Satellite Bus-Instrument Interfaces Using Engineering Models. In Proceedings of the Space 2004 Conference and Exhibit, San Diego, CA, USA, 28–30 September 2004; p. 5955. [Google Scholar][Green Version]
- Choi, K.K.; Maral, G.; Rumeau, R. Space link simulator for development of a new standard CCSDS file delivery protocol. In Proceedings of the 1999 IEEE Aerospace Conference. Proceedings (Cat. No. 99TH8403), Snowmass, CO, USA, 7 March 1999; Volume 5, pp. 183–191. [Google Scholar][Green Version]
- de Souza, K.V.; Bouslimani, Y.; Ghribi, M.; Boutot, T. On-board computer and testing platform for cubesat development. IEEE J. Miniaturization Air Space Syst. 2023, 4, 199–211. [Google Scholar] [CrossRef]
- Jones, M.; Melton, B.; Bandecchi, M. Teamsat’s low-cost EGSE and mission control systems. ESA Bull. 1998, 95, 139. [Google Scholar]
- Maas, N.; de Vera, J.-P.; Schmidt, M.J.; Reimann, P.; Randall, J.G.; Feles, S.; Hemmersbach, R.; Schierwater, B.; Hauslage, J. apex Mk.2/Mk.3: Secure live transmission of the first flight of Trichoplax adhaerens in space based on components off-the-shelf. Eng 2025, 6, 241. [Google Scholar] [CrossRef]
- Maas, N.; Feles, S.; de Vera, J.P. The apex MCC: A blueprint of an open-source, secure, CCSDS compatible ground segment for sounding rocket, CubeSat, and small lander missions. Eng 2025, 6, 246. [Google Scholar] [CrossRef]
- Lesch, K.; Völk, S. REXUS User Manual v.7.17; DLR: Oberpfaffenhofen, Germany, 2021; Available online: https://rexusbexus.net/wp-content/uploads/2021/12/RX_UserManual_v7-17_26Nov21.pdf (accessed on 4 August 2025).
- Liemersdorf, C.; Lichterfeld, Y.; Hemmersbach, R.; Hauslage, J. The MAPHEUS module CellFix for studying the influence of altered gravity on the physiology of single cells. Rev. Sci. Instrum. 2020, 91, 014101. [Google Scholar] [CrossRef] [PubMed]
- Joy-IT. DPS5005 Power Supply Datasheet; JOY-IT: Neukirchen-Vluyn, Germany, 2025; Available online: https://joy-it.net/files/files/Produkte/JT-DPS5005/JT-DPS5005_Datasheet-EN_2025-05-21.pdf (accessed on 4 August 2025).
- CCSDS. CCSDS 133.0-B-2 Space Packet Protocol. 2020. Available online: https://ccsds.org/Pubs/133x0b2e2.pdf (accessed on 4 August 2025).
- Hangzhou Ruideng Technology Co., Ltd. RK6006/RK6006-BT Power Supply Manual; Hangzhou Ruideng Technology Co., Ltd.: Hangzhou, China, 2024; Available online: http://www.ruidengkeji.com/inst/RK6006.pdf (accessed on 4 August 2025).
- Astrobotic. Astrobotic Lunar Landers Payload User’s Guide v.5.0; Astrobotic: Pittsburgh, PA, USA, 2021; Available online: https://www.astrobotic.com/wp-content/uploads/2022/01/PUGLanders_011222.pdf (accessed on 4 August 2025).
- Lenz, K.; Berger, T. M-42 Radiation Detector Flies to the Moon. 2024. Available online: https://www.dlr.de/en/latest/news/2024/m-42-radiation-detector-flies-to-the-moon (accessed on 4 August 2025).
- Endurosat. CubeSat Onboard Computer. 2025. Available online: https://www.endurosat.com/products/onboard-computer/ (accessed on 4 August 2025).
- Feles, S.; Keßler, R.; Hauslage, J. Pioneering the Future of Experimental Space Hardware: MiniFix-a Fully 3D-Printed and Highly Adaptable System for Biological Fixation in Space. Microgravity Sci. Technol. 2025, 37, 22. [Google Scholar] [CrossRef]







| DPS5005 [12] | RK6006 [14] | |
|---|---|---|
| Input voltage range | 6–55 V | 12–68 V |
| Output voltage range | 0–50 V | 0–60 V |
| Output current range | 0–5 A | 0–6 A |
| Output power range | 0–250 W | 0–360 W |
| Output voltage resolution | 0.01 V | |
| Output current resolution | 0.001 A | |
| Output ripple typical | 100 mVpp at max resolution | |
| Mission Time | Mission Phase | MSMSv3 Stimuli |
|---|---|---|
| −00:25:00 | Countdown Start | / |
| −00:24:30 | Payload Power On | Power: DPS #1 on |
| −00:23:45 | Prepare Launch | TC: Science TM to 4 Hz |
| −00:20:00 | Ground Reference Experiment: Start Camera Recording | Signal: SoE on |
| −00:05:00 | Ground Reference Experiment: Stop Camera Recording | Signal: SoE off |
| −00:02:30 | Flight Experiment: Start Camera Recording | Signal: SoE on |
| 00:00:00 | Lift Off | Signal: LO on |
| 00:01:00 | Start of Microgravity Phase | Signal: SoDS on |
| 00:04:05 | Apogee | / |
| 00:07:10 | End of Microgravity Phase | Signal: SoDS off |
| 00:16:15 | Touchdown | / |
| 00:18:30 | Flight Experiment: Stop Camera Recording | Signal: SoE off |
| 00:20:00 | Payload Power Off | Power: DPS #1 off |
| Test | Configuration | Result |
|---|---|---|
| Round-trip latency | 460,800 baud, n = 1000, ping intervals all x ms 500 ms 333 ms 125 ms 75 ms 50 ms 25 ms 5 ms | Reliable responses, 100% integrity down to 5 ms 70.404 ms (mean), 28.842 ms (sd) 71.507 ms (mean), 29.231 ms (sd) 70.982 ms (mean), 29.232 ms (sd) 69.594 ms (mean), 29.287 ms (sd) 67.979 ms (mean), 29.319 ms (sd) 68.385 ms (mean), 29.230 ms (sd) 65.753 ms (mean), 28.332 ms (sd) |
| Round-trip latency (comparison) | 38,400 baud, n = 1000, ping intervals all x ms 5 ms | Reliable responses, 100% integrity down to 5 ms 73.142 ms (mean), 28.229 ms (sd) |
| Signal switching delay | 25× on, mechanical button 25× off, mechanical button | 4.985 ms (mean), 0.620 ms (sd) 4.815 ms (mean), 0.701 ms (sd) |
| Power supply switching | 25× on, mechanical button 25× off, mechanical button | 325.179 ms (mean), 48.780 ms (sd) 479.830 ms (mean), 46.221 ms (sd) |
| Power supply over-current protection | 25× triggered, mechanical button, 3.33 V, 100 mA, OCP at 25 mA | 0.437 ms (mean), 0.094 ms (sd) |
| Telemetry stress test | apex Mk.2 @ 460,800 baud, 4 Hz Science TM (80 bytes), >250,000 packets | 0 packet loss/errors detected, runtime: 17:34:12.759 h |
Disclaimer/Publisher’s Note: The statements, opinions and data contained in all publications are solely those of the individual author(s) and contributor(s) and not of MDPI and/or the editor(s). MDPI and/or the editor(s) disclaim responsibility for any injury to people or property resulting from any ideas, methods, instructions or products referred to in the content. |
© 2025 by the authors. Licensee MDPI, Basel, Switzerland. This article is an open access article distributed under the terms and conditions of the Creative Commons Attribution (CC BY) license (https://creativecommons.org/licenses/by/4.0/).
Share and Cite
Maas, N.; Feles, S.; de Vera, J.-P. The apex MRMSS: A Multi-Role Mission Support System and Service Module Simulator for Payloads of Sounding Rockets and Other Space Applications. Eng 2025, 6, 247. https://doi.org/10.3390/eng6090247
Maas N, Feles S, de Vera J-P. The apex MRMSS: A Multi-Role Mission Support System and Service Module Simulator for Payloads of Sounding Rockets and Other Space Applications. Eng. 2025; 6(9):247. https://doi.org/10.3390/eng6090247
Chicago/Turabian StyleMaas, Nico, Sebastian Feles, and Jean-Pierre de Vera. 2025. "The apex MRMSS: A Multi-Role Mission Support System and Service Module Simulator for Payloads of Sounding Rockets and Other Space Applications" Eng 6, no. 9: 247. https://doi.org/10.3390/eng6090247
APA StyleMaas, N., Feles, S., & de Vera, J.-P. (2025). The apex MRMSS: A Multi-Role Mission Support System and Service Module Simulator for Payloads of Sounding Rockets and Other Space Applications. Eng, 6(9), 247. https://doi.org/10.3390/eng6090247

