Frequency Sensitivity and Mode Characteristics of Body Structure for a Piezoelectric-Based UUV
Abstract
1. Introduction
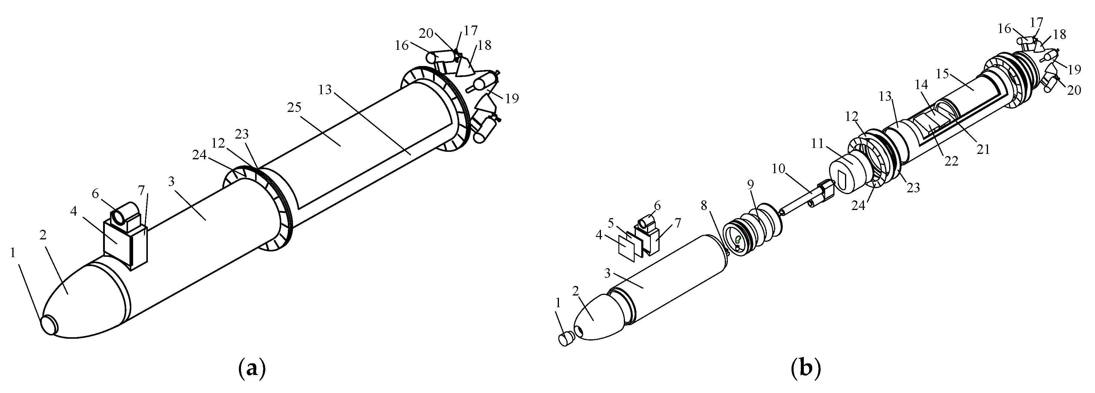
2. Operating Principle of the UUV
3. Dynamic Model and Equations
4. Results and Discussion
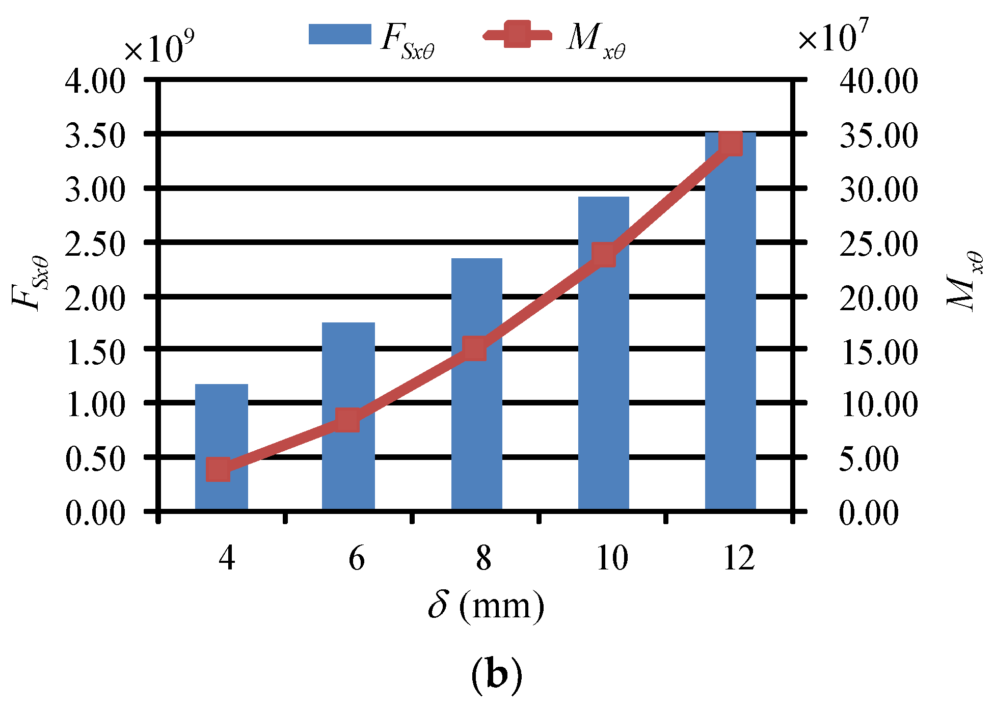
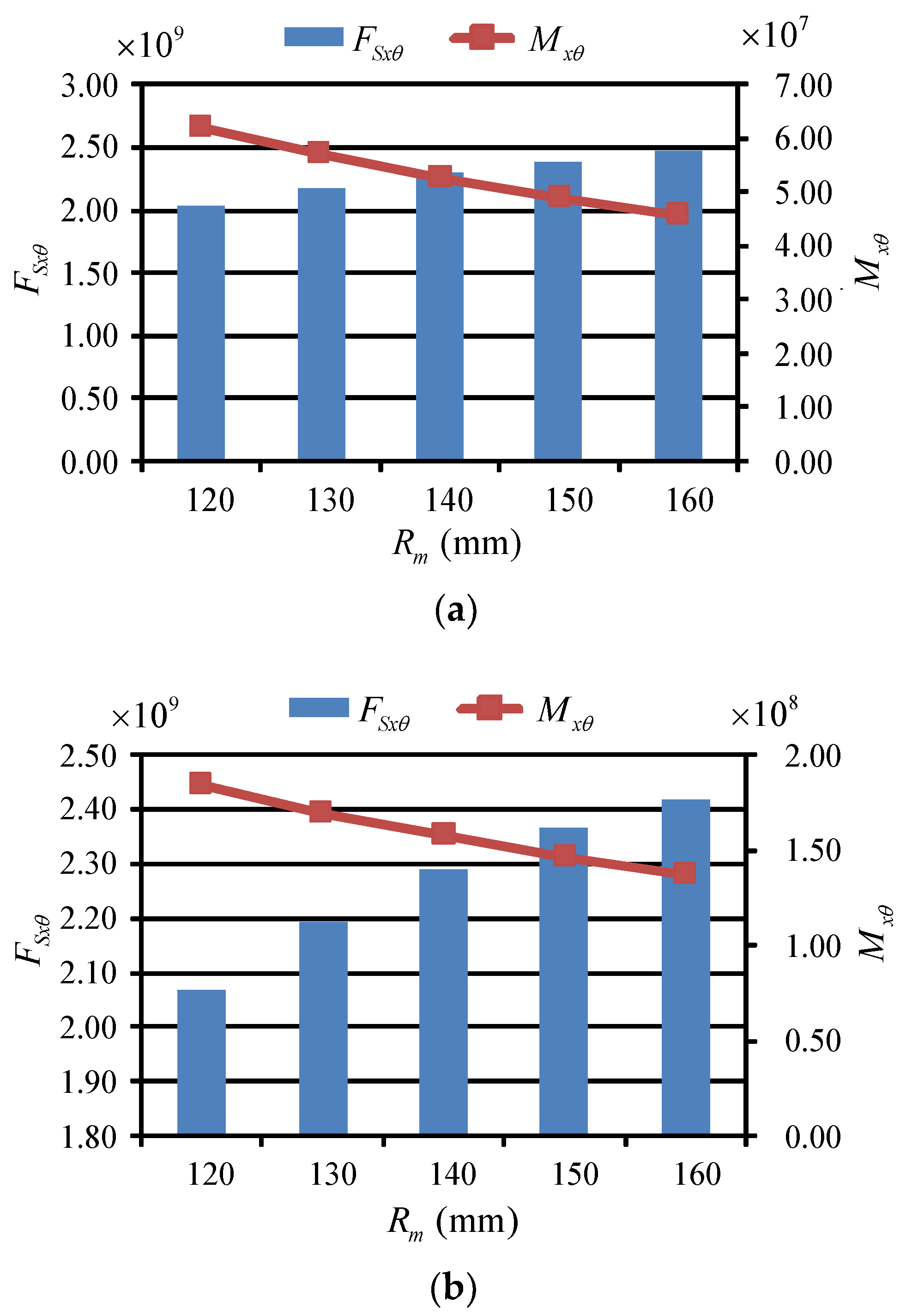
4.1. Frequency Sensitivity Analysis
4.2. Vibration Modes Analysis
5. Conclusions
Funding
Conflicts of Interest
References
- Zhang, W.; Wei, S.; Teng, Y. Dynamic obstacle avoidance for unmanned underwater vehicles based on an improved velocity obstacle method. Sensors 2017, 17, 2742. [Google Scholar] [CrossRef] [PubMed]
- Alam, K.; Ray, T.; Anavatti, S. Design optimization of an unmanned underwater vehicle using low- and high-fidelity models. IEEE Trans. Syst. Man Cybern. Syst. 2017, 47, 2794–2808. [Google Scholar] [CrossRef]
- Xiang, X.; Yu, C.; Lapierre, L. Survey on fuzzy-logic-based guidance and control of marine surface vehicles and underwater vehicles. Int. J. Fuzzy Syst. 2018, 20, 572–586. [Google Scholar] [CrossRef]
- Menozzi, A.; Gagliardi, T.C.; Lyshevski, S.E. Dynamics and control of MTV: A multipurpose unmanned underwater vehicle. In Proceedings of the American Control Conference, Chicago, IL, USA, 28–30 June 2000; Volume 1, pp. 70–74. [Google Scholar]
- Toumelin, N.; Lemaire, J. New capabilities of the REDERMOR unmanned underwater vehicle. In Proceedings of the Oceans Conference Record (IEEE), Honolulu, HI, USA, 5–8 November 2001; Volume 2, pp. 1032–1035. [Google Scholar]
- Joung, T.-H.; Lee, J.-H.; Nho, I.-S. A study on the design and manufacturing of a deep-sea unmanned underwater vehicle based on structural reliability analysis. Ships Offshore Struct. 2009, 4, 19–29. [Google Scholar] [CrossRef]
- Cufí, X.; Garcia, R.; Ridao, P. An approach to vision-based station keeping for an unmanned underwater vehicle. In Proceedings of the IEEE International Conference on Intelligent Robots and Systems, Lausanne, Switzerland, 30 September–4 October 2002. [Google Scholar] [CrossRef]
- García-Córdova, F.; Guerrero-González, A. Intelligent navigation for a solar powered unmanned underwater vehicle. Int. J. Adv. Rob. Syst. 2013, 10, 185. [Google Scholar] [CrossRef]
- Du, X.; Song, B.; Pan, G. Dynamics and simulation of biorobotic UUV. Mechanika 2013, 19, 544–548. [Google Scholar]
- Deng, F.; Wang, K.; Ding, W. Rocking conversion system based on wave energy for unmanned underwater vehicle. Adv. Mater. Res. 2014, 953–954, 680–687. [Google Scholar] [CrossRef]
- Zhang, W.; Teng, Y.; Wei, S. The robust H-infinity control of UUV with riccati equation solution interpolation. Ocean Eng. 2018, 156, 252–262. [Google Scholar] [CrossRef]
- Yan, Z.; Wang, L.; Wang, T. Polar cooperative navigation algorithm for multi-unmanned underwater vehicles considering communication delays. Sensors 2018, 18, 1044. [Google Scholar] [CrossRef] [PubMed]
- Martin, S.C.; Whitcomb, L.L. Nonlinear model-based tracking control of underwater vehicles with three degree-of-freedom fully coupled dynamical plant models: theory and experimental evaluation. IEEE Trans. Control Syst. Technol. 2018, 26, 404–414. [Google Scholar] [CrossRef]
- Erturk, A.; Inman, D.J. An experimentally validated bimorph cantilever model for piezoelectric energy harvesting from base excitations. Smart Mater. Struct. 2009, 18, 025009. [Google Scholar] [CrossRef]
- Aghakhani, A.; Basdogan, I. Equivalent impedance electroelastic modeling of multiple piezo-patch energy harvesters on a thin plate with AC-DC conversion. IEEE/ASME Trans. Mechatron. 2017, 22, 1575–1584. [Google Scholar] [CrossRef]
- Gozum, M.M.; Aghakhani, A.; Serhat, G. Electroelastic modeling of thin-laminated composite plates with surface-bonded piezo-patches using Rayleigh–Ritz method. J. Intell. Mater. Syst. Struct. 2018, 29, 2192–2205. [Google Scholar] [CrossRef]
- Cao, Z. Vibration of Cylindrical Shell. Shell Vibration Theory, 1st ed.; China Railway Press: Beijing, China, 1989; pp. 290–317. [Google Scholar]
- Chung, S.W.; Hong, S.G.; Ju, G.S. Extension and reduction of Donnell-Vlasov shell theory to hybrid anisotropic materials. Compos. Struct. 2017, 172, 190–197. [Google Scholar] [CrossRef]
- Pentaras, D.; Elishakoff, I. Effective approximations for natural frequencies of double-walled carbon nanotubes based on Donnell shell theory. J. Nanotechnol. Eng. Med. 2011, 2, 021013. [Google Scholar] [CrossRef]












| Items | Values | Items | Values |
|---|---|---|---|
| wall thickness δ (mm) | 8 | elasticity modulus E (GPa) | 210 |
| middle surface radius Rm (mm) | 146 | Poisson’s ratio μ | 0.3 |
| length of body structure l (mm) | 1100 | density of the material ρ (Kg/m3) | 7850 |
| Wave Numbers | Axial Wave Number m | |||||||
|---|---|---|---|---|---|---|---|---|
| 0 | 1 | 2 | 3 | 4 | 5 | 6 | ||
| Circumferential wave number n | 0 | 0 | 9162.2 | 18,324.4 | 27,486.6 | 34,656.9 | 35,064.1 | 35,320.7 |
| 0 | 14,636.8 | 27,663.3 | 33,489.5 | 36,648.8 | 45,811.0 | 54,973.2 | ||
| 37,136.5 | 37,479.1 | 39,663.2 | 49,157.8 | 63,381.8 | 78,426.9 | 93,687.6 | ||
| 1 | 0 | 3597.3 | 10,356.8 | 16,986.0 | 22,458.9 | 26,480.8 | 29,244.2 | |
| 21,970.3 | 26,086.0 | 33,923.0 | 41,356.8 | 47,844.2 | 54,419.8 | 61,632.1 | ||
| 52,525.5 | 53,591.7 | 57,264.0 | 64,484.3 | 75,049.6 | 87,645.2 | 101,291.9 | ||
| 2 | 1575.7 | 2110.9 | 5015.5 | 9166.2 | 13,478.8 | 17,469.1 | 20,957.9 | |
| 43,940.5 | 45,518.5 | 87,436.5 | 55,000.1 | 60,949.5 | 67,188.1 | 73,721.2 | ||
| 83,066.4 | 84,149.3 | 49,598.2 | 92,967.7 | 100,632.0 | 110,116.6 | 121,013.8 | ||
| 3 | 4456.4 | 4588.3 | 5380.2 | 7241.6 | 9904.3 | 12,927.9 | 16,018.4 | |
| 65,910.8 | 66,778.4 | 121,009.3 | 72,946.0 | 77,549.4 | 82,783.3 | 88,492.6 | ||
| 117,483.7 | 118,367.7 | 69,236.6 | 125,367.8 | 131,355.1 | 138,827.6 | 147,599.8 | ||
| 4 | 8544.4 | 8645.3 | 9033.2 | 9881.7 | 11,287.0 | 13,196.4 | 15,471.8 | |
| 87,881.1 | 88,465.8 | 156,050.7 | 92,884.7 | 96,442.1 | 100,694.1 | 105,514.9 | ||
| 153,185.9 | 153,904.9 | 90,174.0 | 159,588.5 | 164,458.6 | 170,576.5 | 177,837.6 | ||
| 5 | 13,817.8 | 13,915.8 | 14,233.8 | 14,830.2 | 15,763.4 | 17,061.3 | 18,710.3 | |
| 109,851.3 | 110,291.4 | 191,834.1 | 113,702.6 | 116,546.8 | 120,041.5 | 124,105.2 | ||
| 189,447.9 | 190,046.5 | 111,592.6 | 194,787.0 | 198,865.5 | 204,015.9 | 210,172.3 | ||
| 6 | 20,270.2 | 20,368.5 | 20,671.9 | 21,202.6 | 21,987.6 | 23,048.8 | 24,395.8 | |
| 131,821.6 | 132,174.9 | 228,035.1 | 134,947.3 | 137,300.2 | 140,236.2 | 143,704.2 | ||
| 226,000.5 | 226,510.5 | 133,225.6 | 230,558.1 | 234,052.9 | 238,483.5 | 243,806.0 | ||
© 2018 by the author. Licensee MDPI, Basel, Switzerland. This article is an open access article distributed under the terms and conditions of the Creative Commons Attribution (CC BY) license (http://creativecommons.org/licenses/by/4.0/).
Share and Cite
Li, C. Frequency Sensitivity and Mode Characteristics of Body Structure for a Piezoelectric-Based UUV. Appl. Sci. 2018, 8, 1774. https://doi.org/10.3390/app8101774
Li C. Frequency Sensitivity and Mode Characteristics of Body Structure for a Piezoelectric-Based UUV. Applied Sciences. 2018; 8(10):1774. https://doi.org/10.3390/app8101774
Chicago/Turabian StyleLi, Chong. 2018. "Frequency Sensitivity and Mode Characteristics of Body Structure for a Piezoelectric-Based UUV" Applied Sciences 8, no. 10: 1774. https://doi.org/10.3390/app8101774
APA StyleLi, C. (2018). Frequency Sensitivity and Mode Characteristics of Body Structure for a Piezoelectric-Based UUV. Applied Sciences, 8(10), 1774. https://doi.org/10.3390/app8101774

