Preliminary Removal of Mercury from Depleted Coal Sorbents by Thermal Vacuum Method with Associated Extraction of Precious Metal Composite
Abstract
1. Introduction
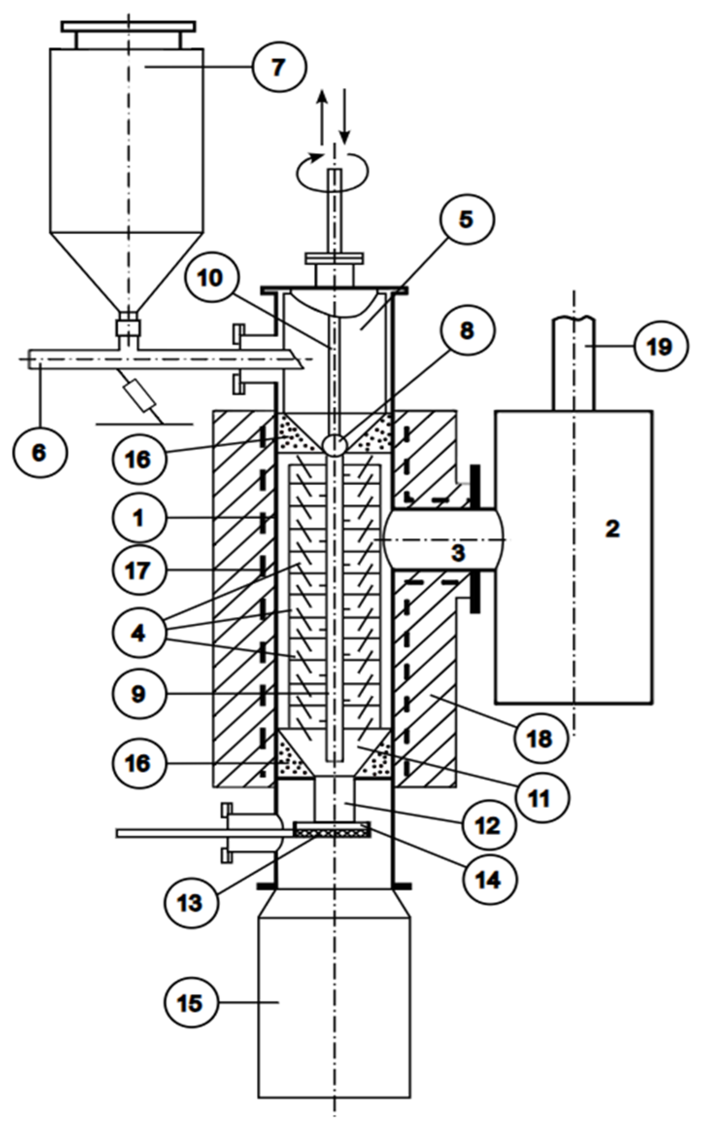
2. Experimental Part
3. Conclusions
Author Contributions
Funding
Data Availability Statement
Conflicts of Interest
References
- The Discovery of New Deposits, the Development of Investment Potential and the Training of Young Personnel—S. Brekeshev about the Geological Industry of Kazakhstan. [Official Information Resource Prime Minister of the Republic of Kazakhstan]. 20 August 2021. Available online: https://primeminister.kz/ru/news/reviews/otkrytie-novyh-mestorozhdeniy-razvitie-investicionnogo-potenciala-i-podgotovka-molodyh-kadrov-s-brekeshev-o-geologicheskoy-otrasli-kazahstana-183140 (accessed on 31 January 2024).
- Verkhozin, S.S. Gold Mining Industry of Kazakhstan. [Electronic Resource]. 3 April 2017. Available online: https://zolotodb.ru/article/11194/?page=all (accessed on 31 January 2024).
- Soloviev, S.G.; Kryazhev, S.G.; Dvurechenskaya, S.S.; Trushin, S.I. The large Bakyrchik orogenic gold deposit, eastern Kazakhstan: Geology, mineralization, fluid inclusion, and stable isotope characteristics. Ore Geol. Rev. 2020, 127, 10863. [Google Scholar] [CrossRef]
- Kuz’mina, O.N.; D’yachkov, B.A.; Vladimirov, A.G.; Kirillov, M.V.; Redin, Y.O. Geology and mineralogy of East Kazakhstan gold-bearing jasperoids (by the example of the Baybura ore field). Rus. Geol. Geophys. 2013, 54, 1471–1483. [Google Scholar] [CrossRef]
- Kovalev, K.R.; Syzdykov, S.O.; Kalinin, Y.A.; Naumov, E.A.; Baranov, V.V.; Sukhorukov, V.P.; Gladkov, A.S.; Zhimulev, F.I. The Raigorodok stockwork gold-sulfide-quartz deposit in the North Kazakhstan gold ore province. Rus. Geol. Geophys. 2018, 59, 1482–1496. [Google Scholar] [CrossRef]
- Kalinin, Y.A.; Palyanova, G.A.; Naumov, E.A.; Kovalev, K.R.; Pirajno, F. Supergene remobilization of Au in Au-bearing regolith related to orogenic deposits: A case study from Kazakhstan. Ore Geol. Rev. 2019, 109, 358–369. [Google Scholar] [CrossRef]
- Kovalev, K.R.; Kalinin, Y.A.; Naumov, E.A.; Pirajno, F.; Borisenko, A.S. A mineralogical study of the Suzdal sediment-hosted gold deposit, Eastern Kazakhstan: Implications for ore genesis. Ore Geol. Rev. 2009, 35, 186–205. [Google Scholar] [CrossRef]
- Natarajan, K.A. Biotechnology of Metals. Principles, Recovery Methods, and Environmental Concerns; Elsevier Ltd.: Amsterdam, The Netherlands, 2018; Chapter 8; pp. 179–210. [Google Scholar] [CrossRef]
- Kozhakhmetov, S.M.; Kvyatkovskiy, S.A.; Ospanov, Y.A.; Semenova, A.S. Recovery of gold to collector iron and copper alloys in conditions of reduction smelting of refractory gold ledge ores. Tsvetnye Met. 2017, 8, 39–42. [Google Scholar] [CrossRef]
- Seitkan, S.A. Redfren Arsenic in refractory gold ore processing. Kompleks. Ispolz. Miner. Syra Complex Use Miner. Resour. 2021, 317, 5–13. [Google Scholar] [CrossRef]
- Sousa, R.; Regufe, M.J.; Fiúza, A.; Leite, M.M.; Futuro, A. A systematic review of sustainable gold extraction from raw ores using alternative leaching reagents. Ext. Ind. Soc. 2022, 9, 101018. [Google Scholar] [CrossRef]
- Koizhanova, A.; Sedelnikova, G.; Erdenova, M.; Berkinbaeva, A.; Kamalov, E. Study of biohydrometallurgical technology used to recover gold from ore at a gold-recovery plant. Kompleks. Ispolz. Miner. Syra Complex Use Miner. Resour. 2001, 316, 24–31. [Google Scholar] [CrossRef]
- Careddu, N.; Dino, G.A.; Danielsen, S.W.; Přikryl, R. Raw materials associated with extractive industry: An overview. Resour. Policy. 2018, 59, 1–6. [Google Scholar] [CrossRef]
- Wang, Q.; Hu, X.; Zi, F.; Qin, X.; Nie, Y.; Zhang, Y. Extraction of gold from refractory gold ore using bromate and ferric chloride solution. Miner. Eng. 2019, 136, 89–98. [Google Scholar] [CrossRef]
- Koizhanova, A.; Toktar, G.; Craig, E.; Magomedov, D.; Kubaizhanov, A. Research of hydrometallurgical method of leaching gold from flotation tails with using bio-oxidation. Kompleks. Ispolz. Miner. Syra Complex Use Miner. Resour. 2020, 314, 28–39. [Google Scholar] [CrossRef]
- Kozhakhmetov, S.M.; Kvyatkovskiy, S.A. Reducing pyrometallurgical selection of particularly refractory ledge gold ore. Eur. Chem.-Technol. J. 2017, 19, 71–80. [Google Scholar] [CrossRef]
- Larachi, F.; Lukumu, D.B.; Baş, A.D. Susceptibility to cyanidation of pyrrhotite-associated gold in pyrite calcines from (non)oxidizing roasting environments. Miner. Eng. 2023, 202, 108245. [Google Scholar] [CrossRef]
- Surimbayev, B.; Baikonurova, A.; Bolotova, L.; Mishra, B. Intensive leaching of gold from gravity concentrate at low concentration of sodium cyanide. Kompleks. Ispolz. Miner. Syra Complex Use Miner. Resour. 2018, 307, 65–70. [Google Scholar] [CrossRef]
- Kaumetova, D.; Koizhanova, A.; Absalyamov, K.; Magomedov, D.; Banks, C. Studies of the rate of gold sorption by the AM-2B anionite from cyanide-alkaline solutions. Kompleks. Ispolz. Miner. Syra Complex Use Miner. Resour. 2001, 320, 88–94. [Google Scholar] [CrossRef]
- Yessengarayev, Y.; Surimbayev, B.; Baimbetov, B.; Mamyachenkov, S.; Kanaly, T. Ore treatment hydrogen peroxide during heap leaching of gold. Kompleks. Ispolz. Miner. Syra Complex Use Miner. Resour. 2021, 316, 5–14. [Google Scholar] [CrossRef]
- Yessengarayev, Y.; Baimbetov, B.; Mamyachenkov, S.; Surimbayev, B.; Prozor, N. Study of the process of cyanide leaching of gold using sodium acetate at different ore sizes. Kompleks. Ispolz. Miner. Syra Complex Use Miner. Resour. 2020, 312, 59–68. [Google Scholar] [CrossRef]
- Toktar, G.; Koizhanova, A.; Magomedov, D.; Abdyldaev, N.; Bakrayeva, A. Increased recovery of free fine gold in the leaching process. Kompleks. Ispolz. Miner. Syra Complex Use Miner. Resour. 2021, 322, 51–58. [Google Scholar] [CrossRef]
- Lodeishchikov, V.V. Features of technology for extraction of gold from stubborn ores. Non-Ferrous Met. 2005, 4, 51–55. [Google Scholar]
- Gurin, K.K.; Bashlykova, T.V.; Ananyev, P.P.; Boboev, I.R.; Gorbunov, E.P. Extraction of gold from the tailings of a gold recovery plant from processing of resistant ores of mixed type. Non-Ferrous Met. 2013, 5, 39–44. [Google Scholar]
- Adams, M.D. Gold Ore Processing. Project Development and Operations, 2nd ed.; Elsevier Ltd.: Amsterdam, The Netherlands, 2016; Chapter 54; pp. 961–984. [Google Scholar] [CrossRef]
- Abubakriev, A.; Koizhanova, A.; Magomedov, D.; Erdenova, M.; Abdyldaev, N. Leaching of gold-containing ores with application of oxidation activators. Kompleks. Ispolz. Miner. Syra Complex Use Miner. Resour. 2019, 310, 10–15. [Google Scholar] [CrossRef]
- Yan, C.; Yu, X.; Jia, W.; He, J.; Hu, J.; Zhang, M.; Wang, J.; Tang, L.; Liu, J. Superior sorption capacity and one-step reduction of Au(III) by a novel chitosan-based electrospun fiber mat: A cheap and simple technique. Chem. Eng. J. 2023, 465, 143028. [Google Scholar] [CrossRef]
- Msumange, D.A.; Yazici, E.Y.; Celep, O.; Deveci, H.; Kritskii, A.; Karimov, K. Recovery of Au and Ag from the roasted calcine of a copper-rich pyritic refractory gold ore using ion exchange resins. Miner. Eng. 2023, 195, 108017. [Google Scholar] [CrossRef]
- Galyaltdinov, S.; Brusko, V.; Khannanov, A.; Dimiev, A.M. Oxidatively modified carbon as a promising material for gold extraction. Diam. Relat. Mater. 2024, 142, 110826. [Google Scholar] [CrossRef]
- Walton, R. Gold Ore Processing. Project Development and Operations, 2nd ed.; Elsevier Ltd.: Amsterdam, The Netherlands, 2016; Chapter 31; pp. 553–560. [Google Scholar] [CrossRef]
- Rees, K.L.; Van Deventer, J.S.J.; Dunne, R.C. Gold process modelling. II. The effect of ore type on leaching and adsorption dynamics at telfer gold mine. Miner. Eng. 2001, 14, 887–900. [Google Scholar] [CrossRef]
- Fleming, C.A.; Mezei, A.; Bourricaudy, E.; Canizares, M.; Ashbury, M. Factors influencing the rate of gold cyanide leaching and adsorption on activated carbon, and their impact on the design of CIL and CIP circuits. Miner. Eng. 2011, 24, 484–494. [Google Scholar] [CrossRef]
- Jia, Y.F.; Steele, C.J.; Hayward, I.P.; Thomas, K.M. Mechanism of adsorption of gold and silver species on activated carbons. Carbon 1998, 36, 1299–1308. [Google Scholar] [CrossRef]
- Ecological Code of the Republic of Kazakhstan. The Code of the Republic of Kazakhstan dated January 2, 2021 No.400-VI LRK. Available online: https://adilet.zan.kz/rus/docs/K2100000400 (accessed on 5 February 2024).
- Rio Declaration on Environment and Development. Report of the United Nations Conference on Environment and Development. 3–14 June 1992. Rio de Janeiro: 5. Available online: https://www.un.org/en/development/desa/population/migration/generalassembly/docs/globalcompact/A_CONF.151_26_Vol.I_Declaration.pdf (accessed on 10 February 2024).
- Poissant, L.; Dommergue, A.; Ferrari, C.P. Mercury as a global pollutant. J. Phys. IV 2002, 12, 143–160. [Google Scholar] [CrossRef]
- Guzzi, G.; Ronchi, A.; Pigatto, P. Toxic effects of mercury in humans and mammals. Chemosphere 2021, 263, 127990. [Google Scholar] [CrossRef]
- Budnik, L.T.; Casteleyn, L. Mercury pollution in modern times and its socio-medical consequences. Sci. Total Environ. 2019, 654, 720–734. [Google Scholar] [CrossRef] [PubMed]
- Donayev, A.; Kolesnikov, A.; Shapalov, S.; Sapargaliyeva, B.; Ivakhniyuk, G. Studies of waste from the mining and metallurgical industry, with the determination of its impact on the life of the population. News Natl. Acad. Sci. Repub. Kazakhstan Ser. Geol. Tech. Sci. 2022, 4, 55–68. [Google Scholar] [CrossRef]
- Otarbaev, N.S.; Kapustin, V.M.; Nadirov, K.S.; Bimbetova, G.Z.; Zhantasov, M.K.; Nadirov, R.K. New potential demulsifiers obtained by processing gossypol resin. Indones. J. Chem. 2019, 19, 959–966. [Google Scholar] [CrossRef]
- Kolesnikov, A.S. Thermodynamic simulation of silicon and iron reduction and zinc and lead distillation in zincoligonite ore-carbon systems. Russ. J. Non-Ferr. Met. 2014, 55, 513–518. [Google Scholar] [CrossRef]
- Marenov, B.T.; Nadirov, K.S.; Zhantasov, M.K.; Nadirov, R.K. Ethylene-vinyl acetate copolymer/crude gossypol compositions as pour point depressants for waxy oil. Int. J. Chem. Eng. 2020, 2020, 4195382. [Google Scholar] [CrossRef]
- Zhangabay, N.; Sapargaliyeva, B.; Suleimenov, U.; Abshenov, K.; Utelbayeva, A.; Kolesnikov, A.; Baibolov, K.; Fediuk, R.; Arinova, D.; Duissenbekov, B.; et al. Analysis of Stress-Strain State for a Cylindrical Tank Wall Defected Zone. Materials 2022, 15, 5732. [Google Scholar] [CrossRef]
- Filin, A.E.; Kurnosov, I.Y.; Kolesnikova, L.A.; Ovchinnikova, T.I.; Kolesnikov, A.S. Description of The Methodology for Conducting an Experiment on Dust Deposition of Mining and Metallurgical Production. Ugol 2022, 9, 67–72. [Google Scholar] [CrossRef]
- Turan, M.D.; Silva, J.P.; Sarı, Z.A.; Nadirov, R.; Toro, N. Dissolution of chalcopyrite in presence of chelating agent and hydrogen peroxide. Trans. Indian. Inst. Met. 2022, 75, 273–280. [Google Scholar] [CrossRef]
- Isakova, R.A.; Khrapunov, V.Y.; Volodin, V.N. Vacuum technologies for processing polymetallic raw materials and refining metals: Developments and prospects (for the 50th anniversary of the Laboratory of Vacuum Processes of CESMOB JSC). Non-Ferrous Met. 2012, 10, 69–74. [Google Scholar]
- Trebukhov, S.A.; Marki, I.A.; Nicenko, A.V.; Burabayeva, N.M.; Tuleutay, F.K. Demercurization of depleted coal sorbents of gold mining enterprises by vacuum thermal method. Kompleks. Ispolz. Miner. Syra Complex Use Miner. Resour. 2015, 2, 35–41. [Google Scholar]
- Trebukhov, S.A.; Nicenko, A.V.; Burabayeva, N.M.; Trebukhov, A.A.; Kasymzhanova, A.K. Vacuum thermal demercurization of depleted coal sorbents of gold recovery plants. In Proceedings of the International Scientific Conference “Resource-Saving Technologies in the Treatment of Ores and Metallurgy of Non-Ferrous Metals”, Almaty, Kazakhstan, 14–17 September 2015; pp. 233–236. [Google Scholar]
- Trebukhov, S.A.; Marki, I.A.; Nicenko, A.V.; Trebukhov, A.A. Vacuum thermal demercurization of depleted coal sorbents of gold mining enterprises. Non-Ferrous Metals 2016, 9, 45–51. [Google Scholar] [CrossRef][Green Version]
- National Implementation Plan of the Minamata Convention on Mercury with the Action Plan for the period 2022–2023 and the Minamata Initial Assessment Report. Montenegro Ministry of Ecology, Spatial Planning and Urbanism. December 2021: 91. Available online: https://minamataconvention.org/sites/default/files/documents/national_implementation_plan/Montenegro_MIA_NIP_2021_EN_0.pdf (accessed on 6 February 2024).
- Khrapunov, V.E.; Kenzhaliev, B.K.; Isakova, R.A.; Chelokhsaev, L.S.; Volodin, V.N.; Abramov, A.S.; Trebukhov, S.A.; Sadvakasov, D.A.; Moldabaev, M.; Marki, I.A. A device for vacuum thermal processing of bulk materials. Application 2002/0757.1 dated 06.06.2002. Patent of the Republic of Kazakhstan No.13257, 15 May 2006. Available online: https://kzpatents.com/4-13257-apparat-dlya-vakuumtermicheskojj-pererabotki-sypuchih-materialov.html (accessed on 3 March 2024).
- Hygienic Standards for the Safety of the Environment—Order of the Minister of Health of the Republic of Kazakhstan dated April 21, 2021 No. RK DSM-32. Registered with the Ministry of Justice of the Republic of Kazakhstan on April 22, 2021 No. 22595. Available online: https://adilet.zan.kz/rus/docs/V2100022595 (accessed on 20 February 2024).
- Hygienic Standards 2.1.7.2041-06. Maximum Permissible Concentrations (MPC) of Chemicals in the Soil. Available online: https://www.normacs.ru/Doclist/doc/ULGF.html (accessed on 20 February 2024).
- Regulation (EU) 2017/852 of the European Parliament and of the Council of 17 May 2017 on Mercury, and Repealing Regulation (EC) No 1102/2008 (Text with EEA Relevance). Available online: https://eur-lex.europa.eu/legal-content/EN/TXT/?qid=1531231211865&uri=CELEX:32017R0852 (accessed on 15 April 2024).
- Trebukhov, S.A.; Volodin, V.N.; Kenzhaliev, B.K.; Ulanova, O.V.; Nitsenko, A.V.; Trebukhov, A.A.; Tuleutai, F.H. Vacuum Apparatus for Processing Bulk Materials. Patent of the Republic of Kazakhstan No.36013, 23 December 2022. Available online: https://gosreestr.kazpatent.kz/Invention/Details?docNumber=350356 (accessed on 20 February 2024).
- Volodin, V.N.; Trebukhov, S.A.; Kenzhaliev, B.K.; Nitsenko, A.V.; Buraraeva, N.M.; Trebukhov, A.A.; Tuleutai, F.H. Vacuum Apparatus for Processing Bulk Materials. Patent of the Republic of Kazakhstan No.36117, 24 February 2023. Available online: https://gosreestr.kazpatent.kz/Invention/Details?docNumber=352318 (accessed on 10 March 2024).
- Volodin, V.N.; Trebukhov, S.A.; Kenzhaliev, B.K.; Nitsenko, A.V.; Buraraeva, N.M.; Trebukhov, A.A.; Tuleutai, F.H. Bulk material processing vacuum apparatus. Patent of the Republic of Kazakhstan No.36118, 24 February 2023. Available online: https://gosreestr.kazpatent.kz/Invention/Details?docNumber=352568 (accessed on 10 March 2024).
- Volodin, V.N.; Trebukhov, S.A.; Kenzhaliev, B.K.; Nitsenko, A.V.; Buraraeva, N.M.; Trebukhov, A.A.; Tuleutai, F.H. Vacuum Electric Furnace for Processing Bulk Materials. Patent of the Republic of Kazakhstan No.36160, 7 April 2023. Available online: https://gosreestr.kazpatent.kz/Invention/Details?docNumber=354673 (accessed on 10 March 2024).
- Trebukhov, S.A.; Volodin, V.N.; Nitcenko, A.V.; Trebukhov, A.A.; Kilibayev, E.O. Vacuum sublimators with rheological displacement of the dispersed medium. Kompleks. Ispolz. Miner. Syra Complex Use Miner. Resour. 2023, 324, 57–63. [Google Scholar] [CrossRef]



| Components | Na | Mg | Al | Si | P | S | Cl | K | Ca | O |
|---|---|---|---|---|---|---|---|---|---|---|
| Content, wt.% | 2.183 | 0.248 | 0.397 | 0.923 | 0.074 | 1.064 | 0.562 | 0.115 | 2.354 | 5.475 |
| Components | Fe | Ni | Cu | Zn | As | Hg | Ag | Au | Pb | Bi |
| Content, wt.% | 0.387 | 0.031 | 0.03 | 0.005 | 0.066 | 1.103 | 0.205 | 0.023 | 0.699 | 0.051 |
| t, °C | Time, τ, min | Pressure, kPa | |||||||||
|---|---|---|---|---|---|---|---|---|---|---|---|
| 0.13 | 0.67 | 1.33 | 2.67 | 91.98 | |||||||
| Hg, % | Extraction, % | Hg, % | Extraction, % | Hg, % | Extraction, % | Hg, % | Extraction, % | Hg, % | Extraction, % | ||
| 250 | 20 | 0.0065 | 99.387 | 0.0014 | 99.867 | 0.0021 | 99.801 | 0.0033 | 99.684 | 0.1678 | 84.173 |
| 300 | 20 | 0.0008 | 99.928 | 0.0008 | 99.918 | 0.0009 | 99.913 | 0.0011 | 99.901 | 0.0873 | 91.765 |
| 350 | 20 | 0.0006 | 99.944 | 0.0007 | 99.934 | 0.0008 | 99.923 | 0.0009 | 99.918 | 0.0595 | 94.383 |
| 400 | 20 | 0.0005 | 99.954 | 0.0006 | 99.944 | 0.0006 | 99.939 | 0.0007 | 99.934 | 0.0496 | 95.321 |
| 450 | 20 | 0.0002 | 99.979 | 0.0003 | 99.974 | 0.0004 | 99.964 | 0.0005 | 99.954 | 0.0349 | 96.709 |
| No. | T, °C | P, kPa | Material Yield, % | Hg Content in the Residue | Degree of Hg Distillation, % | |
|---|---|---|---|---|---|---|
| % | g | |||||
| 1 | 350 | 0.4 | 78.5 | 0.0008 | 0.0126 | 99.926 |
| 2 | 350 | 1.33 | 78.55 | 0.0012 | 0.0189 | 99.889 |
| 3 | 350 | 3.32 | 78.56 | 0.0017 | 0.0287 | 99.843 |
| 4 | 400 | 0.4 | 78.43 | 0.0003 | 0.0049 | 99.973 |
| 5 | 400 | 1.33 | 75.5 | 0.0005 | 0.0078 | 99.954 |
| 6 | 400 | 3.32 | 75.54 | 0.0011 | 0.0191 | 99.898 |
| Material | Quantity, kg | Dry Weight, kg | Yield, % | Hg Content | Hg Distribution, % | |
|---|---|---|---|---|---|---|
| % | g | |||||
| Sorbent of the first batch | 2.0 | 1.606 | 100 | 1.06 | 17.024 | 100 |
| Sorbent of the second batch | 2.0 | 1.606 | 100 | 1.06 | 17.024 | 100 |
| Sorbent of the third batch | 2.15 | 1.726 | 100 | 1.06 | 18.296 | 100 |
| Sorbent of the fourth batch | 2.1. | 1.686 | 100 | 1.06 | 17.872 | 100 |
| Sorbent of the fifth batch | 2.0 | 1.606 | 100 | 1.06 | 17.024 | 100 |
| Sorbent of the sixth batch | 2.2. | 1.767 | 100 | 1.06 | 18.73 | 100 |
| Total: | 12.45 | 9.997 | 100 | 1.06 | 105.97 | 100 |
| Residue from the first batch | 1.57 | 1.57 | 78.5 | 0.0008 | 0.0126 | 0.074 |
| Residue from the second batch | 1.571 | 1.571 | 78.55 | 0.0012 | 0.0189 | 0.111 |
| Residue from the third batch | 1.689 | 1.689 | 78.56 | 0.0017 | 0.0287 | 0.157 |
| Residue from the fourth batch | 1.647 | 1.647 | 78.43 | 0.0003 | 0.0049 | 0.027 |
| Residue from the fifth batch | 1.57 | 1.57 | 75.5 | 0.0005 | 0.0078 | 0.046 |
| Residue from the sixth batch | 1.728 | 1.728 | 75.54 | 0.0011 | 0.0191 | 0.102 |
| Condensate (mortar) | 2.557 | ― | 20.54 | 0.505 | 103.727 | 97.883 |
| Total received | 12.332 | 9.775 | 99.05 | ― | 103.829 | 97.98 |
| Residual error | −0.118 | −0.222 | −0.95 | ― | −2.141 | −2.02 |
Disclaimer/Publisher’s Note: The statements, opinions and data contained in all publications are solely those of the individual author(s) and contributor(s) and not of MDPI and/or the editor(s). MDPI and/or the editor(s) disclaim responsibility for any injury to people or property resulting from any ideas, methods, instructions or products referred to in the content. |
© 2024 by the authors. Licensee MDPI, Basel, Switzerland. This article is an open access article distributed under the terms and conditions of the Creative Commons Attribution (CC BY) license (https://creativecommons.org/licenses/by/4.0/).
Share and Cite
Kenzhaliyev, B.; Trebukhov, S.; Volodin, V.; Nitsenko, A.; Kilibayev, Y.; Kolesnikova, O.; Linnik, X. Preliminary Removal of Mercury from Depleted Coal Sorbents by Thermal Vacuum Method with Associated Extraction of Precious Metal Composite. J. Compos. Sci. 2024, 8, 367. https://doi.org/10.3390/jcs8090367
Kenzhaliyev B, Trebukhov S, Volodin V, Nitsenko A, Kilibayev Y, Kolesnikova O, Linnik X. Preliminary Removal of Mercury from Depleted Coal Sorbents by Thermal Vacuum Method with Associated Extraction of Precious Metal Composite. Journal of Composites Science. 2024; 8(9):367. https://doi.org/10.3390/jcs8090367
Chicago/Turabian StyleKenzhaliyev, Bagdaulet, Sergey Trebukhov, Valeriy Volodin, Alina Nitsenko, Yerkebulan Kilibayev, Olga Kolesnikova, and Xeniya Linnik. 2024. "Preliminary Removal of Mercury from Depleted Coal Sorbents by Thermal Vacuum Method with Associated Extraction of Precious Metal Composite" Journal of Composites Science 8, no. 9: 367. https://doi.org/10.3390/jcs8090367
APA StyleKenzhaliyev, B., Trebukhov, S., Volodin, V., Nitsenko, A., Kilibayev, Y., Kolesnikova, O., & Linnik, X. (2024). Preliminary Removal of Mercury from Depleted Coal Sorbents by Thermal Vacuum Method with Associated Extraction of Precious Metal Composite. Journal of Composites Science, 8(9), 367. https://doi.org/10.3390/jcs8090367

